VLT 8184 - Machine à laver VEDETTE - Notice d'utilisation et mode d'emploi gratuit
Retrouvez gratuitement la notice de l'appareil VLT 8184 VEDETTE au format PDF.
| Type de produit | Lave-linge frontal |
| Capacité de chargement | 8 kg |
| Vitesse d'essorage | 1400 tours/minute |
| Classe énergétique | A+++ |
| Programmes de lavage | 15 programmes, y compris rapide, délicat, et laine |
| Alimentation électrique | 220-240 V, 50 Hz |
| Dimensions approximatives | 85 x 60 x 55 cm |
| Poids | 70 kg |
| Fonctions principales | Départ différé, contrôle de la mousse, sécurité enfant |
| Entretien et nettoyage | Nettoyage du filtre et du tambour recommandé régulièrement |
| Pièces détachées et réparabilité | Disponibilité de pièces détachées pour réparation |
| Informations de sécurité | Protection contre les surcharges, système anti-fuite |
| Compatibilités | Compatible avec les détergents liquides et en poudre |
FOIRE AUX QUESTIONS - VLT 8184 VEDETTE
Téléchargez la notice de votre Machine à laver au format PDF gratuitement ! Retrouvez votre notice VLT 8184 - VEDETTE et reprennez votre appareil électronique en main. Sur cette page sont publiés tous les documents nécessaires à l'utilisation de votre appareil VLT 8184 de la marque VEDETTE.
MODE D'EMPLOI VLT 8184 VEDETTE
mérite votre confiance
GUIDE D'INSTALLATION & D'UTILISATION
Lave-linge

Vedette
Chere Cliente, Cher Client,
Vousexd'acquerir un lave-lingeVEDETTE etnousyouenremercions.
Fort de toute cette expérience que nous avons accumulée au fil des années, nous avons conçu cet apparéil pour vous faciliter la vie en vous apportant performances, simplicité d'utilisation et qualité.
Vous trouvrez également dans la gamme des produits VEDETTE, un vaste choix de cusinières, de lave-vaisselle, de seche-linge, de réfrigérateurs et congélateurs que vous pourrez coordonnner à votre nouveau lave-linge VEDETTE.
Bien entendu, dans un souci permanent de satisfaire le mistrix possible vos exigences vis à vis de nos produits, notre service consommateurs est à votre disposition et à votre écoute pour répondre à toutes vos questions ou suggestions (coordonnées à la fin de ce livre).
Et retrouvEZ-nous aussi sur notre site www.vedette.com sur lequel vous trouverez tous nos produits, ainsi que des informations utiles et complémentaires.
VEDETTE
mérite votre confiance
www.vedette.com
Dans le souci d'une amélioration constante de nos produits, nous nous réservons le droit d'apporter à leurs caractéristiques techniques, fonctionnelles ou esthétiques toutes modifications liées à leur évolution.
SOMMAIRE
1 / PRÉSENTATION DE VOTRE APPAREIL
- Consignes de sécurité 4
Protection de l'environnement 5
Economies d'énergie 5
Description de votre apparéil 6
2 / INSTALLATION DE VOTRE APPAREIL
- Demontage des brides de transport 8
- Mise en place de votre apparéil 10
Raccordements de votre apparéil 11
3 / PREPARATION DE VOTRE LINGE ET DE VOTRE APPAREIL
- Codes d'entretien des textiles 12
- Traitement des taches difficiles 13
Avant le premier lavage 14 - Préparation de votre linge 14
- Chargement de votre linge 15
- Chargement des produits de lavage 16
4 / PROGRAMMATION DE VOTRE APPAREIL
Description du tableau de commandes 17
- Programmation d'un cycle de lavage 17
- Exemples de programmes 20
- Modification d'un programme de lavage 21
Détails des programmes 22
Détails des options 23
Autres fonctions 23
- Sécurités automatiques 24
5 / INFORMATIONS RELATIVES AU NOUVAU RÉGLEMENT UE 25
6 / ENTRETIEN COURANT DE VOTRE APPAREIL
Nettoyage de la boite à produits 27
-Nettoyage du filtré de pompe 27
- Accès au fond de la cuve 28
-Nettoyage de votre apparéil 28
7/INCIDENTSPOUVANT SURVENIR 29
8 / SERVICE APRÉS-VENTE - RELATIONS CONSOMMATEURS 32


Avant d'instructor et d'utiliser votre apparéil et afin de vous familiariser avec son fonctionnement, lisez attenguide d'utilisation et conserveze-le.
Cet apparéil, destiné exclusivement à un usage domestique, a été concu pour laver le linge.
CHARGES PRECONISEES:
-La capacité maximale de I'appareil est de 8 kg.
SECURITE

Respectez impératifement les consignes suivantes :
INSTALLATION :
- La pression de l'eau doit se situer entre 0.1 et 1 MPa (1 et 10 bars).
- N'utilisez pas de prolongateur, adaptateur, prise multiple ou programmable.
- L'installation électrique doit être capable de résister à la puissance maximale mentionnée sur la plaque signalétique et la prise doit être dûment reliée à la terre et accessible.
- Utilisez exclusivement le tuyau d'alimentation et les joints neufs fournis avec l'appareil.
- Si le cordon d'alimentation est endommagé, faites le remplacer par le Service-Apres-Vente ou par un professionnelnel qualifié, afin d'éviter tout risque évientuel.
- Il est déconseilé d'installer votre apparéil sur un tapis ou un sol en moquette afin de ne pas:gérer la circulation d'air à sa base.
- En cas de problème ne pouvant être résolu par vous-même, ne pas intervenir sur l'appareil et faites appel au service technique du reven-deur ou du fabricant.
UTILISATION :
- Cet apparéil peut être utilisé par des enfants âgés d'au moins 8 ans et par des personnes ayant des capacités physiques, sensorielles ou mentales réduites ou dénuées d'expérience ou de connaissance, s'illes (si elles) sont correctement surveillée(e)s ou si des instructions relatives à l'utilisation de l' apparéil en toute sécurité leur ont été données et si les risques encourus ont été appréhendés.
1/PRÉSENTATION DE VOTRE APPAREIL
UTILISATION (suite) :
- Il convient de surveiller les enfants pour s'assurer qu'ils ne jouent pas avec l'appareil et d'éloigner ceux de moins de 3 ans, sauf s'ils sont sous surveillance permanente.
- L'entretien de l'appareil ne doit pas etre effectue par des enfants sans surveillance.
- Ne pas introduire de lingeTraitse au moyen de detachant, dissolvant ou produit inflammable immediatement apres traitement (risque d'explosion).
- Ce lave-linge est équipé d'une sécurité pour prévenir de tout débordement d'eau eventuel.
- En fin de cycle, veillez à fermer le robinet d'arrivée d'eau et à débrancher le cordon électrique.
ENVIRONNEMENT
PROTECTION DE L'ENVIRONNEMENT
Ce lave-linge a ete concu dans un souci de respect de I'environnement.

Les matéiaux d'emballage de cet apparéil sont recyclables. Contribuez à la protection de l'environnement en les déposant dans les conteneurs municipaux prévus à cet effet. Notre lave-linge contient aussi de nombreux matéiaux recyclables, il est marqué de ce logo pour vous rappeler que les apparéils usages ne doivent pas être mélangés avec d'autres déchets. Le recyclage de l' apparéil sera ainsi réalisé conformément à la directive euro
péenne 2002/96/CE sur les déchets d'équipements électriques et électroniques.
Adressez-vous à votre mairie ou à votre revendeur pour connaître les points de collecte des appar- reils usages les plus proches de leur domicile.
ECONOMIES D'ENERGIE
- Ne programmez le prélavage que lorsque c'est absolument nécessaire : par exemple pour des vêtements de sport ou de travail très sales, etc ...
- Pour du linge peu ou moyennement sale, un programme à basse température est suffisant pour obtenir un résultat de lavage impeccable.
- Pour du linge peu sale choisissez un cycle de lavage court.
- Dosez le produit de lavage selon la durée de l'eau, le degré de salissure et la quantité de linge et respectez les conseils indiqués sur les paquets des produits lessiviels.
- Dès la fin du cycle de lavage, “-0-” ou “STOP” (selon le cas) s'affiche. Vous pouvez programmer un autre cycle de lavage immidiatement. Sans intervention de votre part, cet affichage est main-tenu pendant une heures. ÀpRES un déal d'une heures sans intervention de votre part, l'affichage s'éteint automatiquement. Le produit consommera alors moins d'énergie. Pour réactiver l'afficheur, il vous suffit d'appuyer sur une des touches. Toutefois, il est recommendé de seLECTIONner la position “Arrêt” pour éteindre le produit.
- DESCRIPTION DE VOTRE APPAREIL
Tableau de commande
Poussoir d'ouverture du couvercle (reste verrouillé pendant le cycle)
Plinthe avant escamtable (accès au filtr de vidange / accès au bridage de transport)
Bride de transport avant
6 Verrous de démontage de la plinthe
F Levier de mise sur roulettes
Pieds avant réglables en hauteur

Boite à produits amovible
Bouton de déverrouillage de la boite à produits

- DESCRIPTION DE VOTRE APPAREIL (suite)
Tuyau de vidange
Cordon d'alimentation electrique
Pièce de bridage du cordon d'alimentation
Bride de transport arrêté
Cache des trous de bridage
Tuyau d'alimentation en eau protégé (selon modele)
Plaque signalétique (Référence S.A.V)

DÉMONTAGE DES BRIDES DE TRANSPORT
Important :
Avant toute utilisation, il est impératif d'effectuer les opérations décrites ci-après.
Ces opérations consistent à retarder toutes les pieces qui servent à immobiliser la cuve de votre apparéil pendant le transport.
Ces opérations dites "de débridage" sont nécessaires pour le bon fonctionnement de votre apparéil et le respect des normes en vigueur en matière de sécurité.
Si ces opérations n'était pas effectuées dans leur totalité, cela pourrait cause des dommages graves à votre apparéil pendant son fonctionnement.
Retirez préalablement la cale en polystyrene
expansé située sous le couvercle.


- Bride de transport avant :
- Ouvrez en appuyant simultanément sur les bossages se trouvant de part et d'autre de la plinthe A tout en tirant cette dernière vers vous (Fig. 04).
- Dévissez, à l'aide d'une clé de 10, la vis de maintien de la bride "avant" en plastique rouge (Fig. 05).
- Retirez la bride "avant" (Fig. 06).
- Bouchez le trou laissé par la bride à l'aide du cache fourni © (Fig. 07).
- Reclippez la plinthe (Fig. 07).


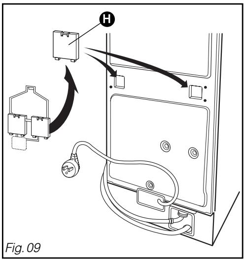
DÉMONTAGE DES BRIDES DE TRANSPORT (suite)
- Bride de transport arrêté :
- Dévissez les 2 vis et les quatre vis à l'aide d'une clé à tube de 10 ou d'un tournevis plat (Fig. 08).
- Retirez la bride F.
- Libérez le cordon électrique de la pièce plastique G qui le lie à la bride de transport.
- Bouchez les trouss laissés par la bride à l'aide des 2 caches restants (Fig.09) et revissez les 4 vis à leur emplacement d'origine dans la carrosserie.

Conseil :
Nos youse conseillons de conservetoutes les pieces de bridage,car il faudra obligatoirement les remonter si vous nevez, par la suite,transportervoitrere machine.
Toutes ces pieces ainsi que celles composant l'ensemble de votre machine sont faites de matérielaux recyclables. Il convient d'en tener compte lors de leur mise en décharge à la fin de la vie de votre machine.

Information :
Avant sa sortie d'usine, votre apparéil a été minutieusement contrôle; il est donc possible que vous constatiez la présence d'un peu d'eau dans la cuve ou au niveau des boîtes à produits.

Information :
Si vous foulez placer votre apparéil dans l'alignement de vos meubles, vous pouvez casser les crochets de fixations des tuyaux.

Important :
Attention à ne pas écraser les tuyaux.


- MISE EN PLACE DE VOTRE APPAREIL
- Mise sur roulettes :
Votre apparéil est équipé de roulettes escamtables qui vous permettent de le déplacer facilement.
Pour la mise sur roulettes, faites pivoter le levier situé au bas de l'appareil, de la droite jusqu'à l'extrémité gauche (Fig. 10).
Important :
En fonctionnement, l'appareil ne doit pas reposer sur ses roulettes : n'oubliez pas de ramener le levier dans sa position initiale.
- Mise à niveau :
Votre apparéil est équipé de deux pieds régblles placés à l'avant permettant de compenser les inégalités du sol. Pour régler l'horizontalité et la stabilité de l' apparéil, procédez comme suit :
- Enlevez la plinthe (cf Fig. 04, pages précédentes).
-Mettez la machine sur roulettes - Desserrez les 2 vis servant au blocage des pieds à l'aide d'un tournevis TORX T20 (Fig. 11).
- Reglez les deux pieds à l'aide d'une clef plate ou d'une pince pour réaliser la mise à niveau.
- Remettez l'appareil sur ses pieds en rame-nant le levier dans sa position initiale.
- Vérifiez la stabilité de la machine en appuyant sur le couvercle en diagonale (sens AA, puis sens BB) (Fig. 12). Aucun mouvement de l'appareil ne doit être perceptible.
- Lorsque les réglages sont corrects, revissez les 2 vis de blocage des pieds et reclippez la plinthe.
- Environnement :
Important :Si vous place
Si vous placez votre machine a cote d'un autre apparéil ou d'un meuble, nous vous conseillons de tous jours laisser entre eux un espace pour facilititer la circulation de l'air.



Conseil : Nous vous
d'installer votre apparéil :
-dans une piece humide et mal aeree.
- dans un lieu où il pourrait être soumis à des projections d'eau.
- sur un sol en moquette. Si vous ne pouvez l'éviter, prenez toutes les dispositions pour ne pas générer la circulation de l'air à sa base, afin d'assurer une bonne ventilation des composants internes.
- RACCORDEMENTS DE VOTRE APPAREIL
-
Alimentation en eau froide (Fig. 13):
-
Branchez le tuyau d'alimentation sur un robinet muni d'un embout fileté Ø 20 x 27 (3/4 BSP).
Vérifiez la présence du joint.
Arrivée d'eau :
— Pression d'eau mini : 0,1 MPa ou 1 bar
- Pression d'eau maxi : 1 MPa ou 10 bars
- Alimentation électrique (Fig. 13):
L'installation électrique doit être conforme à la Norme NF C 15-100, en particulier pour la prise de terre.
Nous ne pouvons pas etre tenus pour responsable de tout incident cause par une mauvaise installation electrique.

Conseil :
Conseils pour l'installation électriquetre apparéil :
- N'utilisez pas de prolongateur, adaptateur ou prise multiple
- Ne supprimez jamais la mise à la terre
- La prise de courant doit être facilement accessible mais hors de portée des enfants.
En cas d'incertitude, adresse-vous à votre installerateur.
Evacuation des eaux usées (Fig. 13):
Raccordez le tuyau de vidange :
-
soit de façon provisoire, sur un évier ou une baignoire.
-
soit de façon permanente, sur un siphon ventilé.
Si vous installation n'est pas équipée d'un siphon ventilé, veiliez à ce que le raccordement ne soit pas étanche. En effet, pour évier tout refoulement d'eaux usées dans la machine, il est viviment recommandé de laisser libre passage à l'air entre le tuyau de vidange de la machine et le conduit d'évacuation.
Dans tous les cas, la crosse de vidange devra être placée à une hauteur comprise entre 0,80 m et 1,10 m par rapport à la base de la machine.

Important :
Veillez à bien maintainir le tuyau de vidange au moyen d'un lien afin d'éviter que la crosse ne se dégage en cours de vidange et provoque une inondation.

Important :
Viete apparéil est conforme aux directives européennes 2006/95/CE (directiveasse tension) et 2004/108/CE (compatibilité electromagnétique).

3 / PREPARATION DE VOTRE LINGE ET DE VOTRE APPAREIL
- CODES D'ENTRETIEN DES TEXTILES

Conseil :
Pour vous aider dans l'entretien de vos textiles, ceux-ci sont munis d'une étiquette résumant les informations nécessaires. Celles-ci sont exprimées en codes par les symboles ci-dessous:
| LAVAGE | |
| 95 | Température maximum : 95°C - Action mécanique normale - Rincage normal - Essorage normal - Action mécanique réduite - Rincage à température décroissante - Essorage réduit |
| 95 | Température maximum : 60 ou 50°C - Action mécanique normale - Rincage normal - Essorage normal - Action mécanique réduite - Rincage à température décroissante - Essorage réduit - Action mécanique réduite - Rincage à température décroissante - Essorage réduit |
| 60 | Température maximum : 40°C - Action mécanique normale - Rincage normal - Essorage normal - Action mécanique réduite - Rincage à température décroissante - Essorage réduit - Action mécanique très réduite - Rincage normal - Essorage normal |
| 50 | Température maximum : 30°C - Action mécanique très réduite - Rincage normal - Essorage réduit |
| 40 | Lavage à la main seulement Température maximum : 40°C (Certains apparueils sont maintainant équipés d'un programme qui permet de laver en machine ce type de textiles) |
| 30 | Pas de lavage |
| CHLORAGE | |||
| Chlorage autorisé : dilué et à froid | Pas de chlorage | ||
| REPASSAGE | |||
| 200 °C Réglage fort | 150 °C Réglage moyen | 110 °C Réglage doux | Pas de repassage (pas de vapeur) |
| NETTOYAGE A SEC | |||
| A Tous solvants usuels | P Perchloréthylène Essence minérale | F Essence minérale et solvent fluéré F113 | Pas de nettoyage à sec, ni de détachage aux solvants |
| Processus normal | |||
| P - Action mécanique réduite - Température de séchage réduite - Pas d'addition d'eau (Nettoyage en libre-service impossibly) | |||
| SECHAGE EN TAMBOUR MENAGER | |||
| Séchage fort | Séchage doux | Pas de séchage en tambour | |
COFREET
- TRAITEMENT DES TACHES DIFFICILES

Conseil :
Les taches de transpiration, sang, fruit, vin, chocolat, disparaissant généralement avec les lessives contenant des éléments biologiques, mais d'autres taches nécessitent un traitement spécifique avant la mise en machine. Faites d'abord un essai sur un endroit peu visible du textile et rincez abondament. Si vous appliquez un détachant, commencez toujours par l'extérieur de la tache pour éviter les auréoles.
BOUGIE: enlevez le maximum de la tache en gratant. Mettez ensuite du papier absorbant des deux côtes du tissu et passez un fer à repasser sur la tache pour faire fondre le reste de cire.
CAFÉ - THE :
-
sur coton blanc : tamponnez la tache avec de l'eau oxygénée* avant de procéder à un lavage normal
-
sur coton de couleur : tamponnez la tache avec une solution d'eau vinaigrée (2 cuillerées à soupe de vinaigre blanc pour 1/4 de litre d'eau) avant de procédér à un lavage normal
-
sur la laine : tamponnez la tache avec un mélange à parts égales d'alcool* et de vinaigre blanc avant de laver l'article.
CAMBOUIS - Goudron : utilisez de l'Eau Écarlate ou, à défaut, étalez un peu de beurre frais sur la tache, laissez reposer puis tamponnez avec de l'essence de térébenthine.
CHEWING-GUM : refroidissez-le avec un glaçon. Dès qu'il est suffisamment dur, gratteze-le avec l'ongle. Enlevez l'auréole qui subsiste à l'aide d'un produit dégraissant*.
CHOCOLAT - FRUIT - JUS DE FRUIT - VIN : tamponnez la tache avec une solution d'eau vinaigrée (2 cuillerées à soupe de vinaigre blanc pour 1/4 de litre d'eau). Rincez bien et lavez normalement.
CRAYON A BILLE - FEUTRE : enlevez le maximum d'encre en tamponnant la tache avec un papier absorbant. Placez un chiffon blanc propre derrière la tache et tamponnez la tache avec un autre chiffon imbibé de vinaigre blanc pour les fibres synthétiques et artificielles ou d'alcool à 90^* pour les autres fibres (si le textile le permet).
GRAISSE: saupoudrez immédiatement le tissu avec du talc. Laissez secher et Brossez doucement pour éliminer le talc. Puis tamponnez avec un produit dégraissant du type essence minérale*. Rincez et lavez normalement.
HERBE : tamponnez la tache avec du vinaigre blanc ou de l'alcool à 90^ (si le textile le permet) puis rincez et procédez au lavage.
KETCHUP - SAUCE TOMATE : prépAREZ une solution avec un volume de glycérine pour un volume d'eau chaude. Laissez tremper le linge pendant une heures, puis procédez à un lavage normal.
PEINTURE: ne laissez pas secher les dépôts de peinture. Traitez-les immédiatement avec le solvant indiqué sur la boîte de peinture (eau, térébenthine, white spirit). Savonnez puis rincez.
PRODUITS DE MAQUILLAGE: posez la facetachée du tissu sur un papier absorbant, puis humectez l'envers du tissu avec de l'alcool à 90^ si l'article le permet et si la tache n'est pasgrasse. Dans le cas contraire, préférez un produit dégraissant (type trichloréthylene*).
ROUILLE : pour des taches légères, recouvre de sel, pressez du jus de citron sur le sel et laissez reposer une nuit ; puis rincez abondamment et faites un lavage. Pour des taches plus importantes utilisez un produit antirouille en suivant très attentivement les conseils du fabricant.
SANG: trempez, le plus vite possible, l'article taché dans de l'eau froide salée, puis procédez à un lavage normal.
- Utilisation de produits détachants
Important :
Pour éviter tout risque d'incendie ou d'exon :
(*) si vous utilisez les produits préconisés dans les recettes ci-dessus, prenez soin de rincer abondamment votre linge avant de l'introduire dans votre machine.
-si vous utilisez des detachants du commerce, suivez très attentivement les conseils du fabri-cant de ces produits.
Nous vous rappelons que, en général, les taches traitées immédiatement s'éliminent facilement. Par contre, les taches ancienne qui ont été repassées ou séchées en tambour menager, ne peuvent plus être enlevées.
AVANT LE PREMIER LAVAGE
Important :
Avant d'effectuer votre première dessive, nous vous recommandons de faire un cycle de lavage "COTON 90^ sans prélavage", sans linge et en utilisant une 1/2 dose de votre dessive habituelle. Ceci, afin d'éliminer les résidus de fabrication pouvant évientuellesment subsister dans la machine.
- PREPARATION DE VOTRE LINGE
- Le tri de votre linge :
Reportez-vous au tableau des codes d'entretien des textiles pour trier votre linge etCHOisissez le programme adapté aux etiquettes.Dans le cas de charges mélangées,utilisez leprogramme correspondant au linge le plus fragile. Pour du linge neuf, prenez au préalable la précaution de vérifier que le textile ne déteint pas:voir "Le test couleur" ci-contre.
- Le test couleur :
Au premier lavage, un linge de couleur déteint souvent, sauf s'il est garanti grand teint. Avant de leMETRE en machine,faites le test suivant:
- Prenez une partie non visible du linge
-Humectez-la d'eau chaude - Pressez-la ensuite dans une étoffe blanche
- Si le linge ne déteint pas, vous pouvez le laver normalement en machine.
-Si le linge déteint, lavez-le séparément en machine ou à la main.
- Les charges de linge

Important : Pour un résultat optimum, ne surchargez pas excessivement votre tambour et ne dépassez pas les charges maximales suivantes :
Coton / Couleurs 8 kg
Mixte 3 kg
Delicat/Laine 2kg
Poids moyen de quelques pieces de linge sec "peu épais"
Drap 1 place 400 à 500 g
Drap 2 places 800g
Taie d'oreiller 200g
Chemise de nuit legere 150g
Pantalontoileenfant 120g
Pantalon toile adulte 500 g
Chemise homme coton/polyester 200g
Tee-Shirt cotton grande taille 150 g
Torchonvaisselle 100g
Nappe 250g
Lingeriedelicate 50g
Lainage synthetique infant 50g
Chaussette 20g
Pyjama toile adulte 250g
Poids moyen de quelques pieces de linge sec "épais"
Blue-jean adulte 800 g a 1 kg
Grande serviette éponge 700 g
Petite serviette éponge 300g
Pantalon jogging adulte 350g
Pyjama éponge infant 100 g
Peignoir de bain 1200g
Sweat-shirt 250g
Housse de couette 1500g
- PREPARATION DE VOTRE LINGE (suite)
- La vérification de votre linge
Important: Le non respect des conseils suivants peut engendrer des dégats graves, voire irrémédiables (tambour dététrioré, linge déchéré, etc...) et annulerait la garantie.
- Videz les poches : retirez tous les objets, tels que les briquets, les allumettes, etc ...
-Fermez les fermétures à glissières et à pression. - Enlevez les crochets des voilages ou mettez vos voilages dans un filet de lavage.
- Retirez les boutons mal cousus, les épingles, les agrafes.
-Mettez les petites pieces de linge (rubans, pochettes, etc...) dans un filet de lavage.
- Retournez les textiles multicouches (sac de couchage, anorak...).
- Retournez les tricots, les textiles à décoration rapportée, les pantalons et les vêtements en maille.
- CHARGEMENT DE VOTRE LINGE
Effectuez les opérations dans l'ordre suivant :
- Ouverture de la machine
- Vérifiez que la machine est hors tension.
- Appuyez sur le bouton poussoir situé à l'avant de la machine. Le couvercle s'ouvre.
- Ouverture/Fermetre du tambour
- Ouvrez les portillons du tambour en appuyant sur le pouvoir situé sur le volet avant (Fig. 14).
-Pour les refermer, appuyez le portillon avant vers le bas, puis rabattez le volet arrriere par dessus, jusqu'à ce que le verrouillage s'enclenche.
Important: Pour un bon verrouillage, vérifie que le liséré bleu A du pouvoir est bien visible (Fig. 15).


- Introduction du linge
Pour des performances de lavage optimum, placez le linge, préalablement trié et déplié dans le tambour, sans le tasser et en le répartissant uniformément. Mélanger les grosses et petites pieces pour obtenir un essorage optimum, sans formation de balourd.
Important: En fermant le tambour, veilles à ne pas coincer du linge entre les deux volets.
- CHARGEMENT DES PRODUITS DE LAVAGE (Fig. 16)
- Dosage de la lessive
La quantité de lessive à utiliser dépend de la durée de l'eau, du degré de salissure de votre linge et de la quantité de linge à laver.
Reportez-vous toujours aux prescriptions de dosage figurant sur l'emballage de vos produits de lavage.
Attention : les préconisations des fabricants de lessive correspondant, dans la plupart des cas, à un replissage maximal du tambour. Adaptez correctement votre dosage au poids du linge introduit dans la machine.
Ces préconisations vous éviteront un dosage excessif responsable de la génération de mousse. Une surproduction de mousse peut diminuer les performances de votre machine et augmenter la durée de lavage ainsi que la consommation d'eau.
- Lessive pour lainages et textiles délicats
Pour le lavage de ces textiles, il est recom-mandé d'utiliser une lessive appropriée (evitez de mettre cette dernière directement sur le tambour car certains de ces produits sont agressifs pour le métal).

① Bac prélavage (poudre)
Bac lavage (poudre ou liquide)
③ Bac Javel
4 Bac Assouplissant
Lessive poudre
Lessive liquide

Important :
- Le bac "LAVAGE" peut conténir les poudres et les liquides, toute fois, ne pas utiliser de dessive liquide pour les programmes AVEC prélavage ou AVEC "départ différé" (suivant modèle).
- Pour un replissage correct des bacs à produits, mettez le couvercle dans sa position maxi-male d'ouverture.
- Ne dépassez par le niveau MAX.
- DESCRIPTION DU TABLEAU DE COMMANDES

A Selecteur de programme
B Réglage vitesse d'essorage
Touches options et Sélection Sécurité Enfants
Départ différé
Départ/Pause
① Voyants de déroulement de cycle
② Afficheur vitesse d'essorage
③ Afficheur temps
④ Voyant verrouillage Sécurité Enfants
Nota : Toutes les touches sont sensitives ; elles ne s'enforcen pas. Un simple toucher suffit.
- PROGRAMMATION D'UN CYCLE DE LAVAGE
- Opérations à effectuer
Affichage
- Choisissez le programme de lavage correspondant le moins à la nature de votre linge en tournant le sélecteur de programme A.
Nota: Le fait de tourner le sélecteur sur une position autre que “0” met la machine sous tension.
La machine affiche la vitesse d'essorage la vente adaptée au programmeChoisi ainsi que la durée du cycle correspondant à une charge standard.
-Vous pouvez modifier la vitesse d'essorage proposée, à l'aide de la touche Essorage 3
- Ou pour la fin de cycle : besoin un égouttage.
Le cycle se terminera alors par une vidange à 110 tr/min sans essorage.
-Ou encore: un arrêt cuve pleine.
Votre machine s'arrêtea cuve pleine d'eau avant I'essorage final.

1200 Tr/min

10Tr/min

Tr/min
- Choisissez si besoin les options à l'aide des touches

Information : Pour chacune des sélections ci-dessus, la machine ne vous donna res qu'auxrs ou options compatibles avec le programme choisi.
Voyant allumé : option sélectionnée
Voyant éteint : option non sélection

Nota : Le besoin d'une option modifie la durée du cycle.
4 / PROGRAMMATION DE VOTRE APPAREIL
- PROGRAMMATION D'UN CYCLE DE LAVAGE (suite)
| • Opérations à effectuer (suite) | Affichage |
| - Choisissez un départ immédiat en appuyant sur la touche “Départ/Pause” ③ ... Levoyant de déroulement de cycle ① s'allume. Le programme démarre. | La machine vous indique,pendant toute la durée du programme,àquelle phase le cycle se trouve... Lavage Ringage Essorage ... ainsi que le temps restant estimé avant la fin de ce cycle. 120Durée/min |
| ... Vous pouvez différer votre heures de départ de 1 à 24h. - Pour cela,appuyez sur la touche “Départ différé” ①(voir façon de procéder dans le chapitre “AUTRES FONC-TIONS - Départ différé"). L'afficheur ③indique alors le temps devant s'écouler avant le départ du cycle. (Ce temps est exprimé en minutes pendant la dernière heures). | Départ différéDépart différé(1e voyant clignote alternatively) |
| • Indication Fin de cycle | Affichage |
| Nota:Après l'essorage,votre lave-linge défoule le linge et positionne automatiquement son tambour ouverture en haut pour faciliter l'accès au linge. Cette opération dure au maximum 3 minutes.Ensuite,l'afficheur ③affiche“-0-”,ce qui vous indique que le cycle est terminé.- Mettez le sélectionnerde programme A sur la position“0".Vous pouvez dés lors,ouvrir le couvercle et-retirer vosetlinge. | -0- |
| • Annulation en cours de programmation,pendant un lavage ou pendant une pause | Affichage |
| -Mettez le sélectionder programme A sur la position“0”.Nota:Une annulation vous oblige,dans tous les cas,a tout reprogrammer depuis le début.Si vous avez annulé en cours de lavage,pour vidanger l'eau si nécessaire,faites un programme "Essorage" en réglant une vitesse adaptée. | Tous les afficheurs sont éteints |
Important : Avant de meti
Avant de mettre votre machine en marche, vérifie que le cordon électrique est branché et le robinet d'eau ouvert. Assurez-vous aussi de la bonne fermeture des portillons du tambour et du couvercle de la machine.
Dans la phase "Fin de cycle", lorsque "-0-" est affché, toute action sur un des éléments de commande (selecteur ou touches) permet de revenir en mode "Programmation".
Par mesure de sécurité, à la fin d'un cycle, il est conseilé de débrancher le cordon électrique puis de fermer le robinet d'arrivée d'eau.
4 / PROGRAMMATION DE VOTRE APPAREIL
- PROGRAMMATION D'UN CYCLE DE LAVAGE (suite)
| • Mettre ou enlever une pièce pendant le cycle (impossible pendant l'essorage) | Affichage |
| - Appuyez sur la touche “Départ/Pause” ◎ pour interrompre le cycle de lavage. | Le décomptage du temps est arrêté. Les voyants de déroulement de cycle et de “Temps restant” cli-gnotent alternatively. |
| - Mettez ou enlevez la ou les pièces de linge. Le temps de déverrouillage du couvertle est dépendant de la température intérieure de la machine et peut pren-dre, pour des raisons de sécurité, plusieurs minutes dans le cas d'une interruption d'un lavage supérieure à 40°C. | Lavage Rince Assorage 125 Durée/min |
| - Appuyez sur la touche “Départ/Pause” ◎ pour continuer le cycle. | Reprise du décomptage et les voyants sont de nouveau “fixes”. Lavage Rince Assorage 125 Durée/min |
| • Modification de programme en cours de cycle | Affichage |
| - Pendant le cycle ou pendant le départ différé, vous pou- vez effectuer, si nécessaire, certaines modifications de pro- gramme. Pour connaître les modifications de programme possi- bles, reportez-vous aux chapitre “MODIFICATION D'UN PROGRAMME DE LAVAGE”. |
| • Sécurité enfants | Affichage |
| - Afin d'éviter une modification de sélection en cours de programme, vous avez la possibilité d'activer la "Sécurité enfants".Pour cela, appuyez de façon simultanée sur les 2ème et 4ème touches d'options (● (le voyant "Verrouillage" ④ s'allume).Lorsque la "Sécurité enfants" est activée, les touches et la sélection du programme sont verrouillées.- Si vous désirez modifier votre programme, vousdezvez, au préalable, désactiver la "Sécurité enfants".Pour cela, appuyez à nouveau de façon simultanée sur ces 2 mêmes touches, jusqu'à ce que le voyageant "Verrouillage"s'éteigne.Notaf: Vous pouvez activer ou désactiver la "Sécurité enfants" à tout moment. Il vous est, bien entendu, recom-mandé de ne l'activer qu'après avoir effectué la programmation et lancé le cycle. | Vercouillage |
- EXAMPLES DE PROGRAMMES
Pour désirir le programme le mieux adapté à la nature de votre linge, conformez-vous aux indications figurant sur les étiquettes apposées sur la plupart des textiles.
| Tableau des programmes | Température (°C) | Charge maxiale de linge sec (kg) | Durées hors options (minutes) | Options possibles | |||||
| Nature du textile | Préavage | Très sale | Rincage Net | Couleurs fonçées | Anti-froissage | ||||
| COTON / BLANC / COULEURS | 20 - 90° | 8 | 125 à 150 | ● | ● | ● | ● | ● | |
| MIXTE | - Synthétiques - Fibres mélangées | -60° | 3 | 100 à 125 | ● | ● | ● | ● | ● |
| DÉLICAT/LAINE | -30° | 2 | 35 à 40 | ● | |||||
| Programmes courts | |||||||||
| QUOTIDIEN SALE | -40° | 3 | 45 | ● | |||||
| QUOTIDIEN PEU SALE | -40° | 3 | 30 | ||||||
| Programmes particuliers | |||||||||
| RINÇAGE | 20 | Ce programme se ter- mine par un essorage | |||||||
| ESSORAGE | 10 | ||||||||
- : Ces fonctions peuvent etre utilisées seules ou cumulées - les combinaisons illogiques sont impossibles - Pour l'explication des différents programmes, se reporter au chapitre "DETAILS DES PROGRAMMES".

Information :
Lechoix d'une option modifie la durée du cycle,par exemple:
- Option Préavage : le cycle est rallongé de 17 à 33 minutes.
- Option Rincage net: le cycle est rallongé de 9 à 18 minutes.
PROGRAMMES POUR LES ESSAIS SELON REGLEMENT DELEGUE (UE) N° 1061/2010
- Programme Coton standard à 60^ : Coton 60^ - Sans option - Essorage maxi
- Programme Coton standard à 40^ : Coton 40^ - Sans option - Essorage maxi
- MODIFICATION D'UN PROGRAMME DE LAVAGE
- Pendant la programmation
Toutes les modifications de programme sont possibles tant que vous n'avez pas appuyé sur la touche "Départ/Pause" 電
- Avec le départ du cycle
-Vous ne pouvez pas modifier le type de tex-tile (par exemple, passer de "Coton" à "Mixte", de "Mixte" à "Délicat", etc ...
Nota: Si vous tournez le sélecteur de programme A vers un textile différent, 3 traits horizontally apparaissent sur l'afficheur pour vous indiquer que cette modification est interdite et qu'elle ne sera pas prise en compte.
Pour changer de type de textile en cours de cycle, vous doivent annuler le programme en cours, puis programmer un nouveau cycle.
- Il en sera de même si vous tournez le sélecteur de programme alors que la sécurité enfants est activée.
- Par contre, pour un même type de textile, vous pouvez modifier la température au début de la phase de lavage sans annuler le cycle.
Note : La durée du cycle sera modifiée en conséquence.
- Vous pouvez modifier les vitesses d'essorage pendant tout le cycle.
-Vous pouvez selectionner un "Egouttage et un"Arret cuve pleine" jusqu'à la fin du rincage(jusqu'acce que le voyant Rincage ① s'teigne).
- Avec le départ du cycle (suite)
- Vous pouvez modifier la durée du "Départ différé" pendant toute la période d'attente précédant le départ du cycle.
Note: Si, pendant cette période, vous fouze annuler le "Départ différé", réglez l'afficheur ③ jusqu'à réapparition de la durée du cycle. Appuyez brievement sur la touche "Départ/Pause" E. Le cycle démarrera immédiatement. Vous pouze aussi annuler le départ différé en tournant le sélecteur de programme A sur la position "0".
- Vous pouvez activer l'option "Prélavage" seulement pendant la période d'attente d'un "Départ différé".
- Vous pouvez activer l'option "Rincage net" jusqu'à début du rincage (jusqu'à ce que le voyant de déroulement de cycle "Rincage" s'allume).
- Vous pouvez modifier les options "Très sale", "Couleurs fonçées" et "Antifroissage" seulement pendant la période d'attente d'un "Départ différé".
- Vous pouvez désactiver toutes les options pendant toute la durée du cycle, dans la mesure où leurs actions ne sont pas déjà terminées.
- En fin de cycle
- Lorsque l'afficheur ③ indique "-0-", vous pouvez programmer un nouveau cycle sans avoir à repositionner le selector de programme A sur la positon "0". La machine est alors prete pour une nouvelle programmation.
DÉTAILS DES PROGRAMMES
Coton
Pour une charge de linge composée de COTON (blanc résistant ou de couleurs).
Important: Si vous lavez du linge de couleur, ne dépassez pas la températe de 60^ maxi.
Nota : Dans les premières minutes de ce programme, votre lave-linge estime automatiquement la charge de linge introduit. Il adapte en conséquence la consommation d'eau et la durée du programme pour un lavage parfait. De ce fait, la durée affichée du temps restant peut varier notablement une fois cette mesure effectuee.
- Mixte
Pour une charge de linge composée de SYNTHÉTIQUES RÉSISTANTS ou FIBRES MÉLANGÉES.
Délicat / Laine
Pour une charge de linge composée de VOILAGES, TEXTILES DÉLICATS, LINGE FRAGILE et LAINES “LAVABLES EN MACHINE”.
Nota:Programme avec action mecanique faible,essorage tres doux et cadences de brassage adaptees à la nature de ces textiles.
Quotidien Sale
Ce programme à 40^ permet de laver en 45 minutes "chrono", une chargeuelle de coton et linge mixte de 3kg , en garantissant un résultat de lavage parfait et une economie maximale d'énergie.
Quotidien Peu Sale
Ce programme vous permet de laver une charge de linge peu sale de 3kg composée de COTON, BLANC, COULEURS ou SYNTHÉTIQUES RÉSISTANTS.
Sa durée est limite à 30 minutes.
Dans ce programme, la température de lavage est automatiquement programmes à 40^ .
Rincage
Rincage, suivi au choix :
- soit d'un essorage avec vidange,
- soit d'une vidange seule (option "égoutage"),
- soit d'un arrêt cuve pleine d'eau.
Important: Dans le cas d'un "rinçage seul" suivi d'un essorage ou d'un "essorage seul", prenez garde de bien choisir une vitesse d'essorage adaptée à la nature du linge introduit dans la machine.
Essorage
Ce programme permet d'essorer seulement du linge à la vitesse de votrechoix. Il est suivi d'une vidange.
DÉTAILS DES OPTIONS
- Préavage
Spécialement concu pour du linge souillé (boue, sang, etc ...).
Un premier brassage à froid spécifique précède une phase de chauffage à 30^ . Ce brassage à froid permet d'enlever, avant chauffage, les particules souillant le linge.

Important :
Il est nécessaire, dans ce cas, d'introdu du détergent dans le bac " | de la à produits.
Très sale
Cette fonction améliore les performances de lavage et permet, en augmentant automatiquement la température du bain de lavage ainsi que les temps de brassage, de Traits le taches rebelles réputées difficiles.
Rincage net
"Spécai peaux sensibles et allergiques":permet d'ajouter un rincage supplémentaire au cycle de lavage.
Couleurs foncées
Permet à votre lave-linge de prendre soin de votre linge de couleur foncée et d'éviter les pris et les marques blanches. Pour cela, cette option réduit automatiquement la vitesse et la durée de l'essorage.
Anti-froissage
Permet, par une réduction du brassage et un refroidissement contrôle du bain de lavage, de limiter les plis sur le linge, et d'en facilititer ainsi le repassage.
AUTRES FONCTIONS
- Egoutage 10
Cette fonction, pour du linge très délicat, permet de supprimer l'essorage et de passer directement à la vidange du lave-linge.
- Arret cuve pleine L
Cette fonction est à utiliser pour les textiles que vous ne souhaitez pas essorer ou si vous prévoyez une absence prolongée à la fin du lavage.
Cette fonction ayant eté sélectionnée, le cycle est interrompu avant l'essorage final, ce qui permet à votre linge de tremper dans l'eau afin d'éviter le froissage.
Note : Lorsque la machine est arrêtée cuve pleine d'eau, l'afficheur ③ ne

décompte plus le temps restant et demeure fixe et le voyant de déroulement


- si vous désirez faire une vidange avec essorage :
Selectionnez le programme "Essorage" à l'aide du sélecteur de programme A, puis avec la touche Essorage B réglez une vitesse d'essorage adaptée à la nature du linge. Le programme se terminera automatiquement.
-si yous desirez faire une vidange seule: Selectionnez le programme "Essorage",puis a I'aide de la touche Essorage B affichez I (fonction egoutage).
AUTRES FONCTIONS (suite)
- Départ différé (départ dans...)
Voussoupiezretarderledepartdevoirtreprogramme de1a24heuresafindebenefecicierdur tariff heurescreusesou pourobtenirun fin decyclea l'heuredésirée.
Pour cela, Sélectionné la durée souhaitée en appuyant successivement sur la touche "Départ différé" D jusqu'à obtenir la durée souhaitée.
Note: ÀpRES quelsques secondes, le digit h de l'afficheur ③ clignote alternativement. L'afficheur décompte le temps restant avant le départ effectif du cycle (la dernière heures étant décomptée en minutes §§).
- Indication du Temps restant (Fin dans ...)
Pendant la programmation, l'afficheur ③ vous indique la durée estimée du programme, pour une charge standard (*)
(*) Le temps indiqué par la machine en début de programme peut varier en cours de cycle :
- Si vous changez la température de lavage (meme pendant l'essorage), si vous ajoutez ou supprimez des options, le temps sera recalculé et mis à jour sur l'afficheur.
En cours de cycle, l'afficheur ③ vous indique en permanence le temps restant estimé avant la fin du cycle.
- En cas de coupure de courant pendant la phase de lavage, au_retour du courant le temps affiché peut être inférieur à la durée réelle restante.
Ce temps sera remis à jour au début de la phase de rinceage.
- SÉCURITÉS AUTOMATIQUES
- Sécurité d'ouverture du couvercle
- Dès que le cycle de lavage a démarré, le couvercle de votre apparéil se verrouille.
- Dès que le cycle est terminé ou lorsque la machine est arrêtée cuve pleine d'eau, le couvercle se déverrouille.
- Si vous avezprogramme un "Départ différé",le couvercle n'est pas verrouillépendant toute la période d'attente precedant ledépart du cycle.
- Si vous souhaitez ouvrir le couverclependant le cycle, appuyez brièvement sur la touche "Départ/Pause" F et attendez au moins 1 à 2 minutes afin que la sécurité du couvercle se déverrouille.
Important: Selon le moment du cycle ou vous désirez ouvrir le couvercle, ce déliai peut être plus long car il faut lui ajouter une période de refroidissement. En effet, en cours de cycle, pour que la sécurité du couvercle se déverrouille, la température interieure de la machine ne doit pas dépasser un certain seul, ici afin de vous éviter des brûlures graves.
- Sécurité anti-mousse
Votre lave-linge sait détector une tropforteproduction de mousse lors del'essorage.
A ce moment-là, l'essorage s'arrête et la machine est vidangée.
Ensuite, le cycle reprend son cours en ajustant les cadences d'essorage et en ajoutant eventuellement un rincege supplémentaire.
- Sécurité des eaux
En cours de fonctionnement, le contrôle permanent du niveau d'eau prévient tout débordement eventuel.
- Sécurité d'essorage
Votre lave-linge est équipé d'une sécurité qui peut limiter l'essorage lorsqu'une mauvaise répartition de la charge est détectée.
Dans ce cas, votre linge peut être insuffisamment essore. Répartissez alors,Uniformément votre linge dans le tambour et programmez un nouvel essorage.
5 / INFORMATIONS RELATIVES AU NOUVEAU RÉGLEMENT UE
Conformément au règlement UE 1015/2010, vous trouvezez ci-après des informations complémentaires sur le produit. Motif : directives sur les économies d'énergie auxquelles tous les apparèils vendus dans l'UE doivent se conformer.
CHOIX DE LA LESSIVE
Le symbole d'entretien du linge définit le bon choix de lessive, de la bonne température et du traitement ajustat du linge.
| Type de textile | Programmes | Produits lessiviel | |
| Linge blanc en coton | © | Coton 20°C - 90°C max. | Lessive avec produit blanchissant |
| Linge couleur en lin ou en coton | © | Coton 20°C - 60°C max. | Lessive couleur sans produit blanchissant |
| Synthétiques | © | Synthétiques 20°C - 60°C max. | Lessive couleur/délicut |
| Textiles délicats | © | Délicat/Soie 20°C - 40°C max. | Lessive pour linge délicat |
| Laine | © | Laine 20°C - 40°C max. | Lessive pour lainages |
- Humidité résiduelle du linge
Pour connaître la classe d'efficacité d'essorage de votre apparéil, consultez son label énergétique fourni avec celui-ci et reportez-vous au tableau ci-dessous :
| Classe d'efficacité d'essorage | Humidité résiduelle D en % |
| A (très haute efficacité) | D < 45 |
| B | 45 ≤ D < 54 |
| C | 54 ≤ D < 63 |
| D | 63 ≤ D < 72 |
| E | 72 ≤ D < 81 |
- Programmes pour les essais selon règlement délégué (UE) 1061/2010
Ces programmes conviennent pour nettoyer les textiles en coton normalement sales, et sont les plus efficaces en ce qui concerne les consommations conjointes d'énergie et d'eau.
| Classe et charge maximale selon modèle | Charge maximale de linge sec : 8 Kg | |||
| Programmes * | Classe | Consommations | Durée (en min) | |
| kWh | litres | |||
| Coton 60°C pleine charge | A+ | 1,27 | 55 | 186 |
| Coton 60°C 1/2 charge | A+ | 1,11 | 42 | 192 |
| Coton 40°C 1/2 charge | A+ | 0,71 | 42 | 170 |
- Programmes sans option, essorage maxi.
Pour des raisons d'économie d'énergie, la température de lavage réelle peut différer de la température de programme indiquée.
- Consommation d'électricité en modes Arrêt et Laisse sur marche
| Mode Arrêt : | < 0,5 W | Mode Laissé sur marche : | < 1,5 W |
- NETTOYAGE DE LA BOITE À PRODUITS
Nettoyez régulierement la boite à produits. Pour cela :
- Manoeuvrez le bouton vers l'avant et retirez la boite vers le haut (Fig. 18).
- Passez l'ensemble sour le robinet d'eau chaude pour nettoyez parfaitement l'intérieur des bacs et des canaux d'entrée d'eau.
- Pour faciliter le nettoyage du bac assouplissant, ce dernier possède un siphon amovible (piece de couleur). Veuillez à le repositionner parfaitement après le nettoyage.
- Remettez ensuite l'ensemble de la boîte à produits dans son logement en vous assurant qu'elle est bien positionnée.
- NETTOYAGE DU FILTRE DE POMPE
Important :
Si vous ne nettoyez pas régulièrement le filtr de pompe, les performances de votre machine risquent d'en être affectées.
Important :
Effectuez préalablement une vidange, puis débranche la prise de courant.
Pour nettoyer le filtré de pompe :
Retirez la plinthe (Fig. 19).
-
Placez un récipient plat sous l'accès à la pompe.
-Si vous appeareil en est muni, sortez le tuyau de purgege en declippant le bouchon du socle (Fig.20).
-Ouvrez le bouchon à l'extrémité du tuyau et laissez l'eau s'écouler dans le recipient (Fig. 20). -
Refermez le bouchon en veillant à ce qu'il soit bien enforcé et reclippez-le dans le socle.
- Devissez le bouchon du filtré de la pompe de vidange (Fig. 21).
-Nettoyez the filtr. - Pour le remettre en place, engagez-le en orientant, vers le haut, le petit ergot qui est sur la surface cylindrique (Fig. 22).
- Revissez le bouchon à fond (Fig. 22).
- Remontez la plinthe comme à l'origine.
Important : Lors du lavag
ait aucune fuite au moment du replissage.





- ACCÉS AU FOND DE LA CUVE
Démontage de l'aube du tambour :
Dans le cas où une piece de linge tombe entre le tambour et la cuve:
-Fermez letansomarapresl'avoirvide.
-Faites tourner le tambour jusqu'à la fixation de I'aube.
- Devissez et retirez les 2 vis A (empreinte TORX T20), l'aube tombe dans le tambour. Prenez la précaution demettre une serviette éponge pour amortir sa chute (Fig. 23).
-
Retournez et ouvre le tambour.
-
Récupérez la piece tombée par les ouvertures libérées par le retrait de l'aube.
- Pour le remontage, engagez l'aube, de l'avant vers l'arrière, sur sa partie réceptrice.
-Fermez et tournez le tambour. - Retenez l'aube pendant que vous remettez les vis.

Fig. 23
- NETTOYAGE DE VOTRE APPAREIL
Important :
Pour le nettoyage du tableau de bord, de l'accès au tambour et de la carrosserie, utilisez une éponge ou un chiffon humidifié avec de l'eau et du savon liquide uniquement.
Dans tous les cas, proscire (Fig. 24):
- Les poudres abrasives
- Les épinges métalliques ou plastiques
- Les produits à base d'alcool (alcool, diluant etc...)


L'EXPERTISE DES PROFESSIONNELS AU SERVICE DES PARTICULIERS
Pour préserver votre apparéil, nous vous recommendons d'utiliser les produits d'entretien Clearit ; découvert toute une gamme de produits et accessoires professionnelles pour entreprisesir et améliorer la performance de vos apparéils au quotidien.
En vente sur www.clearit.com ou chez votre revendeur habitual.
7 / INCIDENTS POUVANT SURVENIR

Conseil :
Quelques incidents peuvent survenir lors de l'utilisation de votre lave-linge, voici des points à vérifier.
| Problèmes : | Causes possibles / Remèdes : |
| Le cycle ne démarre pas : | - vous avez omis d'appuyer sur la touche "Départ". - l'appareil n'est plus alimenté en électricité : - vérifie si la prise de courant est correctement branchée. - vérifie le disjoncteur, les fusibles. - le robinet d'acciviée d'eau est fermé (d01). - le couvercle de l'appareil est mal fermé (d07). - la fonction pause est activée. |
| Les touches sensitives sont inactives : | - la "Sécurité Enfant" est activée : désactivez-la en appuyant sur les touches correspondantes. |
| L'afficheur est étéint : | - vérifie si la prise de courant est correctement branchée. - vérifie si le disjoncteur est enclenché. - votre apparéil est en phase "Economies d'énergie" (extinction de l'affichage après 1h sans manipulation). |
| Fortes vibrations lors de l'essorage : | - votre apparéil n'a pas été correctement débridé : vérifie si toutes les cales servant au transport ont bien été retirees. - le sol n'est pas horizontal. - votre apparéil n'est pas stable sur ses 4 pieds : ajustez-le. |
| Le linge n'est pas essoré ou est insuffisamment essoré : | - vous avez sélectionné un programme sans essorage, par exemple "Egouttage". - la sécurité d'essorage a déetecté une mauvaise réparation du linge dans le tambour : détassez le linge et programmez un nouvel essorage. |
| La machine ne vidange pas : | - vous avez programme un "Arrêt cuve pleine". - la pompe ou le filtre de vidange sont obstrués : nettoyzes ces derniers. - le tuyau d'évacuation est plié ou écrasé. |
| Le couvercle ne s'ouvre pas : | - le programme n'est pas encore terminé : le couvercle reste verrouillé pendant toute la durée du programme, et tant que la température de la machine reste trop élevée (cela peut prendre quelques minutes). |
7 / INCIDENTS POUVANT SURVENIR
Important :
De maniere générale et quelle que soit l'anomalie constatée, il convient d'arrête la machine, de débrancher le cordon d'alimentation électrique et de fermer le robinet d'arrivée d'eau.
| Problèmes : | Causes possibles / Remèdes : |
| Une flaque d'eau se forme autour de la machine : | Danger : Retirez tout d'abord la prise de cou-rant ou coupe le fusible correspondant et fer-mez le robinet d'arrivée d'eau.Pendant le fonctionnement de l'appareil, le contrôle constant du niveau empêche l'eau de déborder. Si, mal-gré cela, de l'eau sort de la machine, il se peut que :- la crosse de vidange soit mal positionnée dans le conduit d'évacuation.- les raccordements du tuyau d'alimentation en eau sur la machine et sur le robinet ne seront pas étanches : vérifie la présence des joints ainsi que le serrage des raccords.- Nota : un excès de mousse a pu provoquer un débordement du tropisin : dans ce cas (fuite faible), essayez de reprogrammer un cycle sous surveillance et en réduisant la dessive. Si la fuite se produit, contactez votre ServiceAprès-Vente. |
ENTRETIENS DIVERS
- Entretien des pièces internes
Pour garantir une(Meilleurehygienne,nous
vousrecommendons:
-
de laisser le couvercle ouvert quelques temps après le lavage.
-
de nettoyez, environ une fois par mois, les parties en plastique et en caoutchouc de l'accès à la cuve, à l'aide d'un produit légersement chloré. Pour éliminer tous les résidus de ce produit, effectuez un rincage.
-
de faire un cycle de lavage à 90^ au moins une fois par mois.
- Vérifications périodiques
Nous vous recommendons de vérifier l''état des tuyaux d'arrivée d'eau et de vidange. Si vous constazez le moindre fendillagement, n'hésitez pas à les replacer par des tuyaux identiques disponibles auprès du fabriquant ou de son Service Àpreès-Ventes.
- Remplacement du tuyau d'alimentation en eau
Au moment du changement, veillez au bon serrage et à la présence du joint aux deux extrémités.
- Remplacement du cordon d'alimentation électrique
Important: Pour votre sécurité, cette opération doit impérativement être effectuee par le service après-vente du fabricant ou un professionnel qualifié.
Risque de gel
En cas de risque de gel, débranchez le tuyau d'arrivée d'eau et vidangez l'eau qui pourrait subsister dans le tuyau de vidange en plaçant ce dernier le plus bas possible dans une cuvette.
- INCIDENTS SIGNALÉS DEPANNABLES PAR VOUS-MÉME
Votre appeareil detecte de lui-même certains incidents de fonctionnement et vous le signale par des messages particuliers qui apparaissent sur l'afficheur. Nous vous expliquons ci-dessous, comment remédier vous-même, et très facilement, à ces incidents :
| Messages | Causes / Remèdes |
| d01 | Défaut de replissage. Vérifiez l'ouverture du robinet d'arrivée d'eau, puis appuyez de nouveau sur la touche “Départ” pour relancer le cycle. |
| d02 | Défaut de vidange. Nettoyez le filtré de pompé (voir façon de procéder dans le chapi-tre “ENTRETIEN COURANT : Nettoyage du filtré”), puis appuyez de nouveau sur la touche “Départ” pour relancer le cycle. |
| d07 | Défaut de verrouillage du couvercle. Vérifiez la fermeture du couvercle, puis appuyez de nouveau sur la touche “Départ” pour relancer le cycle. |
Important :
Si vous n'avez pu dépanner vous-même un des incidents ci-dessus, appelezvez leur dépanneur sans oublier de lui communiquer le message affiché (d01, d02,...) afin de lui faciliter la tâche.
Conseil : S'il s'est pr
S'il s'est produit un incident de fonctionnement qui n'entre pas dans les cas cités ci-dessus, avant d'appeler un dépanneur, nous vous conseillons de procéder comme suit :
-
mettez le sélecteur de programme sur la position "0" et débranchez la prise de courant pendant au moins 10 secondes.
-
rebranchez la prise et reliancez un cycle de lavage.
Si le défaut persiste,appelez-vous dépanneur.
Important :
Ne pas relancer de cycle de lavage, quand le tambour reste bloqué ou si vous constazez la présence d'eau autour de votre machine ou encore si vous constazez une oedur de brûlé.
8 / SERVICE APRès-VENTE - RELATIONS CONSOMMATEURS
- INTERVENTIONS
Les évventuelles interventions sur votre apparéil doivent être effectuées par un professionnel qualifié dépositaire de la marque. Lors de votre appel, mentionné la référence complète de votre apparéil (modèle, type, numéro de série). Ces renseignements figurent sur la plaque signalétique (Fig. 25).

Fig. 25
PIÉCES D'ORIGINE
Lors d'une intervention d'entretien, demandez l'utilisation exclusive de pieces détachées certifiées d'origine.

Pour en savoir plus sur tous les produits de la marque: informations, conseils, les points de vente, les spécialistes après-vente.
Pour communiquer:
nous sommes à l'écoute de toutes vos remarques, suggestions, propositions aux-quelles nous vous répondrons personnellement.
Vous pouvez nous écrire :
Service Consommateurs VEDETTE BP 9526 95069 CERGY PONTOISE CEDEX
ou nous téléphoner au:

^* tariff en vigueur au 1er avril 2004.
- Service fourni par FagorBrandt SAS, locataires-gérant, Etablissement de Cergy, 5/7 avenue des Béthunes, 95310 Saint Ouen l'Aumône SAS au capital social de 20 000 000 euros - RCS Nanterre 440 303 196.
Notice Facile