MODE D'EMPLOI PDP-506 PE & PDP-506FDE PIONEER
Décovrez les nombreux avantages offerts en enregistrant votre produit en ligne maintainant sur www.pioneer.fr (ou www.pioneer-eur.com).
Ce matériel répond aux exigences contenues dans les directives 89/336/CEE et 73/23/CEE modifiées par la directive 93/68/CEE.
Ce symbole de l'éclair, place dans un triangle équilatéral, a pour but d'attirer l'attention de l'utiliser sur la presence, à l'intérieur du coiffret de l'article, de "tensions dangereuses" non isolées d'une grande suffisante pour représentier un risque d'électrocution pour les autres humains.
ATTENTION
DANGER D'LECTROCUTION NES PAS OUVIR
ATTENTION:
POUR EVITER TOUT RISQUE D'LECTROCUTION, NE PAS ENLEVER LE COUVERCLE (NI LE PANNEAU ARRIERÉ), AUCUNE PIECE REPARABLE PAR L'UTILISATEUR NESETROUVEAL'INTERIEUR, CONFIER TOUT ENTRETIEN A UN PERSONNEL QUALIFÉ UNIQUÉMENT.

Ce point d'exclamation, place dans un triangle équilatéral, a pour but d'attirer l'attention de l'utilisateur sur la présence, dans les documents qui accompagnent l'appareil, d'explications importantes du point de vue de l'exploitation ou de l'entretien.
AVERTISSEMENT
Cet apparéil n'est pas étanche. Pour éviter les risques d'incendie et de décharge électrique, ne place pres de lui un écipient rempli d'eau, tel qu'un vase ou un pot de fleurs, et ne l'expose pas à des gouttes d'eau, des éclaboussures, de la pluie ou de l'humidité.
D3-4-2-1-3_A_Fr
Ce produit est conforme à la directive relative aux apparéilsasse tension (73/23/CEE, amendements 93/68/CEE), à la directive CE relative à la compatibilité electromagnétique (89/336/CEE, amendements 92/31/CEE et 93/68/CEE).
AVERTISSEMENT
Avant de brancher l'appareil pour la première, lisez attentivement la section suivante.
La tension de l'alimentation électrique disponible varie selon le pays ou la région. Assurez-vous que la tension du secteur de la région où l'appareil sera utilisé correspond à la tension requise (par ex. 230 V ou 120 V), indiquée sur le panneau arrêté.
D3-4-2-1-4_A_Fr
AVERTISSEMENT
Cet apparéil doit être mis à la terre.
AVERTISSEMENT
Cet apparéil est muni d'une fiche de mise à la terre (masse) à trois fils. Comme la fiche présente une troisième broche (de terre), elle ne peut se brancher que sur une prise de courant, prévue pour une mise à la terre. Si vous n'arrivez pas à insérer la fiche dans la prise de courant, contactez un électricien qualifié pour faire remplacer la prise par une qui soit mise à la terre. N'annulez pas la fonction de sécurité que procure cette fiche de mise à la terre.
D3-4-2-1-6_A_Fr
Les symboles suivants figurent sur les étiquettes apposées sur l'appareil. Ils appelent l'attention des utilisateurs et du personnel d'entretien sur des dangers potentiels.

AVERTISSEMENT
Ce symbole signale une pratique dangereuse ou contraire à la sécurité qui peut entrainer une blessure ou des dégats matériels

DANGER
Ce symbole signale une pratique dangereuse ou contraire à la sécurité qui peut entraîner une blessure grave, voiré la mort.
AVERTISSEMENT
Pour éviter les risques d'incendie, ne place aucune flamme.
nue (telle qu'une bougie allumée) sur l'appareil.
D3-4-2-1-7a A Fr
PRECAUTION DE VENTILATION
Lors de l'installation de l'appareil, veillez à laisser un espace suffisant autour de ses parois de manière à améliorer la dissipation de chaleur. L'espace minimum requis est indiqué à la page 15.
AVERTISSEMENT
Les fentes et ouvertures du coffret sont prévues pour la ventilation, pour assurer un fonctionnement stable de l'appareil et pour éviter sa surchauffe. Pour éviter les risques d'incendie, ne bouchez jamais les ouvertures et ne les recouvre pas d'objets, tels que journaux, nappes ou rideaux, et n'utilise pas l'appareil posé sur un tapis épais ou un lit.
ATTENTION
L'interrupteur POWER de cet apparéil ne coupe pas complètement celui-ci de sa prise secteur. comme le cordon d'alimentation fait office de dispositif de déconnexion du secteur, il devra être débranché au niveau de la prise secteur pour que l'appareil soit complètement hors tension. Par conséquent, veillez à installer l' apparéil de telle manière que son cordon d'alimentation puisse être facilement débranché de la prise secteur en cas d'accident. Pour éviter tout risque d'incendie, le cordon d'alimentation sera débranché au niveau de la prise secteur si vous prévoyez une période prolongée de non'utilisation (par exemple avant un départ en vacances).
D3-4-2-2-2a A Fr
Touche STANDBY/ON
STANDBY: Quand l'appareil est en mode veille, l'alimentation principale est coupée et l'appareil ne peut pas etre utilise.
Témoin STANDBY/ON
Le témoin est allumé en rouge quand l'appareil est en mode veille et en bleu quand l'alimentation principale est en service.
Nous vous remercions d'avoir acquis cet apparéil Pioneer.
Veuillez dire attentivement ce mode d'emploi pour etre en mesure d'utiliser l'appareil convenablement. La lecture de ce mode d'emploi terminée, conserveze-le dans un endroit s ur pour reference.
Dans certains pays ou régions, la forme de la prise secteur et celle de la fiche du cordon d'alimentation peuvent différer des illustrations de ce document. Toutefois, la manière de brancher le cordon et d'utiliser l'appareil est la même.
02 Précautions de sécurité
03 Accessoires fournis
Ecran plasma 11
Récepteur Média 11
04 Nomenclature
Ecran plasma 12
Récepteur Média 13
Boitier de télécommande 14
05 Préparation
Installation de I'ecran plasma 15
Installation du récepteur Média 15
Pour empêcher l'écran à plasma de se renverser 16
Raccordement du cable système 17
Cheminement des câbles 18
Préparation du boîtier de télécommande 19
Mise en place des piles 19
Portée du boîtier de télécommande … 19
Précautions relatives au boîtier dé télécommande 19
Raccordements de base 20
Raccordement à l'antenne 20
Raccordement du cordon d'alimentation 20
06 Pour regarder la télévision
Mise sous / hors tension 21
Sélection des canaux 22
Accord sur vos canaux favoris 23
Modification du niveau sonore 23
Geld'une image 25
Utilisation du menu 26
Opérations du menu 26
08 Réglages de base
Réglage automatique des canaux de
television 27
Utilisation d'Autoinstallation 27
Réglage manuel des canaux de
television 27
Utilisation de Réglage manuel 27
Réduction de bruit video 28
Définition de Verrouillage enfants .... 28
Sélection d'une entrée décodeur .... 28
Étiquetage des canaux de télévision .. 29
Classement des canaux de télévision prerégles 29
Réglage de l'horloge 29
Choix de la langue 30
Sélection AV 30
Réglages de base de l'imagé 31
Réglages avancés de l'image 31
Utilisation de PureCinema 31
Utilisation de Temp. Couleur 32
Utilisation de CTI 32
Utilisation de Gestion coul. 32
Elimination du bruit des images 33
Utilisation des fonctions d'expansion de gamme dynamique (DRE) 33
Utilisation de 3DYC et de I-P Mode .... 33
Réglages du son 34
FOCUS 34
Surround avant 34
Commande alimentation 35
09 Réglages utiles
Selection de la fréquence de balayage vertical 36
Réglage de la position de l'image 36
Choix du type de signal d'entrée 36
Choix du standard couleur 36
Sélection manuelle d'un format d'écran 37
Sélection automatique d'un format d'écran 37
Sélection d'un format d'écran pour des signaux de ratio d'aspect 4:3 reçus .... 37
Modification de la luminosité de chaque
côté de l'écran (cache latéral) 38
Minuterie de mise en veille 38
Utilisation d'un mot de passer 38
Saisiedu mot de passage 38
Changement de mot de passage 39
Effacement du mot de passer 39
Désactivation du mot de passer 39
10 Emploi d'un apparéil extérieur
Affichage des images d'un décodeur .... 40
Raccordement d'undecodeur 40
Affichage des images provenant d'un décodeur 40
Affichage des images d'un
magnétoscope 40
Raccordement d'un magnétoscope ... 40
Affichage des images provenant d'un magnétoscope 40
Utilisation de l'entrée HDMI 41
Raccordement d'un apparéil HDMI … 41
Utilisation de l'entrée/sorting.A. 42
Affichage des images d'un lecteur de
DVD 42
Raccordement d'un lecteur de DVD .. 42
Affichage des images provenant d'un lecteur de DVD 42
Utilisation d'une console de jeu et
visionnement des images d'un
camescape 43
Raccordement d'une console de jeu ou d'un caméoscope 43
Affichage des images d'une console de jeu ou d'un caméoscope 43
Utilisation des apparèils audio reliés .... 43
Raccordement d'un apparéil audio .... 43
11 Utilisation des fonctions télétexte
Qu'est-ce que le télétexte? 44
Utilisation de base du télétexte 44
Mise en service, ou hors service, du télétexte 44
Sélection etemploi d'une pagetélétexte 44
Affichage d'une page secondaire .... 45
Affichage des éléments TOP 45
Affichage des pages de sous-titres .... 45
12 Annexe
Guide de dépannage 46
Bornage de la prise péritel 47
Caracteristiques techniques 48
Veuillez lire attentivement ces informations de manière à profiter au moins du système d'écran à plasma Pioneer PureVision PDP-506FDE/PDP-436FDE.
Avec le système d'écran à plasma Pioneer PureVision PDP-506FDE/PDP-436FDE, vous disposez d'un ensemble de qualité qui assurera un service fiable et de longue durée. Afin de vous offrir des images de qualité exceptionnelle, le système d'écran à plasma Pioneer bénéficiaie d'une conception et d'une fabrication de très haut niveau, et incorpore les dernières avances technologiques.
Le système d'écran à plasma Pioneer PureVision PDP-506FDE/PDP-436FDE intégre la plus récente technologie de filtré couleur - Filtre Couleur Direct. Par rapport aux modèles précédents, ceci améliore la reproduction des couleurs / des images. Ceci élimine aussi la nécessité demettre un panneau de verre physique devant le panneau à plasma, et sert le but continu de Pioneer de réduction des déchets dans les produits électroniques grand public, aussi bien au moment de leur fabrication qu'au moment de leur recyclage dans le futur.
Avec le temps, la luminosité de l'écran à plasma Pioneer PDP-506FDE/PDP-436FDE diminuera légèrement, tout comme dans le cas des écrans à tube cathodo luminescents (écran des téléviseurs habituels). Pour profiter longtemps des belles images lumineuses que produit le système d'écran à plasma Pioneer, lisez ce qui suit et respectez les consignes qui vous sont données:
Instructions d'usage
Tous les écrans cathodoluminescents (y compris yeux des téléviseurs habituels) sont déteriorés par l'affichage prolongé d'images fixes. Les écrans plasma ne font pas exception à cette règle. Les images rémanentes et les effets permanents peuvent être évités ennant quelques précautions simples. En suivant les consignes qui vous sont données ci-dessous, vous vous assurez d'obtenir des résultats satisfaisants de l'écran à plasma:
- Dans toute la mesure du possible, évitez l'affichage de la même image, ou d'une image pratiquement fixe (par exemple, les images sous-titrées et les images statiques des yeux video).
- N'affichez pas de télétexte pendant une longue période.
- Évitez de faire apparaitre, pendant une période prolongée, l'affichage sur écran produit par un décodeur, un lecteur de DVD, un magnétoscope, etc.
- Ne conservez pas longtemps une image fixe consécutive à une pause ou un arrêt sur image que le magnétoscope, le lecteur de DVD et tout autre apparéil similaire sont capables de produit.
- Les images comportant côte à côte des zones très lumineuses et des zones trèssons ne doivent pas, non plus, demeurer sur l'écran pendant de longues périodes.
- Lorsque vous jouez, nous vous conseillons vivement d'employer le mode "JEU" de "Sélection AV". Veillez également à ce que les sessions de jeu ne dépassent pas 2 heures.
- Àprounje, ou bien après l'affichage d'une image fixe, il est souhaitable de passer des images animées avec les réglages “LARGE” ou “PLEIN” pendant une période supérieure à 3 fois la durée de l'image fixe précédement affichée.
- Lorsque vous n'utilisez plus le système d'écran à plasma, n'oubliez pas de repasser en voille ("STANDBY").
Instructions d'installation
Le système d'écran à plasma Pioneer PureVision PDP-506FDE/PDP-436FDE, présente une très faible épaisseur. Pour des raisons de sécurité et pour éviter que l'appareil ne puisse se renverser en cas de vibration ou contact accidentel, voirz à fixer ou à installer le système d'écran à plasma de la manière convenable.
Cet apparéil doit être installé en faisant usage des pièces et des accessoires conçus par PIONEER, à l'exclusion de tous autres. L'emploi d'accessoires autres que le support et l'applique PIONEER peut se traduire par une instability de l' apparéil qui peut être la cause d'une blessure. Dans le cas où vous désírez une installation spéciale, consultez le magasin où vous avez achété l' apparéil. Pour vous garantir une installation correcte et sûre, il est préféable de vous adresser à un technicien experimenté et qualifié. PIONEER ne saurait être tenue responsable ni des accidents ni des dommages provoqués par l'utilisation de pièces ou d'accessoires provenant d'autres fabricants.
Pour éviter toute anomalie et toute surchauffe, veiliez à ce que les ouïes de l'appareil ne soient pas obstruées de manière que la chaleur puisse se dissiper:
- Éloignez légrement l'appareil des autres équipements, des murs, etc. L'espace minimum requis est indiqué à la 15.
- N'introduisez pas l'appareil dans un espace exigu où la ventilation est médiocre.
- Ne recouvre pas l'appareil d'un linge, etc.
- Au moyen d'un aspirateur régle à la puissance minimale, nettoyez périodiquement les ouies laterales et arrêtre pour supprimer les poussières qui pourrait s'y accumuler.
- Ne posez l'appareil ni sur un tapis ni sur une couverture.
- Ne conservez pas l'appareil incliné, sauf dans le cas du récepteur Média s'il doit être monté en position verticale.
- Ne renversez pas l'appareil.
L'utilisation de l'appareil sans ventilation convenable, peut provoquer une éLEVation de la température interieure qui peut se traduire par une anomalie de fonctionnement. Lorsque la température ambiente ou interne excède une certaine valeur, l'écran se met de lui-même hors tension pour que les circuits électroniques puissant se refroidir et que tous les risques soient ainsi écartsés.
Une anomalie de fonctionnement peut survenir en raison du besoin de l'emplacement d'installation, d'un montage non conforme, d'une installation défectueuse, de l'utilisation même de l'appareil, de modifications apportées à ses caractéristiques. Toutfois, PIONEER ne saurait être tenue responsable de ces anomalies.

REMARQUE
Les effets et caractéristiques indiqués ci-après sont habituèlement rencontres sur les écrans matériels à luminophores et en tant que tels ne sont pas couverts par les garanties limitées du fabricant:
- Images rémanentes sur les luminophores du panneau.
- Présence d'un très faible nombre de cellules lumineuses inactives.
- Sons propres au panneau, par exemple: bruit de ventilateur de refroidissement et ronflement de circuitélectrique / bourdonnement de panneau de verre.

DANGER
PIONEER ne saurait être tenue responsable des dommages survenant à la suite d'un usage incorrect de l'appareil, par vous-même ou d'autres personnes, des anomalies de fonctionnement, des perturbations que l'appareil peut causeer à d'autres équipements à moins que sa responsabilité soit clairément engagée.
Fonction de protection de l'écran à plasma
Lorsque vous affichez des images fixes (photos ou images fournies par un ordinateur) pendant une longue période, la luminosité de l'écran est légèrement réduite. Cette disposition automatique résultat de l'action d'une fonction de protection de l'écran qui atténue sa luminositéès que la présence d'une image fixe est détectée; il ne s'agit donc pas d'une anomalie de fonctionnement. La baisse de luminosité survient après qu'une image fixe a été détectée pendant 3 minutes.
Voir ci-après les informations concernant les pixels des écrans à plasma. Les écrans à plasma Pioneer contiennent un très grand nombre de pixels. (Cela dépend de la taille de l'écran; plus de 2,3 millions de pixels dans le cas d'un écran de 43 pouces, plus de 2,9 millions de pixels dans le cas d'un écran de 50 pouces, et plus de 3,1 millions de pixels dans le cas d'un écran de 61 pouces.) Tous les écrans Pioneer sont fabriqués avec une technologie de précision de très haut niveau et sont soumis individuellement à un contrôle de qualité très strict.
Dans de rares cas, quelques pixels peuvent être constamment éteints, ou allumés,donnant lieu à un pixel noir ou de couleur constamment fixé sur l'écran.
Cet effet est commun à tous les écrans à plasma car il résultat de la technologie.
Si les pixels défectueux sont visibles à une distance normale comprise entre 2,5 et 3,5 metres en regardant une émission normale (c.-à-d. pas une carte d'essai, une image fixe ou un affichage d'une seule couleur), prière de contacter le fournisseur.
Si, toute fois, ils ne sont visibles que de pres ou lors d'affichages d'une seule couleur, cela est normal pour cette technologie.
Rayonnement infrarouge
En raison de ses caractéristiques mêmes, l'écran à plasma émet un rayonnement infrarouge. Selon la manière dont l'écran à plasma est utilisé, le fonctionnement des boitiers de télécommande des apparèils à proximate de l'écran peut être profondement perturbé; pareillement des combinés téléphoniques sans cordon qui sont alors brouillés. Dans une telle situation, changez l'emplacement de l'appareil pour que son capteur de télécommande soit hors de la zone de perturbation.
Brouillage radioélectrique
Bien que cet apparéil réponde aux caractéristiques exigées, il faut savoir qu'il génére un brouillage. Si vous placez un récepteur de radio AM, un ordinateur personnel ou un magnétoscope dans le voisinage de cet apparéil, leur fonctionnement peut être perturbé par le brouillage. En ce cas, éloignez l' apparéil concerné.
Bruit de fonctionnement d'écran à plasma
L'affichage de l'écran à plasma est composé de pixels extrémement fins et ces pixels émettent de la lumière en fonctions des signaux video reçus. Ce principe peut faire que l'écran à plasma donne lieu à un son de bourdonnement ou de renflement de circuit electrique.
Noter également que la vitesse de rotation du moteur de ventilateur de refroidissement augmente quand la température ambiente du Récepteur Média devient élevée. Le son du moteur de ventilateur peut alors être audible.
Ne collez aucune étiquette ni:aucun ruban sur l'appareil
- Cela peut décolorer ou rayer la carrosserie.
Si vous n'utilise pas l'appareil pendant une longue période
- Si vous conservez l'appareil non utilisé pendant longtemps, son fonctionnement peut en souffrir profondement. Mettez l'appareil en service et faites-le fonctionner régulièrement.
Condensation
- De la condensation peut se former à la surface ou à l'intérieur de l'appareil si vous le transportez rapidement d'unepiece froide dans une piece chaude, ou bien, lorsque, le matin, en hiver, vous allumez un appareil de chauffage. Si de la condensation se forme, ne mettez pas l'appareil en service et attendez qu'elle ait disparu. Mettre l'appareil en service alors que de la condensation s'est formée, peut provoquer une anomalie de fonctionnement.
Nettoyage de la surface de l'écran et de la surface brillante de la carrosserie avant
- Pour nettoyer la surface de l'écran ou la surface brillante de la carrosserie avant, essuyez-la doucement avec un chiffon doux et sec; le chiffon de nettoyage fourni ou tout autre chiffon similaire (par exemple, en coton ou flanelle). Si vous utilisez un chiffon sale ou dur ou si vous essuyez excessivement fort, la surface peut être rayée.
- Si vous utilisez un chiffon humide pour le nettoyage de l'écran, des gouttelettes d'eau peuvent pénétrer dans l'appareil et provoquer une anomalie de fonctionnement.
Nettoyage de la carrosserie
- Pour nettoyer la carrosserie de cet apparéil, essuyez-la doucement avec un chiffon doux et propre (par exemple, en coton ou flanelle). Si vous utilisez un chiffon sale ou dur ou si vous essuyez excessivement fort, la surface peut être rayée.
- La carrosserie de cet apparéil est essentiellement composée de matières plastiques. N'utilise aucun produit chimique (essence, diluant, etc.) pour la nettoyer. Ces produits chimiques peuvent endommager la finition ou la faire peler.
- N'exposez pas l'appareil à des gaz ni à des liquides vaporisés tels que les insecticides. Ne conservez pas l'appareil en contact prolongé avec des matérielux en caoutchouc ou en vinyle. Le plastifiant de la matière plastique peut endommager la finition ou la faire peler.
- Si vous utilisez un chiffon humide pour le nettoyage de l'écran, des gouttelettes d'eau peuvent pénétrer dans l'appareil et provoquer une anomalie de fonctionnement.
Poignées placées à l'arrière de l'écran à plasma
- Ne déposez pas les poignées que porte l'écran à plasma, à l'arrière.
- Pour déplacer l'écran à plasma, faites-vous aider par une autre personne et utiliser les poignées fixées à l'arrière de l'écran à plasma. Ne déplacez pas l'écran à plasma en ne vous aidant que d'une seule poignée. Utilisez les poignées de la manière illustrée.
- N'utilisez pas les poignées pour suspendre l'appareil au cours de son installation ou de son transport. N'utilisez les pas les poignées pour empêcher la chute de l'appareil.

DANGER
Rémanence d'image sur le panneau
- L'affichage de la même image pendant une longue période peut provoquer une rémanence de cette image. Cela peut spécialement se produit dans les circonstances suivantes.
1 Image rémanente due à la charge électrique
Si une image presentaient des zones très lumineuses est affichée pendant plus d'une minute, une image rémanente produit par la charge électrique importante peut en résultat. Cette image rémanente s'estompe peu à peu dés qu'une image animée la remplace. Le temps requis pour la disparition de l'imagé dépend de la luminosité de l'image fixe qui lui a donné naissance et du temps d'exposition de cette image.
2 Image rémanente due au brûlage
Évitez d'afficher sur l'écran à plasma la même image pendant longtemps. Si la même image demeure sur l'écran pendant plusieurs heures, ou encore apparait tous les jours au cours d'une période plus courte mais repétée, une image rémanente peut être produit par brûlage de la couche fluorescente de l'écran. Cette image rémanente devient moins visible après l'affichage d'images animées mais elle ne disparait jamais complètement.
- La fonction d'économie d'énergie peut être employée pour éviter ce genre de phénomène dommageable (reportez-vous à la page 35).

Si you souhaitez you debarrasser de cet apparéil, ne le mettez pas à la poubelle avec vos ordures menagères. Il existe un système de collecte séparé pour les apparèils électroniques usages, qui doivent être récapérés, traités et recyclés conformément à la législation.
L'électricité permet de-disposer d'un grand nombre de fonctions utiles mais elle peut être la source de blessures et de dommages matériels si certaines précautions ne sont pas respectées. Cet apparéil a été concu et fabriqué en tenant le plus grand compte de la sécurité. Toutefois, son utilisation incorrecte peut conduire à ressentir une secousse électricque, ou à provoquer un incendie. Pour éviter tout risque potentiel, observez les instructions qui suivent lorsque vous installez, utilisez ou nettoyez l' apparéil. Pour votre sécurité et pour prolonger la durée de service de l' apparéil, lisze soigneusement ce qui suit avant de l'utiliser.
- Prenez connaissance du mode d'emploi — Vous devez dire toutes les instructions relatives à la sécurité et au fonctionnement avant de faire usage de l'appareil.
- Conserve le mode d'emploi — De manière à pouvoir vous y reporter ultérieurement, conserve soigneusement les instructions relatives à la sécurité et au fonctionnement.
- Observe les mises en garde — Toutes les mises en garde apposées sur l'appareil ou mentionnées dans le mode d'emploi doivent être observées.
- Respectez les instructions — Toutes les instructions de fonctionnement et d'entretien doivent être respectées.
- Nettoyage — Débranchez la fiche du cable d'alimentation avant de nettoyer cet appeareil. Pour nettoyer cet appeareil, utilisez le chiffon fourni ou tout autre chiffon doux (p. ex., en coton ou flanelle). N'utilisez aucun liquide de nettoyage ni notamment aérosol.
- Accessoires — N'utiliseaucun accessoire qui ne soit pas conseilé par le fabricant. Tout accessoire non conseilé peut entraîner un accident.
- Eau et humidité — N'utilise pas l'appareil pres d'un point d'eau tel que baignoire, lavabo, évier, machine à laver, piscine, ni dans un sous-sol humide.
- Support — Ne déposez pas l'appareil sur une table, un chariot, un support, un trépied, une console instables. L'appareil pourrait tomber, être gravement endommagé ou sérieusement bleisser quelqu'un. Utilisez uniquement un chariot, un support, un trépied, une console ou une table conseillés par le fabricant ou vendus avec l'appareil. Si l'appareil doit être fixé sur un mur, respectez scrupuleusement les instructions de montage du fabricant. N'utilisez que les accessoires de montage conseillés par le fabricant.
- Si vous déplacez l'appareil en le posant sur un chariot, manoeuvrez celui-ci avec précaution. Des arrêts brusques, une poussée excessive, des irrégularités à la surface du sol peuvent provoquer la chute de l'appareil.

- Ventilation — Les évets et autres ouvertures de la carrosserie sont destinés à la ventilation. Ne les couvrez pas, ne les obtruuez pas car une réduction de la ventilation peut entraîner une augmentation de la température interne de l'appareil et par voie de conséquence une diminution de sa durée de vie. Ne posez pas l'appareil sur un lit, un canapé, un tapis ou une surface similaire car cela pourrait conduire à l'obstruction des ouvertures de ventilation. Cet apparéil n'a pas été créé pour être encastré; ne l'installé pas dans un endroit clos tel qu'une bibliothèque fermée ou une baie, à moins que la ventilation convenable puisse être assurée conformément aux instructions fournies par le fabricant.
- Alimentation — Cet appeareil ne doit être alimenté qu'à partir d'une source conforme à l'indication que porte la plaquette signalétique. Si vous ne connaissiez pas la nature de la source, prenez conseil du distributeur ou de la Compagnie d'électricité.
- Protection du cordon d'alimentation — Le cable d'alimentation doit cheminer de manière qu'on ne puisse pas le piétiner, ni qu'il soit écrasé par un meuble ou un
objet lourd. Examinez soigneusement le cheminement du cable d'alimentation pres de la prise secteur et au point de sortie de l'appareil.
- Le panneau de l'écran à plasma est en verre. Il peut donc être brisé par la chute de l'appareil, ou par un chic. En cas de casse du panneau, veillez à ne pas être blessé par les débris.
- Surcharge — Ne surchargez pas les prises secteur ou les rallonges. Cela peut entraîner un incendie, ou encore vous exposer à une secousse électrique.
- Introduction d'objets étrangers ou de liquide — N'introduisezaucun object dans les ouvertures de l'appareil. Des tensions élevées existent à l'intérieur de l'appareil, en sorté que le contact d'un object avec les points portés à haute tension peut entraîner un incendie, ou encore vous exposer à une secousse électrique. Pour les mêmes raisons, ne renversez ni eau ni autre liquide sur l'appareil.
- Entretien — Ne tentez pas de réparer cet apparéil par vous-même. La dépose des capots peut vous exposer à des tensions dangereuses ou à d'autres risques. Faites entretenir l' apparéil par du personnel qualifié pour cela.
- Réparations — Dans l'un des cas ci-dessous, débranchez la fiche du cable d'alimentation et faites vérifier ou réparer l'appareil par du personnel qualifié pour cela.
a. Le cable ou la fiche d'alimentation sont endommages.
b. Un liquide a été renversé sur l'appareil, ou encore un objet étranger a été introduit dans l'appareil par une de ses ouvertures.
c. L'appareil a ete exposé à la pluie ou à l'eau.
d. L'appareil ne fonctionne pas normalement bien que vous respectiez les instructions du mode d'emploi.
N'agissez que sur les commandes mentionnées dans ce mode d'emploi. En effet, toute action sur les commandes autres que celles dont il est question dans ce document, entraîne, le plus souvent, l'intervention coupteuse d'un technicien qualifié à fin de rétabir les conditions normales de fonctionnement.
e. L'appareil est tombé, ou sa carrosserie a été endommagée.
f. Le fonctionnement anormal de I'appareil est evident. Toute anomalie de fonctionnement visible justifie que I'appareil soit apporte a un service après-vente.
18. Pièces de rechange — Si une pièce doit être remplacée, assurez-vous auprès du service de réparation qu'elle le sera par la pièce prescrite par le fabricant ou une pièce ayant des caractéristiques et des performances identiques. L'utilisation d'une pièce non conforme à l'original peut entraîner un incendie, ou vous exposer à une secousse électrique ou à d'autres dangers.
19. Contrôle de sécurité — Àprouse toute intervention sur cet apparéil, exigez du service de réparation qu'il effectue un contrôle de sécurité afin de s'assurer que l' apparéil peut être utilisé sans danger.
20. Montage sur un mur ou en plafond — Si l'appareil doit être monté sur un mur ou en plafond, assurez-vous que cela sera exécuté conformément à la méthode conseillée par le fabricant.
21. Sources de chaleur — Conservez l'appareil loin des appareils de chauffage (radiateurs, poêles) et des appareils qui dégagent de la chaleur (y compris les amplificateurs).
22. Debranchez la fiche du cordon d'alimentation avant d'effectuer le raccordement des enceintes.
23. Veillez à ce que le système d'écran à plasma ne soit pas heures. Un chocol ou un impact pouraient provoquer la rupture du panneau, ce qui pourrait entraîner un incendie ou cause des blessures.
24. N'exposez pas le système d'écran à plasma à la lumière directe du soleil pendant une longue période. Les caractéristiques optiques du panneau avant proteeur seraient modifiées, ce qui se traduirait pas des décolorations et des déformations.
25. Le système d'écran à plasma pèse environ 31,8 kg dans le cas du modele PDP-506PE et environ 25,8 kg dans le cas du modele PDP-436PE. En raison de sa faible profondeur, cet appeareil est instable et doit être déballé, transporte et installé par au moins deux personnes et en faisant usage des poignées prévues à cet effet.
Précautions d'installation
Observe les précautions suivantes si vous effectuez une installation mettant en œuvre des accessoires tels que le support en option.
Si vous utilisez le support, les équcherres ou les accessoires en option
- Demandez au revendeur d'effectuer l'installation.
- Servez-vous des boulons fournis.
Pour de plus amples détails concernant cette question, reportez-vous au mode d'emploi qui accompagne le support en option (ou les accessoires équivalents).
Si vous utilisez d'autres accessoires
- Consultez le revendeur.
- Les 6 perçages de fixation suivants peuvent être utilisés pour l'installation:



DANGER
Veillez autiliser au moins 4 perçages de fixation symétriquement par rapport aux lignes centrales verticale et horizontale.
- Utilisez des vis M8 qui pénétre de 12 à 18 mm dans la surface de pose de l'écran plasma. Consultez la vue de côte ci-dessus.
Veillez a ne pas obstruer les évets d'aération qui se trouvent à l'arrière de l'écran plasma.
- L'écran plasma doit être installé sur une surface plane car il compte un verre.
- Les perçages autres que ceux mentionnés ci-dessus sont uniquement destinés à des produits spécifique. Ne les utilisez pas pour effectuer le montage d'appareils non spécifique.
- Ne montez pas l'écran plasma sur le support quand les enceintes sont fixées à l'écran; cette consigne vaut pareillement pour la dépose.

REMARQUE
- Nous ne saurions trop vous conseiller d'utiliser les accessoires PIONEER de fixation.
PIONEER ne saurait etre tenue responsable des blessures ou dommages matériels qui resulteraient de l'utilisation d'accessoires de fixation autres que leurs concus et fabriqués par PIONEER.
Écran plasma
| Cordon d'alimentation (2 m) |
| (Pour l'Europe à l'exception de l'Eire et du Royaume-Uni) | (Pour l'Eire et le Royaume-Uni) | Chiffon de nettoyage |
| Seul le cordon d'alimentation convenant pour le pays ou la région de distribution, est fourni. |
| Collier rapide x 3 | Collier à ceil x 3 | Collier pour cable | Carte de garantie | Noyau de ferrite |
Récepteur Média
| Cordon d'alimentation (2 m) | Boîtier de télécommande |
| (Pour l'Europe à l'exception de l'Eire et du Royaume-Uni) | (Pour l'Eire et le Royaume-Uni) |
| Seul le cordon d'alimentation convenant pour le pays ou la région de distribution, est fourni. |
| Pile AA x 2 | Câble système (3 m) | Deux modes d'emploi |

REMARQUE
- Utilisé respectivement le cordon d'alimentation fourni avec l'écran plasma et celui fourni avec le récepteur Média.
Écran plasma
Vuede face

1 Touche POWER
2 Témoin STANDBY
3 Témoin POWER ON
4 Capteur de télécommande

Vue de dos
5 Prises pour les enceintes (gauche/droite)
6 Prise SYSTEM CABLE (BLACK)
7 Prise SYSTEM CABLE (WHITE)
8 Prise AC IN
Récepteur Média

Vue de face
1 Témoin POWER ON
6 Touches CHANNEL +/-
2 Témoin STANDBY
7 Prise INPUT 4 (S-VIDEO)
3 Touche STANDBY/ON
8 Prise INPUT 4 (VIDEO)
4 Touche INPUT
9 Prises INPUT 4 (AUDIO)
5 Touches VOLUME +/-

Vue de dos
1 Prise d'entrée ANT (Antenne)
2 Prise RS-232C
/utilisée pour la mise au point usine)
3 Sélecteur d'entrée/sorting link.A
4 Prise INPUT 1 (SCART)
5 Prise INPUT 2 (SCART)
6 Prise INPUT 3 (SCART)
7 Prises INPUT 2
(COMPONENTVIDEO:Y, PB, PR)
8 Prises AUDIO OUTPUT
9 Prise INPUT 3 (HDMI)
10 Prise SYSTEM CABLE (BLACK)
11 Prise SYSTEM CABLE (WHITE)
12 Prise AC IN
Boîtier de télécommande


REMARQUE
- Pour utiliser le boîtier de télécommande, dirigez-le vers l'écran plasma.
1 ()
Met l'écran à plasma sous tension ou le met en mode veille.
2 INPUT
Cette touche sélectionne une source d'entrée de l'écran plasma. (ENTRÉE 1, ENTRéÉ 2, ENTRéÉ 3, ENTRéÉ 4)
3 0-9
En mode téléviseur/entree exterieure: elles selectionnent un canal.
En mode TELETEXT: elles scélectionnent une page.
4 i+
Cette touche affiche les informations sur le canal.
En mode téléviseur/entree exterieure: elles selectionnent un canal.

En mode TELETEXT: elles selectionnent une page.
6 I-II
Cette touche sélectionne le multiplexage dessons.
7 RETURN
Cette touche rétablit la page de menu précédente.
8 / / /
Cette commande seLECTIONne un paramètre d'une page de réglage.
ENTER
Cette touche exécute une commande.
9 Touches de couleur (ROUGE, VERT, JAUNE, BLEU)
En mode TELETEXT: elles selectionnent une page.
10
Permet de sauter à la page de sous-titres télétexte.
11 ?
Elle affiche les caractères masqués.
12
En mode téléviseur/entree exterieure: elle selectionne le format d'écran.

En mode TELETEXT: elle seLECTIONne les images télétexte. (totalité de l'écran, moitié supérieure, moitié inférieure)
13
En mode téléviseur/entree exterieure: cette touche gèle une image animée. Appuyez une nouvelle fois sur cette touche pour annuler.

En mode TELETEXT: elle arrête la mise à jour des pages télétexte. Appuyez une nouvelle fois sur cette touche pour supprimer le maintien.
14 +/ -
Ces touches reglent le niveau de sortie.
15 呱
Cette touche coupe lessons.
16 HOME MENU
En mode téléviseur/entrée extérieure: elle affiche la page de menu.
17
Cette touche sélectionne le mode TELETEXT.
(image télévisée seule, image TEXT seule, images télévisée et TEXT)
18 i
En mode TELETEXT: elle affiche une page d'index pour le format CEEFAX/FLOF. Elle affiche une page d'éléments généraux pour TOP.
Installation de l'écran plasma

Emplacement
- Evitez que l'écran ne soit exposé à la lumière directe du soleil. Veillez à ce qu'il soit convenablement ventilé.
- La longueur du cable système assurant la connexion entre l'écran plasma et le récepteur Média est de l'ordre de 3 m.
- Le poids de l'écran plasma étant élevé, faites-vous aider si vous devez le déplacer.

DANGER
- Si vous posez quoi que ce soit sur le Récepteur Média, il ne sera pas suffisamment ventilé et ne fonctionnera pas correctement.

REMARQUE
- Ménagez un espace suffisant au-dessus et à l'arrière pour garantir une ventilation adequate de l'arrière de l'unité.
Utilisation du support PIONEER en option
- Pour les détails concernant l'installation, reportez-vous au mode d'emploi fourni avec le support.
Utilisation des enceintes PIONEER en option
- Pour les détails concernant l'installation, reportez-vous au mode d'emploi fourni avec les enceintes.

DANGER
Milieu de fonctionnement
Température et humidité du milieu de fonctionnement : De +0 à +40°C ; Humidité relative inférieure à 85% (orifices de ventilation non obstrués) N'installez pas l'appareil dans un endroit mal ventilé ou un lieu soumis à une forte humidité ou en plein soleil (ou à une forte lumière artificielle).
Installation du récepteur Média Écran plasma


DANGER
- Ne posez:aún appareil, pas@meme un magnétoscope, sur le dessus du récepteur Média.
- Ménagez suffisamment d'espace sur les côtés et au-dessus du récepteur Média.
- N'obstruez ni l'ouverture de ventilation latérale ni l'ouverture d'échévement arrêté du Récepteur Média.



DANGER
L'installation du Récepteur Média seul en position vertical peut donner lieu à un endommagement et à un mauvais fonctionnement du produit.

Pour empêcher l'écran à plasma de se renverser
Après avoir installé le support, veiliez à prendre toutes les précautions nécessaires pour empêcher l'écran à plasma de se renverser.
Fixation sur une table ou au sol
A l'aide de vis disponibles dans le commerce, fixez l'écran à plasma comme montré sur l'illustration.

REMARQUE
Pour fixer l'écran à plasma sur une table ou au sol, utilisez des vis d'un diamètre nominal de 6 mm et d'au moins 20 mm de longueur.


DANGER
Une table ou une zone du sol d'une résistance suffisante doit toujours être utilisée pour soutenir l'écran à plasma. Le non respect de cette consigne peut donner lieu à un accident corporel et à un endommagement physique.
Lors de l'installation de l'écran à plasma, veuillez prendre les mesures de sécurité nécessaires pour l'empêcher de tomber ou de se renverser en cas d'urgence, tel que tremblement de terre ou accident.
Si vous ne prenez pas ces précautions, l'écran à plasma risque de tomber ou de se renverser et de causeurs des blessures.
Les vis, crochets, chaînes et autres ferrures que vous utilisez pour fixer l'écran à plasma pour l'empêcher de se renverser différeront suivant la composition et l'épaisseur de la surface sur laquelle il sera fixé.
Démissionnez les vis, crochets, chaînes et autres ferrures qui conviennent après avoir contrôle la surface attentivement pour déterminer son épaisseur et sa composition et après avoir consulté un installerateur professionnel si nécessaire.
Fixation à un mur
- Fixez des boulons (crochets) de sécurité à l'écran à plasma.
-
Utilisez de robustes cables ou chaînes pour le fixer correctement et solidement à un mur, un pilier ou tout autre élément solide.
-
Effectuez cette opération de la même façon sur les côts gauche et droit.

REMARQUE
Utilisez des crochets, câbles, chaînes et ferrures disponibles dans le commerce.
Crochets recommendés : diamètre nominal de 8 mm, longueur de 12 à 15 mm

Raccordement du cable système
Raccordement du cable système à l'écran plasma
Écran plasma (vue de dos)

Cheminement des câbles
Des colliers rapides et des colliers à œil sont fournis avec le système pour permettre la mise en faisceau des câbles. Àpès avoir constitué les faisceaux de câbles, procédez comme il est dit ci-dessous pour les faire cheminer.

Si les enceintes sont montées de chaque côté
(vuede dos)
Fixation des colliers rapides à l'appareil
Fixez les colliers rapides dans les 2 perçages repérés par la flèche ↑ sur l'illustration ci-dessous; cela, en fonction du cheminement prévu pour les câbles.

Pose et dépose des colliers rapides
Introduisez la partie [1] dans le perçage convenable, à l'arrière de l'écran à plasma, puis engagez la partie [2] dans la partie [1] pour assurer la fermeture du collier.
Les colliers rapides sont conçus pour être difficiles à déposer une fois qu'ils sont en place et fermés. Effectuez leur pose avec soin.
Utilisez une paire de pince pour tourner le collier de 90^ puis tirez vers l'extérieur. Le collier peut se déterminer avec le temps et être endommagé au cours de sa dépose.


Si les enceintes sont installées en partie basse (PDP-436 FDE uniquement)

REMARQUE
En vous servant des attaches pour les câbles fournies avec le support, rassembliez les câbles du système et des enceintes de manière qu'ils soient invisibles de l'avant. En procédant à cette opération, voirlez à n'appliquer aucune traction sur la partie connectée des câbles.
Préparation du boîtier de télécommande
Mise en place des piles
1 Ouvrez le couvercle du logement des piles.

2 Mettez les deux piles AA fournies en place en introduisant d'abord le cotoé portant la borne négative (-).

- Positionné les piles de manière à respecter les polarités (+) et (-) gravées dans le logement.
3 Fermez le couvercle du logement des piles.

L'utilisation incorrecte des piles peut entrainer la fuite de l'électrolyte, voir leur explosion. Respectez les instructions qui suivent.
- Quand vous remplacez les piles, utilisez des piles au mangané ou des piles alcalines.
- Positionné les piles de manière à respecter les polarités (+) et (-) indiquées.
- N'utilise pas, en même temps, des piles de type différent. Si les types diffèrent, il en est de même des caractéristiques.
- N'utilisez pas tout à la fois une pile neue et une pile usagée. Utiliser conjointement une pile neue et une pile usagée peut se traduire par une réduction de la durée de vie de la pile neue, ou une fuite de l'électrolyte de la pile usagée.
- Retireez les piles dés qu'elles sont usages. L'électrolyte provenant d'une pile peut provoquer des démangeaisons. En cas de fuite de l'électrolyte, nettoyez soigneusement le logement des piles avec un chiffon.
- Les piles fournies avec cet apparéil peuvent avoir une durée de service plus courte que prévue du fait des conditions de stockage.
- Retirez les piles si vous envisagez de ne pas faire usage du boîtier de télécommande pendant longtemps.

DANGER
- POUR LA MISE AU REBUT DES PILES, VEUILLEZ VOUS CONFORMER AUX REGLEMENTS LOCAUX OU AUX INSTRUCTIONS RELATIVES A L'ENVIRONNEMENT APPLICABLES DANS VOTRE PAYS OU VOTRE RÉGION.
Portée du boîtier de télécommande
Agissez sur le boitant de télécommande en le dirigeant vers le capteur (SR) qui est placé à la partie inférieure droite de l'écran à plasma. La distance du boitant au capteur doit être inférieure à 7 mètres et l'angle du faisceau avec la face de l'écran doit être à 30 degrés,quelle que soit la position du boitant dans l'espace.

Précautions relatives au boîtier de télécommande
- Ne heurtez pas le boîtier de télécommande. Par ailleurs, n'explosez pas le boîtier de télécommande à des liquides et ne le conservez pas dans une atmôsphère très humide.
- Ne conservez pas le boîtier de télécommande dans la lumière directe du soleil. La chaleur peut provoquer une déformation du boîtier.
- Le boîtier de télécommande peut être sans effet si le capteur de télécommande de l'écran plasma est éclairé par le soleil ou une vivie lumière. Le cas échéant, changez l'orientation de l'éclairage ou de l'écran à plasma, ou approchez le boîtier de télécommande du capteur.
- Si un obstacle se trouve place entre le boîtier et le capteur de télécommande, l'action à distance de la télécommande peut être impossible.
- Lorsque les piles sont usages, la portée du boitier de télécommande peut être sensiblement réduite. En ce cas, remplacez les piles du boitier par des piles neuves.
- Le panneau de l'écran plasma émet un très faible rayonnement infrarouge. Si vous placez à proximité de l'écran un apparéil commandé à distance par des signaux infrarouges, par exemple un magnétoscope, la réception des signaux émis par le boîtier de télécommande de l'appareil peut être perturbée. En ce cas, éloignez l' apparéil de l'écran plasma.
- En fonction des caractéristiques de l'installation, les signaux infrarouges rayonnés par le panneau de l'écran plasma peuvent interdire la réception convenable des ordres émis par le boîtier de télécommande, ou bien vous obliger à faire usage du boîtier à plus courte distance du capteur de télécommande. La puissance du rayonnement infrarouge émis par le panneau dépend des caractéristiques de l'image affichée.
Raccordements de base
Raccordement à l'antenne
Pour bénéficier d'une image de toute valeur qualite, utilisez une antenne exterieure. Voici de brves explications sur le raccordement d'un cable coaxial.

Câble d'antenne (disponible dans le commerce)

Si l'antenne extérieure est équipée d'un cable coaxial de 75 ohms muni d'une fiche DIN45325 (IEC169-2), branche cette fiche sur la prise d'antenne qui se trouve à l'arrière du récepteur Média.
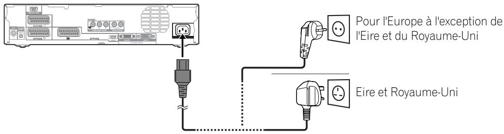
Raccordement du cordon d'alimentation
Écran plasma (vue de dos)

Fixation du noyau de ferrite
Pour éviter les parasites, fixez le noyau de ferrite fourni au côté connecteur du cordon d'alimentation comme montré. Utilisez le collier pour cable fourni pour empêcher le noyau de ferrite de glisser sur le cordon.

Récepteur Média (vue de dos)


REMARQUE
- Débranche le cordon d'alimentation au niveau de la prise secteur et des prises de l'écran plasma et du récepteur Média si vous envisagez de ne pas utiliser le système pendant une longue période.
Vous ne pouvez effectuer la symtonisation sur un canal que si vous avez préalablement régle le téléviseur sur ce canal. La manière de procéder pour cela est donnée au paragraphe "Réglage automatique des canaux de télévision", page 27.
Mise sous / hors tension

REMARQUE
- Quand le Récepteur Média est branché à une prise de courant, il est mis en mode veille; le témoin STANDBY situé sur sa face avant doit clignoter en rouge. Le Récepteur Média reste en mode veille tant qu'il n'est pas débranché de la prise de courant.
Pourmettrelesystemesous tension,appuyezsur POWERde I'ecrana plasma.
- Les témoins POWER ON de l'écran à plasma et du Récepteur Média s'allument en bleu.
Pourmettrelesysteme hors tension,appuyez surdu boftier detelecommande ou surSTANDBY/ON duRecepteur Media.
L'écran à plasma et le Récepteur Média sont mis en mode veille; leurs témoin sTANDBY/ON s'allument en rouge.
- Vous pouvez ensuite remettre le système sous tension en appuyant sur ① ou sur 0 à 9 du boîtier de télécommande ou sur STANDBY/ON du Récepteur Média. Si vous appuyez sur 0 du boîtier de télécommande, les images viennent de la source ENTREE 1. Si vous appuyez sur 1 à 9, les images de télévision sont affichées.
Vous pouvez aussi appuyer sur POWER de l'écran à plasma pourmettre le système hors tension. Toutefois, vous ne pourrez pas ensuite remetre le système sous tension en appuyant sur les touches du boîtier de télécommande et du Récepteur Média.

REMARQUE
- Si vous envisagez de ne pas utiliser le système d'écran à plasma pendant une longue période, veillez à débrancher le cordon d'alimentation de la prise de courant.
- Lorsque le système est en veille, il n'est plus que partiellement alimenté et son fonctionnement est très restreint. Seule une petite quantité d'électricité est consommée pour que le système demeure prét.

Écran plasma

Récepteur Média

Témoins d' état de l'écran plasma et du récepteur Média
Le tableau ci-dessous indique l'objet de fonctionnement du système d'écran à plasma. Vous pouze contrôler l'objet actuel du système avec les témoinés de l'écran à plasma et du Récepteur Média.
| État des t'émoins | État du système |
| Écran plasma | Récepteur Média | |
| EN SERVICE | EN VEILLE | EN SERVICE | EN VEILLE |
| ● | ● | ● | ● | Les cordons d'alimentation de l'écran à plasma et du Récepteur Média ont été débranchés. Ou bien, le cordon d'alimentation de l'écran à plasma a été branché mais la touche POWER de l'écran à plasma est sur la position de repos. |
| ● | ● | ● | ● | Le système est en service. |
| ● | ● | ● | ● | Le système est en veille. |
| ● | ●Clignote | ● | ● | Le cordon d'alimentation du Récepteur Média a été débranché. |
| ● | ● | ● | ●Clignote | L'écran à plasma est hors tension. Ou bien le cordon d'alimentation de l'écran à plasma a été débranché. |

Récepteur Média (vue de face)


Page affichée
Sélection des canaux
Utilisation des touches P +/P -du boîtier de télécommande
- Appuyez sur P+ pour augmenter le numero du canal.
- Appuyez sur P - pour diminuer le numéro du canal.
Au cours de l'affichage d'informations télétexte:
- Appuyez sur P+ pour augmenter le numéro de la page.
- Appuyez sur P - pour diminuer le nombre de la page.
Pour le télétexte, voir "Utilisation des fonctions télétexte", pages 44 et 45.

REMARQUE
- CHANNEL +/- du Récepteur Média agissant de la même manière que P +/-P-.
- P + / P - ne peuvent pas selectionner des canaux qui sont régles pour être sautés. Pour le saut de canaux, voir les étapes 13 et 14 de la partie "Utilisation du Réglage manuel" (page 28).
Utilisation des touches 0 - 9 du boîtier de télécommande
Vou puez selectionner directement un canal en appuyant sur les touches 0 à 9.
EXAMPLE
- Pour sélectionner le canal 2 (canal à 1 chiffre), appuyez sur 2.
- Pour sélectionner le canal 12 (canal à 2 chiffres), appuyez sur 1 puis 2.
Au cours de l'affichage d'informations télétexte:
Vouavesaccedirectaunepagedontle numeroà3 chiffres estcomprésentre100et899,gracéaux touches0à9.
Reportez-vous à la page 44.

REMARQUE
- En mode Veille, quand vous appuyez sur 0, le système est mis sous tension et les images viennent de la source ENTREE 1. Ou bien, quand vous appuyez sur une des touches 1 à 9, les images de télévision sont affichées.
Accord sur vos canaux favors
Si vous avez enregistré vos canaux favoris, la sélection à partir de la liste enregistrée peut être la façon la plus simple pour accorder sur ces canaux.

REMARQUE
- Vous pouvez enregistrer jusqu'à 16 canaux comme favors. Pour l'enregistrement, voir les étapes 13 et 14 de la partie "Utilisation de Réglage manuel" (page 28).
1 Tout en regardant les émissions, appuyez sur ENTER pour appeler la liste de canaux Favoris.

2 Sélectionnez un canal favori à symponiser (▲/↓, ↓/→puis ENTER).
- Appuyez sur RETURN pour quitter la liste de canaux favoris.
Modification du niveau sonore
Utilisation des touches +/ - du boîtier de télécommande
- Pour augmenter le niveau sonore, appuyez sur + .
- Pour diminuier le niveau sonore, appuyez sur -

REMARQUE
VOLUME + / - du Recesseur Media agissant de la meme maniere que + / -
Utilisation de la touche du boitier de télécommande
La touche 品 Coupe lessons.
1 Appuyez sur.
- Le symbole apparaît sur l'écran.
2 Appuyez une nouvelle fois sur ※ pour rétablier lessons.
- Une pression sur + rétablit également lessons.

Récepteur Média (vue de face)


Réglage du niveau sonore

Silencieux
Utilisation de la touche I-Ⅱ du boitier de télécommande

Chaque pression sur la touche I-III, provoque l'adoption d'un type de sons donné.

| Réglage |
| I | II | MONO |
| Émissions NICAM | Stéréo-phoniques | 1AAA NICAM STEREO 10:00 | 1AAA NICAM STEREO 10:00 | 1AAA MONO 10:00 |
| Bilingues | 2BBB NICAM I 10:00 | 2BBB NICAM II 10:00 | 2BBB MONO 10:00 |
| Mono-phoniques | 3CCC NICAM MONO 10:00 | 3CCC NICAM MONO 10:00 | 3CCC MONO 10:00 |
| Émissions A2 | Stéréo-phoniques | 4DDD STEREO 10:00 | 4DDD STEREO 10:00 | 4DDD MONO 10:00 |
| Bilingues | 5EEE DUAL I 10:00 | 5EEE DUAL II 10:00 | 5EEE MONO 10:00 |
| Mono-phoniques | 6FFF MONO 10:00 | 6FFF MONO 10:00 | 6FFF MONO 10:00 |

REMARQUE
- Une indication est affichée sur l'écran correspondant à chaque mode sonore multiplex sélectionné au moyen de la touche I-III, et cela en fonction du signal télévisé reçu.
- Àpres sélection du mode MONO, lessons émis par l'écran plasma demeurent monophoniques même si l'émission reçue est en stéréophonie. Pour rétablit la stéréophonie, vous devez revenir manuellement aux modes I ou II.
- La sélection d'un mode sonore multiplex ne change pas le type des sons dans le cas où la source est INPUT 1 à 4. En effet, la nature des sons est alors définie par la source video.
Geld'une image
Utilisez la méthode suivante pour saisir et geler une image parmi les images animées que vous regardez.
1 Appuyez sur
- Une image fixe apparait sur la partie droite de l'écran tandis qu'une image animée occupe la partie gauche.
2 Appuyez une nouvelle fois sur pour annuler.



REMARQUE
- Lorsque le gel n'est pas possible un message d'advertissement apparait.
Utilisation du menu
| Home Menu | Paramètre | Page |
| Image | Sélection AV | 30 |
| Contraste | 31 |
| Luminos. | 31 |
| Couleur | 31 |
| Teinte | 31 |
| Netteté | 31 |
| Réglage pro. | 31 |
| Réinitial. | 31 |
| Son | Aigus | 34 |
| Graves | 34 |
| Balance | 34 |
| Réinitial. | 34 |
| FOCUS | 34 |
| Surround avant | 34 |
| Commande alimentation | Économie d'énergie | 35 |
| Pas de signal arrêt | 35 |
| Pas d'opération arrêt | 35 |
| Minut. Extinction | — | 38 |
| Options | Position | 36 |
| Taille auto | 37 |
| Mode 4:3 | 38 |
| Cache latéral | 38 |
| Entrée HDMI | 41 |
| Sélection mode | 36 |
| Système couleur | 36 |
| Sélection entrée | 36 |
| Installation | Autoinstallation | 27 |
| Install. TV analogue | 27-29 |
| Mot de passer | 38,39 |
| Langue | 30 |
Voici une presentation des procédures types pour le réglage des menus. Pour connaître chaque procédure, reportez-vous aux pages appropriées décrivant individuellement ces fonctions.

1 Appuyez sur HOME MENU.
2 Utilisez / pour selectionner un paramètre du menu puis appuyez sur ENTER.
3 Répétez l'opération 2 jusqu'à ce que vous accédiez au paramètre du sous-menù désiéré.
- Le nombre de couches du menu varie selon les paramètres du menu.
4 Utilisez / pour selectionner une option (ou un paramètre) puis appuyez sur ENTER.
- Pour certains paramètres du menu, utilisez / au lieu de / .
5 Appuyez sur HOME MENU pour quitter le menu.

REMARQUE
- Vous pouvez revenir au menu de niveau supérieur en appuyant sur RETURN.
Réglage automatique des canaux de télévision
Cette section traite de la manière de détecter automatiquement les canaux de télévision puis d'effectuer leur réglage.
Utilisation d'Autoinstallation
Lorsque le système d'écran plasma est mis en service pour la première fois après son acquisition, l'auto-installation initiale débute. Vous avez alors le moyen de désirir la langue et le pays et de régler les canaux par une suite d'opérations successives.
1 Sélectionnez "Langue" ( / ) .
2 Sélectionnez une langue ( / ) .

- Vous pouvez faire la sélection parmi 14 langues; Anglais, Allemand, Français, Italien, Espagnol, Néerlandais, Suédois, Portugais, Grec, Finnois, Russe, Turc, Norvégien et Danois.
3 Sélectionnez "Pays" ( / ) .
4 Sélectionné le pays (↓/→).
5 Sélectionnez "Début" (▲/↓ puis ENTER).
- L'auto-installation démarre d'elle-même.
- Pour abandonner l'auto-installation en cours, appuyez sur RETURN.

REMARQUE
- Vous pouvez demarrer l'auto-installation à partir du menu Home, par exemple après avoir choisi un autre pays. Procedez aux opérations ① à ③ qui suivant avant de lancer l'auto-installation.
① Appuyez sur HOME MENU.
② Sélectionnez "Installation" (▲/▼ puis ENTER).
③ Sélectionnez "Autoinstallation" (▲/▼ puis ENTER).
-
La page de saisie du mot de passer s'affiche. Tapez un mot de passer à 4 chiffres en vous servant des touches 0 à 9.
-
Sieldom n'est detecté, vérifie le raccordement à l'antenne puis recommencez l'auto-installation.
Réglage manuel des canaux de télévision
Cette section déscrit comment régler les canaux de télévision manuellement.
Utilisation de Réglage manuel
Utilisez Réglage manuel pour régler les canaux de télévision manuellement.
1 Appuyez sur HOME MENU.
2 Sélectionnez "Installation" (▲/↓ puis ENTER).
3 Sélectionnez "Install. TV analogue" (▲/▼ puis ENTER).
- La page de saisie du mot de passer s'affiche. Tapez un mot de passer à 4 chiffres en vous servant des touches 0 à 9. Pour le mot de passer, voir "Utilisation d'un mot de passer", page 38.
4 Sélectionnez "Réglage manuel" (▲/↓ puis ENTER).
5 Sélectionnez "Entrer programme" (↑/↓).

6 Sélectionnez un numéro de programme (←/→).
- Vous avez le choix entre 1 et 99.
7 Sélectionnez "Recherche" (↑/↓).
8 Tapez la fréquence en vous servant des touches 0 à 9 et ENTER.
- Vous pouvez aussi utiliser / pour afficher la fréquence.

9 Sélectionnez "Système" (▲/▲).
10 Sélectionnéz un système sonore ( / ) .
- Vous pouvez désir parmi les systèmes suivants "B/G", "D/K", "I", "L" et "L".

11 Sélectionnez "Système couleur" (↑/↓).
12 Sélectionnez un système couleur ( / ) .
- Vous pouvez désir parmi les standards suivants "Auto", "PAL", "SECAM" et "4.43NTSC".

13 Sélectionnez "Mémoriser" (↑/↓).
14 Sélectionnez "Oui", "Oui (Listé)" ou "Non" ( / ) .

| Item | Description |
| Oui | You've chez la possibilité deCHOISIR les canaux au moyen de P+/P-. |
| Oui (Listé) | Sélectionné cette option pour enregistrER le canal comme canal favori.
Vous ave la possibilité deCHOISIR les canaux au moyen de la liste de canaux favoris et P+/P-. |
| Non | Vous n'avez pas la possibilité deCHOISIR les canaux au moyen de P+/P-. |
- Pour régler un autre canal, repêze les opérations 6 à 14.
15 Appuyez sur HOME MENU pour quitter le menu.

REMARQUE
- La méthode ci-dessus transfère et applique à l'appareil d'enregistrement (par exemple, magnétoscope ou graveur de DVD), les informations relatives au canal sélectionné.
- Réglage manuel vous permet également d'acceder aux fonctions "Réduction de bruit symponisseur", "Verrouillage enfants" et "Décodeur". Reportez-vous aux parties "Réduction du bruit video", "Définition de verrouillage enfants" et " Sélection d'une entrée décodeur".
Réduction de bruit video
Pour chaque canal, vous pouvez spécifique si le système d'écran à plasma doit réduire le bruit video suivant les niveaux des signaux émis.
1 Procedez aux opérations 1 à 6 de "Utilisation de Réglage manuel".
- Àprous avoir sélectionné un canal (grace à Entrer programme), effectuez les opérations suivantes.
2 Sélectionnez "Syntoniseur RB" (/) .
3 Sélectionnez "Marche" ou "Arrêt" (←/→).

4 Appuyez sur HOME MENU pour quitter le menu.

REMARQUE
- Suivant les signaux émis, cette fonction risque de ne pas donner de résultat satisfaisant.
- Lors de l'utilisation avec selection de la prise d'entrée d'un décodeur, cette fonction risque de ne pas donner de résultat satisfaisant.
Définition de Verrouillage enfants
Verrouil. Enfants interd it l'accord sur les canaux de télévision qui ont ete specifiement marqués pour cela.
1 Procedez aux opérations 1 à 6 de "Utilisation de Réglage manuel".
Après avoir sélectionné un canal (grace à Entrer programme), effectuez les opérations suivantes.
2 Sélectionnez "Verrouil. Enfants" (↑/↓).
3 Sélectionnez "Bloquer" ( / ) .

- Lechoix est "Visionner" ou "Bloquer".
4 Appuyez sur HOME MENU pour quitter le menu.
Sélection d'uneentrée décodeur
Si un décodeur est relié à l'appareil, Sélectionnez la prise d'entrée de ce décodeur (ENTRÉE1).
1 Procedez aux opérations 1 à 6 de "Utilisation de Réglage manuel".
Après avoir sélectionné un canal (grâce à Entrer programme), effectuez les opérations suivantes.
2 Sélectionnez "Décodeur" (▲/▲).
3 Sélectionnez "ENTRÉE1" (←/→).

4 Appuyez sur HOME MENU pour quitter le menu.

REMARQUE
- Si vous avez sélectionné "Arrêt" (valeur par défaut), il n'est pas possible d'afficher les images provenant du décodeur.
Étiquetage des canaux de télévision
Vous avez la possibilité d'attribuier un nom ne compteant pas plus de 5 caractères à chaque canal régèle. Cette façon de procéder facilitite l'identification des canaux au cours de leur sélection.
1 Appuyez sur HOME MENU.
2 Sélectionnez "Installation" (↑/↓ puis ENTER).
3 Sélectionnez "Install. TV analogue" (▲/↓ puis ENTER).
- La page de saisie du mot de passer s'affiche. Tapez un mot de passer à 4 chiffres en vous servant des touches 0 à 9.
4 Sélectionnez "Étiquette" (▲/↓ puis ENTER).
5 Sélectionnez "Entrer programme" ( / ) .
6 Sélectionnez un numéro de programme (←/→).
- Vous avez le choix entre 1 et 99.

7 Sélectionnez "Étiquette" (▲/↓ puis ENTER).
- La page de saisie du nom s'affiche.
8 Sélectionnez le premier caractère ( / , / puis ENTER).

- Le curseur occupe alors l'emplacement du deuxième caractère.
9 Répétez l'opération 8 pour taper les autres caractères (maximum 5).
- Pour corriger un caractère tape, Sélectionnez, sur l'écran, [←] ou [→] puis appuyez sur ENTER. Le curseur se place sur le caractère qui précède ou sur celui qui suit.
- Pour effacer le caractère, Sélectionnez, sur l'écran, [Delete] puis appuyez sur ENTER.
- Pour taper une espace à l'emplacement actuel, Sélectionnéz, sur l'écran, [Space] puis appuyez sur ENTER.
10 Pour valider le nom, utilisez / ou / de façon a selectionner, sur l'écran, [OK] puis appuyez sur ENTER.
11 Appuyez sur HOME MENU pour quitter le menu.

REMARQUE
- La méthode ci-dessus transfère et applique les informations relatives au canal sélectionné à l'appareil d'enregistrement connecté; tel que magnétoscope ou graveur de DVD.
Classement des canaux de télévision préréglés
Utilisez la méthode suivante pour classer les canaux de télévision préreglés dans l'ordre désiré.
1 Appuyez sur HOME MENU.
2 Sélectionnez "Installation" (▲/↓ puis ENTER).
3 Sélectionnez "Install. TV analogue" (▲/▼ puis ENTER).
- La page de saisie du mot de passer s'affiche. Tapez un mot de passer à 4 chiffres en vous servant des touches 0 à 9.
4 Sélectionnez "Arranger" (▲/↓ puis ENTER).
La page Arranger s'affiche.

5 Sélectionnéz le canal qui doit être déplace (↑/↓, ↓/→), puis ENTER).
6 Sélectionnez sa nouvelle position (▲/↓, ←/→ puis ENTER).
- Le classement est réalisé.
7 Appuyez sur HOME MENU pour quitter le menu.

REMARQUE
- Au cours de l'opération 6, pour déplacer une page sur la page Arranger,CHOISSEZ cette page au moyen de / , sur l'écran, que vous avez sélectionné grâce à / , puis appuyez sur ENTER.
- La méthode ci-dessus transfère et applique à l'appareil d'enregistrement (par exemple, magnétoscope ou graveur de DVD), les informations relatives au seul canal déplace.
Réglage de l'horloge
Utilisez la méthode suivante pour régler l'heure.
1 Appuyez sur HOME MENU.
2 Sélectionnez "Installation" (▲/↓ puis ENTER).
3 Sélectionnez "Install. TV analogue" (▲/▼ puis ENTER).
- La page de saisie du mot de passer s'affiche. Tapez un mot de passer à 4 chiffres en vous servant des touches 0 à 9.
4 Sélectionnez "Horloge" (▲/▼ puis ENTER).
5 Sélectionnez le canal de télévision qui doit servir au réglage automatique de l'horloge ( / ) .

6 Appuyez sur HOME MENU pour quitter le menu.

REMARQUE
- Si le système échoue dans le réglage de la date et de l'heure par l'intérimédiaire du canal de télévision choisi, la page d'entrée "Heure et date" s'affiche. Precisez l'heure actuelle.
- Le système obtient et affiche l'heure en ajoutant les données d'heure universelle coordonnée (UTC) et de correction d'heure locale (LTO) se trouvant dans les signaux émis. Si le système ne donne pas l'affichage d'une heures correcte, contrôle avec la station d'émission locale.
Choix de la langue
Vouvasce la possibilité deCHOISIR la langue employée pour l'affichage sur I'ecran des menus et instructions parmi 14 langues; Anglais, Allemand, Francais, Italien, Espagnol, Nederlandais, Suédois, Portugais, Grec, Finnois, Russe, Turc, Norvégien et Danois.
Pour la langue employée en mode Télétexte, vous avez la possibilité de désir parmi Europe occidentale, Europe orientale, Grèce/Turquie, Russie et Arabie.
1 Appuyez sur HOME MENU.
2 Sélectionnez "Installation" (▲/↓ puis ENTER).
3 Sélectionnez "Langue" (▲/▼ puis ENTER).
4 Sélectionnez "Menu" (/) .
5 Sélectionnez une langue ( / ) .

6 Sélectionnez "TéléTEXe" ( / ) .
7 Sélectionnez une langue ( / ) .
8 Appuyez sur HOME MENU pour quitter le menu.
Sélection AV
Vou avez le choix entre 5 options de visionnement, en fonction de l'environnement actuel (ex. luminosité de la pièce), le type d'émission regardée ou celui des images reçues de l'appareil externe.
1 Appuyez sur HOME MENU.
2 Sélectionnez "Image" (▲/↓ puis ENTER).
3 Sélectionnez "Sélection AV" (▲/↓ puis ENTER).
4 Sélectionnez l'option désirée (▲/↓ puis ENTER).

| Paramètre | Description |
| STANDARD | Pour obtenir une image très bien définie dans unepiece de luminositénormale.Cette sélection est commune à une source d'entrée externe et à l'entrée de télévision. |
| DYNAMIQUE | Pour obtenir une image très nette représentant uncontrastemaximumCe mode ne vous donne pas le moyen d'ajuster manuellement la qualité de l'image.Cette sélection est commune à une source d'entrée externe et à l'entrée de télévision. |
| CINÉMA | Pour les films.Cette sélection est commune à une source d'entrée externe et à l'entrée de télévision. |
| JEU | La luminosité de l'image est diminuée afin qu'elle soit plus agreable à regarder.Cette sélection est commune à une source d'entrée externe et à l'entrée de télévision. |
| UTILISATEUR | Ce paramètre vous donne le moyen de personneliser les réglages. Vous pouvez définir le mode pour chaque source. |
5 Appuyez sur HOME MENU pour quitter le menu.

REMARQUE
- Si vous avez sélectionné "DYNAMIQUE", vous ne pouvez pas sélectionner "Contraste", "Luminos.", "Couleur", "Teinte", "Nettete", "Réglage pro." et "Réinitial."; ces paramètres de menu sont inaccessibles.
Réglages de base de l'image
Réglez l'image selon vos préférences et en fonction de l'options Sélection AV (sauf DYNAMIQUE) retenue.
1 Appuyez sur HOME MENU.
2 Sélectionnez "Image" (▲/↓ puis ENTER).
3 Sélectionnéz le paramètre à définir (/ puis ENTER).

4 Sélectionnéz la valeur désirée ( /)

- Lorsque la page de réglage est affichée, vous pouvez également acceder au paramètre que vous désirez modifier en utilisant / .
5 Appuyez sur HOME MENU pour quitter le menu.
| Paramètre | ← Touche | → Touche |
| Contraste | Diminution du contraste | Augmentation du contraste |
| Luminos. | Diminution de la luminosité | Augmentation de la luminosité |
| Couleur | Diminution de l'intensité des couleurs | Augmentation de l'intensité des couleurs |
| Teinte | Les teintes chair deviennent plus violettes | Les teintes chair deviennent plus vertes |
| Netteté | Diminution de la netteté | Augmentation de la netteté |

REMARQUE
- Pour effectuer les réglages avancés de l'image, Sélectionnez "Réglage pro." à l'opération 3 puis appuyez sur ENTER. Pour la suite des opérations, reportez-vous à la partie "Réglages avancés de l'image".
- Pour que les valeurs par défaut soient rétablies pour l'ensemble des paramètres, utilisez / pour sélectionner "Réinitial." au cours de l'opération 3 puis appuyez sur ENTER. Une page de confirmation s'affiche. Utilisez / pour sélectionner "Oui" puis appuyez sur ENTER.
Réglages avancés de l'image
Le système d'écran à plasma est doté de diverses fonctions avancées permettant d'optimiser la qualité de l'image. Pour les détails sur ces fonctions, consultez les tableaux.
Utilisation de PureCinema
1 Appuyez sur HOME MENU.
2 Sélectionnez "Image" (▲/↓ puis ENTER).
3 Sélectionnez "Réglage pro."(▲/↓ puis ENTER).
4 Sélectionnez "PureCinema"(▲/↓ puis ENTER).
5 Sélectionnéz le paramètre désiré (▲/▼ puis ENTER).
- Pour les paramètres sélectionnables, consultez le tableau.
PureCinema
Cette fonction déetecte automatiquement toute source de film (initiallement le codage est de 24 images/seconds), l'analyse puis recrée chaque image fixe du film pour obtenir une haute résolution.
| Sélections | Arrêt | PureCinema n'est pas actif. |
| Standard | Production d/images régulières et vivantes (spécifiques aux films) par détention automatique des informations enregistrées tandis que sont affichées des images de DVD ou à haute résolution (par exemple, films) cadencées à 24 images/s. |
| ADV | Production d/images animées régulières et de qualité (telles qu'on peut les voir dans une salle de cinéma) par conversion à 72 Hz tandis que sont affichées des images de DVD (par exemple, films) cadencées à 24 images/s. |

REMARQUE
"Standard" n'est pas seLECTIONnable quand des signaux 480p ou 720p @ 60 Hz sont entrés.
"ADV" n'est pas sélectionnable quand des signaux PAL, SECAM, 576i ou 1080i @ 50 Hz sont entrés.
- Ni "Standard" ni "ADV" n'est SéLECTIONNABLE quand des signaux 576p, 720p @ 50 Hz ou 1080p @ 24 Hz sont entrés.
Utilisation de Temp. Couleur
1 Appuyez sur HOME MENU.
2 Sélectionnez "Image" (▲/↓ puis ENTER).
3 Sélectionnez "Réglage pro." (/ puis ENTER).
4 Sélectionnez "Infos couleur" (/ puis ENTER).
5 Sélectionnez "Temp. Couleur" (▲/▼ puis ENTER).
6 Sélectionnéz le paramètre souhaïté (▲/▼ puis ENTER).
- Si vous avez sélectionné un paramètre souhaité à cette opération, sautez les opérations 7 et 8.
- Vous pouvez également exécuter une réglage fin. Pour ce faire, Sélectionnez d'abord "Manuel" puis tenez ENTER enforcée pendant plus de trois secondes. L'écran de réglage manuel apparait. Passez alors à l'opération 7.
Température de couleur
Ce paramètre règlice la température de couleur procurant ainsi uneffectivee balance des blancs.
| Sélections | Haut | Le blanc a une tonalité bleutée. |
| Moyen-Haut | La tonalité est intermédiaire entre Haut et Moyen. |
| Moyen | La tonalité est naturelle. |
| Moyen-Bas | La tonalité est intermédiaire entre Moyen et Bas. |
| Bas | La blanc a une tonalité rosée. |
| Manuel | La température de couleur peut être réglée à votre guise. |
7 Sélectionnez un élément à régler (▲/▼ puis ENTER).
8 Sélectionnez le niveau souhaïte (←/→).
| Paramètre | ← Touche | → Touche |
| R Haut | Réglage fin des parties brillantes de l'image | Le rouge est diminué | Le rouge est augmenté |
| V Haut | Le vert est diminué | Le vert est augmenté |
| B Haut | Le bleu est diminué | Le bleu est augmenté |
| R Bas | Réglage fin des parties sombres de l'image | Le rouge est diminué | Le rouge est augmenté |
| V Bas | Le vert est diminué | Le vert est augmenté |
| B Bas | Le bleu est diminué | Le bleu est augmenté |
- Pour effectuer le réglage d'un autre paramètre, appuyez sur RETURN puis repreneze les opérations 7 et 8.
- Vous pouvez utiliser / pour modifier immédiatement la valeur du paramètre en cours de réglage.
9 Appuyez sur HOME MENU pour quitter le menu.
Utilisation de CTI
1 Appuyez sur HOME MENU.
2 Sélectionnez "Image" (▲/↓ puis ENTER).
3 Sélectionnez "Réglage pro." (/ puis ENTER).
4 Sélectionnez "Infos couleur" (▲/▼ puis ENTER).
5 Sélectionné "CTI" (▲/↓ puis ENTER).
6 Sélectionnez le paramètre souhaït (↑/↓ puis ENTER).
CTI
Cette fonction permet d'obtenir des couleurs aux contours比较好.
CTI signifie Amélioration des transitions de couleurs.
| Sélections | Arrêt | CTI n'est pas actif. |
| Marche | CTI est actif. |
7 Appuyez sur HOME MENU pour quitter le menu.
Utilisation de Gestion coul.
1 Appuyez sur HOME MENU.
2 Sélectionnez "Image" (▲/↓ puis ENTER).
3 Sélectionnez "Réglage pro." (▲/▼ puis ENTER).
4 Sélectionnez "Infos couleur" (/ puis ENTER).
5 Sélectionnez "Gestion coul." (/ puis ENTER).
6 Sélectionné le paramètre à définir (▲/▼ puis ENTER).

7 Sélectionnez la valeur désirée ( / ) .
| Paramètre | Touché ↓ | Touché → |
| Rouge | Tire vers le magenta | Tire vers le jaune |
| Jaune | Tire vers le rouge | Tire vers le vert |
| Vert | Tire vers le jaune | Tire vers le cyan |
| Cyan | Tire vers le vert | Tire vers le bleu |
| Bleu | Tire vers le cyan | Tire vers le magenta |
| Magenta | Tire vers le bleu | Tire vers le rouge |
- Pour effectuer le réglage d'un autre paramètre, appuyez sur RETURN puis reprenez les opérations 6 et 7.
- Vous pouvez utiliser / pour modifier immédiatement la valeur du paramètre en cours de réglage.
8 Appuyez sur HOME MENU pour quitter le menu.
Elimination du bruit des images
1 Appuyez sur HOME MENU.
2 Sélectionnez "Image" (▲/↓ puis ENTER).
3 Sélectionnez "Réglage pro." (/ puis ENTER).
4 Sélectionnez "NR" (↑/↓ puis ENTER).
5 Sélectionnez un élément à régler (▲/▼ puis ENTER).
- Vous pouvez seLECTIONner "DNR" ou "MPEG NR".
6 Sélectionnez le paramètre souhaït (↑/↓ puis ENTER).
DNR
Cette fonction élimine le bruit video et assurera des images nettes et propres. DNR signifie Réduction du bruit numérique.
| Sélections | Arrêt | DNR n'est pas actif. |
| Haut | DNR accentuée |
| Moyen | DNR standard |
| Bas | DNR modérée |
MPEG NR
Cette fonction élimine le "feathering" ou "Mosquito Noise", bruit video que l'on note parfois lorsqu'on regarde un canal de télévision numérique ou à la lecture d'un DVD et produit des images dépourvues de bruit.
| Sélections | Arrêt | La réduction de bruit MPEG est inactive. |
| Haut | La réduction de bruit MPEG est accentuée |
| Moyen | La réduction de bruit MPEG est moyenne |
| Bas | La réduction de bruit MPEG est faible |
7 Appuyez sur HOME MENU pour quitter le menu.
Utilisation des fonctions d'expansion de gamme dynamique (DRE)
1 Appuyez sur HOME MENU.
2 Sélectionnez "Image" (▲/↓ puis ENTER).
3 Sélectionnez "Réglage pro." (/ puis ENTER).
4 Sélectionnez "DRE" (▲/↓ puis ENTER).
5 Sélectionnez un élément à régler (▲/▼ puis ENTER).
- Vous pouvez seLECTIONner "Contraste Dynamique", "Niveau du noir", "ACL" ou "Gamma".
6 Sélectionnez le paramètre souhaït (↑/↓ puis ENTER).
Contraste Dynamique
Accentue le contraste sur les images de maniere que la différence entre les parties lumineuses etsons soit plus marquee.
| Sélections | Arrêt | Le contraste dynamique est désactivé. |
| Haut | Contraste dynamique accentué |
| Moyen | Contraste dynamique standard |
| Bas | Contraste dynamique modéré |
Niveau du Noir
Accentue les parties noires des images de maniere que la différence entre les parties lumineuses etsons soit plus marquee.
| Sélections | Arrêt | Le niveau de noir est désactivé. |
| Marche | Le niveau de noir est activé. |
ACL
Effectue une correction qui donne lieu à des caractéristiques de contraste optimes pour les images.
| Sélections | Arrêt | ACL désactifcé |
| Marche | ACL activé |
Gamma
Règles caractéristiques du gamma (caracteristiques de gradation d'image).
| Sélections | 1 | Sélectionne les caractéristiques de gamma 1. |
| 2 | Sélectionne les caractéristiques de gamma 2. |
| 3 | Sélectionne les caractéristiques de gamma 3. |
7 Appuyez sur HOME MENU pour quitter le menu.
Utilisation de 3DYC et de Mode I-P
1 Appuyez sur HOME MENU.
2 Sélectionnez "Image" (▲/↓ puis ENTER).
3 Sélectionnez "Réglage pro." (/ puis ENTER).
4 Sélectionnez "Autres" (▲/↓ puis ENTER).
5 Sélectionnez un élément à régler (▲/▼ puis ENTER).
• Vous pouvez sélectionner "3DYC" ou "Mode I-P".
6 Sélectionnéz le paramètre souhaït (↑/↓ puis ENTER).
3DYC
Optimise les caractéristiques de séparation des signaux de luminance et des signaux de chrominance. Fonctionne pour les images videoe aussi bien que pour les images fixes.
| Sélections | Arrêt | 3DYC désactivé |
| Haut | 3DYC accentué |
| Moyen | 3DYC standard |
| Bas | 3DYC modéré |
Mode I-P
Effectue une conversion optimale de signaux entrelacés en signaux progressifs. Fonctionne pour les images videoe aussi bien que pour les images fixes.
| Sélections | 1 | Optimum pour les images vidéo |
| 2 | Réglage standard |
| 3 | Optimum pour les images fixes |
7 Appuyez sur HOME MENU pour quitter le menu.

REMARQUE
- Pour la fonction 3DYC, les divers paramètres sont scélectionnables seulement quand:
- Vous avez scélectionné ENTREE 1, 2 ou 3 comme source d'entrée et "Védo" comme type de signal d'entrée (page 36); ou
- Vous avez scélectionné ENTREE 4 comme source d'entrée et n'avez pas connecté de cable S-Viso; ou vous avez scélectionné le symponiseur analogique.
- Pour la fonction I-P Mode, les divers paramètres ne sont pas sélectionnables pour les signaux d'entrée suivants: 480p, 720p @ 60 Hz, 576p, 720p @ 50 Hz, 1080p @ 24 Hz.
Réglages du son
Grçé aux paramètres qui suivent, vous pouvez régler les caractéristiques dessons selon vos préférences.
Réglez le son selon vos préférences et en fonction de l'option Sélection AV retenue. Reportez-vous à la page 30.
1 Appuyez sur HOME MENU.
2 Sélectionnez "Son" (▲/↓ puis ENTER).
3 Sélectionné le paramètre à définir ( / ) .
4 Sélectionnéz la valeur désirée ( /)

| Paramètre | « Touche | « Touche |
| Aigus | Les aigus sont attenués | Les aigus sont accentués |
| Graves | Les graves sont attenués | Les graves sont accentués |
| Balance | La puissance émise par l'enceinte droite diminue. | La puissance émise par l'enceinte gauche diminue. |
5 Appuyez sur HOME MENU pour quitter le menu.

REMARQUE
- Pour que les valeurs par défaut soient rétablies pour l'ensemble des paramètres, utilisez / pour sélectionner "Réinitial." au cours de l'opération 3 puis appuyez sur ENTER. Une page de confirmation s'affiche. Utilisez / pour sélectionner "Oui" puis appuyez sur ENTER.
FOCUS
Ce paramètre déplace vers le haut le point d'ou proviennent les sons (image sonore) et produit des contours sonores très définis.
1 Appuyez sur HOME MENU.
2 Sélectionnez "Son" (▲/↓ puis ENTER).
3 Sélectionnez "FOCUS" (▲/▲).
4 Sélectionnez le paramètre désiré (←/→).

| Paramètre | Description |
| Arrêt
(valeur par défaut) | FOCUS n'est pas actif. |
| Marche | FOCUS est actif. |
5 Appuyez sur HOME MENU pour quitter le menu.

REMARQUE
L'effet de cette fonction dépend du signal.
Surround avant
Ce paramètre cree des effets sonores tridimensionnels accompagnés de graves riches et profonds.
1 Appuyez sur HOME MENU.
2 Sélectionnez "Son" (▲/↓ puis ENTER).
3 Sélectionnez "Surround avant" (▲/▼).
4 Sélectionnez le paramètre désiré (←/→).
| Paramètre | Description |
| Arrêt | Les fonctions SRS et TruBass sont toutes deux inactives. |
| SRS | Cette fonction produit des sons tridimensionnels très efficaces. |
| TruBass (valeur par défaut) | Cette fonction produit des graves riches et profonds grâce à l'apport d'une nouvelle technique. |
| TruBass + SRS | En ce cas, TruBass et SRS conjuguent leurs effets. |
5 Appuyez sur HOME MENU pour quitter le menu.

REMARQUE
- SRS (WOW) fait reférence à une situation pour laquelle la fonction FOCUS est active et l'ensemble TruBass + SRS adopté pour Surroundant.
- SRS(0) est une marque de SRS Labs, Inc.
- La technologie WOW est incorporee sous licence de SRS Labs, Inc.
L'effet de cette fonction dépend du signal.
Commande alimentation
La gestion de l'alimentation offre différents moyens d'économiser l'énergie.
Economie d'énergie
Vous pouvez utiliser une des trois modes d'économie d'énergie pour réduire la puissance absorbée.
1 Appuyez sur HOME MENU.
2 Sélectionnez "Commande alimentation" (▲/▼ puis ENTER).
3 Sélectionnez "Économie d'énergie" (▲/↓ puis ENTER).
4 Sélectionnez "Économie 1", "Économie 2" ou "Arrêt Image" (▲/▼ puis ENTER)
| Paramètre | Description |
| Standard | Ne diminue pas la luminosité de l'image. |
| Économie 1 | Réduit légèrement la puissance absorbée tout en diminuant légèrement la luminosité de l'image. |
| Économie 2 | Diminue la luminosité de l'image et réduit la puissance absorbée. |
| Arrêt Image | Désactive l'écran pour économiser l'énergie. Pour rétablit l'affichage de l'écran, appuyez sur n'importe queelle touche sauf +/− et oX.
Ce réglage n'est pas mémorisé par le système. |
5 Appuyez sur HOME MENU pour quitter le menu.
Mise hors service en l'absence de signal
Cette fonction place le système en voille siaucun signal n'est capté pendant 15 minutes.
1 Appuyez sur HOME MENU.
2 Sélectionnez "Commande alimentation" (▲/▼ puis ENTER).
3 Sélectionnez "Pas de signal arrêt" (▲/▼ puis ENTER).
4 Sélectionnez "Activer" (▲/↓ puis ENTER).
| Paramètre | Description |
| Déactiver
(valeur par défaut) | Le système n'est pas placé en voille. |
| Activer | Le système est placé en voille siaucun signal n'est capitépendant 15 minutes. |
5 Appuyez sur HOME MENU pour quitter le menu.

REMARQUE
- Un message apparait chaque minute au cours des 5 minutes qui precedent la mise en voille du système.
- Il se peut que le système ne soit pas placé en veille si du bruit estprésent à l'entrée du récepteur Média à la fin d'une émission de télévision.
Mise hors service en l'absence d'opération
Ce paramètre place le système en veille si aucune opération n'est exécutée pendant 3 heures.
1 Appuyez sur HOME MENU.
2 Sélectionnez "Commande alimentation" (▲/▼ puis ENTER).
3 Sélectionnez "Pas d'opération arrêt" (↑/↓ puis ENTER).
4 Sélectionnez "Activer" (▲/↓ puis ENTER).
| Paramètre | Description |
| Déactiver (valeur par défaut) | Le système n'est pas placé en veille. |
| Activer | Le système est placé en veille si aucune opération n'est exécutée pendant 3 heures. |
5 Appuyez sur HOME MENU pour quitter le menu.

REMARQUE
- Un message apparait chaque minute au cours des 5 minutes qui precedent la mise en voille du système.
Sélection de la fréquence de balayage vertical
Voussoupiezoisirentre75Hzet100Hz pour la fréquence de balayage verticalde l'écran.Sélectionnélafréquence de balayage qui convient le moins aux signaux d'émission.
1 Appuyez sur HOME MENU.
2 Sélectionnez "Options" (▲/▼ puis ENTER).
3 Sélectionnez "Sélection mode" (↑/↓ puis ENTER).
4 Sélectionnez 75 Hz ou 100 Hz (↑/↓ puis ENTER).

5 Appuyez sur HOME MENU pour quitter le menu.

REMARQUE
- Ce réglage peut être fait séparément pour chaque source d'entrée.
- Ce réglage ne peut pas être fait quand des signaux 480i, 480p, 1080i @ 60 Hz, 720p @ 60 Hz ou 1080p @ 24 Hz sont entrés.
- Si vous sélectionné "Auto" pour "Masque Lateral" (page 38), la sélection pour " Sélection mode" devient inefficace.
Réglage de la position de l'image
Régléz la position horizontal et la position verticale de l'image sur l'écran plasma.
1 Appuyez sur HOME MENU.
2 Sélectionnez "Options" (▲/↓ puis ENTER).
3 Sélectionnez "Position" (▲/↓ puis ENTER).
4 Sélectionnez "Réglage de la position H/V" (▲/▼ puis ENTER).

5 Reglez la position verticale ( / ) ou la position horizontale ( / ) .
6 Appuyez sur HOME MENU pour quitter le menu.

REMARQUE
- Pour que les valeurs par défaut soient rétablies pour l'ensemble des paramètres, utilisez / pour sélectionner "Réinitial." au cours de l'opération 4 puis appuyez sur ENTER. Une page de confirmation s'affiche. Utilisez / pour sélectionner "Oui" puis appuyez sur ENTER.
- Les réglages sont conservés individuellement pour chaque source.
Choix du type de signal d'entrée
Après avoir raccordé les prises INPUT 1, INPUT 2 ou INPUT 3, indiquez le type de signal d'entrée qui sera fourni par l'appareil relié. Pour de plus amples détails concernant les types de signal, reportez-vous au mode d'emploi qui accompagne l'appareil relié.
Avant de démarrer le menu, appuyez sur INPUT 1, INPUT 2 ou INPUT 3 du boîtier de télécommande ou appuyez sur INPUT du Récepteur Média pour sélectionner une source d'entrée.
1 Appuyez sur HOME MENU.
2 Sélectionnez "Options" (▲/↓ puis ENTER).
3 Sélectionnez "Sélection entrée" (▲/↓ puis ENTER).
4 Sélectionné un type de signal (↑/↓ puis ENTER).

- Pour ENTRÉE1, vous avez le choix entre Video et RVB.
- Pour ENTRE2, vous avez lechioentre Video, S-Video et COMPOSANTE.
- Pour ENTRE3, vous pouvez selectionner Video, S-Video ou RVB.
5 Appuyez sur HOME MENU pour quitter le menu.

REMARQUE
- Si aucune image n'apparait, ou si les couleurs sont inhabituelles,CHOISSEZ un autre type de signal.
- Pour de plus amples détails concernant les types de signal, reportez-vous au mode d'emploi qui accompagne l'appareil relié.
Choix du standard couleur
Si les images ne sont pas nettes, Sélectionnez un autre standard couleur (par exemple, PAL, NTSC).
1 Appuyez sur HOME MENU.
2 Sélectionnez "Options" (▲/▼ puis ENTER).
3 Sélectionnez "Système couleur" (▲/▼ puis ENTER).
4 Sélectionnez le standard video (▲/▼ puis ENTER).

- Vous pouvez désirier parmi les standards suivants "Auto", "PAL", SECAM", "NTSC" et "4.43NTSC".
- Si vous choisissez "Auto", le standard des signaux d'entrée est automatiquement détecté.
5 Appuyez sur HOME MENU pour quitter le menu.

REMARQUE
- La valeur par défaut est "Auto".
- Vous doivent acceder au besoin du standard couleur pour chaque ENTRE1 à 4.
- Pour le choix du système couleur, reportez-vous aux opérations 11 et 12 de la partie "Utilisation de Réglage manuel" (page 28).
Appuyez sur pour passer d'un format d'écran disponible, compte tenu de la nature des signaux video reçus, à l'autre.
- Chaque pression sur la touche + provoque la selection d'un autre format.
- Les formats disponibles dépendent de la nature des signaux appliqués à l'entrée.
| Paramètre | Description |
| 4:3 | Pour afficher des images "standard" 4:3. Un cache apparaît de chaque côté. |
| PLEIN 14:9 | Pour afficher des images rétrécies 14:9. Un cache étroit apparaît de chaque côté. |
| CINÉMA 14:9 | Pour afficher des images 14:9 allongées. Un cache étroit apparaît de chaque côté et, dans certains cas, une bande peut être visible en haut et en bas de l'image. |
| LARGE | Avec ce mode, l'image est allongée jusqu'à toucher les bords de l'écran. |
| PLEIN | Pour afficher des images rétrécies 16:9. |
| ZOOM | Pour afficher des images 16:9 allongées. Dans certains cas, une bande peut être visible en haut et en bas de l'image. |
| CINÉMA | Pour afficher des images 14:9 allongées. Dans certains cas, une bande peut être visible en haut et en bas de l'image. |


REMARQUE
- Quand on regarde une émission de télévision haute définition, la pression sur la touche ◆permet la sélection parmi PLEIN, LARGE, 4:3 et ZOOM.
L'écran à plasma sélectionne automatiquement un format approprié quand les signaux reçus contiennent des informations de WSS (signalisation d'écran large) ou quand les siganaux video sont reçus d'un apparéil HDMI connecté (voir page 41). Pour activer cette fonction, procédez comme déscrit ci-dessous.
1 Appuyez sur HOME MENU.
2 Sélectionnez "Options" (▲/▼ puis ENTER).
3 Sélectionnez "Taille Auto" (/ puis ENTER).
4 Sélectionnez "Marche" (/ puis ENTER).

Parametre
Description
Arrêt
Désactive la fonction Taille Auto.
(valeur par défaut)
Marche
Active la fonction Taille Auto.
5 Appuyez sur HOME MENU pour quitter le menu.

REMARQUE
- Choisissez manuellement le format d'image convenable si la sélection automatique ne s'effectue pas correctement.
- Quand le signal video ne contient aucune information de ratio d'aspect, la fonction est inopérante même si "Marche" est sélectionné.
Sécicfiez si l'écran à plasma doit avoir le mode 4:3 ou le mode LARGE quand des signaux de ratio d'aspect 4:3 sont reçus avec la fonction Taille Auto activée.
1 Appuyez sur HOME MENU.
2 Sélectionnez "Options" (▲/▼ puis ENTER).
3 Sélectionnez "Mode 4:3" (▲/▼ puis ENTER).
4 Sélectionnez "LARGE" ou "4:3" (▲/▼ puis ENTER).

Parametre
Description
LARGE
L'image occupe tout l'écran et aucun cache l'écran n'est utilisé.
(valeur par défaut)
Le format 4:3 est conservé et le cache létal visible.
LAI

4:3

5 Appuyez sur HOME MENU pour quitter le menu.
Modification de la luminosité de chaque côte de l'écran (Cache latéral)
Avec le format d'écran 4:3, PLEIN 14:9 ou CINÉMA 14:9 sélectionné pour le mode AV, vous pouvez changer la luminosité des caches latéraux gris qui apparaissent des deux côts de l'écran.
1 Appuyez sur HOME MENU.
2 Sélectionnez "Options" (▲/↓ puis ENTER).
3 Sélectionnez "Cache létal" (▲/▼ puis ENTER).
4 Sélectionnez le paramètre désiré (↑/↓ puis ENTER).

| Paramètre | Description |
| Fixe
(valeur par défaut) | La luminosite du cache gris est toujours la même. |
| Auto | La luminosite du cache gris est en fonction de cette des images. |
5 Appuyez sur HOME MENU pour quitter le menu.

REMARQUE
- Si vous sélectionnez "Auto" la sélection pour "Sélection mode" (page 36) devient inefficace.
Minuterie de mise en veille
À l'expiration d'un certain temps, le système est automatiquement mis en veille par cette minuterie.
1 Appuyez sur HOME MENU.
2 Sélectionnez "Minut. Extinction" (▲/↓ puis ENTER).
3 Sélectionnez la durée désirée (▲/▼ puis ENTER).
- Vous avez le choix entre "Arrêt" (annuler), "30 mn", "60 mn", "90 mn" et "120 mn".
4 Appuyez sur HOME MENU pour quitter le menu (↑/↓ puis ENTER).

REMARQUE
- Le temps restant avant la mise en veille s'affiche toutes les minutes au cours des 5 dernières minutes.
- Pour connaître le temps restant, effectuez les opérations 1 et 2. ÀpRES avoir contrôle le temps, appuyez sur HOME MENU pour repasser à l'affichage précédent.
Utilisation d'un mot de passer
Le système d'écran à plasma est doté d'une fonction Verrouillage Enfants servant à empêcher les enfants de regarder certains programmes. Il vous faut alors taper un mot de passer pour que les émissions pour lesquelles la valeur "Bloquer" a été可以选择 puissant être regardees. Le mot de passer par défaut est "1234". Vous pouvez, bien évidemment, changer ce mot de passer.
Lorsque vous utilisez le menu Home pour selectionner "Autoinstallation", "Install. TV analogue" ou "Mot de passer", une page de frappe de mot de passer apparait; de la sorte, les réglages que vous avez effectués pour chaque chaîne ne peuvent pas être modifiés par quelqu'un qui ne connait pas le mot de passer.
Saisie du mot de passer
Si vous sélectionnez une chaîne interdite aux enfants ou si la frappe du mot de passer vous est demandée pour acceder à un menu, tapez le mot de passer.
1 Tapez un mot de passer à 4 chiffres en vous servant des touches 0 à 9.


REMARQUE
- Si vous tapez 3 fois un mot de passer erroné, "Code non valide." s'affiche et le menu se ferme. Pour afficher à nouveau la page de frappe de mot de passer, vous pouvez soit selectionner une chaîne interdite, soit ouvrir le menu.
- Si la page d'entrée de mot de passer disparaît avant l'entrée, vous pouvez la rappeler en appuyant sur ENTER.
Changement de mot de passage
Procedez de la maniere suivante pour changer le mot de passer.
1 Appuyez sur HOME MENU.
2 Sélectionnez "Installation" (▲/↓ puis ENTER).
3 Sélectionnez "Mot de passer" (↑/↓ puis ENTER).
- La page de saisie du mot de passer s'affiche. Tapez le mot de passer actuel à 4 chiffres en vous servant des touches 0 à 9.
4 Sélectionnez "Modif. Mot de passage" (▲/↓ puis ENTER).

5 Tapez le nouveau mot de passer à 4 chiffres en vous servant des touches 0 à 9.
6 Tapez le même mot de passer qu'a l'opération 5.
- Si vous tapez un mot de passer différé, vous étés conduit à nouveau à l'opération 5 et vous doivent reprendre à partir de là.
- Si vous tapez 3 fois un mot de passer erre, le menu se ferme.
7 Appuyez sur HOME MENU pour quitter le menu.

REMARQUE
- Notez par écrit le nouveau mot de passer et conservez-le soigneusement.
Effacement du mot de passer
1 Appuyez sur HOME MENU.
2 Sélectionnez "Installation" (▲/↓ puis ENTER).
3 Sélectionnez "Mot de passe" (▲/▼ puis ENTER).
- La page de saisie du mot de passer s'affiche. Tapez un mot de passer à 4 chiffres en vous servant des touches 0 à 9.
4 Sélectionnez "Réinitial." (▲/↓ puis ENTER).
5 Sélectionnez "Oui" (▲/↓ puis ENTER).
6 Appuyez sur HOME MENU pour quitter le menu.

REMARQUE
- La méthode ci-dessus rétablit le mot de passer par défaut (1234).
Désactivation du mot de passage
Si vous foulez désactiver la fonction de protection par entrée de mot de passer, procédez comme décrit ci-dessous.
1 Appuyez sur HOME MENU.
2 Sélectionnez "Installation" (▲/↓ puis ENTER).
3 Sélectionnez "Mot de passe" (▲/▼ puis ENTER).
- La page de saisie du mot de passer s'affiche. Tapez un mot de passer à 4 chiffres en vous servant des touches 0 à 9.
4 Sélectionnez "Réglage mot de passer" (▲/↓ puis ENTER).
5 Sélectionnez "Désactiver" (▲/▼ puis ENTER).
6 Appuyez sur HOME MENU pour quitter le menu.

REMARQUE
- La méthode ci-dessus rétablit le mot de passer par défaut (1234).
- Àprous la désactivation de la fonction mot de passer, vous ne pouvez pas changer les réglages de Verrouillage Enfants. Pour le Verrouillage Enfants, voir page 28.
- Àprous la désactivation de la fonction mot de passer, vous ne pouvez pas changer ou effacer le mot de passer.
- Quand vous rétablissez la fonction mot de passer après l'avoir désactivée, le mot de passer par défaut (1234) est rétabli.
Nous vous proposons d'écrir ici le mot de passer.

Si vous oubliez le mot de passer
Quand le message "Intro votre code svp" est affiché lors des opérations ci-dessus, tenez la touche ENTER du boîtier de télécommande enfoncée pendant au moins 3 secondes.
Le mot de passer par défaut "1234" est rétabli.
Vous ave la possibilité de relier divers types d'appareil au système d'écran plasma, par exemple un décodeur, un magnétoscope, un lecteur de DVD, un ordinateur personnel, une console de jeu ou un caméoscope.
Pour visualiser les images venant d'un apparéil extérieur, sélectionné la source d'entrée à l'aide des touches INPUT du boîtier de télécommande (page 14) ou de la touche INPUT du Récepteur Média.

DANGER
- Afin de protégger tous les apparils, débranchez toujours le Récépteur Média de la prise de courant avant de le connecter à un écodeur, un magnétoscope, un lecteur de DVD, un ordinateur personnel, une console de jeu, un caméoscope ou tout autre apparéil extérieur.

REMARQUE
- Avant d'effectuer les raccordements, reportez-vous au mode d'emploi qui offre chaque appareil (lecteur de DVD, ordinateur personnel, etc.).
Affichage des images d'un décodeur
Raccordement d'un décodeur
Utilisez INPUT 1 pour raccorder un décembre ou un autre apparéil audiovisuel.

Récepteur Média (vue de dos)
Affichage des images provenant d'un décodeur
1 Utilisez les touches 0 à 9 ou P + / P - pour sélectionner le programme spécifique au décodeur (page 28).
2 Appuyez sur INPUT 1 du boîtier de télécommande ou appuyez sur INPUT du Récepteur Média pour sélectionner ENTREE1.

REMARQUE
- Veiliez à utiliser ENTRÉE1 pour raccorder un décodeur.
- Si l'image du décodeur n'est pas nette, changez le type du signal d'entrée en utilisant pour cela le menu. Reportez-vous à la page 36.
- Pour connaître les types de signaux possibles, reportez-vous au mode d'emploi qui accompagne le décodeur.
Affichage des images d'un magnétoscope
Raccordement d'un magnétoscope
Utilisez INPUT 2 pour raccorder un magnétoscope ou un autre apparéil audiovisuel.
Si le magnétoscope prend en compte les "liaisons AV" télévisueur-magnétoscope récentes (page 42), vous pouvez le relier à INPUT 2 ou 3 du récepteur Média en utilisant pour cela un cable péritel à 21 broches, toutes câblées.
Liaisons AV récentes
- Elles permettent de charger les informations de symtonisation directement du téléviseur vers le magnétoscope (chargement des prééglages).
-
Tandis que vous regardez une émission de télévision, vous pouvez l'enregistrer en appuyant simplement sur la commande d'enregistrement du magnétoscope. (What You See Is What You Record: Telle image-tel enregistrement*)
-
Consultez le mode d'emploi du magnétoscope car certains modèles possèdent une touche spécifique à Telle image-tel enregistrement.
-
Lorsque vous appuyez sur la touche de lecture, sur le magnétoscope, le système quitte la veille et se met en service puis affiche les images provenant du magnétoscope.

REMARQUE
- Les "liaisons AV" téléviseur-magnétoscope récentes ne sont pas compatibles avec toutes les sources extérieures.

Récepteur Média (vue de dos)
Affichage des images provenant d'un magnétoscope
Pour regarder les images d'un magnétoscope, appuyez sur INPUT 2 du boîtier de télécommande ou appuyez sur INPUT du Récepteur Média de manière à Sélectionner ENTREE2.

REMARQUE
- Si l'imag de magnétoscope n'est pas nette, changez le type du signal d'entrée en utilisant pour cela le menu. Reportez-vous à la page 36.
- Pour connaître les types de signaux possibles, reportez-vous au mode d'emploi qui accompagne le magnétoscope.
- Les prises INPUT 2 sont testées, pour connaître la nature de la connexion, dans l'ordre 1) S-video, 2) Video.
- Ne raccordez un apparéil qu'aux prises qui seront effectivement utilisées.
Utilisation de l'entrée HDMI
Les prises INPUT 3 assurent les liaisons HDMI et peuvent receivevoir des signaux d'entrée audio et video. Pour utiliser la prise HDMI, mettez cette prise en service et précisez le type des signaux audio et video en provenance de l'appareil relié. Pour de plus amples détails concernant les signaux, reportez-vous au mode d'emploi qui accompagne l'appareil relié.
Avant de démarrer le menu, appuyez sur INPUT 3 du boîtier de télécommande ou appuyez sur INPUT du Récepteur Média pour sélectionner ENTREE3.
Tableau de corrélation des signaux d'entrée
| 1920*1080i@50Hz |
| 720*576p@50Hz |
| 1280*720p@50Hz |
| 720(1440)*576i@50Hz |
| 1920*1080i@59,94/60Hz |
| 720*480p@59,94/60Hz |
| 1280*720p@59,94/60Hz |
| 720(1440)*480i@59,94/60Hz |
| 1920*1080 p@24Hz |
Pour le son, la compatibilité du système est la suivante:
- PCM linéaire (STÉRÉO 2 canaux)
- Fréquence d'échantillonnage: 32 kHz, 44,1 kHz, 48 kHz
Raccordement d'un apparéil HDMI

Récepteur Média (vue de dos)
Pourmettre en service la prise HDMI:
1 Appuyez sur HOME MENU.
2 Sélectionnez "Options" (/ puis ENTER).
3 Sélectionnez "Entrée HDMI" (▲/▼ puis ENTER).
4 Sélectionnez "Réglage" (▲/↓ puis ENTER).
5 Sélectionnez "Activer" (▲/↓ puis ENTER).
| Paramètre | Description |
| Désactiver
(valeur par défaut) | La prise HDMI n'est pas active. |
| Activer | La prise HDMI est active. |
6 Appuyez sur HOME MENU pour quitter le menu.
Pour préciser le type des signaux video numériques:
1 Répétez les opérations 1 à 3 de la partie "Pourmettre en service la prise HDMI".
2 Sélectionnez "Védo" (▲/▼ puis ENTER).
3 Sélectionnéz le type de signaux video numériques (↑/↓ puis ENTER).
- Si vous sélectionnez "Auto", l'appareil tente d'identifier les signaux video numériques lorsqu'ils sont reçus.
| Paramètre | Description |
| Auto (valeur par défaut) | Le signal d'entrée videoo numérique est automatiquement identifié. |
| Couleur-1 | Signaux videoo composante numériques (4:2:2) verrouillés |
| Couleur-2 | Signaux videoo composante numériques (4:4:4) verrouillés |
| Couleur-3 | Signaux RVB numériques verrouillés |
4 Appuyez sur HOME MENU pour quitter le menu.

REMARQUE
- Si vous sélectionné une valeur autre que "Auto", effectuez le réglage de manière que les couleurs soient naturelles.
- Si,aucunmessage n'apparait,choisissez un autre type de signal video numérique.
- Pour de plus amples détails concernant les types de signal, reportez-vous au mode d'emploi qui accompagne l'appareil relié.
Pour préciser le type des signaux audio numériques:
1 Répétez les opérations 1 à 3 de la partie "Pourmettre en service la prise HDMI".
2 Sélectionnez "Audio" (▲/↓ puis ENTER).
3 Sélectionné le type de signaux audio (▲/▼ puis ENTER).
- Si vous sélectionné "Auto", l'appareil tente d'identifier les signaux audio lorsqu'ils sont reçus.
| Paramètre | Description |
| Auto (valeur par défaut) | Le type des signaux d'entrée audio est automatiquement identifié. |
| Numérique | Les signaux audio numériques sont acceptés. |
| Analogue | Les signaux audio analogiques sont acceptés. |
4 Appuyez sur HOME MENU pour quitter le menu.

REMARQUE
- Si aucun son n'est produit, Sélectionner un autre type pour les signaux audio.
- Pour les types de signal audio à spécifique, vérifiez dans le mode d'emploi accompagnant l'appareil raccordé.
- Selon l'équipement à raccorder, vous devrez aussi brancher des cables audio analogues.
Utilisation de l'entrée/sorting link.A
Le système d'écran à plasma compte trois fonctions typiques d'entrée/sorting Link. A facilitant les connexions entre le Récepteur Média et autres appareils audiovisuels.
Lecture commande par touche unique
Le système d'écran plasma étant en veille, il se met automatiquement en service et fournit les images de la source audiovisuelle (par exemple, magnétoscope, lecteur de DVD).
WYSIWYR (What You See Is What You Record) (Voues enregistrez ce que vous voyagez)
Lorsque la télécommande du magnétoscope raccordé est dotée de la touche WYSIWYR, vous pouvez commencer automatiquement à enregistrer en appuyant sur la touche WYSIWYR.
Chargement des prêrglages
Les informations relatives aux canaux préreglés sont automatiquement transférées du système d'écran plasma à l'appareil audiovisuel (par exemple, le magnétoscope) relié à la prise INPUT 2 ou 3.

REMARQUE
- Les fonctions d'entree/sortie Link.A ne sont disponibles que si l'appareil audiovisuel est relié à la prise INPUT 2 ou 3 du récepteur Média au moyen d'un cable péritel à 21 broches, toutes câblées.
- Soit INPUT 2, soit INPUT 3, est disponible pour l'entrée/sorting Link.A; cela dépend de la position qu'occupé le sélecteur qui se trouve sur le panneau arrêté du récepteur Média.
- Utilisez ce sélecteur pourCHOISIR la prise d'entrée à laquelle est reliée l'appareil d'enregistrement, par exemple le magnétoscope.
- Pour de plus amples détails, reportez-vous au mode d'emploi qui accompagne chaque apparéil.
- Si un cable péritel est relié à la prise INPUT 3 de l'entrée/ sortie Link.A en fonctionnement, les signaux d'entrée (autres que les composantes) sont automatiquement identifiés et affichés. Si l'entrée-sortie Link.A n'est pas en fonctionnement, les signaux autres que RVB sont toujours considérés comme étant du type video car le système ne sait pas désigner les signaux RVB, Y/C (S-video) et CVBS (video); ainsi, la réception de signaux Y/C (S-video) donne une image monochrome.

Récepteur Média (vue de dos)
Magnétoscope ougraveurDVD
Affichage des images d'un lecteur de DVD
Raccordement d'un lecteur de DVD
Utilisez la prise INPUT 2 pour raccorder un lecteur de DVD ou un autre apparéil audiovisuel.

Récepteur Média (vue de dos)
Lecteur de DVD
Affichage des images provenant d'un lecteur de DVD
Pour regarder les images d'un DVD, appuyez sur INPUT 2 du boîtier de télécommande ou appuyez sur INPUT du Récepteur Média de manière à selectionner ENTRÉE2.

REMARQUE
- Si l'imag de lecteur de DVD n'est pas nette, changez le type du signal d'entree en utilisant pour cela le menu. Reportez-vous a la page 36.
- Pour connaître les types de signaux possibles, reportez-vous au mode d'emploi qui accompagne le lecteur de DVD.
Utilisation d'une console de jeu et visionnement des images d'un caméscope
Raccordement d'une console de jeu ou d'un caméscope
Utilisez la prise INPUT 4 pour raccorder une console de jeu, un caméoscope ou un autre apparéil audiovisuel.

Récepteur Média (vue de face)
Console de jeu, caméscope
Affichage des images d'une console de jeu ou d'un caméoscope
Pour regarder les images venant de la console de jeu ou du caméoscope, appuyez sur INPUT 4 du boîtier de télécommande ou appuyez sur INPUT du Récepteur Média de manière à selectionner ENTRéEE4.

REMARQUE
- Les prises INPUT 4 sont testées, pour connaître la nature de la connexion, dans l'ordre 1) S-video, 2) Video.
- Ne raccordez un apparéil qu'aux prises qui seront effectivement utilisées.
Utilisation des apparecs audio reliés
Raccordement d'un apparéil audio
Voussupportez beneficierde sonoritésplus puissant si yourevieliez les appeareils audio qui convennent,par exemple unrécepteur audiovisuel.

Récepteur Média (vue de dos)
Récepteur audiovisuel

REMARQUE
- Pour de plus amples détails, reportez-vous au mode d'emploi qui accompagne les apparèils audio reliés.
- Le son correspondant aux signaux video des images affichées est toujours sorti par les prises AUDIO OUTPUT.
Qu'est-ce que le télétexte ?
Le télétexte consiste à diffuser des pages d'information et de divertissement qui peuvent être affichées sur les téléviseurs spécialement concus pour cela. Ce système d'écran plasma peut receivevoir les signaux télétexte diffusés par les reseaux de télévision et en create des images graphiques qui sont affichées sur l'écran. Les informations, la météo, le sport, la bourse et la presentation des émissions à voir, sont parmi les nombreux services offerts.


Utilisation de base du télétexte
Mise en service, ou hors service, du télétexte
1 Sélectionnéz un canal de télévision ou une source extérieure fournissant un programme télétexte.
2 Appuyez sur pour afficher la page de télétexte (plain écran).
3 Appuyez une nouvelle fois sur @ pour afficher la page de télétexte sur la droite de l'écran, et l'image de l'émission sur la gauche.
- Chaque fois que vous appuyez sur ©, une nouvelle presentation des images est employée, comme le montre l'illustration de gauche.
- Si vous choisissez une émission ne diffusant pas de télétexte, le message "Ne peut pas afficher le télétexte." apparait sur l'écran.
Sélection etemploi d'une page télétexte
Utilisez les touches suivantes du boîtier de télécommande pour sélectionner et employerer les pages de télétexte.
Couleur (ROUGE, VERT, JAUNE, BLEU):
Vou puez selectionner un groupe ou un ensemble de pages notés entre crochets à la partie inférieure de l'écran en utilisant pour cela les touches de couleur (ROUGE, VERT, JAUNE, BLEU) du boîtier de télécommande.
0 à 9:
Sélectionnez directement toute page comprende entre 100 et 899 au moyen des touches 0 à 9.
图/图
Utilisez ces touches pour selectionner la page suivante, ou la page précédente.
图:
Chaque pression sur la touche 三 + , provoque l'adoption d'une autre image telétexte, comme ci-dessous.

三?:
Pour afficher une information masquée, telle que la réponse à une question, appuyez sur é?
- Appuyez une nouvelle fois sur é? pour masquer l'information.
中
Pour arrêté la mise à jour des pages télétexte, appuyez sur [E].
- Appuyez une nouvelle fois sur cette touche pour supprimer le maintien.
3i:
Cette touche affiche une page d'index pour le format CEEFAX/FLOF. Cette touche affiche une page d'éléments généraux pour TOP.

REMARQUE
- Avant d'afficher une page de télétexte, rétablissez l'affichage d'une seule page sur l'écran.
Affichage d'une page secondaire
Vou puez afficher les pages secondaires au fur et à mesure de leur transmission.

Page secondaire
1 Appuyez sur @ pour afficher la page de télétexte.
- Si vous ouvrez une page de laquelle découlement des pages secondaires, ces dernières sont automatiquement affichées dans l'ordre.
2 Pour abandonner le changement automatique des pages secondaires, utilisez / .
- Vous pouvez alors changer manuellement les pages secondaires au moyen des touches / .
REMARQUE
- Une pression sur é/é provoque le changement de page et la disparition de la page secondaire.
- Une pression sur é arrête le changement automatique des pages secondaires puis l'exécution de la fonction associée à la touche.
Affichage des éléments TOP
Au cours de la réception de pages télétexte TOP, vous pouvez afficher les éléments généraux de TOP.

Affichage des éléments généraux de TOP
1 Appuyez sur @ pour afficher la page de télétexte.
2 Au cours de la réception d'une page télétexte TOP, appuyez sur [i] pour afficher les éléments généraux de TOP.
3 Utilisez / et / pour sélectionner l'ensemble ou le groupe de pages puis appuyez sur ENTER.
REMARQUE
- Lorsque les éléments généraux de TOP sont affichés, seules les touches + / - , I-II, etc et oct jouent un role.
Affichage des pages de sous-titres
Vou pouve afficher plusieurs sous-titres à mesure qu'ils sont transmis.
1 Appuyez sur pour afficher les sous-titres.
- Les sous-titres sont mis à jour par les informations envoyées de la station de télévision.
2 Appuyez sur à nouveau pour acceder à l'écran de sous-titres suivant.
Guide de dépannage
Si les codes d'erreur ci-dessous apparaissent à l'écran, effectuez les vérifications correspondantes indiquées dans le tableau.
| Anomalie | Action corrective possible |
| • Absence d'alimentation.
• Le système ne peut pas etre mis sous tension. | • Assurez-vous que l'écran plasma et le récepteur Média sont convenablement reliés. (Reportez-vous à la page 17.)
• La fiche du cordon d'alimentation est-elle débranchée? (Reportez-vous à la page 20.)
• Le système est-il sous tension? (Reportez-vous aux pages 21 et 22.)
• Appuyez sur les touches 0 à 9 du boîtier de télécommande pour contrôler le fonctionnement.(Reportez-vous à la page 21.)
• Si le tímoin du système est éclairé (couleur rouge), utilisez les touches 0 à 9. |
| • Des rectangles bleus ou rouges apparaissent alternatively sur l'écran. | • Assurez-vous que le cable système n'est pas débranché, partiellement ou totalement. (Reportez-vous à la page 17.) |
| • Le système ne fonctionne pas. | • Des phénomènes extérieurs tels qu'orage, charge d'électricité statique, etc. peuvent provoquer une anomalie de fonctionnement.
En ce cas, mettez l'écran plasma et le récepteur Média hors tension puis sous tension, directement ou bien en débranchant la fiche du cordon d'alimentation puis en la rebranchant 1 ou 2 minutes plus tard. |
| • Le boîtier de télécommande ne fonctionne pas. | • Les polarités (+, -) des piles sont-elles inversées? (Reportez-vous à la page 19.)
• Les piles sont-elles épisées? Remplacez-les par des piles neuves. (Reportez-vous à la page 19.)
• Agissez sur le boîtier de télécommande en le dirigeant vers le capteur de télécommande de l'écran plasma. (Reportez-vous à la page 19.)
• Le boîtier de télécommande est-il exposé à un éclairage puissant ou fluorescent?
• Un éclairage fluorescent illumine-t-il le capteur de télécommande? |
| • Absence d'image et de son. | • Assurez-vous que la source sélectionnée n'est pas une source video alors que vous désirez regarder une émission de télévision. (Reportez-vous à la page 22.)
• Assurez-vous que vous n'avez pas choisi une chaîne interdite aux enfants. (Reportez-vous à la page 28.)
• Tapez le mot de passer qui permet de supprimer temporairement l'interdiction. (Reportez-vous à la page 38.)
• Contrôlez la connexion de l'anterne. (Voir page 20.)
• Contrôlez la connexion des autres apparciels. (Voir pages 40 à 43.) |
| • Absence d'image | • Les raccordements aux autres apparciels sont-ils corrects? (Reportez-vous aux pages 40 à 43.)
• La sélection d'entrée est-elle correcte? (Reportez-vous à la page 36.) |
| • Du son mais pas d'image. | • Assurez-vous que vous n'avez pas choisi "Arrêt Image" pour l'économie d'énergie. Lorsque cette option est séLECTIONnée, l'écran est déactivé : seul le son est émis. Pour rétablier l'affichage de l'écran, appuyez sur n'importe qu'elle touche sauf i ∠ +/ ∠ - et xk. (Reportez-vous à la page 35.) |
| • Des images mais pas de son. | • Assurez-vous que le niveau de sortie n'est pas réglié au minimum. (Reportez-vous à la page 23.)
• Assurez-vous que le silencieux n'est pas en service. (Reportez-vous à la page 23.)
• Si la source est INPUT 4, assurez-vous que la prise audio est également reliée. (Reportez-vous à la page 43.) |
| • Lessons sont inversés, droite gauche.
• Lessons ne sont émis que d'une seule enceinte. | • Assurez-vous que les liaisons aux enceintes n ont pas été interverties, et que l'une ou l'autre n'est pas débranchée. (Reportez-vous aux pages 12 et 18.)
• La balance est-elle correctement réglié? (Reportez-vous à la page 34.) |
| • L'image est tronquée. | • La position de l'image est-elle correcte? (Reportez-vous à la page 36.)
• Le format d'image est-il correct? (Reportez-vous à la page 37.) |
| • Couleurs surprenantes, couleurs délavées, couleurs sombres ou mal alignées. | • Réglez la tonalité de l'image. (Reportez-vous aux pages 31 à 33.)
• La pierce est-elle trop éclairée? L'image peutARAtre nombre dans une pièce trop éclairée.
• Vérifiez le choix du standard couleur. (Reportez-vous aux pages 28 et 36.) |
| • L'alimentation se coupe brusquement. | • La température interne du système a augmenté. Retirez les objets qui obtruient les évén, ou nettoyez ceux-ci. (Reportez-vous à la page 15.)
• Vérifiez le réglage de la commande d'alimentation. (Reportez-vous à la page 35.)
• Vérifiez le réglage de la minuterie de mise en vue. (Reportez-vous à la page 38.) |
| • Sons / bruits de panneau | • Lessons généres par le panneau, par exemple: bruit de ventilateur électrique, ronflement de circuit électrique / bourdonnement de panneau de verre font partie du fonctionnement normal d'un écran matriciel à luminophores. |
| Code | Message | Vérification |
| SD04 | S'eteint. Température interne trop élevée. Vérifier la température dans PDP. | Assurez-vous que la température de l'écran plasma n'est pas trop élevée. |
| SD05 | S'eteint. Protection interne des circuits activée.Y-a-t-il un court-circuit dans le cable de l'enceinte? | Contrôlez les liaisons entre l'écran plasma et les enceintes. |
| SD11 | S'eteint. Température interne trop élevée. Vérifier la température dans le récepteur du média. | Assurez-vous que la température du récepteur Média n'est pas trop élevée. |
Bornage de la prise péritel
Divers appareils audio et video peuvent être interconnectés grâce aux prises péritel.

- Sortie audio droite
- Entrée audio droite
- Sortie audio gauche
- Masse commune pour audio
- Masse pour le bleu
- Entrée audio gauche
-
Entrée pour le bleu
-
Commande audio-video
- Masse pour le vert
- Non utilisée
- Entrée pour le vert
- Non utilisee
- Masse pour le rouge
-
Non utilisee
-
Entrée pour le rouge
- Commande rouge, vert, bleu
- Masse pour la video
- Masse pour la commande rouge, vert, bleu
19.Sortie video
- Entre video
- Blindage de la prise
- Sortie audio droite
- Entre audio droite
- Sortie audio gauche
- Masse commune pour audio
- Masse
- Entrée audio gauche
-
Non utilisee
-
Commande audio-video
- Masse
- Commande de la liaison AV
- Non utilisee
- Non utilisee
- Masse
-
Non utilisee
-
Entrée chrominance pour S-video
- Non utilisée
- Masse pour la video
- Masse
19.Sortie video
- Entre video, entre S-video
- Blindage de la prise
- Sortie audio droite
- Entrée audio droite
- Sortie audio gauche
- Masse commune pour audio
- Masse
- Entrée audio gauche
-
Entrée pour le bleu
-
Commande audio-video
- Masse
- Commande de la liaison AV
- Entrée pour le vert
- Non utilisee
13 Masse
-
Non utilisée
-
Entrée pour le rouge, entrée chrominance pour S-vidéo
- Commande rouge, vert, bleu
- Masse pour la video
- Masse
19.Sortie video
- Entre video, entre S-video
- Blindage de la prise
\section*{Caracteristiques techniques}
| Paramètre | Écran à plasma 50 po., modèle: PDP-506PE | Écran à plasma 43 po., modèle: PDP-436PE |
| Nombre de pixels | 1280 · 768 pixels | 1024 · 768 pixels |
| Amplificateur audio | 13 W + 13 W (1 kHz, 10 %, 8 ) | 13 W + 13 W (1 kHz, 10 %, 8 ) |
| Systèmes d'ambiance | SRS/FOCUS/TruBass | SRS/FOCUS/TruBass |
| Alimentation | 220–240 V CA , 50/60 Hz, 344 W (0.4 W en voille) | 220–240 V CA , 50/60 Hz, 292 W (0,4 W en voille) |
| Dimensions | 1224(L) · 717 (H) · 92 (P) mm | 1076 (L) · 632 (H) · 92 (P) mm |
| Poids | 31,8 kg | 25,8 kg |
| Paramètre | Récepteur Média, modèle: PDP-R06FE |
| Système couleur | PAL/SECAM/NTSC 3.58/NTSC 4.43/PAL 60 |
| Fonction télévision | Systèmes de réception | B/G, D/K, I, L/L1 |
| Syntoniseur VHF/UHF | Canaux E2-E69, F2-F10, I21-I69, IR A-IR J |
| Télévision par cable Hyper-bande, canaux S1-S41ch |
| Préréglage automatique des canaux | 99 canaux, préréglage automatique, étiquetage automatique, classement automatique |
| Stéréophonie | NICAM/A2 |
| Prises | Arrière INPUT 1 | Péritel (entree AV, entre RVB, sortie télévision) |
| INPUT 2 Péritel (entree/sortie AV, entree S-VIDEO, liaison AV*1) entree pour les composantes videoo |
| INPUT 3 Péritel (entree/sortie AV, entree S-VIDEO, entree RVB, liaison AV*1), entree HDMI*2 |
| Antenne 75 , type DIN, entree VHF/UHF |
| Avant INPUT 4 | S-VIDEO, entree AV |
| Prise AUDIO OUTPUT (Arrière) | Sortie AUDIO (FIX) |
| Alimentation | 220–240 V CA, 50/60 Hz, 16 W (0,4 W en voille) |
| Dimensions | 420 (L) · 90 (H) · 299 (P) mm |
| Poids | 3,5 kg |
^1 Au choix
2 Conforme à HDMI1.1 et HDCP1.1.
HDMI (High Definition Multimedia Interface) est une interface numérique qui gère la video et le son sur un seul cable. HDCP (High-bandwith Digital Content Protection) est une technologie utilisée pour protégger les contenus numériques sujets à copyright qui utilise l'interface visuelle numérique (DVI).
- Les caractéristiques et la presentation peuvent être modifiées sans avis préalable.
Marques de commerce
- FOCUS, WOW, SRS et le symbole (●)® sont des marques de commerce de SRS Labs. Inc. Les technologies FOCUS et SRS sont incorporees sous licence de SRS Labs, Inc.
- Cet apparéil est doté des polices FontAvenue® sous licence NEC Corporation. FontAvenue est une marque déposée par NEC Corporation.
- HDMI, le logo HDMI et High-Definition Multimedia Interface sont des marques de commerce ou des marques déposées de HDMI Licensing LLC.
- Les noms de société ou d'organisme sont des marques de commerce ou des marques déposées de leur société ou organismé respectif.
Tous droits de reproduction et de traduction réservés.
ACHTUNG:
UM SICH NICTHT DER GEFAHR EINES ELEKTRISCHEN SCHLAGS AUSZUSETZEN, DURFEN SIE NICTHT DEN DECKEL (ODER DIE RUCKSEITE) ENTFERNIM. EN GERAETEINNEREN BEFINDED SICH KEINE VOM NUTZER REPARIERBARE TEILE. UBERLASSEN SIE REPARATUREN DEMQUALIFIZIEREN KUNDENDIENTNST.