GBV5240DEP - Réfrigérateur combiné LG - Notice d'utilisation et mode d'emploi gratuit
Retrouvez gratuitement la notice de l'appareil GBV5240DEP LG au format PDF.
| Intitulé | Valeur / Description |
|---|---|
| Type de produit | Réfrigérateur combiné |
| Capacité totale | 524 litres |
| Dimensions approximatives | H 203 cm x L 59.5 cm x P 67.5 cm |
| Poids | 80 kg |
| Alimentation électrique | 220-240 V, 50 Hz |
| Classe énergétique | A++ |
| Fonctions principales | Froid ventilé, No Frost, Multi Air Flow |
| Type de réfrigération | Réfrigération statique et ventilée |
| Compartiment congélateur | 4 étoiles, capacité de congélation rapide |
| Entretien et nettoyage | Nettoyage intérieur avec un chiffon doux, pas de produits abrasifs |
| Pièces détachées et réparabilité | Disponibilité de pièces de rechange via le service après-vente LG |
| Sécurité | Système de verrouillage de porte, alarme de température |
| Compatibilités | Compatible avec les accessoires LG pour réfrigérateurs |
| Garantie | 2 ans sur pièces et main d'œuvre |
FOIRE AUX QUESTIONS - GBV5240DEP LG
Téléchargez la notice de votre Réfrigérateur combiné au format PDF gratuitement ! Retrouvez votre notice GBV5240DEP - LG et reprennez votre appareil électronique en main. Sur cette page sont publiés tous les documents nécessaires à l'utilisation de votre appareil GBV5240DEP de la marque LG.
MODE D'EMPLOI GBV5240DEP LG
Avant de commencer l'installation, dire attentivement ces instructions. Cela simplifie l'installation et assurera que le produit soit installé correctement et en toute sécurité. Conserver ces instructions à proximé du produit après installation pour référence ultérieure.
FRANÇAIS
TABLE DES MATIÈRES
Ce manuel peut contenir des images ou un contenu différent du modele que vous avez acheté.
Ce manuel est sujet à révision par le fabricant.
CONSIGNES DE SECURITÉ
LISEZ TOUTES LES INSTRUCTIONS AVANT UTILISATION 3
AVERTISSEMENT 3
ATTENTION 10
PRENDRE SOIN DE L'ENVIRONNEMENT 12
INSTALLATION
Avant l'installation 13
Mise à niveau de l'appareil. 15
Mettre l'alimentation sous tension 15
Déplacer l'appareil pour un déménagement 15
UTILISATION
Avant utilisation 16
Caracteristiques du produit 19
Panneau de commande 21
Distributeur d'eau 23
Machine à gaçons 24
Tiroir du réfrigérateur 25
Tablette 26
Panier de porte 27
Tiroir du concélateur 27
FONCTIONS SMART
Application LG ThinQ 28
Smart Diagnosis 29
MAINTENANCE
Nettoyage 32
DéPANNAGE
Avant d'appeler le service 33
CONSIGNES DE SECURITÉ
LISEZ TOUTES LES INSTRUCTIONS AVANT UTILISATION
Les consignes de sécurité suivantes sont destinées à éviter les risques ou dommages imprévis sissus d'une utilisation dangereuse ou incorrecte de l'appareil. Les consignes sont séparées en 'AVERTISSEMENT' et 'ATTENTION' comme décrit ci-dessous.
Messages de sécurité

Ce symbole s'affiche pour indiquer des problèmes et des utilisations qui peuvent partager des risques. Lire attentivement la partie qui comporte ce symbole et suivre les instructions afin d'eviter tout risque.

AVERTISSEMENT
Cela indique que tout manquement à suivre les instructions peut entraîner des blessures graves ou la mort.

ATTENTION
Cela indique que tout manquement à suivre les instructions peut entraîner des blessures légères ou endommager l'appareil.
AVERTISSEMENT

AVERTISSEMENT
- Pour réduire le risque d'explosion, d'accordie, de décès, de chocolélectrique, de blessure ou d'ébouillantage de personnes lors de l'utilisation de cet apparéil, suivez les précautions de base, y compris les suivantes :
Sécurité technique
- Cet apparéil peut être utilisé par des enfants âgés de 8 ans et plus et par des personnes ayant des capacité physiques, sensorielles ou
4 CONSIGNES DE SECURITE
mentales réduites ou bien manquant d'expérience et de connaissances, s'ilts sont surveillés ou ont reçu des instructions relatives à l'utilisation de l'appareil d'une manière sure et s'ils comprendnant les dangers impliqués. Les enfants ne doivent pas jouer avec l'appareil. Le nettoyage et la maintenance par l'utilisateur ne doit pas être exécutés par des enfants sans surveillance.
- Cet apparéil n'est pas destiné à être utilisé par des personnes (y compris des enfants) ayant des capacities physiques, sensorielles ou mentales réduites, ou manquant d'expérience et de connaissances, à moins qu'elles ne soient supervisées ou aient reçu des instructions quant à l'utilisation de l' apparéil par une personne responsable de leur sécurité. Les enfants doivent être surveillés pour s'assurer qu'ils ne jouent pas avec l' apparéil.
- Les enfants âgés de 3 à 8 ans sont autorisés à charger et à décharger des apparèils de réfrigération.
-
Cet apparéil est destiné à être utilisé uniquement dans des applications de menage ou similaires, telles que :
-
les cuisines du personnel dans les magasins, bureaux et autres environnements de travail;
- les maisons rurales et par les clients d'hôts, motelés et d'autres environnements résidentiels;
- les gîtes touristiques ;
-
les applications de restauration et hors détail similaires.
-
Cet apparéil de réfrigération n'est pas destiné à être utilisé comme apparéil encastré.

Ce symbole vous avertit de matérieliaux inflammables qui peuvent s'enflammer et provoquer un incendie si vous ne prenez pas de précautions.
-
Cet apparéil contient une petite quantité de réfrigérant isobutane (R600a), mais il est également combustible. Lors du transport et de l'installation de l' apparéil, veillez à ce qu'aucune piece du circuit frigorifique ne soit endommagée.
-
Le réfrigérant et le gaz d'iso1ation utilisés dans l'appareil nécessitant des procédures d'élimination particulières. Consultez un agent de service ou une personne qualifiée avant de les éliminer.
- Ne pas endommager le circuit frigorifique.
- Si le cable d'alimentation est endommagé ou si les trous de la prise sont lâches, ne pas utiliser le cordon d'alimentation et contacter un centre de service agréé.
- Ne pas placer plusieurs prises de courant portables ou alimentations portables à l'arrête de l'appareil.
- Brancher correctement le cordon d'alimentation dans la prise de courant après avoir enlevé complètement toute humidité et poussière.
- Ne jamais débrancher l'appareil en tirant sur le cable d'alimentation. Toujours saisir fermement la prise électrique et la tirer tout droit pour la sortir de la prise de courant.
- Gardez les ouvertures de ventilation, dans l'enceinte de l'appareil ou dans la structure intégrée, exemples d'obstruction.
- Ne pas stocker dans cet apparéil de substances explosives comme des aérosols avec un propulseur inflammable.
- Ne pas incliner l'appareil pour le tirer ou le pousser lors de son transport.
- Lors du positionnement de l'appareil, assurez-vous que le cordon d'alimentation ne soit pas Coincé ou endommagé.
- Ne pas utiliser de dispositifs mécaniques ou d'autres moyens pour accélérer le processus de dégivrage.
- Ne pas utiliser de sèche-cheveux pour sécher l'intérieur de l'appareil ni placer de bougie à l'intérieur pour éliminer les odeurs.
- Ne pas utiliser d'appareils électriques à l'intérieur des compartments de stockage des alimentés de l'appareil, sauf s'ils sont du type recommendé par le fabricant.
Assurez-vous de ne pas vous coincer une partie du corps, comme la main ou un pied en déplaçant l'appareil. - Déconnecter le cordon d'alimentation avant de nettoyer l'intérieur ou l'extérieur de l'appareil.
6 CONSIGNES DE SECURITE
- Ne pas pulveriser d'eau ou de substances inflammables (dentifrice, alcohol, diluant, liquide inflammable, abrasif, etc.) sur l'intérieur ou l'extérieur de l'appareil pour le nettoyer.
- Ne pas nettoyer l'appareil avec des brosses, chiffons ou épONGes avec des surfaces rugueuses ou à base de matériel métallique.
- Le démontage, la réparation ou la modification de l'appareil ne doit être effectue que par un personnel de service qualifié du centre de service LG Electronics. Si vous déplacez et installez l'appareil dans un endroit différent, veuilles contacter un centre d'information client LG Electronics.
Risque d'incendie et matériaux inflammables
- Si une fuite est détectée, éviter toutes flames ou sources potentielles d'inflammation et aérer lapiece ou se trouve l'appareil pendant plusieurs minutes. Afin d'éviter l'accumulation d'un mélange de gaz-air inflammable si une fuite se produit dans le circuit réfrigerant, la taille de la piece dans laquelle l'appareil est utilisé doit correspondre à la quantité de réfrigerant utilisée. La piece doit faire 1m^2 par 8 g de réfrigerant R600a à l'intérieur de l'appareil.
- Tout réfrigérant fuyant des tuyaux peut provoquer un incendie ou une explosion.
- La quantité de réfrigérant dans votre apparéil est indiquée sur la plaque signalétique à l'intérieur de l' apparéil.
Installation
- Cet apparéil ne doit être transporte que par deux personnes ou plus tenant l' apparéil en toute sécurité.
- Installer l'appareil sur un sol ferme et de niveau.
- Ne pas installer l'appareil dans un endroit humide et poussièreux. Ne pas installer ou ranger l'appareil dans une zone en plein air, ou toute autre zone soumise à des conditions telles que la lumière du soleil, le vent ou la pluie ou à des températures inférieures à zéro.
-
Ne pas placer l'appareil en plein soleil ni l'exposer à la chaleur d'appareils de chauffage tels que poêles ou des radiateurs.
-
Veiller à ne pas exposer l'arrière de l'appareil lors de l'installation.
- Installer l'appareil dans un endroit où il est facile de débrancher le cordon d'alimentation de l'appareil.
- Attention à ne pas laisser tomber la porte de l'appareil lors du montage ou du démontage.
- Attention à ne pas pincer, écraser ou endommager le cable d'alimentation pendant le montage ou le démontage de la porte de l'appareil.
- Veiller à ne pas faire pointer la fiche d'alimentation vers le haut ni à laisser l'appareil appuyer sur la fiche électrique.
- Ne pas brancher un adaptateur ou d'autres accessoires à la prise d'alimentation.
- Ne pas modifier ou étendre le cordon d'alimentation.
- S'assurer que la prise de courant soit correctement mise à la terre, et que la broche de terre du cordon d'alimentation ne soit pas endommagée ou retiree de la prise d'alimentation. Pour plus de détails sur la mise à la terre, renseignez-vous auprès d'un centre d'information client LG Electronics.
- Cet apparéil est équipé d'un cordon d'alimentation doté d'un conducteur de terre et d'une fiche de terre. La fiche doit être branchée dans une prise appropriée, installée et mise à la terre conformément à tous les codes et règlements locaux.
- Ne jamaisMETRE en marche un apparéil montrant des signes de dommages. En cas de doute, consultez votre revendeur.
- Éliminer tous les matériaux d'emballage ( comme les sacs en plastique et le polystyrene) loin des enfants. Les matériaux d'emballage peuvent provoquer une suffocation.
- Ne pas brancher l'appareil à un adaptateur multi-supports ne disposant pas d'un cable d'alimentation (monté). L'omission de se conformer à cette consigne pourrait entraîner un incendie.
- L'appareil doit être connecté à une ligne électrique dédiée qui est sur un fusible séparé.
- N'utilisez pas une multiprise qui n'est pas correctement mise à la terre (portable). Si vous utilisez une multiprise (portable)
8 CONSIGNES DE SECURITE
correctement mise à la terre, utilisez la multiprise avec la capacité du cordon d'alimentation actuelle ou supérieure et utilisez uniquement la multiprise pour l'appareil.
Utilisation
- Ne pas utiliser l'appareil à des fins (stockage de matériel Médical ou experimental ou expédition) autres qu'un usage domestique de stockage d'aliments.
- Si de l'eau pénétre dans les pieces électriques de l'appareil, débrancher la fiche d'alimentation et contacter un centre d'information client LG Electronics.
- Débrancher la prise d'alimentation en cas d'orage violent ou d'éclairs, ou lorsque l'appareil n'est pas utilisé pendant une longue période.
- Ne pas toucher la fiche d'alimentation ou les commandes de l'appareil avec des mains mouillées.
- Ne pas plier excessivement le cable d'alimentation ou placer un objet lourd sur celui-ci.
- Débrancher immédiatement la fiche d'alimentation et contacter un centre d'information client LG Electronics si vous détectez tout bruit anormal, odeur ou fumée sortant de l'appareil.
- Ne pasmettre les mains ou des objets métalliques dans la zone émettant l'air froid, le carter ou la grille de dégagement de la chaleur à l'arrête.
- Ne pas appliquer de force excessive ou frapper le carter arrêté de l'appareil.
- Attention aux enfants qui se trouvent à proximité lorsque vous ouvrez ou fermez la porte de l'appareil. La porte peut heurter l'enfant et cause des blessures. Ne pas laisser les personnes se balancer sur les portes, car cela peut provoquer la chute de l'appareil et cause des blessures graves.
- Eviter qu'un enfant se retrouve piégé à l'intérieur de l'appareil. Un enfant coince à l'intérieur de l'appareil peut souffrir de suffocation.
-
Ne pasmettre d'animaux vivants dans l'appareil, comme des animaux domestiques.
-
Ne pas placer d'objets lourds ou fragiles, de recipients replis de liquide, de combustibles, d'objets inflammables ( comme des bougies, lampes, etc.), ou de dispositifs de chauffage ( tels que des poêles, radiateurs, etc.) sur l'appareil.
- Ne pas placer un autre apparéil électronique (teils qu'un chauffage et un téléphone mobile) à l'intérieur de l' apparéil.
- En cas de fuite de gaz (isobutane, propane, gaz naturel, etc.), ne pas toucher l'appareil ni la fiche d'alimentation et ventiler immédiatement la zone. Cet appareil utilise un gaz réfrigérant (isobutane R600a). Bien qu'il n'utilise qu'une petite quantité de ce gaz, cela demeure un gaz inflammable. Toute fuite de gaz pendant le transport, l'installation ou l'utilisation de l'appareil peut provoquer un incendie, une Explosion ou des blessures en cas d'étin celles.
- Ne pas utiliser ou stocker de substances inflammables ou combustibles (éther, benzène, alcool, produits chimiques, GPL, pulverisateur combustible, insecticide, désodorisant, cosmétique, etc.) à proximate de l'appareil.
- Cet apparéil comprend une connexion à la terre à des fins fonctionnelles.
-
Connectez-vous à l'alimentation en eau potable uniquement.
-
Si l'appareil est raccordé à une alimentation en eau, raccordez-le uniquement à une alimentation en eau potable.
-
Remplir avec de l'eau potable seulement.
- Si vous utilisez une machine à glaçons ou un réservoir de distribution d'eau, voirlez à le replir d'eau potable uniquement.
Élimination
- Avant de jeter l'appareil,steroler le joint de la porte tout en laissant les tablettes et les paniers en place et garder les enfants éloignés de l'appareil.
10 CONSIGNES DE SECURITÉ
ATTENTION
ATTENTION
- Pour réduire le risque de blessures légères à une personne, dysfonctionnement ou dommages au produit ou à la propriété lors de l'utilisation de cet apparéil, suivre les précautions de base, notamment les suivantes :
Installation
- Àprous le déballage, vérifiez si l'appareil a été endommagé pendant le transport.
- Attende au moins 3 à 4 heures pour vous assurer que le circuit réfrigérant est pleinement efficace.
- Cet apparéil ne nécessite pas de modification d'installation ou d'utilisation en fonction de l'altitude.
Utilisation
- Ne pas toucher d'aliments surgelés ou de pieces métalliques dans le compartment congestéur avec des mains mouillées ou humides. Cela peut cause des gelures.
- Ne pas placer de recipients, de bouteilles ou de boîtes en verre (en particulier celles contenant des boissons gazeuses) dans le compartment congélateur, les étagères ou le bac à glaçons qui seront exposés à des températures au-delà du point de congélation.
- Le verre trempé sur le devant de la porte de l'appareil ou sur les étagères peut être endommagé par un chocol. S'il est cassé, ne le touche pas avec les mains.
- Ne pas s'accrocher aux portes de l'appareil, dans l'espace de stockage, sur une tablette ni monter dessus.
- Ne pas stocker une quantité excessive de bouteilles d'eau ou de récipients pour des plats d'accompagnement sur les paniers de la porte.
-
Ne pas ouvrir ou fermer la porte de l'appareil avec une force excessive.
-
Si la churnière de la porte de l'appareil est endommagée ou fonctionne mal, cesser l'utilisation et contacter un centre de service LG Electronics.
- Empêcher les animaux de grignoter le cable d'alimentation ou le tuyau d'eau.
- Ne jamais manger d'aliments congelés immédiatement après les avoir sortis du congélateur.
Assurez-vous de ne pas coincer une main ou un pied lors de l'ouverture ou de la fermeture de la porte de l'appareil ou de la porte dans la porte.
Maintenance
- Cet apparéil est équipé d'un éclairage interieur à LED qui ne sans entretien. Ne retirez pas le couvercle ou la lampe LED pour tenter de le réparer ou de le changer. Contactez un centre d'information client LG Electronics.
- Ne pas nettoyer les tablettes en verre ou les couvrir d'eau chaude quand elles sont froides. Elles peuvent explode si elles sont exposées à des changements brusques de température.
- N'insérez pas les étagères à l'envers. Les étagères peuvent tomber.
- Pour enlever le givre de l'appareil, contacter un centre d'information client LG Electronics.
- Jeter la glace contenue dans le bac à glaçons du congélateur en cas de panne électrique prolongée.
12 CONSIGNES DE SECURITE
PRENDRE SOIN DE L'ENVIRONMENT
Recyclage de votre ancien apparéil

- Ce symbole de poubelle barrée d'une croix indique que votre équipement électrique etlectronique (EEE) ne doit pas'être jeté avec les ordures menagères. Il doit faire l'objet d'un tri et d'une collecte sélective séparée.
- Les équipements électriques que vous jetez peuvent contir des substances dangereuses. Il est donc important de les jeter de façon appropriée afin d'éviter des impacts négatifs sur l'environnement et la santé humaine. L'équipement que vous jetez peut également contir des pieces réutilisables pour la réparation d'autres produits ainsi que des matériaux précieux pouvant être recyclés pour préserver les ressources de la planete.
- Vous pouvez rapporter votre apparéil au commercant qui vous l'â vendu ou contacter votre collectivité locale pour connaître les points de collecte de votre EEE. Vous trouvrez également des informations à jour concernant votre pays en allant sur www.quefairedemesdechets.fr

FR
Cet apparel et ses accessoires se recyclent
REPRISE à LA LIVRAISON

OU
A DEPOSER EN MAGASIN

OU
A DEPOSER DÉCHETERIE

Points de collecte sur www.quefairedemesdechets.fr
Privilégiez la réparation ou le don de votre apparéil !
INSTALLATION
Avant l'installation
Dimensions et espaces
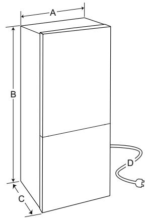
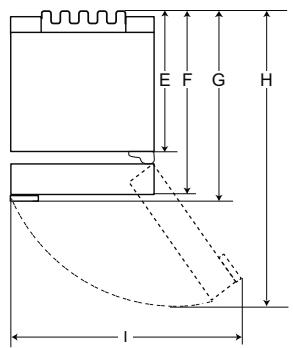
Une distance trop faible des éléments adjacents peut entraîner une dégradation de la capacité de congélation et des coûts d'électricité élevés. Laisser plus de 50 mm de dégagement par rapport à chaque mur adjacent lors de l'installation de l'appareil.


1

2
| 1 | 2 | |||
| Taille (mm) | ||||
| Poinnée compacte | Poinnée barre | Poinnée compacte | Poinnée barre | |
| A | 595 | 595 | 595 | 595 |
| B | 1 860 / 2 030 | 1 860 / 2 030 | 1 860 / 2 030 | 1 860 / 2 030 |
| C | 682 | 718 | 675 | 712 |
| D | 2 100 | |||
| E | 616 | 616 | 610 | 610 |
| F | 682 | 682 | 675 | 675 |
| G | - | 718 | - | 712 |
| H | 1 230 | 1 237 | 1 225 | 1 232 |
| I | 995 | 995 | 995 | 995 |
14 INSTALLATION
REMARQUE
- Reportez-vous à l'étiquette à l'intérieur de l'appareil pour déterminer le type de votre apparéil.
- Les mesures du tableau ci-dessus sont approximatives.
Température ambiente
L'appareil est donc pour fonctionner dans une gamme limite de tempres ambiantes, en fonction de la zone climatique.
- Les températures internes peuvent être affectées par l'emplacement de l'appareil, la température ambiente, la fréquence de l'ouverture de la porte, etc.
- La classe climatique se trouve sur l'étiquette de classement.
| Classe climatique | Plage de température ambiente °C |
| SN (Tempérée étedue) | +10 - +32 |
| N (Tempérée) | +16 - +32 |
| ST (Subtropicale) | +16 - +38 / +18 - +38** |
| T (Tropicale) | +10 - +43* / +16 - +43 / +18 - +43** |
- Les dispositifs classés de SN à T sont destinés à être utilisés à une température ambiente entre 10^ et 43^ .
Accessoires
*1 Cette fonctionnalité n'est disponible que sur certains modèles.

1

2

3

4
1 Charnière Inférieure*1
Support de cordon*1
3 Autocollant*1
Couvercle de charnière*1
Inversion des portes
Cette fonctionnalité n'est disponible que sur certains modèles.
Votre apparueil est conçu avec des portes réversibles afin qu'elles puisent s'ouvrir de la gauche ou de la droite en fonction de la conception de votre cuisine.
REMARQUE
L'inversion des portes doit etre effectuee par le personnel qualifie de LG Electronics. Sinon, les portes ne seront pas couvertes par la garantie.
Mise à niveau de l'appareil
Réglage du pied de mise à niveau
Si l'appareil semble instable ou si les portes ne se ferment pas facilement, reglez l'inclinaison de l'appareil à l'aide des instructions ci-dessous.
1 Tourner le pied de mise à niveau dans le sens des aiguilles d'une montre pour soulever ce côté de l'appareil ou dans le sens inverse des aiguilles d'une montre pour l'abaisser.

2 Ouvrir les portes et s'assurer qu'elles se fermentement facilement.
REMARQUE
- Il se peut que la mise à niveau des portes ne soit pas possible lorsque le sol n'est pas de niveau, ou de construction faible ou médiocre.
- Le réfrigérateur est lourd et doit être installé sur une surface rigide et solide.
- Certains revêtements de sol en bois peuvent poser des problèmes de mise à niveau s'ils représentant une flexion excessive.
Mettre l'alimentation sous tension
Raccorder l'appareil
Pourmettre l'appareil en marche,brancher la fiche d'alimentation dans une prise secteur.Nepasldoubler avecd'autres appareils sur lamemeprise.
REMARQUE
- Àprous avoir branché le cordon d'alimentation (ou la fiche) dans la prise,attendre 3 à 4 heures avant de mesure des alimentés dans l'appareil. Si vous ajoutez des alimentés avant que l'appareil n'ait complètement refroidi, vos alimentés peuvent s'abimer.
- Pourmettre l'appareil hors tension,debranchez la fiche d'alimentation de la prise de courant.
Déplacer l'appareil pour un déménagement
Déplacer l'appareil
1 Retirer tous les alimentes à l'intérieur de l'appareil.
2 Débrancher la fiche électrique, l'insérer et la fixer dans le crochet de fiche d'alimentation à l'arrête ou sur le dessus de l'appareil.
3 Fixer les pièces telles que les étagères et la poignée de la porte avec du ruban adhésif afin d'éviter qu'elles ne tombent lors du déplacement de l'appareil.
4 Déplacez l'appareil avec précaution avec plus de deux personnes. Lorsque vous transportez l'appareil sur une longue distance, maintainez l'appareil à la verticale.
5 ÀpRES avoir installé l'appareil, branche la fiche d'alimentation dans une prise de courant et mettez-le sous tension.
UTILISATION
Avant utilisation
Notes pour l'utilisation
- Les utilisateurs doivent garder à l'esprit que du givre peut se former si la porte n'est pas complètement fermée ou si l'humidité est élevée pendant l'été.
- S'assurer qu'il y a suffisamment d'espace entre les alimentes stockés sur la tablette ou le panier de la porte pour permettre à la porte de se fermer complètement.
- L'ouverture prolongée de la porte peut entraîner une augmentation significative de la température dans les compartments de l'appareil.
- Si l'appareil de réfrigération reste vide pendant de longues périodes, mettez-le hors tension, décongelez-le, nettoyez-le, séchez-le et laissez la porte ouverte afin d'éviter le développement de moisissure dans l'appareil.
- Noter que les specifications de l'appareil permettent une certaine augmentation de la température après le dégivrage. Si l'on souhaite réduire l'impact d'une éLEVation de la température sur le stockage des alimentés, sceller ou enveloppper dans plusieurs couches la nourriture stockée.
Alarme de porte ouverte
L'alarme retentit 3 fois par intervalles de 30 secondes si la porte du réfrigerateur est laissée ouverte ou n'est pas complètement fermée pendant 1 minute.
REMARQUE
- Contacter un centre d'information client LG Electronics si l'alarme continue de sonner après la fermeture des toutes les portes.
Alarme de température élevée
L'alarme de température elevée est une fonction qui avertit lorsque la température du congelateur augmente suffisamment pour être un problème. La LED d'affichage de la température du congelateur clignote et l'alarme retentit.
-
Cette alarme résonne dans les cas suivants :
-
Lorsque l'appareil est mis en marche pour la première fois (la température du congélateur est donc élevé).
- Lorsque la porte du congelasteur est ouverte pendant longtemps ou très fréquement.
- En cas de panne secteur pendant une longue durée.
Lorsqu'une grande quantite d'aliments chauds est placé dans le congélateur.
Déactualisation de l'alarme
Appuyer sur le bouton Freezer jusqu'à ce que l'alarme.cesse de sonner.
Détction de pannes
L'appareil peut détector automatiquement des problèmes lors de l'utilisation.
REMARQUE
- Si un problème est detecté, l'appareil ne fonctionne pas et un code d'erreur s'affiche, même lorsqu'un bouton est pressé.
- Si un code d'erreur est indiqué sur l'écran, ne pasmettre l'appareil hors tension. Contacterimmédiatement un centre d'information clientLG Electronics et lui signaler le code d'erreur. Siyou mettez l'appareil hors tension, le techniciendere réparation de notre centre d'informationpeut avoir des difficultés à identifier le problème.
Suggestions relatives à l'économie d'énergie
Pour une utilisation optimale de l'énergie, conservez toutes les pieces internes (par exemple, les bacs de porte, les tiroirs et les étagères) à leur emplacement d'origine.
- S'assurer qu'il y ait suffisamment d'espace entre les alimentes stockés. Cela permet à l'air froid de circuler uniformément et réduit les factures d'électricité.
- Conserver les alimentés chauds seulement après qu'ils ont refroidi afin d'éviter une formation de condensation ou de givre.
- Lors du stockage d'aliments dans le congelateur, régler la température du congelateur à une valeur inférieure à la température indiquée sur l'aliment.
- Ne pas régler la température de l'appareil en dessous de ce qui est nécessaire.
- Ne pasmettre d'aliments àproximé du capteur de température du réfrigérateur. Garder une distance d'au moins 3cmautour du capteur.
Conservation efficace des alimentés
- Les alimentés peuvent gérer ou se gâter s'ils sont conservés à une mauvaise température. Réglez le réfrigerateur à la bonne température pour les alimentés stockés.
- Conservez les alimentés surgelés ou réfrigérés à l'intérieur de recipients hermétiques.
- Vérifier la date d'expiration et l'étiquette (instructions de stockage) avant de stocker de la nourriture dans l'appareil.
- Ne pas stocker les alimentents pendant une longue période s'ils se détiennent facilement à basse température.
- Ne pas placer les alimentes non surgelés en contact direct avec les alimentés déjà congelés. Il pourrait être nécessaire de réduire la quantité de produits à congeler si la congélation quotidienne est anticipée.
- Mettre les alimentes réfrigerés ou surgelés à l'intérieur de chaque compartment
réfrigerateur ou congélateur immédiatement après l'achat.
- Conserver la viande et le poisson crus dans des recipients appropriés au réfrigérateur, de manière à ce qu'ils ne soient pas en contact avec d'autres alimentés ni ne gouttent dessus.
- Les alimentes réfrigerés et autres alimentes peuvent êtrerangés sur le dessus du bac à légumes.
- Éviter de recongeler tout aliment qui a été complètement décongelé. La recongélation d'un aliment qui a été complètement décongelé réduit son goût et ses propriétés nutritives.
- Refroidir les aliments chauds avant de les stocker. Si trop d'aliments chauds sont stockés à l'intérieur, la température interne de l'appareil peut augmenter et affecter négativement d'autres alimentés stockés dans l'appareil.
- Ne pas replir l'appareil en excès. L'air froid ne peut pas circuler correctement si l'appareil est trop rempli.
- Si vous reglez une température trop BASSE pour la nourriture, elle peut geler. Ne pas regler une température inférieure à la température requise pour un stockage correct de la nourriture.
- S'il existe des compartments fraîcheur dans l'appareil, ne pas stocker les légumes et les fruits avec une teneur en humidité plus élevé dans les comportiments fraîcheur car ils peuvent geler en raison de la température plus BASSE.
-
En cas de panne de courant, appeler la compétie d'électricité et demander combien de temps cela durera.
-
Vous devriez éviter les ouvertures de portes lorsque l'alimentation est éteinte.
- Lorsque l'alimentation est rétablie, vérifier l'objet de la nourriture.
Capacité de congélation maximale
- Pour une capacité de congélation maximale, réglez la température du congelateur sur le réglage de température le plus froid.
- La fonction Express Freeze permettra au congélateur d'atteindre sa capacité de
18 UTILISATION
congélation maximale. Elle prend généralement jusqu'à 24 heures et s'arrête automatiquement.
Express Freeze doit être activé pendant 7 heures avant que les produits frais ne soient placés dans le compartment congélateur.
- Pour congeler rapidement les produits alimentaires, rangez les aliments sur le côte gauche du tiroir du haut. Les produits alimentaires se congèlement plus rapidement dans le tiroir.
- Pour une meilleure circulation de l'air, insérer toutes les parties interieures comme les paniers, tiroirs et tablettes.
REMARQUE
- La capacité de congélation maximale de votre apparéil est indiquée sur l'étiquette signalétique à l'intérieur du compartment réfrigerateur.
Étiquette de température OK
Collez l'étiquette OK sur la paroi laterale à l'intérieur du compartment réfrigerateur.
L'étiquette de couleur bleu clair devient bleu foncé lorsque la température du réfrigérateur est égale ou inférieure à 4^ .
REMARQUE
- Si vous retirez l'étiquette, elle risque de ne plus fonctionner correctement.
- Si vous retirez l'étiquette, de l'adhésif restera collé à l'appareil.
Congeler la quantité maximale d'aliments
Si de grandes quantités d'aliments doivent être stockées, tous les tiroirs du concélateur doivent être retirés de l'appareil et les alimentés doivent être empilés directement sur l'étagère (ou les étagères) du concélateur dans le compartment congestionelateur.
ATTENTION
- Pour-retirer les tiroirs, commencez par retarder les alimentes des tiroirs, puis retirez-les delicatement. Ne pas le faire pourrait cause des blessures ou des dommages aux tiroirs.
REMARQUE
- Pour assurer une(Meilleurecirculationde l'air, insérer tous les tiroirs.
- La forme de chaque tiroir peut être différente, les insérer dans la bonne position.
Caracteristiques du produit
L'aspect des composants de l'appareil peuvent varier d'un modele à l'autre.
Intérieur
*1 Cette fonctionnalité n'est disponible que sur certains modèles.

① Lampe LED
Les lampes LED à l'intérieur de l'appareil s'allument lorsque vous ouvrez la porte.
2 Tablette du réfrigérateur
Conserve les alimentés réfrigérés et autres alimentés frais.
- Conserve les alimentés à plus forte teneur en humidité à l'avant de l'étagère.
- La hauteur d'étagère peut être ajustée en insérant l'étagère dans une autre rainure de hauteur différente.
- Le nombre réel de tablettes différent d'un modulo à l'autre.
3 Porte-bouteilles\*1
Stocke les recipients et les grandes bouteilles à l'aide du porte-bouteilles.
ATTENTION
- Ne pas stocker de bouteilles courtes sur le porte-bouteilles. Les articles peuvent tomber et provoquer des blessures ou des dommages à l'appareil.
20 UTILISATION
Etagere plante*1
Elle est réglable pour répondre aux besoin de stockage particuliers.
5 Porte-bouteilles*1
Stocke les recipients et les grandes bouteilles à l'aide du porte-bouteilles.
Tiroir du réfrigérateur*1
Conserve les fruits et legumes pour qu'ils restent frais aussi longtemps que possible.
- Vous pouvez déplacer ce plateau àœufs dans la position souhaitée, à l'exception de l'étagère supérieure du réfrigérateur ou du bac à légumes.
Panier de porte du réfrigérateur
Conserve de petits paquets d'aliments réfrigérés, de boissons et de récipients de sauce.
9 Réservoir du distributeur d'eau*1
Conserve l'eau pour alimenter le distributeur. Il nécessite un replissage manuel.
10 Bac à glaçons
C'est ici que la glace est manuellement produit.
- Pour plus d'espace, vous pouvez-retirer le bac à glaçons ou leseau à glaçons.
Tiroir du congélateur
Conserve les alimentés surgelés pendant une plus longue durée.
Panneau de commande
Le panneau de commande peut différer d'un modele à l'autre.
Panneau de commande et fonctions
*1 Cette fonctionnalité n'est disponible que sur certains modèles.
Le panneau de commande se trouve sur la Porte du Refrigerateur ou à l'intérieur du Refrigerateur selon le modele.

Type A


Type B

22 UTILISATION
Fridge
Appuyez à plusieurs reprises sur ce bouton pour sélectionner la température souhaïée entre 1^ et 7^ .
- La température par défaut du réfrigérateur est de 3^ .
Express Cool
Cette fonction peutRAPIDement refroidir une grande quantite d'aliments tels que des legumes,des fruits,etc.
- Cette fonction est activée et désactivée à chaque fois que vous appuyez sur le bouton pendant 3 secondes.
3 Freezer
Appuyez à plusieurs reprises sur ce bouton pour sélectionner la température souhaïée entre -15 °C et -23 °C.
- La température par défaut du congélateur est de -18^ .
4 Express Freeze
Cette fonction permet de congeiler rapidement une grande quantite de glace ou d'aliments surgelés.
- Appuyez sur le bouton Express Freeze pour activer la fonction pendant 24 heures. La fonction se désactive automatiquement après 24 heures.
- Cette fonction est activée et désactivée à chaque fois que vous appuyez sur le bouton pendant 3 secondes.
- Lorsque ce mode est activé, un bruit peut se produit et la consommation d'énergie peut augmenter.
5 Vacation
Cette fonction est utile lorsque vous étés en vacances. Lorsque cette fonction est activée, la température du réfrigerateur est de 7^ et la température du conGPLateur de -15^ . Lorsque cette fonction est désactivée, la température du réfrigerateur et du conGPLateur revient aux régles de température précédents.
- Cette fonction est activée et désactivée à chaque fois que vous appuyez sur le bouton.
- Lorsque ce mode est activé, les autres boutons ne fonctionnent pas, excepté Lock et Wi-Fi.
- Eco Friendly a été renommée Vacation.
ATTENTION
- Lorsque cette fonction est activée, faites attention à la conservation des alimentés qui nécessitent une température plus basse que la température préréglée.
- Lorsque vous rentrez chez vous, n'oubliez pas de désactiver cette fonction pour déverrouiller les autres boutons et ramener le réfrigerateur à ses réglages de température précédents.
6 Wi-Fi\*1
Ce bouton permet à l'apparéil de se connecter à un réseau Wi-Fi domestique. Reportez-vous aux SMART FUNCTIONS pour obtenir des informations sur la configuration initiale de l'application LG ThinQ.
7 Lock\*1
Verrouille les boutons du panneau de commande.
- Pour verrouiller les boutons du panneau de commande, appuyer et maintainir enforcé le bouton Lock pendant 3 secondes jusqu'à ce que la fonction soit activée.
- Pour désactiver la fonction, appuyer et maintainir enforcé le bouton Lock pendant 3 secondes jusqu'à ce que la fonction soit désactivée.
REMARQUE
- Il est recommendé d'augmenter ou de diminuer de 1^ ou d'un niveau la température par défaut de chaque compartment pour une conservation optimale des aliments.
- La température affichée est la température cible et non la température réelle à l'intérieur de l'appareil.
- La température réelle à l'intérieur de l'appareil dépend des facteurs suivants : la température ambiente, la quantité de nourriture, la fréquence d'ouverture des portes et l'emplacement de l'appareil. Réglez les températures en tenant compte de ces facteurs.
- Le panneau de commande se met automatiquement hors tension pour economiser l'énergie.
- S'il y a un doigt ou un contact avec la peau sur le panneau de commande pendant le nettoyage, la fonction du bouton peut être déclenchée.
Distributeur d'eau
Cette fonctionnalité n'est disponible que sur certains modèles.
Utilisation du distributeur
Vous pouvez distribuer de l'eau en appuyant sur le levier.
- Appuyez sur la palette ① du distributeur d'eau pour Obtir de l'eau froide.

ATTENTION
- Tenir les enfants éloignés du distributeur afin d'empêcher les enfants de jouer avec ou d'endommager les commandes.
REMARQUE
- Si le rebord de la tasse est petit, l'eau peut éclabousser hors du verre ou le manquer complètement.
Nettoyer le distributeur
- Essuyer toute la zone avec un chiffon humide. Le distributeur peut devenir humide facilement à cause de l'eau renversée.
- Essuyer féquèment la sortie du distributeur avec un chiffon propre car elle peut se salir facilement.

ATTENTION
- Pour nettoyer le système de distribution d'eau, faire couler l'eau dans le distributeur pendant environ 2 minutes.
24 UTILISATION
ATTENTION
- Nettoyer régulierement les surfaces pouvant entrairen contact avec des alimentes.
REMARQUE
- Les peluches d'un chiffon peuvent adhérer à la sortie.
Remplissage du réservoir d'eau
Le réservoir d'eau contient l'eau à distribuer.
1 Ouvrez le bouchon du réservoir d'eau.

2 Remplissez le réservoir d'eau avec de l'eau potable et fermez le bouchon.
A VERTISSEMENT
- Remplissez-le d'eau potable seulement. Ne pas replir le réservoir d'eau avec des boissons ou de l'eau chaude.
- Ne pas laisser les enfants à proximé du réservoir d'eau.
ATTENTION
- Ne pas exercer une force excessive ni un impact excessif lors du retrait ou de l'assemblage du réservoir d'eau.
- Si l'eau ne sort pas, replir le réservoir avec de l'eau potable.
REMARQUE
- Le réservoir d'eau doit être lavé avant de le replir d'eau potable.
- Nettoyer les réservoirs d'eau s'ils n'ont pas eté utilisés pendant 48 heures.
Machine à glaçons
Cette fonctionnalité n'est disponible que sur certains modèles.
Utiliser le Bac à Glaçons
C'est ici que la glace est manuellement produit. Remplir le bac à glacons avec de l'eau jusqu'à la ligne indiquée.

A VERTISSEMENT
- Remplir avec de l'eau potable seulement.
ATTENTION
- Veiller à ne pas tordre le bac à glaçons avec force, car il peut se casser.
- Si vous ouvrez et fermez la porte du congélateur féquèment, l'eau prendra beaucoup de temps à geler.
REMARQUE
- Si le bac à glaçons est trop rempli, les glaçons peuvent coller ensemble et être difficiles à enlever.
- La glace peut être retiree plus facilement en versant de l'eau sur le bac à glaçons.
Tiroir du réfrigérateur
Utiliser le Convertisseur de Fraîcheur
Cette fonctionnalité n'est disponible que sur certains modèles.
En tant que compartmenté réfrigéré, la température dans le Fresh Converter peut être contrôle en faisant coulibser le levier ①, situé à l'avant du compartment, dans l'une ou l'autre direction.

Pour conserver des légumes. (Recommendé)
Pour conserver du poisson.
Pour conserver de la viande
REMARQUE
- Ne pas conserver les légumes et fruits en mode Fish ou Meat dans le compartment réfrigéré, car ils peuvent geler en raison de la température plus BASSE.
Utiliser l'Equilibrateur de Fraîcheur
Cette fonctionnalité n'est disponible que sur certains modèles.
L'humidité du compartment à légumes peut être réglée en tournant le bouton ①.

Pour conserver des légumes. (Recommendé)
Pour conserver des fruits.
Retrait/Remise en place du couvercle du bac à légumes
Retrait du couvercle du bac à légumes
1 Soulever l'avant du couvercle d'une main et appuyer sous le couvercle avec l'autre main. Incliner le couvercle à 45 degrés et le tirer vers l'avant pour le retarder.
2Après avoir retire le couvercle du bac à legumes, tirer la section avant du couvercle du bac à legumes vers le bas.

26 UTILISATION
3 Tirer le couvercle du bac à légumes pour le retirer.

Remontage du couvercle du bac à légumes
1 Faire glisser les languettes situées à l'arrière du couvercle du bac à légumes dans les fentes à l'arrière du couvercle du tiroir.

2 Pousser la partie avant du couvercle du bac à légumes pour enclencher les languettes avant.

3 Tenir le couvercle du bac à légumes à un angle de 45 degrés et l'insérer dans le réfrigérateur. En soutenant le couvercle d'une main, l'amener en position horizontale et l'abaisser sur les guides. Remettre le couvercle en place.
Retrait / Remontage du tiroir du réfrigérateur
1 Retirer le contenu du tiroir. Tener la poignée du tiroir et la tirer complètement jusqu'à ce qu'elle s'arrêté.
2 Soulever le tiroir et le sortir en le tirant.

3 Remonter le tiroir dans l'ordre inverse du processus de retrait.
Tablette
Utiliser une Étagère Pliante
Cette fonctionnalité n'est disponible que sur certains modèles.
Stocker des articles plus grands, comme un grand contenant ou des bouteilles, en poussant la moitié avant de l'étagère sous la moitié arrêté de l'étagère.
- Tirer l'avant de l'étagère vers l'avant pour revenir à une étagère complète.

Retrait / Remontage de l'étagère
1 Tenir les deux côtés de la tablette. Soulever la tablette et la retarder en la tirant.

2 Remetre la tablette en la faisant glisser vers l'intérieur jusqu'à ce qu'elle s'enclenche dans le cadre.
2 Soulever le tiroir et le sortir en le tirant.

3 Remonter le tiroir dans l'ordre inverse du processus de retrait.
Panier de porte
Retrait / Remise en place du panier de porte
1 Tenir les deux bords du panier et le retarder en le soulevant vers le haut.

2 Remonter le panier de porte dans l'ordre inverse du processus de retrait.
Tiroir du congélateur
Retrait / Remontage du tiroir du congélateur
1 Retirer le contenu du tiroir. Tener la poignée du tiroir et la tirer complètement jusqu'à ce qu'elle s'arrête.
28 FONCTIONS SMART
FONCTIONS SMART
Cette fonctionnalité est uniquement disponible sur les modèles avec le Wi-Fi.
L'application LG ThinQ vous permet de communiquer avec l'appareil à l'aide d'un smartphone.
Caracteristiques de l'application LG ThinQ
Communiquez avec le dispositif depuis un SmartPhone au moyen de fonctions intelligentes.
Smart Diagnosis
- Si vous rencontres un problème lors de l'utilisation de l'appareil, cette fonction de diagnostic intelligent vous aidera a diagnostiquer le problème.
Réglages
- Vous permet de régler plusieurs options dans l'appareil et dans l'application.
REMARQUE
- Si vous changez le routeur sans fil, le fournisseur de services Internet ou le mot de passer, supprimer l'appareil enregistré de l'application LG ThinQ et l'enregistrer à nouveau.
- L'application peut changer, dans le but d'améliorer le produit, sans que les utilisateurs n'en soient informés.
- Les caractéristiques peuvent varier selon le modele.
Avant d'utiliser l'application LG ThinQ
1 Vérifier la distance entre l'appareil et le routeur sans fil (Réseau Wi-Fi).
- Si la distance entre l'appareil et le routeur sans fil est trop éloignée, la puissance du signal devient faible. L'installation peut prendre trop de temps ou l'installation peut échouer.
2 Désactiver les Données mobiles ou les données cellulaires sur votre smartphone.

3 Connectez votre smartphone au routeur sans fil.

REMARQUE
- Pour vérifier la connexion Wi-Fi, vérifie que l'indicateur Wi-Fi s'allume sur le panneau de commande.
L'appareil prend en charge les réseaux Wi-Fi 2,4 GHz uniquement. Pour vérifier la fréquence de votre réseau, contacter votre fournisseur de services Internet ou consulter le manuel de votre routeur sans fil.
LG ThinQ ne saurait être tenu responsable en cas de problèmes de connexion au réseau, ou de problèmes/dysfonctionnements/erreurs provoqués par la connexion réseau. - Si l'appareil a du mal à se connecter au Wi-Fi, il se peut qu'il soit trop éloigné du routeur. Achetez un amplificateur de signal WIFI pour améliorer la force du signal.
- La connexion Wi-Fi peut avoir du mal à s'établier, ou peut être coupée à cause d'un environnement génant.
-
La connexion réseau peut avoir du mal à fonctionner, en fonction du fournisseur d'accès choisi.
L'environnement sans fil peut entrainer un ralentissement du réseau. -
L'appareil ne peut pas'être enregistré en raison de problèmes liés à la transmission du signal sans fil. Débranchez l'appareil et attendez environ une minute avant de réessayer.
- Si le pare-feu de votre routeur sans fil est activé, désactiver que le pare-feu ou ajoutez une exception à ce dernier.
- Le nom du réseau sans fil (SSID) doit être une combinaison de lettres et de chiffres en français (N'utilisez pas de caractères spéciaux).
- L'interface d'utilisateur du Smartphone (IU) peut varier en fonction du système d'exploitation du téléphone (SE) et du fabricant.
- Si le protocole de sécurité du routeur est configuré sur WEP, il est possible que vous ne puissiez pas configurer le réseau. Veuillez le modifier par d'autres protocoles de sécurité (WPA2 est recommendé) et enregistrer le produit à nouveau.
instructions dans l'application pour enregistrer l'appareil.
REMARQUE
- Pour désactiver la fonction Wi-Fi, dévelopir le bouton Wi-Fi appuyé pendant 3 secondes. L'indicateur Wi-Fi s'éteindra.
Déclaration de conformité
C E
Par la première, LG Electronics déclare que le type d'équipement radio Réfrigérateur est conforme à la Directive 2014/53/UE. Le texte intégral de la déclaration de conformité EU est disponible à l'adresse internet suivante :
http://www-lg.com/global/support/cedoc/cedoc#
Installation de l'application LG ThinQ
Chercher l'application LG ThinQ dans Google Play Store & Apple App Store sur un smartphone. Suivez les instructions pour télécharger et installer l'application.
Connexion à un réseau Wi-Fi
La touche Wi-Fi, lorsqu'elle est utilisée avec l'application LG ThinQ, permet à l'appareil de se connecter à un réseau Wi-Fi domestique. L'indicateur Wi-Fi indique l'état de la connexion réseau de l'appareil. L'indicateur Wi-Fi s'allume lorsque l'appareil est connecté au réseau Wi-Fi.
- Enregistrement initial de l'appareil
Lancer l'application LG ThinQ et suivre les instructions dans l'application pour enregistrer l'appareil.
- Rénregisterl'appareil ou enregistrer un autre'utilisateur
Maintenir le bouton Wi-Fi appuyé pendant 3 secondes pour le désactiver temporairement. Lancer l'application LG ThinQ et suivre les
Informations sur les logiciels libres
Pour obtenir le code source sous les licences GPL, LGPL, MPL et autres licences de source ouverte qui ont l'obligation de divulguer le code source, qui est contenu dans ce produit, et pour acceder à toutes les conditions de licence mentionnées, aux avis de droits d'auteur et autres documents pertinents, veillez visiter le site https://opensource.lge.com. LG Electronics peut aussi vous fournir le code source sur CD-ROM moyenant le paiement des frais de distribution (support, envoi et manutention) sur simple demande adressée par e-mail à opensource@lge.com.
Cette offre est valable pour toute personne reçevant ces informations pendant une période de trois ans après notre dernière expulsion de ce produit.
Smart Diagnosis
Cette fonctionnalité n'est disponible que sur certains modèles.
30 FONCTIONS SMART
Utilisez cette fonctionnalité pour vous aider à diagnostiquer et à résoudre des problèmes liés à votre apparéil.
REMARQUE
- Pour des raisons qui ne sont pas imputables à la négligence de LGE, le service peut ne pas fonctionner en raison de facteurs externes tels que, notamment, l' indisponibilité du Wi-Fi, la déconnexion du Wi-Fi, la politique du service d'applications local ou la non-disponibilité de l'application.
- La fonctionnalité peut être sujette à modification sans préavis et peut avoir une forme différente en fonction de l'endetroit où vous vous trouvez.
Utiliser LG ThinQ pour diagnosticer des problèmes
Si vous rencontres un problème avec votre apparéil équipé Wi-Fi, il peut transmettre des données de dépannage à un smartphone à l'aide de l'application LG ThinQ.
- Lancez l'application LG ThinQ et selectionnez la fonction Smart Diagnosis dans le menu. Suivez les instructions fournies dans l'application LG ThinQ.
Utiliser le diagnostic sonore pour diagnostique des problèmes
*1 Ce panneau de commande n'est disponible que sur certains modèles.
Pour utiliser la méthode de diagnostic sonore, suivre les instructions ci-dessous.
- Lancez l'application LG ThinQ et selectionnez la fonction Smart Diagnosis dans le menu. Suivez les instructions de diagnostic sonore fournies dans l'application LG ThinQ.
Panneau de commande 1: sur la porte du réfrigérateur\*1
1 Appuyer sur le bouton Lock pour activer la fonction de verrouillage.
- Si l'affichage a ete verrouillé pendant plus de 5 minutes, vous nevez désactiver le verrouillage, puis le reactiver.
2 Appuyer et maintainir le bouton Freezer pendant 3 secondes ou plus.
3 Ouvrez la porte, puis maintenez le téléphone près du trou du haut-parleur.

4 Une fois le transfert des données terminé, le diagnostic s'affiche dans l'application.
Panneau de commande 2: à l'intérieur du réfrigérateur*1
1 Ouvrez la portedu réfrigérateur.
2 Appuyer sur le bouton Vacation.
- Si la porte a été ouverte pendant plus de 60 secondes, fermer la porte et répéter les étapes 1 et 2.
- Eco Friendly a été renommée Vacation.
3 Tenir le téléphone après du trou du haut-parleur.

4 Appuyez et maintenez le bouton Freezer pendant au moins 3 secondes tout en tenant
votre telephone sur le haut-parleur jusqu'à ce que le transfert des données soit terminé.
5 Une fois le transfert des données terminé, le diagnostic s'affiche dans l'application.
REMARQUE
- Pour deromeilleurs résultats,ne pas déplacer le téléphone pendant la transmission des tonalités.
32 MAINTENANCE
MAINTENANCE
Nettoyage
Conseils de nettoyage généraux
- L'exécution du dégivrage manuel, de la maintenance ou du nettoyage de l'appareil alors que les alimentents sont congelés dans le congélateur peut augmenter la température des produits alimentaires et réduire leur durée de conservation.
- Nettoyer régulierement les surfaces pouvant entrairen contact avec des aliments.
-
Lors du nettoyage interieur ou extérieur de l'appareil, ne pas l'essuyer avec unerosse dure, du dentifrice ou des matériaux inflammables. Ne pas utiliser de produits de nettoyage contenant des substances inflammables. Cela peut provoquer une décoloration ou des dommages à l'appareil.
-
Substances inflammables : alcohol (ethanol, methanol, alcohol isopropylique, alcohol isobutylique, etc.), diluant, eau de javel, benzène, liquide inflammable, abrasif, etc.
-
Àprous le nettoyage, vérifier si le cable d'alimentation est endommagé.
Nettoyage de l'extérieur
- En cas de nettoyage des bouches d'aération à l'extérieur de l'appareil au moyen d'un aspirateur, le cordon d'alimentation doit être débranché de la prise afin d'éviter toute décharge statique qui peut endommager les composants électroniques ou provoquer un choc électric. Un nettoyage régulier des capots de ventilation arrêté et lateraux est recommendé pour maintainir un fonctionnement fiable et économique de l'appareil.
- Veiller à la propriété des bouches d'áération à l'extérieur de l'appareil. Des bouches d'áération obstruées peuvent provoquer un incendie ou endommager l'appareil.
- Pour l'extérieur de l'appareil, utiliser une éponge propre ou un chiffon doux et un détermgent doux
Dans de l'eau tiède. Ne pas utiliser de nettoyants abrasifs ou corrosifs. Sécher soigneusement avec un chiffon doux. Ne pas utiliser de chiffons contaminés lors du nettoyage des portes en acier inoxydable. Toujours utiliser un chiffon dédié et essuyer dans le même sens que le grain. Cela aide à réduire les taches et le ternissement de la surface.
Nettoyage de l'intérieur
- Lorsque vous retirez une tablette ou un tiroir dans l'appareil, enlever tous les aliments stockés sur la tablette ou le tiroir afin d'éviter des blessures ou des dommages à l'appareil. Dans le cas contraire, des blessures peuvent survenir en raison du poids des aliments stockés.
- Detacher les tablettes et les tiroirs et les nettoyer avec de l'eau, puis les sécher suffisamment avant de les replacer.
- Essuyer régulierement les joints de la porte avec un chiffon doux et humide.
- Le panier de porte fuit et les taches doivent être nettoyées car elles peuvent compromètre la capacité de stockage du panier et même l'endommager.
- Ne jamais nettoyer les tablettes ou les recipients au lave-vaisselle. Les parties peuvent se déformer en raison de la chaleur.
- Le système de dégivrage automatique dans l'appareil garantit que le compartment reste exempt d'accumulation de glace dans des conditions de fonctionnement normales. Les utilisateurs n'ont pas besoin de le décongeler manuellement.
DéPANNAGE
Avant d'appeler le service
Refroidissement
| Symptômes | Cause possible et solution |
| Il n'y a pas de réfrigération ou de congélation. | Y a-t-il une coupure de courant ?Vérifier l'alimentation électrique d'autres apparciels. |
| L'appareil est débranché.Brancher correctement la fiche d'alimentation dans la prise. | |
| Un fusible dans votre maison peut être grillé ou le disjoncteur s'est déclenché. Ou l'appareil est connecté à une prise DDFT (disjoncteur différentiel de fuite à la terre) et le disjoncteur de la prise s'est déclenché.Vérifiez le boîtier électrique principal et remplacez le fusible ou reactivez le disjoncteur. N'augmentez pas la capacité du fusible. Si le problème est une surcharge du circuit, faites répacker cette panne par un électricien qualifié.Réinitialisez le disjoncteur du DDFT. Si le problème persiste, contactez un électricien. | |
| La réfrigération ou la congélation est mauvaise. | La température du réfrigérateur ou du congélateur est-elle régée au plus chaud ?Régler la température du réfrigérateur ou du congélateur à un réglage plus froid. |
| L'appareil se trouve-t-il en plein soleil, ou est-il près d'un objet générant de la chaleur, tel qu'un four ou un radiateur ?Vérifier la zone d'installation et le réinstaller loin d'objects produitant de la chaleur. | |
| Avez-vous stocké de la nourriture chaude sans la refroidir au préalable ?Refroidir la nourriture chaude avant de la dette dans le compartment réfrigérateur ou le congélateur. | |
| Avez-vous mis trop de nourriture ?Maintenir un espace approprié entre les alimentés. | |
| Les portes de l'appareil sont-elles complètement fermées ?Fermer complètement laporte et s'assurer que la nourriture stockée ne coince pas la porte. | |
| Y a-t-il suffisamment d'espace autour de l'appareil ?Ajuster la position de l'installation pour qu'il y ait suffisamment d'espace autour de l'appareil. |
34 DÉPANNAGE
| Symptômes | Cause possible et solution |
| L'appareil a une mauvaise odeur. | La température du réfrigérateur ou du congélateur est-elle régée sur « Chaud »? • Régler la température du réfrigérateur ou du congélateur à un réglage plus froid. |
| Avez-vous mis des alimentés avec une forte odeur? • Conserver les alimentés ayant de fortes odeurs dans un recipient hermétique. | |
| Des légumes ou des fruits sont-ils pourris dans le tiroir? • Jeter les légumes pours ris et nettoyer le bac à légumes. Ne pas stocker de légumes trop longtemps dans le bac à légumes. |
Eau
| Symptômes | Cause possible et solution |
| L'eau ne sort pas. | Le réservoir de distribution d'eau est peut-être vide. (Modèles sans plomberie uniquement) • Remplir le réservoir du distributeur d'eau. |
Condensation et givre
| Symptômes | Cause possible et solution |
| Il y a de la condensation à l'intérieur de l'appareil ou sur le fond du capot du bac à légumes. | Avez-vous stocké de la nourriture chaude sans la refroidir au préalable ? · Laissez refroidir les alimentés chauds avant de les placer au congélateur. |
| Avez-vous laissé la porte de l'appareil ouverte ? · Bien que la condensation disparaisse lorsque vous fermez la porte de l'appareil, vous pouvez l'essuyer avec un chiffon sec. | |
| Avez-vous ouvert et fermé la porte de l'appareil trop féquèment ? · Il se peut que de la condensation se forme en raison de la différence de température avec l'extérieur. Essuyer l'humidité avec un chiffon sec. | |
| Avez-vous mis des alimentés chauds ou humides à l'intérieur sans les sceller dans un récipient ? · Conserver les alimentés dans un récipient couvert ou hermétique. | |
| Du givre s'est formé dans le compartment congélateur. | Les portes ne sont peut-être pas bien fermées ? · Vérifier qu'aucun alimentant à l'intérieur de l'appareil ne bloque la porte et s'assurer que la porte soit bien fermée. |
| Du givre s'est formé dans le compartment congélateur. | Avez-vous stocké de la nourriture chaude sans la refroidir au préalable ?· Refroidir la nourriture chaude avant de la mesure dans le compartment réfrigérateur ou le congélateur. |
| L'entrée ou la sortie d'air du congélateur est-elle obstruée ?· S'assurer que l'entrée ou la sortie d'air ne soit pas obstruée afin que l'air puisse circuler à l'intérieur. | |
| Le congélateur est-il trop rempli ?· Maintenir un espace approprié entre les articles. | |
| Du givre ou de la condensation s'est formé à l'intérieur ou à l'extérieur de l'appareil. | Avez-vous ouvert et fermé la porte de l'appareil trop féquèment ou la porte de l'appareil est-elle mal fermée ?· Du givre ou de la condensation peuvent se former si l'air extérieur pénétre à l'intérieur de l'appareil. |
| L'environnement d'installation est-il humide ?· De la condensation peut apparfaître sur l'extérieur de l'appareil si la zone d'installation est trop humide ou lors d'une journée humide comme un jour de pluie. Essuyer l'humidité avec un chiffon sec. | |
| Le côté ou l'avant de l'appareil est chaud. | Des tuyaux anti-condensation sont installés sur ces zones de l'appareil afin de réduire la formation de condensation autour de la zone de la porte.· Le tuyau de dégagement de la chaleur pour empêcher la condensation est installé sur l'avant et le côté de l'appareil. Vous pouze le trouver particulièrement chaud juste après l'installation de l'appareil ou pendant l'éte. Vous pouze être assuré qu'il ne s'agit pas d'un problème et que c'est normal. |
| Il y a de l'eau à l'intérieur ou à l'extérieur de l'appareil. | Y a-t-il une fuite d'eau autour de l'appareil ?· Vérifier si de l'eau a fui d'un évier ou d'un autre endroit. |
| Y a-t-il de l'eau sur le fond de l'appareil ?· Vérifier si l'eau provient d'aliments congélés qui se sont décongelés ou d'un réseau cassé ou tombé. |
Pièces et caractéristiques
| Symptômes | Cause possible et solution |
| La porte de l'appareil n'est pas bien fermée. | L'appareil est-il penché vers l'avant? • Ajuster les pieds avant pourSoulever légèrement le côte avant. Les tablettes étaient-elles bien assemblées? • Remonter les tablettes si nécessaire. |
| La porte de l'appareil n'est pas bien fermée. | Avez-vous fermé la porte avec une force excessive? • Si vous appliquez trop de force ou de vitesse lors de la fermeture de la porte, elle peut rester légèrement ouverte. S'assurer de ne pas pousser la porte trop violemment. La fermer sans force. |
| La porte de l'appareil est difficile à ouvrir. | Avez-vous ouvert la porte juste après l'avoir fermée? • Si vous essayez d'ouvoir la porte de l'appareil moins de 1 minute après l'avoir fermée, vous pouvez avoir des difficultés en raison de la pression qui se trouve à l'intérieur de l'appareil. Essayer d'ouvoir à nouveau la porte de l'appareil au bout de quelques minutes afin que la pression interne se stabilise. |
| La lampe à l'intérieur de l'appareil ne s'allume pas. | Défaillance de la lampe • Fermez la porte et rouvre-la. Si la lampe ne s'allume pas, veuillez contacter le centre d'informations client de LG Electronics. Ne tentez pas de-retirer la lampe. |
Bruits
| Symptômes | Cause possible et solution |
| L'appareil est bruyant et génére dessons anormaux. | L'appareil est-il installé sur un sol faible ou qui n'est pas de niveau ?• Installer l'appareil sur un sol ferme et de niveau. |
| L'arrière de l'appareil touche-t-il le mur ?• Ajuster la position de l'installation pour qu'il y ait suffisamment d'espace autour de l'appareil. | |
| Y a-t-il des objets éparpillés derrière l'appareil ?• Retirer les objets éparpillés derrière l'appareil. | |
| Y a-t-il un objet sur le dessus de l'appareil ?• Enlever l'objet sur le dessus de l'appareil. | |
| Bruits de clicks | Le contrôle de dégivrage émet un click lorsque le cycle de dégivrage automatique commence et se termine. La commande du thermostat (ou la commande de l'appareil sur certains modèles) émet également un click lorsque le cycle démarre et s'arrêté.Fonctionnement normal |
| Bruits de cliquetis | L'appareil ne repose pas de manière égale au sol.Le sol est faible ou inégal ou les pieds de mise à niveau doivent être régliés. |
| L'appareil avec un compréseur a été déplacependant son fonctionnement.Fonctionnement normal. Si le cliquetis du compréseur ne s'arrêté pas au bout de 3 minutes,mettre l'alimentation de l'appareil hors tension,puis à nouveau sous tension. | |
| Crissemements | Le moteur du ventilateur de l'évaporateur fait circuler l'air à travers les compartments du réfrigérateur et du congélateur. • Fonctionnement normal |
| L'air est forcé sur le condenseur par le ventilateur du condenseur. • Fonctionnement normal | |
| Gargouillements | Débit de l'appareil à travers le système de refroidissement. • Fonctionnement normal |
| Claquements | Contraction et expansion des parois internes du fait de changements de température. • Fonctionnement normal |
| Vibrations | Si le côte ou l'arrière de l'appareil touche un meuble ou un mur, une partie des vibrations normales peut devenir audible. • Pour éliminer le bruit, s'assurer que les côts et l'arrière ne puissant pas toucher un mur ou une armoire. |
Wi-Fi
| Symptômes | Cause possible et solution |
| Votre apparéil ménager et votre smartphone ne sont pas connectés au réseau Wi-Fi. | Le mot de passer du Wi-Fi auquel vous essayez de vous connecter est incorrect.Trouvez le réseau Wi-Fi connecté à votre smartphone et supprimez-le, puis enregistrez votre apparéil sur LG ThinQ. |
| Les Données mobiles sont activées sur votre smartphone.Désactiver les Données Mobiles de votre smartphone et enregistrer l' apparéil à l'aide du réseau Wi-Fi. | |
| Le nom du réseau sans fil (SSID) est défini de manière incorrecte.Le nom du réseau sans fil (SSID) doit être une combinaison de lettres et de chiffres en français (N'utilisez pas de caractères spéciaux). | |
| La fréquence du routeur n'est pas de 2,4 GHz.Seule une fréquence de routeur de 2,4 GHz est prise en charge. Réglez le routeur sans fil sur 2,4 GHz et connectez l' apparéil au routeur sans fil. Pour vérifier la fréquence du routeur, consultez votre fournisseur de services Internet ou le fabricant du routeur. | |
| La distance entre l' apparéil et le routeur est trop éloignée.Si la distance entre l' apparéil et le routeur est trop éloignée, le signal peut être faible et la connexion peut ne pas être configurée correctement.Déplacez le routeur de manière qu'il soit plus proche de l' apparéil. |
38 DÉPANNAGE
Service à la clientèle
Contactez le centre d'informations client LG Electronics.
- Pour couver des informations sur le centre de service agréé LG, consultez notre page web sur www/lg.com.
- Seul le personnel technique qualifié du centre de service LG peut démonter, réparer, ou modifier l'appareil.
- La période de garantie minimale de cet appareil de réfrigération est de 24 mois.
- Les pieces de rechange référencées dans la Réglementation 2019/2019 de l'EU sont disponibles pour une durée de 7 ans (seuls les joints d'échéité sont disponibles pendant 10 ans).
- Pour acheter des pieces de rechange, contactez un centre d'informations à la clientèle LG Electronics ou notre page web sur www/lg.com.
REMARQUE
- Le Règlement UE 2019/2019, valable à partir du 1er mars 2021, est lié aux classes d'efficacité énergétique par le Règlement UE 2019/2016.
- Pour plus d'informations concernant l'efficacité énergétique de l'appareil, visitez https://ec.europa.eu et faites une recherche avec le nom du modulo (valide jusqu'au 1er mars 2021).
- Scannez le code QR indiqué sur l'étiquette énergétique fournit avec l'appareil, qui fournit un lien Web vers les informations relatives aux performances de l'appareil dans la base de données UE EPREL. Conservez l'étiquette énergétique pour référence ainsi que tous les autres documents fournis avec l'appareil (valide jusqu'àu 1er mars 2021).
- Le nom du modulo se trouve sur l'étiquette de classement de l'appareil.
- Ce produit contient une source lumineuse de classe d'efficacité énergétique G.

Note


Life's Good
Notice Facile