YM-09 C1 BLANC - Climatiseur YACK - Notice d'utilisation et mode d'emploi gratuit
Retrouvez gratuitement la notice de l'appareil YM-09 C1 BLANC YACK au format PDF.
| Type d'appareil | Climatiseur mobile |
| Fonctions | Refroidissement, déshumidification, ventilation |
| Puissance frigorifique | Non précisé |
| Consommation électrique | Non précisé |
| Alimentation | 230 V / 50 Hz |
| Niveau sonore | Non précisé |
| Capacité du réservoir d'eau | Non précisé |
| Dimensions | Compact, portable |
| Poids | Non précisé |
| Type de gaz réfrigérant | Non précisé |
| Mode de contrôle | Tableau de commande intégré |
| Débit d'air | Non précisé |
| Fonction minuterie | Oui |
| Mode veille | Oui |
| Mobilité | Roues intégrées |
| Installation | Facile, sans installation fixe |
FOIRE AUX QUESTIONS - YM-09 C1 BLANC YACK
Téléchargez la notice de votre Climatiseur au format PDF gratuitement ! Retrouvez votre notice YM-09 C1 BLANC - YACK et reprennez votre appareil électronique en main. Sur cette page sont publiés tous les documents nécessaires à l'utilisation de votre appareil YM-09 C1 BLANC de la marque YACK.
MODE D'EMPLOI YM-09 C1 BLANC YACK
Nous vous remercions d'avoir besoin ce système de climatisation.
Avant la mise en service de votre apparéil, veuilles lire attentivement ce manuel d'utilisation. Conservez le pour des consultations ultérieures.
TABLE DES MATIERES
page
- Précautions d'emploi 3
- sécurité 3
* mise en garde 4
2.Description de l'appareil 5
* le climatiseur mobile 5
* les accessoires 5 - Installation 6
*1'emplacement 6
* la sortie d'air 6 - Utilisation du climatiseur 7
* le panneau de contrôle 7
* la commande a distance 9
* l'eau de condensation 9 - Entretien de l'appareil 10
- En cas de problèmes ... 11
1. PRECAUTIONS D'EMPLOI
Comme pour tout apparéil électrique, vous doivent respecter certaines précautions d'emploi lors de l'usage de votre climateur.
Une utilisation non adaptée de votre apparéil entraînera une annulation de la garantie fournie par le fabricant.
Sécurité
- Vérifier que le voltage de l'appareil correspond bien à celui de votre installation.
- Eviter les rallonges électriques et les blocs multi-prises ; un courant excessif, une mauvaise isolation, une connexion intermédiaire peuvent entraîner un incendie.
- Réserver si possible une ligne et une prise exclusive pour chaque apparéil électrique, avec un fusible distinct.
- Contrôler régulièrement l'état de votre cordon d'alimentation (un court-circuit peut provoquer une électrocution ou un incendie); ne pas tirer sur le cordon pour débrancher la prise électrique de l'appareil.
- Arrête l'appareil avant de débrancher le cordon d'alimentation. Débrancher l'appareil en cas d'inutilisation prolongée.
- Arrête et débrancher l'appareil immédiatement en cas d'anomalie.
- Ne pas introduire d'objets pointus ou métalliques, ne pas introduire les doigts dans les grilles d'aération.
- Ne pas utiliser l'appareil à côté d'un point d'eau; ne pas le mouiller ou l'asperger d'eau.
Mise en garde
- Il est déconseilé de s'exposer directement à l'air frais de l'appareil pendant une période prolongée.
- Ne jamais utiliser l'appareil de climatisation pour rafraîchir, ou refroidir, ou conserver des aliments, des produits, etc...
- Ne pas laisser à la disposition des enfants.
- Ne pas laisser les portes et les fenêtres grandes ouvertes pendant l'utilisation du climatiseur; mais renouveler périodiquement l'air des pieces pour un meilleur comfort.
- Ne pas couvrir les entrées et sorties d'air avec des vêtements, des linges ou autres; ne pas utiliser ce climatiseur pour faire secher du linge, ni en mode climatiseur, ni en mode chauffage (si votre apparéil en est équipé).
- Maintenir l'appareil en position verticale pendant l'utilisation (et le plus possible pendant les manipulations et déplacements).
- Lire et respecter les instructions d'installation de l'appareil (cf. Chapitre 3 - INSTALLATION).
- Lire et respecter les instructions d'entretien et de nettoyage périodique (cf. Chapitre 5 - ENTRETIEN).
2.DESCRIPTION DE L'APPAREIL
Le climatiseur mobile
Vu de face, l'appareil comprend :
- un panneau de contrôle, au dessus des grilles de ventilation
- des grilles de ventilation horizontales,
- des grilles de ventilation verticales (derrière les grilles horizontales)
Sur le coté droit :
4. un réservoir d'eau de condensation,
5. une poignée.
A l'arrête :
- la sortie du cordon d'alimentation électrique,
- une grille de sortie d'air chaud (au milieu du panneau arrêté),
- une grille de prise d'air (en bas du panneau arrêté).
Sur le coté gauche :
4. deux grilles d'airation,
5. une poignée.
Dessous : 4 roulettes


Les accessoires
- un boîtier de commande à distance avec 2 piles,
- une plaque de branchement de sortie d'air chaud à installer à l'arrière de l'appareil avec les vis jointes (un coté carré, un coté rond),
-
un conduit plastique de sortie d'air chaud qui s'encastre dans le branchement de sortie ci-dessus ; ce conduit est plus ou moins extensible suivant les besoin (0.5m à 2m),
-
si nécessaire, un adaptateur du conduit plastique pour porte ou fenêtre (un coté rond, un coté ovale),
- si nécessaire, une plaque d'iso1ation reglable en longueur pour fixer 1'adaptateur du conduit (coté ovale),
- 2 crochets à visser pour enrouler le cable d'alimentation électrique.

1


4

6
3. INSTALLATION
L'emplacement
Votreclimatiseur est mobile.Vous pouvezdonlcdeplaceret1installerdansdifferentespièces suivantvosbesoins.
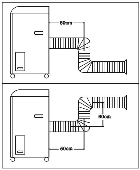
Cependant, pour un bon fonctionnement et un bon rendement de l'appareil, il est conseillé de laisser un espace de 0,50 mètre tout autour du climatiseur ; la circulation de l'air en est facilitée.

La sortie d'air
Remarques : les accessoires d'installation sontrangés dans le haut de l'emballage de l'appareil, soit dans les emplacements prevus, soit dans leur emballage plastique ou dans l'intérieur du conduit d'aération.
- Fixer à l'arrête de l'appareil le branchement de sortie d'air (accessoire numéro 2) avec les vis correspondantes.
- Fixer, si nécessaire, l'adaptateur de conduit plastique (accessoire numero 4) et la plaque d'iso1ation (accessoire numero 5) en cas de sortie d'air fixe sur une fenetre.
- Encastrer le conduit de sortie d'air (accessoire numéro 3) à l'arrête de l'appareil dans la plaque de branchement et, le cas échéant dans l'adaptateur à l'autre bout.


Recommendations :
- Utiliser le minimum de longueur du conduit de sortie d'air.
- Toujours essayer de maintainir le conduit de sortie d'air le plus droit et le plus horizontal possible : éviter plus de deux coudes à 90°.

4. UTILISATION DU CLIMATISEUR
Remarque: toutes les fonctions du panneau de contrôle sont disponibles sur la commande à distance. ÀpRES avoir lu le fonctionnement du panneau de contrôle ci-
dessous, nous vous conseillons d'utiliser cette commande à distance qui vous évite de vous déplacer, en usage courant.
Le panneau de contrôle
Sur ce panneau, on trouve de gauche à droite :

1 Le bouton « MARCHE/ARRET »

Au branchement de la prise électrique, le voyant rouge au-dessus de « MARCHE/ARRET» s'allume et il émet un petit bip sonore.
Appuyer sur « MARCHE/ARRET» pour démarrer l'appareil: le climatiseur démarre dans l'état où il a été précédemment arrêté (par exemple, en mode « FROID » et à vitesse « MOYEN »). Il est alors possible de changer le mode de fonctionnement de l'appareil, soit depuis le panneau de contrôle, soit en utilisant la commande à distance.
Lorsque l'appareil fonctionne, appuyer sur « MARCHE/ARRET » pour arrêté l'appareil : ne pas débrancher la prise électrique - sauf urgence - sans avoir au préalable arrêté l'appareil.
1 Le bouton « MODE »

Appuyer sur « MODE » pour changer de mode de fonctionnement. Il y a 3 modes de fonctionnement de l'appareil :
- « FROID »-rafraichissement
- « DESHU »-déshumidification
- « VENT »-ventilation
Unvoyant lumineux vert au-dessus du bouton « MODE » indique le mode de fonctionnement sélectionné.
La fenêtre centrale affiche sur 2 caractères rouges la température ambiente de la piece soit en degrés Celsius °C (standard européen), soit en degrés Fahrenheit °F (standard anglo-saxon). Pour passer d'un affichage en degrés Celsius à un affichage en degrés Fahrenheit, utiliser la touche °C → °F de la commande à distance ; et vice versa.
Utiliser les 2 boutons « TEMP/TIME » avec les flèches ‘vers le haut ‘ et ‘vers le bas’ pour définir la température désirée en mode rafraîchissement. Appuyer sur ces flèches autant de fois que nécessaire pour afficher la température désirée ; cette température va alors clignoter pendant 5 secondes, puis elle sera enregistrée et la fenêtre réaffichera la température ambiente de la pierce.
1 Le bouton « VENT. »

Le bouton « VENT. » permet deCHOISIR la vitesse du ventilateur. Il y a 3 vitesses possibles : * « GRAND »-rapide
- « MOYEN »-moyenne
- « PETIT »-lente.
Un voyant lumineux rouge au-dessus du bouton « VENT. » indique la vitesse sélectionnée.
1 Le bouton « MINUTEUR »

Le bouton « MINUTEUR » permet d'enregistrer, soit l'heure du prochain arrêt, soit l'heure de redémarrage de l'appareil.
En appuyant une fois sur « MINUTEUR » et ensuite en utilisant les flèches « vers le haut « et « vers le bas » au dessus de « TEMP/MINUT », Sélectionner un nombre d'heures de 1 à 24 (par exemple « 2 »).
La fenêtre va clignoter pendant 5 secondes (en affichant « 2 »), puis ce nombre d'heures (« 2 ») est enregistré et la fenêtre réaffiche la température ambiente.
Si l'appareil est maintainant arrêté manuellement (avec la touche « MARCHE/ARRET » du panneau de contrôle ou de la commande à distance), il redémarrera automatiquement seul dans « 2 » heures.
Si l'appareil continue à fonctionner, il s'arrête automatiquement seul dans « 2 » heures.
La commande à distance
Les fonctions de la commande à distance sont les mêmes que celles du panneau de contrôle, hormis les fonctions supplémentaires suivantes :
1 Le bouton « REG. MINUT. »

Lorsque l'appareil est en mode « MINUTEUR » (indication lumineuse éclairée), vous pouvez changer la programmation en appuyant sur ce bouton et modifier l'heure par les boutons et.
2 Le bouton « DIRECTION »

Presser sur ce bouton et le volets de soufflages verticaux Oscilleront de gauche à droite, permettant le réglage du flux d'air.
L'eau de condensation
Les modes rafraîchissement et déshumidification produit de l'eau de condensation qui est récapurée dans un réservoir (coté droit de l'appareil).
Quand le réserve d'eau est plein, l'indicateur de température sur le panneau de contrôle clignote dans la fenêtre centrale et le compresseur s'arrête automatiquement. Sortir le réserve de son logement, le vider et le remettre en place. Le compresseur redémarre automatiquement.



Attention :
- Ne pas-retirer le réservoir d'eau lorsque l'appareil est en fonctionnement. Pour vider le réservoir partiellement rempli, d'abord arrêté l'appareil et attendre 3 minutes que toute l'eau de condensation soit tombée dans le réservoir.
- Ne pas enlever le bouchon du tuyau en plastique en fonctionnement (l'eau dans ce tuyau sert au refroidissement interne de l'appareil).
5.ENTRETIEN DE L'APPAREIL
L'appareil doit impérativement être arrêté et débranché du secteur pour effectuer toute opération d'entretien.
Filtre à air
Nettoyer le filtré à air 2 fois par mois.
Soulever le couvercle du filtré à air, prendre le filtré à air et le laver en l'immergeant dans de l'eau pas trop chaude (environ 40^ ) avec un détergent neutre; rincer et sécher.
Refixer le filtré à air avec les crochets.
Replacement l'ensemble sur l'appareil dans la position d'origine.


Nettoyage de la carrosserie
Nettoyer avec un chiffon humide, puis essuyer.
Ne pas utiliser de solvants chimiques.
Nettoyer régulierement le réservoir d'eau.

Maintenance en fin de saisson d'utilisation
- Dans le logement du réservoir d'eau (coté droit de l'appareil), enlever le bouchon du tuyau en plastique pour éliminer l'eau du conduit.
- Faire fonctionner le climatiseur en mode « VENT »-ventilation jusqu'à ce que le tuyau soit sec.
- Arrête le climatisationur, le débrancher du secteur et enrouler le cable électrique sur son support.
- Envelopper la machine dans son sac plastique, et l'entreposer dans un local sec.


6. EN CAS DE PROBLEMES ...
| Problèmes | Vérifier | Action |
| Le climatiseur ne fonctionne pas | • Le contact est-il mis? • Raccordé au secteur? • Un fusible protège t'il l'installation? • L'indicateur du réservoir d'eau est allumé? • Le réservoir d'eau est-il placé correctement? • La programmation du « Minut » est-elle correcte? | • Bouton « Marche/Arrêt » • Branchement de la prise électrique • Vérifier le fusible • Vider le réservoir d'eau • Vérifier qu'il est bien enclenché • Changer la programmation du « Minut » |
| Rafraîchissement insuffisant | • Les entrées et sorties d'air sont-elles obstruées? • Une source de chaleur existe dans la pièce • Le filtre à air est sale • La programmation de la température est-elle correcte? • La vitesse de ventilation est-elle lente? | • Faire le nécessaire pour permettre le passage de l'air • Arrête, diminuer ou déplacer cette source de chaleur • Le nettoyer • Vérifier la programmation de la température • Augmenter la vitesse de ventilation |
| Bruits et vibrations | • L'appareil est-il penché? | • Le placer sur une surface plane et horizontal |
| Démarrages et arrêts féuents | • L'alimentation électrique et le voltage sont-ils conformes? • Le conduit de sortie d'air est-il courbé? | • Vérifier • Le conduit de sortie d'air doit être à peu près horizontal |
Notice Facile