RC8020 WH - Sèche-linge LG - Notice d'utilisation et mode d'emploi gratuit
Retrouvez gratuitement la notice de l'appareil RC8020 WH LG au format PDF.
| Type de produit | Sèche-linge à condensation |
| Capacité | 8 kg |
| Classe énergétique | B |
| Dimensions approximatives | 85 x 60 x 60 cm |
| Poids | 38 kg |
| Alimentation électrique | 230 V |
| Puissance | 2 200 W |
| Fonctions principales | Programmes de séchage variés, départ différé, affichage du temps restant |
| Entretien et nettoyage | Nettoyage du filtre à peluches après chaque utilisation, vidange du réservoir d'eau |
| Pièces détachées et réparabilité | Disponibilité de pièces détachées, réparabilité facilitée par un accès direct aux composants |
| Sécurité | Protection contre la surchauffe, verrouillage de sécurité pour enfants |
| Compatibilités | Compatible avec les prises standards européennes |
FOIRE AUX QUESTIONS - RC8020 WH LG
Téléchargez la notice de votre Sèche-linge au format PDF gratuitement ! Retrouvez votre notice RC8020 WH - LG et reprennez votre appareil électronique en main. Sur cette page sont publiés tous les documents nécessaires à l'utilisation de votre appareil RC8020 WH de la marque LG.
MODE D'EMPLOI RC8020 WH LG
Guide d’utilisation et d’entretien Sèche-linge LG Veuillez lire ce guide attentivement avant d'utiliser votre sèche-linge. Conservez-le pour vous y référer ultérieurement. Notez le nom de modèle et le numéro de série de votre produit. Préparez toutes ces informations avant d'appeler le service après-vente. RC80XXXX
C aractéristiques Energy Tambour de très grande capacité Le sèche-linge LG a une très grande capacité de 8kg. Energy Classe énergétique B La technologie de pointe utilisée dans le système de séchage, associée au contrôle optimisé du chauffage, permet de réduire la consommation d'énergie. Vous réalisez ainsi des économies. Temps de séchage réduit save Le temps de séchage est raccourci grâce à un mécanisme de circulation d’air efficace et un chauffage optimisé. Faible niveau sonore Facilité d’utilisation Branchez votre sèche-linge à condensation électronique. Ses sensors gèrent le reste: durée, température... selon le résultat de séchage que vous désirez. T ables des matières Consignes de sécurité Instructions d’installation Aspect extérieur & conception Fonctionnement de votre sèche-linge Fonctions supplémentaires Entretien de votre sèche-linge Conseils supplémentaires pour une utilisation optimale Dépannage Manuel d’utilisation SmartDiagnosisTM Informations techniques Garantie
C onsignes de sécurité Avertissement Le non-respect des consignes suivantes peut entraîner des blessures sérieuses ou la mort. Actions non autorisées
- Votre sèche-linge est uniquement conçu pour recevoir du 220 - 230 V. Avant de brancher le cordon d’alimentation, assurez-vous qu’il est relié à la terre et à un disjoncteur. L’absence de prise de terre peut entraîner des pannes ou électrocutions.
- Ne branchez pas sur une multiprise avec des cordons d’alimentation d’autres appareils
- N’endommagez pas le cordon d’alimentation et ne placez pas d’objets lourds sur celuici. Un cordon endommagé peut entraîner un incendie ou une électrocution.
- Ne touchez pas le cordon d’alimentation ou l’interrupteur avec les mains mouillées. La surchauffe anormale d’une prise peut entraîner un incendie. Vous risquez une électrocution.
- Le démontage ou la révision doit être effectué par un réparateur expérimenté.
- Débranchez le cordon d’alimentation en tenant la prise et non le cordon. Vous risquez de provoquer des pannes, un incendie ou une électrocution. Vous risquez de couper des fils ce qui entraînerait une surchauffe ou un incendie.
- Éloignez le sèche-linge de toute cuisinière électrique, bougie et autres objets inflammables.
- Essuyez la poussière et les impuretés sur la prise du cordon d’alimentation et insérezla fermement dans la prise murale. Vous risquez de faire fondre certains éléments ou de provoquer un incendie. Des impuretés sur la prise et une mauvaise connexion peuvent entraîner un incendie.
Consignes de sécurité Afin de réduire tout risque d’électrocution, d’incendie ou autres blessures ou dommages, veuillez suivre les consignes de sécurité de base suivantes lorsque vous utilisez votre sèche-linge. Consignes de sécurité C onsignes de sécurité
- N’utilisez pas un cordon d’alimentation, une fiche ou une prise endommagés
- Assurez-vous que des animaux ne rongent pas le sèchelinge. Vous risquez de provoquer un incendie et une électrocution. Les animaux peuvent mourir d’une électrocution et l’aspect du sèche-linge peut être endommagé.
- N’installez ou ne stockez pas votre sèche-linge dans un lieu où il sera exposé aux intempéries.
- N’appuyez pas sur le bouton avec un ustensile pointu comme un tournevis ou une épingle. Vous risquez de provoquer une électrocution, un incendie, un malfonctionnement et une déformation. Vous risquez de vous électrocuter.
- N’utilisez pas de rallonge ou d’adaptateur pour brancher le cordon d’alimentation.
- Ne placez pas d’objets inflammables près du sèchelinge. Vous risquez de provoquer un incendie et une électrocution. Vous risquez de provoquer des gaz toxiques, une explosion ou un incendie et d’endommager des pièces.
- Ne versez pas d’eau sur le sèche-linge.
- Veillez à protéger votre sèche-linge des insectes en les maintenant hors de portée. Vous risquez de provoquer un incendie et une électrocution. Les animaux peuvent mourir d’une électrocution et l’aspect du sèche-linge peut être endommagé.
- Débranchez le cordon d’alimentation lorsque vous nettoyez ou n’utilisez pas votre sèche-linge. De l’eau ou des impuretés peuvent entraîner une électrocution.
- Ne laissez pas des enfants ou animaux jouer sur ou à l’intérieur du sèche-linge.
- Cet appareil n'est pas destiné à être utilisé par de jeunes enfants ou des personnes invalides sans surveillance.
- Surveillez les jeunes enfants pour vous assurer qu'ils ne jouent pas avec l'appareil.
Les enfants risquent de tomber. Les enfants ou animaux peuvent se blesser avec les pièces rotatives ou suffoquer à l’intérieur du tambour.
- Avant de mettre votre sèchelinge au rebut, démontez la porte et coupez le cordon d’alimentation pour empêcher son utilisation future. L'utilisation d'un sèche-linge sans connaissance des consignes de sécurité peut entraîner des blessures sérieuses ou la mort. C onsignes de sécurité Les enfants peuvent tomber dedans. Les animaux domestiques ou les enfants peuvent être blessés par les pièces mobiles ou étouffés à l'intérieur du tambour.
- Si cet appareil est utilisé à l'aide d'une rallonge ou d'une prise électrique portable, celle-ci doit être placée de manière a éviter qu'elle ne soit éclaboussée ou exposée à l'humidité. Autrement, vous risquez de provoquer un choc électrique, un incendie, un dysfonctionnement ou une déformation de l'appareil.
- Les éléments éclaboussés ou mouillés avec de l'huile végétale ou de cuisson représentent un risque d'incendie et ils ne doivent pas être placés dans un sèche-linge.
- Les articles qui ont été tachés par des substances telles que huile de cuisson, acétone, alcool, essence, kérosène, produit détachant, térébenthine, cire et dissolvant de cire doivent être lavés à l'eau chaude avec une quantité supplémentaire de lessive avant d'être séchés dans le sèche-linge. Autrement, vous risquez de provoquer une explosion ou un incendie.
- Des articles qui ont été précédemment nettoyés, lavés, imbibés ou tachés avec de l’essence/du gazoline, des dissolvants de nettoyage à sec ou d'autres substances inflammables ou explosives ne devraient pas être employés dans un sèche-linge. Ils peuvent causer une explosion et un feu par la combustion spontanée.
- Les articles fabriqués avec des matières en caoutchouc, mousse, plastique ou avec tout autre tissu sensible à la chaleur (tels que les tapis de bain, les tapis anti-glissants ou les imperméables) ne doivent pas être séchés dans la machine à une température élevée.
- Les articles contenant du caoutchouc mousse (mousse de latex), les bonnets de bain, les textiles imperméables, les articles à renfort de caoutchouc et les vêtements ou oreillers garnis de tampons en caoutchouc mousse ne doivent pas être séchés dans le sèche-linge. Les éléments en caoutchouc mousse peuvent produire un incendie par combustion spontanée lorsqu'ils sont séchés.
- Les articles en plastique tels que les bonnets de douche et les serviettes de table imperméables pour bébés ne doivent pas être placés dans un sèche-linge. Autrement, vous risquez de provoquer une explosion ou un incendie.
- Si le sèche-linge est installé sur de la moquette, celle-ci risque d’être abîmée par l’air de ventilation. Cela pourrait provoquer une explosion ou un départ d'incendie par combustion spontanée.
- Les assouplissants ou produits similaires doivent être utilisés en respectant les instructions du fabricant de l'assouplissant ou du produit.
- Pour réduire tout risque de blessures, respectez toutes les procédures de sécurité recommandées par les industriels pour ces appareils, y compris le port de gants à manche longue et des lunettes de sécurité. Tout manquement aux consignes de sécurité énoncées dans ce manuel peut se traduire par des dommages au matériel, des blessures, voire la mort.
Consignes de sécurité
- Il faut surveiller les enfants pour éviter qu'ils ne jouent avec cet appareil.
- Les articles qui ont été nettoyés, lavés, imbibés ou tachés par des substances telles que huile de cuisson, acétone, alcool, essence, kérosène, produit détachant, térébenthine, cire et dissolvant de cire doivent être lavés à l'eau chaude avec une quantité supplémentaire de lessive avant d'être séchés dans le sèche-linge. Instructions d’installation
nstructions d’installation Les instructions suivantes vous guideront lors des premières étapes d’installation de votre sèche-linge. Veuillez noter que tous les chapitres de ce guide vous donnent des informations importantes concernant la préparation et l’utilisation de votre sèche-linge, et qu’il est important de vous reporter à l’ensemble de ce guide avant de procéder à toute installation ou utilisation. Assurez-vous de respecter l’ensemble des précautions et avertissements stipulés. Ces instructions d’installation sont destinées à être appliquées par des installateurs qualifiés. Lisez ces instructions d’installation complètement et attentivement. Informations de sécurité Risque de blessure Le sèche-linge est très lourd. Vous ne devriez donc pas essayer de le soulever seul. Ne soulevez pas le sèche-linge en le tenant par une pièce en saillie, par exemple la molette ou la porte ; elles peuvent se détacher. Risque de chute Le risque de chute peut être causé par des câbles ou flexibles non raccordés. Assurezvous qu’aucun câble ou flexible n’est détaché. Vérifiez que le sèche-linge n’a pas subi de dommages pendant son transport. Ne branchez pas le sèche-linge s’il présente des signes visibles d’endommagement. Si vous avez des doutes, contactez votre revendeur local. Videz toujours complètement votre sèche-linge avant de le transporter. Votre sèche-linge ne doit pas être placé près d’une table de cuisson au gaz, d’une cuisinière, d’un réchaud ou d’une grille à hauteur des yeux car les flammes émises par les brûleurs peuvent endommager votre sèche-linge. Lorsque le sèchelinge est placé sous un plan de travail, laissez un espace de 30cm~50cm à l'arrière du sèche-linge pour permettre l’évacuation d’air par la grille arrière. Cette circulation d’air est indispensable pour condenser l’eau pendant le séchage. Si vous utilisez ce sèche-linge à proximité de ou superposé sur votre lave-linge, des fiches et prises distinctes doivent être utilisées pour chaque appareil. N’utilisez pas d’adaptateur ou de rallonge. Vous pouvez superposer le sèche-linge au-dessus de votre lave-linge pour économiser de l’espace. Un kit de superposition est disponible auprès de votre revendeur local. Instructions d’installation en colonne Le sèche-linge LG peut être placé au-dessus d’un lave-linge à chargement en façade. Un kit de superposition garantit leur fixation (voir page suivante). Cette installation doit être effectuée par un installateur expérimenté afin d’assurer l’installation stable du lave-linge et du sèche-linge. Si cette opération n’est pas effectuée correctement, le sèche-linge peut tomber. Plus important, certains modèles de lave-linge ne peuvent être superposés qu’avec certains modèles de kit de superposition. Demander conseil à un installateur expérimenté est donc très important. AVERTISSEMENT AVERTISSEMENT concernant le cordon d’alimentation Pour la plupart des appareils électroménagers, il est conseillé d’effectuer le branchement sur un circuit dédié, c’est-à-dire une prise unique qui n’alimente que l'appareil en question et sur laquelle aucune autre prise ni aucun circuit de dérivation ne vient s’ajouter. Reportez-vous à la page des spécifications de ce manuel de l’utilisateur pour connaître les consignes adéquates. (voir page 4). Ne surchargez pas les prises murales. Cela présente un danger, au même titre que des prises murales ou des rallonges disloquées ou endommagées, des cordons d’alimentations effilochés ou une gaine d’isolation électrique défectueuse ou craquelée. L’un ou l’autre de ces cas de figure pourrait être à l’origine d’une électrocution ou d’un incendie. Contrôlez régulièrement le cordon électrique de votre appareil électroménager. S’il paraît endommagé ou détérioré, débranchez-le, cessez d’utiliser votre appareil et demandez à un réparateur agréé qu’il remplace le cordon par un cordon strictement identique. Protégez le cordon d’alimentation contre tout mauvais traitement physique ou mécanique en évitant par exemple de le vriller, de l’entortiller, de le pincer, de le coincer dans une porte ou de marcher dessus. Faites particulièrement attention aux branchements, aux prises murales et au point de sortie du cordon d’alimentation de l’appareil.
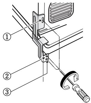
nstructions d’installation Kit de superposition Pour installer ce sèche-linge sur un lave-linge LG, vous devez utiliser le kit de superposition LG. Lavelinge Support Ce sèche-linge peut uniquement être superposé sur un lave-linge LG. NE TENTEZ PAS de superposer ce sèche-linge sur un autre lave-linge, car cela pourrait provoquer des dommages, des blessures ou des dégâts matériels. Pour superposer ce sèche-linge, vous devez utiliser le support inclus avec le kit de superposition. Profondeur top du lave-linge 55 cm
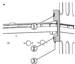
3. Pour assembler le kit de superposition, procédez
- Retirez le film protecteur de l'adhésif double face sur la partie du support destinée au lave-linge.
- Pour cela, alignez les orifices du kit de superposition sur les orifices à l'arrière du lave-linge, et appuyez fermement sur le support pour qu'il adhère bien au côté du lave-linge. 60 cm Support 60 cm Forme 55 cm Procédure d'installation
1. Placez le sèche-linge LG sur le lave-linge LG.
2. Retirez les deux vis situées sur chaque côté en
bas à l'arrière du sèche-linge, comme illustré ci-dessous.
4. Pour assembler le kit de superposition, procédez
- Vissez les vis retirées précédemment pour fixer le kit de superposition au lave-linge et au sèche-linge.
- Utilisez des vis achetées séparément (30mm) pour assembler la partie arrière du lave-linge et le kit de superposition.
- Répétez la procédure de l'autre côté.
Instructions d’installation Sèchelinge AVERTISSEMENT
- Une installation incorrecte peut provoquer des accidents graves.
- En raison du poids du sèche-linge et de la hauteur de l'installation, il est dangereux pour une personne seule d'effectuer la superposition. Au moins deux personnes expérimentées doivent se charger de cette procédure.
- Le sèche-linge n'est pas adapté à une installation encastrée. Ne l'installez pas dans un emplacement fermé.
- Ne faites pas fonctionner le sèche-linge s'il est démonté. Instructions d’installation
nstructions d’installation Instructions de mise à la terre Remarque Cet appareil doit être mis à la terre. En cas de mauvais fonctionnement ou panne, la prise de terre réduira le risque d’électrocution en procurant une voie de résistance réduite pour le courant électrique. Pour de meilleures performances de séchage, laissez de l’espace entre l’arrière de l’appareil et le mur. Cet appareil est doté d’un cordon possédant un conducteur de terre et une prise de terre. La prise doit être branchée dans une prise murale appropriée qui est correctement installée et mise à la terre conformément à l’ensemble des normes et réglementations locales. Procédure de mise à la terre supplémentaire Certaines normes locales peuvent exiger une prise de terre séparée. Dans ce cas, les conducteur de terre, raccord et vis accessoires doivent être achetés séparément. Kit d'évacuation d'eau: selon modèle Le sèche-linge peut évacuer l’eau sans l’amener dans le bac de récupération d’eau. L’eau est pompée directement hors du sèchelinge. Selon modèle, un tuyau de vidange directe est livré avec votre sèche-linge à condensation.
nstructions d’installation Mise à niveau du sèche-linge Placez votre sèche-linge sur un emplacement stable et plat, où il n’y a pas d’écoulement d’eau ou d’eau congelée, et où aucun objet inflammable n’est stocké.
2. Si le sèche-linge n’est pas correctement à
niveau, réglez les pieds de mise à niveau frontaux vers le haut ou vers le bas selon les besoins. Pied réglable Soulevez le sèche-linge Pied réglable Tournez-les dans le sens des aiguilles d’une montre pour les élever et dans le sens contraire pour les abaisser jusqu’à ce que le sèche-linge ne vacille plus d’avant en arrière ou latéralement. Abaissez le sèche-linge Pied réglable Vérification en diagonale Si vous appuyez sur les bords du sèche-linge, celui-ci ne doit pas du tout s’élever ou s’abaisser. (Vérifiez les deux directions.) Si la machine se balance lorsque vous appuyez en diagonale sur sa plaque supérieure, réglez de nouveau les pieds.
1. La mise à niveau du sèche-linge permet
d’empêcher les bruits et vibrations indésirables. A spect extérieur & conception RC80XXXX RC80XXXX Tableau de commande Aspect extérieur & conception Bac de récupération d'eau Porte vitrée Porte opaque Couvercle du condenseur Grille de ventilation Tableau de commande RC80XXXX Écran d'affichage
- Indications et durée restante Temps Commande
- Temps- Touches de fonctions supplémentaires
Fin différée Favoris Anti-froissage Éclairage tambour Séchage Sélecteur de programme RC80XXXX
Prêt à repasser Prêt à porter Prêt à ranger Trés sec Extra sec Écran d'affichage
- Indications et durée restante Temps Commande
- Temps- Touches de fonctions supplémentaires
Fin différée Favoris Anti-froissage Repassage facile Séchage Sélecteur de programme
Prêt à repasser Prêt à porter Prêt à ranger Trés sec Extra sec F onctionnement de votre sèche-linge Tableau de sélection des cycles Programmes automatiques Tissus épais ou matelassés Extra sec Tissus épais ou matelassés n'ayant pas besoin d'être repassés Trés sec Tissus n'ayant pas besoin d'être repassés Prêt à ranger Tissus ayant besoin d'être repassés légèrement Prêt à porter Prêt à repasser Tissus ayant besoin d'être repassés Tissus épais ou matelassés n'ayant pas besoin d'être repassés Tissus n'ayant pas besoin d'être repassés Tissus ayant besoin d'être repassés Articles en polyamide, acrylique, polyester ne nécessitant pas de repassage Articles en polyamide, acrylique, polyester à repasser Trés sec Prêt à ranger Prêt à repasser Prêt à ranger Prêt à repasser Articles volumineux. Selon leur étiquette et leur taille, il est possible de sécher des articles plus ou moins volumineux à condition qu'il reste dans le tambour un espace suffisant pour permettre la circulation de l'air.
Linge de maison et serviettes, à l'exception des articles censés être Séchage rapide séchés avec les programmes Laine, Textiles Sport, Fibres sensibles et Couette. Faible charge ou tissus particuliers séchant rapidement
Peaux sensibles T-shirts, taies d'oreiller, serviettes Tissus en coton ne nécessitant pas de repassage. Cycle avec une température plus élevée focalisé sur la disparition des bactéries pour un séchage encore plus hygiénique.
Tissus restés rangés depuis longtemps, ayant besoin d'être rafraîchis.
Couette Fraîcheur Textiles Sport Jeans Délicat Laine Séchage à plat Air froid Air chaud Draps et articles de literie. Chemises, chemisiers et tissus rangés depuis longtemps. Textiles Sport, survêtements Tissus 100% polyester Jeans ne nécessitant pas de repassage. Cycle empêchant le Jeans, textiles sujets à la décoloration. rétrécissement et préservant les couleurs. Soie, vêtements féminins délicats, lingerie Tissus sensibles à la chaleur Laine Tissus en laine. Se conformer aux instructions sur l'étiquette du textile. Minuterie Soie, laine, lingerie délicate Tissus nécessitant d'être rafraîchis sans subir les rotations du tambour. Tous les textiles nécessitant un séchage, sans chaleur, idéal pour rafraîchir les textiles. 20 minutes ou 40 minutes. Serviettes de bain, peignoirs de bain, Vêtements de petite taille et linge pré-séché. Tissus normaux supportant torchons à vaisselle, tissus matelassés en une température de séchage élevée pendant 20 ou 40 minutes. acrylique
REMARQUE Lorsque vous utilisez le programme Fraîcheur, vaporisez de l'eau froide ou chaude sur les tissus pour permettre un assouplissement maximal des fibres. Le contenu d'eau approprié de vaporisation est de 2 cl pour une chemise. ATTENTION Si la charge est inférieure à 1 kg, veuillez utiliser le programme ‘Minuterie’. La laine doit être séchée avec le programme ‘Laine’ et les textiles sensibles au chaud, comme la soie, les sous-vêtements et la lingerie doivent être séchés avec le programme ‘Délicat’. Le non respect de ces précautions peut provoquer des résultats indésirables.
Fonctionnement de votre sèche-linge Serviettes de toilette, peignoirs et Coton (blanc et linge de maison couleurs). Pour Serviettes en tissu éponge, torchons à sécher des arti- vaisselle, essuie-mains, draps cles sensibles à Serviettes de bain, torchons à vaisselle, sous-vêtements, chaussettes en coton la chaleur, sélectionnez Draps, taies d'oreiller, essuie-mains l’option Délicat. Draps, nappes, essuie-mains, T-shirts, polos, vêtements de travail Mix / tissus mélangés. Draps, nappes, survêtements, anoraks, couvertures Pour sécher des articles sensibles à la Chemises, chemisiers chaleur, sélectionnez Pantalons, robes, jupes, chemisiers l’option Délicat. Chemises, t-shirts, pantalons, sousvêtements, chaussettes Synthétiques Chemises, t-shirts, sous-vêtements, anoraks, chaussettes Séchage F onctionnement de votre sèche-linge Avant la première utilisation du sèche-linge Avant d’utiliser le sèche-linge pour la première fois, vous devez vérifier un certain nombre de points. Fonctionnement de votre sèche-linge Après l’avoir retiré de son emballage, vérifiez que le produit ne présente pas de problème et qu’il est correctement installé.
1. Vérifiez que le sèche-linge est bien à niveau en utilisant un niveau. Réglez les pieds en conséquence.
2. Vérifiez certains éléments importants comme le bac de récupération d’eau, le condenseur, le panneau
de commande et le tambour.
3. Il est requis de procéder à un séchage de 5 minutes pour s’assurer que l’intérieur du tambour devient
4. Après les premières utilisations du sèche-linge, laissez la porte ouverte et le cordon débranché afin
d’évacuer d’éventuelles odeurs à l’intérieur.
1. Mettez le sèche-linge en marche.
Mettez le sèche-linge en marche. Pour commencer, appuyez sur le bouton (Marche). Le témoin au-dessus du bouton s’allume pour indiquer que la machine est prête à fonctionner.
3. Vérifiez le filtre à peluches, le bac de
récupération d’eau et le condenseur. Le filtre à peluches près de la porte doit être vidé après ou avant l’utilisation du sèchelinge. Ouvrez la porte et vérifiez que le filtre à peluche est propre. S’il ne l’est pas, veuillez le nettoyer en vous référant à la page 17. Le bac de récupération d’eau et le condenseur doivent également être vérifiés, vidés et nettoyés pour de meilleurs résultats de séchage. Tirer Appuyer Ouvrez la porte.
4. Placez le linge dans le tambour après
l’avoir trié. Les vêtements doivent être triés par type de textile et niveau de séchage. Tous les cordons et ceintures des vêtements doivent être fermement attachés et fixés avant leur insertion dans le tambour. Il est préférable de pousser le linge tout au fond du tambour afin de l’éloigner du joint de la porte. Dans le cas contraire, le joint de la porte et les vêtements peuvent être endommagés. ATTENTION Ne séchez pas d'articles sales dans votre sèche-linge.
Porte vitrée Porte opaque Vérifiez le filtre à peluches. F onctionnement de votre sèche-linge
Sélectionnez le cycle souhaité. Avant de fermer la porte, assurez-vous que le linge est bien placé à l’intérieur et qu’aucun objet étranger, notamment inflammable, n’est bloqué dans la porte. ATTENTION
6. Sélectionnez le cycle de séchage
souhaité. Vous pouvez choisir un cycle en tournant le bouton de commande de programmes jusqu’à ce que le programme requis atteigne son indicateur. Si vous appuyez sur le bouton Départ/Pause sans avoir choisi de cycle, le sèche-linge utilisera le programme Coton Prêt à ranger. [Veuillez vous référer au tableau de sélection de cycles, page 11, pour les informations détaillées.] Sortez le linge.
7. Appuyez sur le bouton Départ
Vous entendez le tambour tourner.
8. Une fois le cycle terminé, ouvrez la porte
et retirez le linge. Attention ! L’intérieur du tambour peut être encore brûlant. (La durée de fonctionnement varie en fonction du cycle et des options sélectionnés.) Nettoyez le filtre à peluches de la porte. REMARQUE Vérifiez le filtre à peluches et retirez toute peluche provenant des vêtements séchés sur la grille.
9. Nettoyez le filtre à peluches et videz le
bac de récupération d’eau. Le filtre à peluches doit être nettoyé après chaque utilisation.
10. Éteignez le sèche-linge.
Appuyez sur le bouton ‘Marche/Arrêt’. ATTENTION - Faites attention à ne pas déchirer le filtre lorsque vous le nettoyez à l’aide d’un aspirateur. S’il reste des résidus sur le filtre, vous pouvez utiliser une brosse pour les retirer. - Si vous souhaitez ouvrir la porte pendant le fonctionnement du sèche-linge, appuyez d’abord sur le bouton Départ/Pause puis attendez l’immobilisation complète du tambour avant d’ouvrir la porte. AVERTISSEMENT N'arrêtez jamais le sèche-linge avant la fin du cycle de séchage, à moins que vous ne sortiez rapidement tous les articles et que vous ne les étaliez pour que la chaleur se dissipe.
Fonctionnement de votre sèche-linge - Faites attention à ce que le linge ne reste pas emprisonné entre la porte de chargement et le joint en caoutchouc. F onctionnement de votre sèche-linge Fonctionnement de votre sèche-linge Séchage à plat: selon modéle La grille de séchage se place à l’intérieur du sèchelinge comme indiqué sur l’image. Retirez et jetez l’emballage avant la première utilisation. La grille de séchage est conçue pour les vêtements que vous souhaitez sécher à plat, notamment les pull-overs et les textiles délicats. Ou encore les chaussures de sport. REMARQUE Vérifiez le filtre à peluches et retirez toute peluche provenant des vêtements séchés sur la grille. Pour utiliser la grille de séchage :
2. Ne retirez pas le filtre à peluches.
3. Placez la grille de séchage au-niveau du
bas de la porte du sèche-linge. Remontez la grille dans le logement à l’arrière du sèche-linge. Appuyez sur l’avant de la structure pour la fixer sur le filtre à peluches.
4. Placez les vêtements / chaussures de
sport à sécher sur la grille. Espacez-les pour permettre une circulation d’air. La grille ne bougera pas mais le tambour tournera.
6. Sélectionner le programme Séchage à
tige métallique au centre du tambour.
textiles délicats ou chaussures de sport sur la grille. F onctions supplémentaires RC80XXXX Fonctions supplémentaires RC80XXXX Fin différée Favoris Vous pouvez utiliser la fonction Fin différée pour différer la fin du cycle de séchage. Le retardement maximal est de 19 heures.
1. Allumez votre sèche-linge.
2. Sélectionnez le cycle.
3. Configurez le nombre d’heures de retardement.
4. Appuyez sur le bouton Départ/Pause.
Vous pouvez utilisez la fonction Favoris pour enregistrer un cycle afin de le réutiliser sans avoir à recommencer les réglages. Une fois qu'un cycle favori est enregistré, vous pouvez le réutiliser facilement. Par exemple, mettez le sèche-linge sous tension et sélectionnez Extra sec dans le cycle coton et Anti-froissage, puis appuyez sur Favoris jusqu'à ce qu'un signal sonore soit émis par le sèche-linge. Cela demande environ 3 secondes. C'est tout ce que vous avez à faire. La prochaine fois, après avoir mis le sèchelinge sous tension, si vous appuyez sur Favoris, les options réglées auparavant apparaîtront sur l'afficheur.
Fonctions supplémentaires
onctions supplémentaires Anti-froissage Verrouillage ( Cette fonction permet d'éviter le froissement et les plis qui peuvent se former lorsque le linge n'est pas retiré rapidement une fois le cycle de séchage terminé. Lorsque cette fonction est activée, le sèche-linge tourne et se met en pause de manière répétée une fois le cycle de séchage terminé. Ce processus dure au maximum 2 heures. Le fait d'ouvrir la porte du sèche-linge annule la fonction Anti-froissage lorsque celle-ci est en cours. Cette fonction permet de verrouiller le sèche-linge pour la sécurité des enfants. Pour l'activer, appuyez en même temps sur les touches "Séchage" et "Option" pendant environ 3 secondes. L'indication " " apparaît sur l'afficheur DEL. Éclairage tambour/ Repassage facile (selon modèle) Éclairage tambour (porte vitrée) - Le fonction d'éclairage du tambour permet de voir l'intérieur du tambour pendant le cycle de séchage. Cela permet de surveiller facilement l'avancement du cycle de séchage. Repassage facile (porte opaque) - Cette fonction laisse le linge suffisamment humide pour faciliter le repassage. Remarque La fonction Repassage facile n'est combinable qu'avec les programmes Coton et Synthétiques en mode Prêt à repasser. Temps+/TempsAppuyez sur ces touches pour régler la durée de séchage voulue. Remarque Ces touches sont utilisables seulement pour un fonctionnement en mode minuterie, avant d'appuyer sur la touche Marche/Pause.
Remarque Pour désactiver cette fonction, appuyez de nouveau sur les touches "Séchage" et "Option" simultanément pendant environ 3 secondes. Option Délicat - Cette fonction permet de diminuer la température de séchage, ce qui rallonge la durée du cycle. - Cette option n'est combinable qu'avec les programmes Coton et Synthétiques. Bip repassage - Cette fonction permet d'informer du moment opportun pour le repassage par un avertissement sonore. - Cette option n'est combinables qu’avec les programmes Coton et Synthétiques. - Vous ne pouvez pas utiliser la touche Bip repassage lorsque vous sélectionnez le résultat de séchage désiré. Défroissage - Cette fonction permet de réduire les plis grâce à une rotation alternée du tambour. - Elle est automatiquement sélectionnée sur le programme Synthétiques. Remarque Vous pouvez sélectionner l'option adéquate selon le nombre de fois où vous appuyez sur la touche Option. - Une seule fois : l'option Délicat est sélectionnée - Deux fois : l'option Bip repassage est sélectionnée. Etc.. Sonnerie Cette fonction permet d'activer et d'ajuster le volume du signal sonore.
ntretien de votre sèche-linge Importance de l’entretien et du nettoyage Vidage du bac de récupération d’eau L’entretien de votre sèche-linge n’est pas très difficile. Tout ce que vous avez à faire est de suivre les informations ci-dessous. La condensation d’eau est collectée dans le bac de récupération d’eau. Vous devez vider le bac de récupération d’eau après chaque utilisation pour ne pas risquer de mauvaises performances de séchage. Lorsque le bac de récupération d’eau est plein, le témoin ‘Bac plein’ s’allume et un signal sonore retentit pendant le fonctionnement du sèche-linge. Dans ce cas, le bac de récupération d’eau doit être vidé avant 1 heure. Nettoyage du filtre à peluches Nettoyez le filtre à peluches après chaque utilisation et vérifiez-le avant chaque utilisation. Il doit également être nettoyé lorsque le témoin ‘Entretien filtre’ s’allume et que le signal sonore retentit pendant le fonctionnement du sèche-linge. Le nettoyage du filtre réduira le temps de séchage et la consommation d’énergie et allongera la durée de vie du sèche-linge. ATTENTION - Nettoyez fréquemment le filtre à peluches, le cas échéant. - Les peluches ne doivent pas pouvoir s'accumuler dans le sèche-linge.
2. Sortez le filtre.
3. Nettoyez le filtre
en utilisant un aspirateur ou en le rinçant sous l’eau du robinet.
4. Remettez le filtre
sec en place. - Enfoncez le filtre au maximum pour éviter qu’il n’interfère avec la porte.
ATTENTION Nettoyez le filtre à peluches à l’eau tiède et savonneuse. Séchez-le soigneusement et remettez-le en place. Nettoyage du filtre à peluches pendant un cycle Si le témoin‘Entretien filtre’ clignote en cours de fonctionnement, nettoyez le filtre sans attendre.
1. Refroidissez le sèche-linge et suivez les étapes indiquées.
2. Appuyez sur le bouton Départ/Pause.
récupération d’eau dans un évier.
3. Remettez-le en place.
4. Appuyez sur le bouton Départ/Pause.
Remarque Un essorage à haute vitesse au moment du lavage permet d'économiser de l'énergie pour le séchage avec le sèche-linge. L'utilisation du sèche-linge dans une pièce de faible volume et avec une température ambiante élevée peut augmenter la durée de séchage ainsi que la consommation électrique. AVERTISSEMENT L’eau condensée n'est pas potable. ATTENTION Si le linge n'est pas essoré à haute vitesse au moment du lavage, cela peut augmenter la durée de séchage ainsi que la consommation électrique. Dans certains cas, il se peut que l'indication "Réservoir" s'affiche et que le sèche-linge s'arrête.
Entretien de votre sèche-linge
récupération d’eau. E ntretien de votre sèche-linge Condenseur Le condenseur est également un élément très important pour l’efficacité des performances de séchage et vous devez y porter une attention spéciale. Il est recommandé de nettoyer le condenseur trois à quatre fois par an.
4. Sortez le condenseur en insérant un doigt dans
1. Ouvrez le capot du condenseur à l’aide
un trou situé sur le bas de la façade du d’une pièce ou d’un tournevis à lame plate. condenseur. (Ne forcez pas sur le condenseur.) Entretien de votre sèche-linge < Avant >
2. Ouvrez le capot de protection en tournant
les leviers de blocage. < Côté > ATTENTION Capot de protection Le levier de verrouillage doit être fermé après le nettoyage du condenseur comme ci-dessous.
3. Déverrouillez les deux leviers de blocage en
les tournant l’un vers l’autre. ATTENTION Haut - Lorsque le condenseur est obstrué par de la peluche, le fait de mettre en marche le sèchelinge risque d’endommager l’appareil. De plus, ceci augmente la consommation d'énergie. - N'utilisez pas d’objets pointus pour nettoyer le condenseur. Autrement, vous risquez de l'endommager et de causer des fuites. - N'actionnez jamais le sèche-linge si le condenseur a été enlevé. Bas
ntretien de votre sèche-linge Grille de ventilation avant Nettoyez la grille de ventilation 3 à 4 fois par an pour vous assurer qu’aucune accumulation d’impuretés ou de poussières n’empêche la bonne circulation d’air.
le tuyau de drainage avec le kit. Capteur d’humidité Remarque Kit d’évacuation d’eau. Selon modèle Normalement, l’eau condensée est pompée jusqu’au bac de récupération d’eau où l’eau est collectée avant de devoir être vidée. Il est également possible d’évacuer l’eau directement vers l’extérieur via un tuyau d’évacuation, notamment lorsque le sèche-linge est superposé à un lave-linge. Un kit de connexion au tuyau d’évacuation (fourni selon modèle) vous permet de modifier le circuit d’eau en toute simplicité et de rediriger l’eau vers le système d’évacuation. Veuillez suivre les étapes ci-dessous.
Entretien de votre sèche-linge - L’air chaud est évacué par la grille de ventilation. - Assurez une aération correcte de la pièce pour éviter le retour de gaz d'appareils brûlant des combustibles, y compris une cheminée. Ce dispositif permet de détecter l’humidité restant dans le linge pendant le fonctionnement. Il doit donc être nettoyé à chaque utilisation. L’objectif principal de ce nettoyage est de retirer l’accumulation de peluches à la surface du capteur. Essuyez les capteurs à l’intérieur du tambour (voir sur les images). C onseils supplémentaires pour une utilisation optimale Guide de séchage et consommation électrique Programme Capacité de séchage Prêt à repasser Prêt à porter * Coton Prêt à ranger Prêt à ranger Mix Prêt à ranger Synthétiques Prêt à repasser Couette 8 kg 8 kg 8 kg 4 kg 2 kg 2 kg
1 kg 2 kg Conseils supplémentaires pour une utilisation optimale Peaux sensibles Fraîcheur Textiles Sport Jeans Délicat Laine Séchage rapide Temps de séchage affiché Consommation électrique (y compris le temps de refroidissement)
- Tests effectués conformément à la norme EN61121 : 2005 (programme de tests) - La consommation électrique réelle peut différer de la valeur indiquée dans la colonne "Consommation électrique" en fonction de la vitesse d’essorage sélectionnée auparavant dans le lave-linge. - La durée réelle peut différer du temps de séchage affiché en fonction de la quantité de linge et de son humidité. Lainages Séchez la laine dans le cycle Laine. Assurez-vous avant tout de suivre les symboles indiqués sur les étiquettes d’entretien des vêtements. La laine n’est pas complètement séchée à la fin du programme, inutile de recommencer un cycle. Étirez les lainages dans leur forme d’origine et faites-les sécher à plat. Textiles tissés et tricots de laine bouclette Certains textiles tissés et tricots de laine bouclette peuvent rétrécir, en fonction de leur qualité. Synthétiques et tissus sans repassage Ne surchargez pas votre sèche-linge. Sortez les vêtements en tissus sans repassage dès l’arrêt du sèche-linge pour réduire les plis. Signification des étiquettes d’entretien des vêtements Symboles Instructions Séchage autorisé Séchage en machine autorisé Tissu sans repassage / infroissable Doux / délicat Ne pas sécher en machine Vêtements de bébé et chemises de nuit Vérifiez toujours les instructions du fabricant. Ne pas sécher Caoutchouc et plastique Ne séchez aucun article constitué de ou contenant du caoutchouc ou du plastique, notamment : a) tabliers, bavoirs et galettes de chaise b) rideaux et linge de table c) tapis de bain Séchage haute température Fibre de verre Séchage basse température Ne séchez pas d’article en fibre de verre dans votre sèche-linge. Des particules de verre restées dans votre sèche-linge pourraient entrer dans votre linge lors d’un séchage ultérieur et vous irriter la peau. Ne pas sécher par la chaleur ou de l'air ventilé Séchage moyenne température Séchage suspendu (ceintre) Étiquettes d’entretien des vêtements Les vêtements portent leur propre étiquette d’instructions de lavage donc il est recommandé de les sécher en fonction de ces étiquettes. De plus, les vêtements doivent être triés en fonction de leur taille et du type de textile. Ne surchargez pas le sèche-linge afin d’économiser de l’énergie et du temps et d’obtenir des performances de séchage optimales.
Séchage à l'air libre Séchage à plat Séchage à l’ombre C onseils supplémentaires pour une utilisation optimale Pièces de rechange Accessoires (selon modèle) Les pièces de rechange sont fournies selon les conditions de la garantie. Les pièces couvertes par la garantie sont fournies gratuitement. Lorsque la période de garantie a expiré, les pièces de rechange doivent être achetées auprès d'un centre de maintenance.
- Selon modèle, votre sèche-linge est fourni avec les accessoires suivants :
1. Kit de vidange directe de l'eau condensée
Mise au rebut de l'appareil
3. Panier de séchage à plat
Avant de contacter le centre de maintenance En cas de problème de fonctionnement de votre sèche-linge, suivez d'abord les conseils de dépannage indiqués dans le tableau ci-après. Si le problème rencontré n'est pas décrit dans le tableau ou que vous ne parvenez pas à résoudre le problème par vous-même, contactez alors le centre de maintenance. Kit de superposition : en option
Préparez les informations suivantes, car elles vous seront demandées par la personne qui vous répondra :
1. Votre nom, adresse et code postal
2. Votre numéro de téléphone
3. La description du problème
4. Le modèle et le numéro de série de votre
Support :2EA ; Vis : 4EA Support :2EA ; Vis : 4EA Doit être acheté séparément Doit être acheté séparément
- Conditions d'utilisation du kit de superposition - fig 1 : profondeur du panneau supérieur du lave-linge : 550 mm - fig 2 : profondeur du panneau supérieur du lave-linge : 600 mm En cas de superposition, le sèche-linge LG doit être placé sur un lave-linge LG. Pour cela, il est nécessaire d'utiliser le kit de superposition vendu séparément.
Conseils supplémentaires pour une utilisation optimale Avant de mettre le sèche-linge au rebut, il est important de le préparer afin qu'il ne présente pas de danger, en particulier pour les enfants. La porte, le couvercle et les autres éléments qui dépassent doivent être retirés et le cordon d'alimentation doit être coupé afin d'empêcher toute tentative d'utilisation de l'appareil. Le sèche-linge peut alors être mis au rebut en toute sécurité. D épannage Conseils de dépannage Pour vous faire gagner du temps et de l’argent, la page suivante répondra à vos questions avant d’appeler le service après vente. Problème Ce qu’il faut faire Le sèche-linge ne fonctionne pas.
Vérifiez que le sèche-linge est branché. Vérifiez que le bouton ‘Départ’ est enfoncé. Vérifiez que la porte est correctement fermée. Vérifiez que la température de la pièce n’est pas inférieure à 5°C. Vérifiez qu’un fusible n’a pas sauté ou que le disjoncteur n'a pas disjoncté. Changez le fusible ou réenclenchez le disjoncteur. (Attention : les sèche-linge électriques utilisent généralement deux fusibles ou disjoncteurs). Après avoir vidé le bac de récupération d’eau et nettoyé le filtre en cours de fonctionnement, vous devez de nouveau appuyer sur le bouton Départ pour que le sèche-linge redémarre. Le séchage prend beaucoup de temps.
Le filtre doit être nettoyé après chaque utilisation. Vérifiez que le bac de récupération d’eau est vide. Vérifiez l’état de propreté du condensateur. Vérifiez que vous avez sélectionné la programmation appropriée au type de textile. Vérifiez que la grille d’aération ou les prises d’air arrières ne sont pas obstruées. Vérifiez que les vêtements ne sont pas ‘excessivement mouillés’. Vérifiez que vous avez sélectionné un programme correct. Vérifiez que le sèche-linge n’est pas surchargé.
Le témoin ‘Entretien fil- 1. Vérifiez que le filtre est propre.
2. Vérifiez que le condensateur n’est pas bouché.
tre’ clignote. La lumière du tambour ne fonctionne pas. Vérifiez que le filament de l’ampoule n’est pas cassé. Les vêtements sont pelucheux.
Les temps de séchage ne sont pas réguliers. Le temps de séchage d’une charge dépendra de la chaleur sélectionnée, du volume de la charge, du type de textiles, de l’humidité des vêtements et de la condition du filtre à peluches. Il y a une fuite d’eau. Vérifiez si la porte et le capot de protection sont sales ou endommagés. Les vêtements sont froissés. Vérifiez que le linge n’est pas en surcharge. Essayez une durée de séchage plus courte et retirez les articles encore légèrement humides. Les vêtements rétrécissent. Pour éviter le rétrécissement, veuillez suivre attentivement les instructions d’utilisation et d’entretien de vos vêtements, car certains textiles rétrécissent naturellement en séchant. D’autres textiles peuvent être lavés mais rétréciront s’ils sont séchés dans un sèche-linge.
Vérifiez que le filtre à peluches est vide. Vérifiez que votre sèche-linge ne comporte que des vêtements propres. Vérifiez que le linge est correctement trié dans le tambour. Vérifiez que le linge n’est pas en surcharge. Vérifiez qu’il n’y a pas de papier, mouchoirs jetables ou similaires dans les poches des vêtements. D épannage Mode d'erreur
: l'écran d'affichage indique " " lorsque la porte est ouverte. Pour remettre le sèche-linge en marche, fermez la porte et appuyez sur le bouton de mise sous tension. : Si l'affichage continue d’indiquer des erreurs, débranchez le cordon d’alimentation et appelez le service après-vente. L'éclairage du tambour ne fonctionne pas
- Contactez le centre de maintenance Dépannage
Remarque SmartDiagnosis™ fonctionne uniquement avec les appareils identifiés « SmartDiagnosis™ ». Dans le cas d'un téléphone mobile avec l'option statique, le diagnostic à puce peut ne pas fonctionner. Manuel d'utilisation SmartDiagnosis™ Manuel d’utilisation SmartDiagnosisTM
- Utiliser cette fonction seulement si demandé par votre interlocuteur à la hotline. Seule la hotline peut interpréter les sons transmis par le Sèche-linge.
- SmartDiagnosis™ ne peut être activé si le Sèche-linge ne s'allume pas. Dans ce cas, la résolution des problèmes se fera sans l'utilitaire SmartDiagnosis™. Si vous rencontrez un problème avec votre Sèche-linge, merci de contacter la hotline et de suivre étape par étape les instructions de votre interlocuteur.
1. Allumez votre Sèche-linge en appuyant sur le
bouton « marche-arrêt ». Ne touchez à aucun autres boutons.
2. A la demande de la hotline, placez le micro
de votre téléphone à proximité du bouton «marche-arrêt ».
3. Appuyer sur le bouton « Temps+ »
pendant 3 secondes tout en maintenant le téléphone a proximité du bouton « marche-arrêt »
4. Gardez le téléphone dans cette position
le temps de l'enregistrement du signal sonore. Un compte à rebours de 17sec s'affichera.
- Pour un meilleur résultat, maintenez le téléphone sans bouger.
- Si l'enregistrement ne s'effectue pas dans de bonnes conditions, il vous sera demandé de recommencer la procédure.
- Si vous appuyez sur le bouton « marche-arrêt » pendant le SmartDiagnosis™, celui-ci s'arrêtera.
5. Une fois le compte à rebours terminé, et
le signal sonore éteint. Vous pouvez alors reprendre la conversation avec l'interlocuteur de la hotline qui sera en mesure de déterminer le problème de votre Sèche-linge. Une solution vous sera alors proposée.
Vérifiez la plaque située sur le sèche-linge afin de vous assurer que ses caractéristiques électriques correspondent au tableau cidessus. Alcôve ou sous-plan de travail circulation d’air de 3500 cm2/min à travers le sèche-linge Placard La porte du placard doit posséder 2 orifices (persiennes), de chacun 387 cm2, situés à 8 cm du bas et du haut de la porte.
Informations techniques Besoins en ventilation Exigences électriques G arantie Élimination de votre ancien appareil
1. Ce symbole, représentant une poubelle sur roulettes barrée d'une
croix, signifie que le produit est couvert par la directive européenne 2002/96/EC.
2. Les éléments électriques et électroniques doivent être jetés
séparément, dans les vide-ordures prévus à cet effet par votre municipalité.
3. Une élimination conforme aux instructions aidera à réduire les
conséquences négatives et risques éventuels pour l'environnement et la santé humaine.
4. Pour plus d'information concernant l'élimination de votre ancien
appareil, veuillez contacter votre mairie, le service des ordures ménagères ou encore la magasin où vous avez acheté ce produit. Garantie Exclusion de garantie : Le bénéfice de la garantie est supprimé dans les cas suivants : Si l'appareil a été endommagé lors du transport, ou accidenté ; Si l'appareil n'est pas utilisé ou installé correctement, en conformité avec le manuel d'utilisation et d'installation ou dans un environnement normal; ces produits sont à usage domestique et non à usage professionnel. Si le numéro de série de l'appareil est effacé, manquant ou illisible ; Si le produit ou un équipement auxiliaire comporte des pièces qui ne sont pas fournies, homologuées ou recommandées par LG ; Si l'appareil est endommagé du fait d'un évènement naturel imprévisible et irrésistible, d'une surtension ou sous tension du réseau d'alimentation ou de toute autre cause qui ne serait pas sous le contrôle de LG ; Si l'appareil a été réparé par une personne non autorisée ou agréée par LG ; Si l'appareil est en location ou en leasing avec option d'achat ; Si les défauts ou les pannes apparaissent en-dehors de la période de garantie. Toute garantie est également exclue pour des incidents tenant à des cas fortuits ou de force majeure ainsi que pour les remplacements ou les réparations qui résulteraient de l'usure normale du matériel, de détériorations ou d'accidents provenant de négligence, défaut d'installation, de surveillance ou d'entretien et d'utilisation anormale ou non conforme aux prescriptions du vendeur de ce matériel.
Notice Facile