RF65A967FSR - Réfrigérateur SAMSUNG - Notice d'utilisation et mode d'emploi gratuit
Retrouvez gratuitement la notice de l'appareil RF65A967FSR SAMSUNG au format PDF.
| Type de produit | Réfrigérateur combiné avec congélateur |
| Capacité totale | Réfrigérateur : 405 L, Congélateur : 196 L |
| Dimensions approximatives | Hauteur : 178 cm, Largeur : 91.2 cm, Profondeur : 71.6 cm |
| Poids | Environ 130 kg |
| Classe énergétique | A++ |
| Alimentation électrique | 220-240 V, 50 Hz |
| Consommation d'énergie annuelle | 365 kWh |
| Fonctions principales | Technologie de refroidissement No Frost, Distributeur d'eau, Fonction Power Cool |
| Entretien et nettoyage | Nettoyage régulier des surfaces, Dégivrage automatique du congélateur |
| Pièces détachées et réparabilité | Disponibilité des pièces détachées via le service après-vente Samsung |
| Sécurité | Système de verrouillage de porte, Alarme de température élevée |
| Compatibilités | Compatible avec les accessoires Samsung pour réfrigérateurs |
| Garantie | 2 ans sur les pièces et la main-d'œuvre |
FOIRE AUX QUESTIONS - RF65A967FSR SAMSUNG
Téléchargez la notice de votre Réfrigérateur au format PDF gratuitement ! Retrouvez votre notice RF65A967FSR - SAMSUNG et reprennez votre appareil électronique en main. Sur cette page sont publiés tous les documents nécessaires à l'utilisation de votre appareil RF65A967FSR de la marque SAMSUNG.
MODE D'EMPLOI RF65A967FSR SAMSUNG
Consignes de sécurité 4
Ce que vous doivent savoir concernant les consignes de sécurité 4
Consignes et symboles de sécurité importants : 6
Mesures importantes de sécurité 7
Symboles d'ajretissement importants concernant le transport et le lieu d'installation de l'appareil 10
Avertissements importants concernant l'installation 11
Consignes d'installation 14
Avertissements importants concernant l'utilisation 14
Consignes d'utilisation 19
Consignes de nettoyage 21
Avertissements importants concernant la mise au rebut 23
Conseils complémentaires pour une utilisation appropriée 24
Instructions concernant la riglementation DEEE 25
Installation 26
Présentation rapide du réfrigérateur 27
Installation etape par etape 31
Opérations 49
Panneau de commande 49
SmartThings 53
Fonctions speciales 56
Maintenance 63
Manipulation et entretien 63
Nettoyage 67
Remplacement 68
Dépannage 71
Généralités 71
Entendez-vous dessons anormaux provenant du réfrigérateur? 75
SmartThings 77
Consignes de sécurité 79
Instructions d'installation 79
Consignes relatives à la température 80
Informations du modele et commande de pieces de rechange 83
Consignes de sécurité
Avant d'utiliser votre nouveau réfrigérateur Samsung, veuillez lire attentivement ce manuel afin de vous assurer que vous savez comment utiliser de manière sûre et efficace ses différentes fonctions et fonctionnalités.
Ce que vous doivent regardier concernant les consignes de sécurité
- Les averissements et les consignes importantes de sécurité contenus dans ce manuel ne prétendent pas couvrir toutes les situations susceptibles de se produit. Il est de votre responsabilité de faire preuve de bon sens et de prudence lors de l'installation, de l'entretien et du fonctionnement de l'appareil.
- Les consignes d'utilisation suivantes concernent plusieurs modèles ; il est donc possible que les caractéristiques de votre réfrigérateur soient légèrement différentes de celles spécifiées dans ce manuel et que certains symboles d'advertissement ne s'appliquent pas. Pour toute question ou doute, contactez votre centre de service le plus proche ou recherche de l'aide et des informations en ligne sur www.samsung.com.
- Le gaz réfrigérant utilisé est le R-600a ou R-134a. Vérifiez le gaz réfrigérant utilisé dans votre apparéil sur l'étiquette du compresseur située à l'arrière de l' apparéil ou sur l'étiquette signalétique située à l'intérieur du réfrigerateur. Lorsque cet apparéil contient du gaz inflammable (gaz réfrigérant R-600a), veuillez contacter les autorités locales pour obtenir des renseignements sur la mise au rebut en toute sécurité de votre apparéil.
- Afin d'éviter la création d'un mélange gaz-air inflammable lorsqu'une fuite se produit dans le circuit frigorifique, la taille de la piece dans laquelle l'appareil peut être installé dépend de la quantité de gaz réfrigérant utilisée.
-
Ne démarrez jamais un apparéil qui présente des signes d'endommagement. En cas de doutes, contactez votre revendeur. La piece doit avoir un volume de 1m^3 pour chaque 8 g de gaz réfrigérant R-600a à l'intérieur de l' apparéil. La quantité de gaz réfrigérant que votre apparéil peut contenir est indiquée sur la plaque signalétique située à l'intérieur de l' apparéil.
-
Le gaz réfrigérant qui pourrait s'échapper des tuyaux risquérer de s'enflammer ou de provoquer des léasons oculaires. En cas de fuite de réfrigerant au niveau des tuyaux, n'approche pas de flamme neue, éloignez tout object inflammable de l'appareil et aéréz immédiatement lapiece.
- Le non-respect de cette consigne risquérait de provoquer un incendie ou une explosion.
- Pour éviter de contaminer les aliments, veuillez respecter les instructions suivantes:
- Ouvrir la portependant de longues périodes peut entraîner une hausse considérable de la température dans les compartments de l'appareil.
- Nettoyez régulièrement les surfaces pouvant entraîr en contact avec des alimentés et les systèmes de vidange accessibles.
- Nettoyez les réservoirs d'eau s'ils n'ont pas eté utilisés depuis 48 h ; rincez le système d'eau relié à une source d'alimentation en eau si vous n'avoz pas tiré d'eau depuis 5 jours.
- Placez la viande crue et le poisson dans des recipients adaptés à l'intérieur du réfrigérateur afin qu'ils n'entrent pas en contact avec d'autres alimentés ou qu'ils ne gouttent pas dessus.
- Les compartments à deux étoiles pour aliments surgelés sont adaptés pour stocker des alimentés pré-congelés, pour ranger ou faire de la glace et pour créé des glacons.
- Les compartments à une, deux et trois étoiles ne sont pas adaptés pour congeler des alimentés frais.
- Si l'appareil de réfrigération est laissé vide pendant de longues périodes, mettez-le hors tension, faites-le dégivrer, nettoyez-le, laissez-le sécher et maintenez la porte ouverte afin d'éviter que des moisissures ne se développement à l'intérieur de l'appareil.
Consignes de sécurité
Consignes et symboles de sécurité importants :
Veuillez suivre toutes les consignes de sécurité indiquées dans ce manuel. Ce manuel utilise les symboles de sécurité suivants.

AVERTISSEMENT
Pratiques inadaptées ou dangereuses susceptibles de cause des blessures graves, voire mortelles, et des dommages matériels.

ATTENTION
Pratiques inadaptées ou dangereuses susceptibles de cause des blessures graves et/ ou des dommages matériels.

REMARQUE
Informations utiles qui aident l'utilisateur à comprendre ou à utiliser au moins son réfrigérateur.
Ces symboles d'advertissement ont pour but déviter tout risque de blessure pour vous ou d'autres personnes.
Respectez-les en toutes circonstances.
Lisez attentivement la presente section et conservez le manuel en lieu sur afin de pouvoir vous y reporter ultérieurement.
Mesures importantes de sécurité

Avertissement ; risque d'incendie / matières inflammables
AVERTISSEMENT
- Lorsque vous positionné l'appareil, assurez-vous que le cordon d'alimentation n'est ni endommagé, ni coince.
- Ne placez pas plusieurs prises portables ou alimentations électriques portables à l'arrête de l'appareil.
- Remplissez l'appareil d'eau potable uniquement.
Raccordez-le à une source d'eau potable uniquement. - N'obstruuez pas les ouvertures de ventilation à l'intérieur du réfrigérateur ou de la structure encastrée.
- N'utilisez pas d'appareil mécanique ni de dispositif susceptible d'accélérer le processus de décongélation, autres que ceux recommendés par le fabricant.
N'endommagez pas le circuit frigorifique. - N'utilisez pas d'appareils électriques à l'intérieur des compartments de stockage des alimentés de l'appareil, sauf si cela est recommendé par le fabricant.
- Cet apparéil n'est pas conscience pour être utilisé par des personnes (y compris des enfants) ayant des capacité physiques, sensorielles ou mentales réduites, ou ayant un manque d'expérience et de connaissances, à moins qu'elles soient surveillées ou qu'elles aient reçu les instructions nécessaires concernant l'utilisation de cet apparéil de la part d'une personne responsable de leur sécurité.
Consignes de sécurité
- Cet apparéil n'est pas destiné à être utilisé par des enfants de moins de 8 ans ou des personnes ayant des capacité physiques, sensorielles ou mentales réduites, ou un manque d'expérience et de connaissances, à moins qu'elles soient surveillées ou qu'elles aient reçu les instructions nécessaires concernant l'utilisation en toute sécurité de cet apparéil et qu'elles comprendnent les risques impliqués. Les enfants ne doivent pas jouer avec l'appareil. Le nettoyage et la maintenance de l'appareil ne doivent pas été effectués par des enfants sans surveillance. Les enfants de 3 à 8 ans sont autorisés à charger et décharger les apparéils de réfrigération.
- Si le cordon d'alimentation est endommagé, il doit être remplaced par le fabricant, son fournisseur de service ou toute autre personne aux qualifications similaires afin d'éviter tout risque.
- La prise de courant doit être facilement accessible de sorte que vous puissiez rapidement débrancher l'appareil de l'alimentation en cas d'urgence.
- Elle doit se situer en dehors de la zone arrière de l'appareil.
- Dans cet apparéil, ne stockez pas de substances explosives telles que des aérosols avec un propulseur inflammable.
-
Si l'appareil est équipé d'ampoules DEL, ne démontez pas vous-même les caches d'ampoules et les ampoules.
-
Contactez un centre de service Samsung.
-
Utilisez uniquement les ampoules DEL fournies par le fabricant ou son réparateur/agréé.
-
Vous doivent utiliser les tuyaux neufs fournis avec l'appareil et ne pas réutiliser les ancients.
- Raccordez l'arrivée d'eau du réfrigérateur uniquement sur une source d'eau potable. Pour permettre le bon fonctionnement de la machine à glaçons, la pression de l'eau doit être comprise entre 206 et 861 kPa (30 et 125 psi).
- Pour une utilisation optimale de l'énergie, veuillez laisser tous les accessoires internes tels que les paniers, les tiroirs, les clayettes sur leur position indiquée par le fabricant.
- Pour optimiser la consommation d'énergie de cet apparéil, laissez l'ensemble des clayettes, tiroirs et bacs dans leur position d'origine.
Mesures pour réduire la consommation d'énergie
- Installez l'appareil dans une piece sèche et fraîche, correctement ventilée.
-
Vérifiez qu'il n'est pas exposé à la lumière directe du soleil et ne le placez jamais à proximé d'une source de chaleur (un radiateur par exemple).
-
Pour obtenir une meilleure efficacité énergétique, il est conseillé de ne pas bloquer les orifices de ventilation ou les grilles de l'appareil.
- Laissez refroidir les alimentents chauds avant de les placer à l'intérieur de l'appareil.
- Placez les aliments surgelés dans le réfrigérateur pour les laisser décongeler. Les aliments surgelés peuvent ainsi servir à refroidir les aliments stockés dans le réfrigérateur.
- Veiliez à refermer la porte rapidement lorsque vous mettez des alimentés dans le réfrigérateur ou lorsque vous les en sortez.
- Ceci permet de réduire la formation de glace à l'intérieur du congelateur.
- Nettoyez régulierement l'arrière de votre réfrigérateur. La poussière augmente sa consommation d'énergie.
- Ne baissez pas inutillement la température interieure.
- Vérifiez que le système d'évacuation de l'air à la base et à l'arrière du réfrigérateur n'est pas obstrué. Ne recouvre pas les ouvertures de ventilation.
- Laissez un espace suffisant tout autour de l'appareil (à droite, à gauche, à l'arrière et au-dessus) au moment de l'installation. Ceci vous permettra de réduire sa consommation d'énergie et ainsi vos factures.
Consignes de sécurité
Cet apparéil est destiné à être utilisé dans les applications domestiques et similaires telles que :
- les zones de cuisine pour le personnel de magasins, de bureaux et d'autres environnementés de travail ;
- les fermes et clients d'hôts, motels et autres environnementés de type résidentiel ;
- les environnements de type « chambres d'hôtes »;
les applications de restauration et similaires sans vente au détaill.
Symboles d'advertisement importants concernant le transport et le lieu d'installation de l'appareil
AVERTISSEMENT
Veillez à ce qu'aucune piece du circuit frigorifique ne soit endommagée pendant le transport ou l'st installation de l'appareil.
- Risque d'incendie ou de lésions oculaires en cas de fuite de réfrigérant. En cas de fuite, n'approche pas de flamme neue ou de matière potentiellement inflammable et aéréz la piece pendant plusieurs minutes.
-
Cet apparéil contient une faible quantité de réfrigérant isobutane (R-600a), un gaz naturel représentant une compatibilité ecologique elevée, mais qui est aussi un combustible. Veillez à ce qu'aucune piece du circuit frigorifique ne soit endommagée pendant le transport ou l'installation de l'appareil.
-
Lors du transport et de l'installation du réfrigérateur, ne touche pas les flexibles d'eau situés sur sa face arrêté.
-
Cela pourrait endommager le réfrigérateur et rendre inutilisable le distributeur d'eau.
Avertissements importants concernant l'installation

AVERTISSEMENT
-
N'installez pas le réfrigérateur dans un lieu humide ou dans un lieu où il est susceptible d'être en contact avec de l'eau.
-
Une détérioration de l'iso1ation sur des composants électriques est susceptible de provoquer une électrocution ou un incendie.
-
N'installez pas le réfrigérateur dans un endroit exposé à la lumière directe du soleil ou à proximité d'une cusinière, d'un apparéil de chauffage ou d'autres apparéils.
-
Ne branchez pas plusieurs apparils sur la même multiprise. Le réfrigérateur doit toujours être branché sur une prise électrique indépendante dotée d'une tension nominale correspondant à cette figurant sur la plaque signalétique du réfrigérateur.
-
Vous obtiendrez de plusieurs résultats et éviterez également une surcharge des circuits électriques du domicile (risque d'incendie dû à une surchauffe des câbles).
-
Ne branche pas la fiche d'alimentation dans une prise murale mal fixée.
- Cela risquerait d'entrainer une électrocution ou un incendie.
- N'utilisez pas de cordon d'alimentation craquelé ou endommagé sur sa longueur ou à l'une de ses extrémités.
- Ne pliez pas le cordon d'alimentation à l'excess et ne posez pas d'objects lourds dessus.
- Ne tirez pas ou ne pliez pas excessivement le cordon d'alimentation.
- Ne tordez pas ou ne novez pas le cordon d'alimentation.
- N'accrochez pas le cordon d'alimentation sur un objet métallique, ne placez pas un objet lourd sur le cordon d'alimentation, n'insérez pas le cordon d'alimentation entre des objets, ou n'enforcez pas le cordon d'alimentation dans l'espace situé derrière l'appareil.
-
Lorsque vous déplacez le réfrigérateur, assurez-vous de ne pas endommager ou rouler sur le cordon d'alimentation.
-
Risque d'électrocution ou d'incendie.
Consignes de sécurité
- Ne débranche jamais le réfrigérateur en tirant sur le cordon d'alimentation.
Maintenez toujours fermement la fiche pour la débrancher de la prise de courant.
-
Tout dommage causé au cordon est susceptible d'entrainer un court-circuit, un incendie et/ou une électrocution.
-
N'utilisez pas d'aerosols à proximé du réfrigérateur.
- L'utilisation d'aérosols à proximité du réfrigérateur peut provoquer une explosion ou un incendie.
- N'installez pas cet apparéil après d'une source de chaleur ou d'un matériel inflammable.
-
N'installez pas cet apparéil dans un endroit où des fuites de gaz sont susceptibles de se produit.
-
Risque d'électrocution ou d'incendie.
-
Ce réfrigérateur doit être correctement situé et installé conformément aux instructions fournies dans leprésent manuel, avant d'être utilisé.
-
Branchez la fiche d'alimentation dans la bonne position, de façon à ce que le cordon pende vers le bas.
-
Si vous branchez la fiche d'alimentation à l'envers, le cable est susceptible de se rompre et de provoquer un incendie ou une électrocution.
Assurez-vous que la fiche d'alimentation n'est pas écrasée ou endommagée par l'arrête du réfrigérateur.
- Gardez les matériaux d'emballage hors de portée des enfants.
-
Il y a un risque d'asphyxie si un enfant place les matériaux d'emballage sur sa tête.
-
N'installez pas cet apparéil dans un lieu humide, huleux ou poussièreux, ni dans un endroit exposé directement au soleil ou à l'eau (gouttes de pluie).
-
Une dépréciation de l'isolement des composants électriques est susceptible de provoquer une électrocution ou un incendie.
-
Si vous constatiez des traces de poussière ou d'eau dans le réfrigérateur, débranchez la fiche d'alimentation et contactez votre centre de service Samsung Electronics.
- Sinon, il existe un risque d'incendie.
- Ne montez pas sur l'appareil et ne placez pas d'objets (teils que du linge, des bougies allumées, des cigarettes allumées, de la vaisse, des produits chimiques, des objets métalliques, etc.) sur celui-ci.
- Le non-respect de cette consigne risque d'entrainer une électrocution, un incendie, des problèmes avec l'appareil ou des blessures.
- Vous doivent-retirer toutes les pellicules protectrices en plastique avant de brancher l'appareil pour la première fois.
- Les enfants ne doivent pas journi avec les circlips utilisés pour le réglage de la porte ni avec les clips pour le tuyau d'eau.
- Il y a un risque d'asphyxie si un enfant avale un circlip ou un clip pour le tuyau d'eau. Tenez les circlips et les clips pour le tuyau d'eau hors de portée des enfants.
Le réfrigérateur doit être correctement mis à la terre. - Veillez toujours à ce que le réfrigérateur soit branché à la terre avant de vérifier ou de réparer n'importe qu'elle partie de l'appareil. Les fuites électriques peuvent provoquer des électrocutions graves.
- N'utilisez jamais de conduits de gaz, de fils téléphoniques ou d'autres éléments susceptibles d'attirer la foudre pour relier l'appareil à la terre.
- Vous doivent le réfrigérateur à la terre afin d'éviter les fuites électriques ou les électrocutions provoquées par les fuites de courant au niveau de l'appareil.
- Le non-respect de cette consigne risque d'entrainer une électrocution, un incendie, une explosion ou des problèmes avec l'appareil.
Consignes de sécurité
- Branchez fermement la fiche dans la prise murale. N'utilisez pas de fiche d'alimentation endommagée, de cordon d'alimentation endommagé ou de prise murale mal fixée.
- Risque d'électrocution ou d'incendie.
- Le fusible du réfrigérateur doit être changé par un technician qualifié ou une société de services.
- Le non-respect de cette consigne est susceptible de provoquer une électrocution ou des blessures corporelles.
Consignes d'installation
ATTENTION
-
Laissez un espace suffisant autour du réfrigérateur et installez celui-ci sur une surface plane.
-
Si le réfrigérateur n'est pas de niveau, l'efficacité et la durabilité du refroidissement peuvent en être affectées.
-
Àprous l'installation et la mise sous tension, laissez l'appareil tourner à vide pendant 2 à 3 heures avant de placer des alimentés à l'intérieur.
-
Nous vous recommendons fortement de faire appel à un technicien qualifié ou à une société de services pour installer votre réfrigérateur.
-
Le non-respect de cette consigne risque d'entrainer une électrocution, un incendie, une Explosion, des problèmes avec l'appareil ou des blessures.
Avertissements importants concernant l'utilisation
AVERTISSEMENT
-
Ne branche pas la fiche d'alimentation si vous avez les mains mouillées.
-
Cela pourrait cause une électrocution.
-
N'entreposez pas d'objets sur le dessus de l'appareil.
-
Lors de l'ouverture ou de la fermeture de la porte, les objets pouraient tomber et provoquer des blessures corporelles et/ou des dommages matériels.
-
Ne placez pas vos mains, vos pieds ou des objets métalliques (baguettes, etc.) sous ou derrière le réfrigérateur.
-
Risque d'électrocution ou de blessures.
-
Les bords coupants sont susceptibles de provoquer des blessures corporelles.
-
Ne touchez pas les parois interieures du congélateur ni les produits qui y sontrangés si vous avez les mains mouillées.
-
Risque de gelures.
-
Ne placez pas de écipient rempli d'eau sur le réfrigérateur.
-
En cas de renversement, cela pourrait entrainer un incendie ou une électrocution.
-
Ne stockez pas d'objets ou de substances volatiles ou inflammables (benzène, diluant, propane, alcohol, éther, GPL et toute autre substance similaire) dans le réfrigérateur.
-
Le réfrigérateur a été créé exclusivement pour le rangement de produits alimentaires.
-
Cela pourrait entrainer un incendie ou une explosion.
Il est nécessaire de surveiller les enfants pour s'assurer qu'ils ne jouent pas avec l'appareil.
-
Maintenez les doigts éloignés des zones contenant des « points de pincement ». Le jeu entre les portes et l'armoire doit nécessairement être faible. Soyez attentif lorsque vous ouvrez les portes si des enfants se trouvent dans la zone.
-
Ne mettez pas vos doigs et voirlez à ce que les enfants ne mettent pas leurs doigs entre les portes.
-
Tenez vos doigs t éloignés des intervalles situés à gauche et à droit de les portes. Veillez à ne pas avoir les doigs t entre les portes avant de les ouvrir.
-
Ne laissez pas les enfants se suspendre à la porte de l'appareil ou aux bacs des portes. Ils risqueraient de se blesser.

Consignes de sécurité
- Ne laissez pas les enfants entre dans le réfrigérateur. Ils risqueraient de rester emprisonnés.
-
Ne placez pas vos mains sous l'appareil.
-
Les bords coupants sont susceptibles de provoquer des blessures corporelles.
-
Ne rangez pas de produits pharmaceutiques, chimiques ou sensibles aux températures dans le réfrigérateur.
-
Les produits nécessitant un contrôle strict de la température ne doivent pas être entreprises dans le réfrigérateur.
-
Si l'appareil dégage une odeur chimique ou de la fumée, débranchez immédiatement la fiche d'alimentation et contactez votre centre de service Samsung Electronics.
- En cas de traces de poussière ou d'eau dans le réfrigérateur, débranchez la fiche d'alimentation et contactez votre centre de service Samsung Electronics.
- Sinon, il existe un risque d'incendie.
- Ne laissez pas les enfants monter sur un tiroir.
Le tiroir risquerait de se casser et de provoquer leur chute.
- Ne laissez pas les portes du réfrigérateur ouvertes lorsque l'appareil n'est pas sous surveillance afin d'éviter qu'un enfant ne se glisse à l'intérieur de l'appareil.
-
Ne laissez pas les bébés ou les enfants aller à l'intérieur d'un tiroir.
-
Risque d'étouffement ou de blessures corporelles.
-
Ne replissez pas trop le réfrigérateur en aliments.
-
Lors de l'ouverture de la porte, un article pourrait tomber et provoquer des blessures corporelles ou des dommages matériels.
-
Ne vaporisez pas de substance volatile telle qu'un insecticide sur la surface de l'appareil.
-
Ces produits peuvent se révérer dangereux pour la santé et risquent en outre de provoquer une électrocution, un incendie ou des problèmes avec l'appareil.
-
Ne mettez jamais les doigts ni d'autres objets dans l'orifice du distributeur d'eau, le conduit d'écoulement et le bac à glaçons.
-
Cela pourrait provoquer des blessures corporelles ou des dommages matériels.
-
N'utilisez pas ni ne placez pas de substances thermosensible (ex.: pulverisateurs ou objets inflammables, glace sèche, médicaments ou produits chimiques) à proximé ou à l'intérieur du réfrigérateur.
-
N'utilisez pas de sèche-cheveux pour sécher l'intérieur du réfrigérateur. Ne place pas de bougie allumée à l'intérieur du réfrigérateur pour éliminer les mauvaises odeurs.
-
Risque d'électrocution ou d'incendie.
-
Remplissez le réservoir d'eau et le bac à glaçons avec de l'eau potable uniquement (eau minérale ou eau purifiée).
- Ne remplissez pas le réservoir avec du thé, du jus de fruits ou des boissons énergisantes car cela risquerait d'endommager le réfrigérateur.
- Ne montez pas sur l'appareil et ne placez pas d'objets (teils que du linge, des bougies allumées, des cigarettes allumées, de la vaiselle, des produits chimiques, des objets métalliques, etc.) sur celui-ci. Le non-respect de cette consigne risque d'entrainer une électrocution, un incendie, des problèmes avec l'appareil ou des blessures. Ne placez pas de récipient rempli d'eau sur l'appareil.
- En cas de renversement, cela pourrait entrainer un incendie ou une électrocution
- Ne fixez jamais directement l'ampoule DEL UV pendant une période prolongée.
- Cela risquerait d'entraîner une fatigue oculaire due aux rayons ultraviolets.
- Ne placez pas la clavette à l'envers. La butée des clayettes ne fonctionnerait pas.
- Cela pourrait provoquer des blessures corporelles dues à la chute de la clayette en verre
• Maintenez les doiguits éloignés des zones contenant des « points de pincement »
Le jeu entre les portes et l'armoire doit nécessairement être faible. Soyez attentif lorsqu vous ouvrez les portes si des enfants se trouvent dans la zone. - Si une fuite de gaz est détectée, évitez toute flamme neue ou source potentielle d'inflammation et aéréz pendant plusieurs minutes lapiece dans laquelle se trouve l'appareil.
- Ne touchez pas l'appareil ou le cordon d'alimentation.
Consignes de sécurité
- N'utilisez pas de ventilateur.
-
Une étincelle risquérait de provoquer une explosion ou un incendie.
-
Serrez les bouteilles les unes contre les autres pour éviter qu'elles ne tombent.
- Cet apparéil est destiné au rangement des alimentés dans un environnement domestique uniquement.
-
Ne mettez jamais les doigts ni d'autres objets dans l'orifice du distributeur d'eau, le conduit d'écoulement et le bac à glaçons.
-
Cela pourrait provoquer des blessures corporelles ou des dommages matériels.
-
Ne tentez pas de réparer, démonter ou modifier le réfrigérateur vous-même.
- N'utilisez aucunFuseble (tel que du cuivre, un cable d'acier, etc.) autre qu'un fuseble standard.
-
Si le réfrigérateur doit être réparé ou réinstallé, contactez le centre de service le plus proche.
-
Le non-respect de cette consigne risque d'entrainer une électrocution, un incendie, des problèmes avec l'appareil ou des blessures.
-
Si le réfrigérateur dégage une odeur de brûlé ou de la fumée, débranchez-le immédiatement et contactez votre centre de service Samsung Electronics.
- Le non-respect de cette consigne risquerait de provoquer un incendie ou une électrocution.
- Débranche le réfrigérateur avant de remplacer les lampes interieures.
- Sinon, il pourrait y avoir un risque d'électrocution.
- Contactez votre centre de service Samsung si vous éprouvez des difficultés à replacer une ampoule (qui n'est pas une DEL).
- Branchez fermement la fiche dans la prise murale.
-
N'utilisez pas de fiche d'alimentation endommagée, de cordon d'alimentation endommagé ou de prise murale mal fixée.
-
Risque d'électrocution ou d'incendie.
Consignes d'utilisation
ATTENTION
-
Ne recongelez pas des alimentés décongelés.
-
Les aliments surgelés et décongelés développement des bacteriés nocives plus rapidement que les aliments frais.
-
Une deuxieme décongélation détruit davantage de cellules, extrayant ainsi l'humidité des alimentés et modifiant leur intégrité.
-
Ne décongelez pas de la viande à température ambiente.
-
L'opération est sans risque pour la santé si le produit cru a ete manipulé correctement.
-
Ne placez pas de bouteilles en verre ni de boissons gazeuses dans le congélateur.
Le récipient peut geler et se briser, ce qui peut entrainer des blessures.
Utilisez uniquement la machine à glaçons fournie avec le réfrigérateur. -
Si vous vous absentez durant une longue période (pour des vacances par exemple) et savez que vous n'utiliserez pas le distributeur d'eau ou de glacons, fermez le robinet d'adduction d'eau,
-
afin d'éviter tout risque de fuite.
-
Si vous savez que vous n'utiliserez pas le réfrigérateur durant une longue période (3 semaines ou plus), videz-le ainsi que le bac à glaçons et débranchez-le. Fermez la vanne d'arrivée d'eau, essuyez l'excedent d'humidité à l'intérieur et laissez les portes ouvertes afin d'éviter la formation d'odeurs et de moisissures.
Pour un fonctionnement optimal de l'appareil : -
Ne placez pas d'aliments trop pres des orifices de ventilation à l'arrière de l'appareil car ils pourraient empêcher la libre circulation de l'air dans la partie réfrigérateur.
- Emballez bien les alimentents ou mettez-les dans des recipients hermétiques avant de les placer dans le réfrigérateur.
- Respectez les durées de stockage maximales et les dates de péremption associées aux alimentés surgelés.
Consignes de sécurité
-
Il n'est pas nécessaire de débrancher le réfrigérateur lorsque vous vous absentez moins de trois semaines. Cependant, si vous vous absentez pendant plus de trois semaines, retirez les alimentés de l'appareil et la glace se trouvant dans le bac à glaçons et débranchez le réfrigérateur. Fermez la vanne d'arrivée d'eau, essuyez l'excedent d'humidity à l'intérieur et laissez les portes ouvertes afin d'éviter la formation d'odeurs et de moissures.
-
Garantie de réparation et modification
-
Les changements et modifications apportés à cet apparéil fini par un tiers ne sont pas couverts par le service de garantie Samsung. Samsung ne peut être tenue responsable des problèmes de sécurité resultant des modifications apportées par un tiers.
-
N'obstruez pas les orifices de ventilation à l'intérieur du réfrigérateur.
-
Si les orifices de ventilation sont obstrués, notamment par un sac en plastique, le réfrigerateur risque de trop refroidir. Une période de refroidissement trop longue risque d'endommager le filtré à eau et de provoquer des fuites.
Utilisez uniquement la machine à glaçons fournie avec le réfrigérateur.
- Essuyez l'excedent d'humidité à l'intérieur et laissez les portes ouvertes.
-
Le non-respect de cette consigne pourrait engendrer le développement d'odeurs et de moissure.
-
Si le réfrigérateur est débranché de la prise d'alimentation, patientez au moins cinq minutes avant de le rebrancher.
- Si le réfrigérateur est mouillé par de l'eau, débranchez la fiche d'alimentation et contactez votre centre de service Samsung Electronics.
-
Ne frappez pas et n'exercez pas de force excessive sur une surface en verre.
-
Du verre brisé pourrait entrainer des blessures corporelles et/ou des dégats matériels.
-
Remplissez le réservoir et le bac à glaçons d'eau potable uniquement (eau du robinet, eau minérale ou eau purifiée).
-
Ne remplissez pas le réservoir avec du thé ou une boisson énergisante. Cela pourrait endommager le réfrigérateur.
Veillez à ne pas vous pincer les doigts.
- En cas d'inondation, si votre apparéil est entré en contact avec de l'eau, contactez le centre de service le plus proche.
-
Risque d'électrocution ou d'incendie.
-
Ne conservez pas d'huile vegétale dans les bacs de la porte de votre réfrigérateur. L'huile peut se solidifier, ce qui peut lui donner un mauvais goût et la rendre difficile à utiliser. De plus, le écipient ouvert risque de fuir et la fuite d'huile peut créé une fissure dans le bac de la porte. ÀpRES avoir ouvert un écipient d'huile, le mistrs est de le conserver dans un endroit frais et à l'abri du soleil, par exemple dans un placard ou un cellier.
-
Exemples d'huile vegétale : huile d'olive, huile de maiis, huile de pépins de raisin, etc.
Consignes de nettoyage
ATTENTION
- Ne vaporisez pas directement de l'eau à l'intérieur ou à l'extérieur du réfrigérateur.
- Risque d'incendie ou d'électrocution.
- N'utilisez pas de sèche-cheveux pour secher l'intérieur du réfrigérateur.
-
Ne placez pas de bougie allumée à l'intérieur du réfrigérateur pour en éliminer les mauvaises odeurs.
-
Risque d'électrocution ou d'incendie.
-
Ne vaporisez pas de produit de nettoyage directement sur l'écran.
-
Les caractères imprimés risqueraient de s'effacer.
-
Lorsqu'un corps étranger tel que de l'eau a pénétré dans l'appareil, débranchez la fiche d'alimentation et contactez votre centre de service le plus proche.
-
Le non-respect de cette consigne est susceptible de provoquer un incendie ou une électrocution.
Consignes de sécurité
Utilisez un chiffon propre et sec pour éliminer toute poussière ou corps étranger des lames de la fiche d'alimentation. N'utilisez pas de chiffon mouillé ou humide lors du nettoyage de la fiche.
-
Sinon, il pourrait y avoir un risque d'incendie ou d'électrocution.
-
Ne nettoyez pas l'appareil en vaporisant de l'eau directement dessus.
-
N'utilisez pas de benzène, de diluant, de Clorox ou de chlorure pour le nettoyage.
-
Ces produits risquent d'endommager la surface de l'appareil et de provoquer un incendie.
-
Ne mettez jamais les doigs ni d'autres objets dans l'orifice du distributeur.
-
Cela pourrait provoquer des blessures corporelles ou des dommages matériels.
-
Débranche l'appareil de la prise murale avant de le nettoyer et d'en faire la maintenance.
-
Le non-respect de cette consigne est susceptible de provoquer un incendie ou une électrocution.
-
Utilisez une éponge propre ou un chiffon doux et un produit de nettoyage doux avec de l'eau tiège pour nettoyer le réfrigérateur.
-
N'utilise pas de produits de nettoyage abrasifs ou concentrés, tels que des produits à vitre, des produits à récurer, des liquides inflammables, de l'acide chlorhydrique, des cires nettoyantes, des déterments concentrés, de la Javel ou des produits de nettoyage contenant des produits pétroliers, sur les surfaces extérieures (portes et meuble), les pieces en plastique, les revêtements de la porte et de l'intérieur, ainsi que les joints.
-
Vous risqueriez de rayer ou d'endommager le matériel.
-
Ne nettoyez pas les caches ou les clayettes en verre avec de l'eau tiède lorsqu'ils sont froids. Les caches et les clayettes en verre risquent de se casser s'ils sont exposés à des variations soudaines de température ou à des impacts (chocs ou chutes).
Avertissements importants concernant la mise au rebut

AVERTISSEMENT
- Veuillez jeter le matériel d'emballage de cet apparéil dans le respect de l'environnement.
Assurez-vous qu'aucun des tuyaux situés à l'arrière du réfrigérateur n'est endommagé avant sa mise au rebut. - Le gaz réfrigérant utilisé est le R-600a ou R-134a. Vérifiez le gaz réfrigérant utilisé dans votre réfrigérateur sur l'étiquette du compresseur située à l'arrière de l'appareil ou sur l'étiquette signalétique située à l'intérieur du réfrigérateur. Si ce réfrigérateur contient du gaz inflammable (gaz réfrigérant R-600a), veuillez contacter les autorités locales pour obtenir des renseignements sur la mise au rebut en toute sécurité de votre apparéil.
- Lors de la mise au rebut de ce réfrigérateur, retirez la porte/les joints de porte ainsi que le loquet de la porte afin que des petits enfants ou des animaux ne puissant pas se retrouver enfermés à l'intérieur. Il est nécessaire de surveiller les enfants pour s'assurer qu'ils ne jouent pas avec l'appareil. Un enfant risquerait de se retrouver emprisonné à l'intérieur, de se blesser ou de s'asphyxier.
- Les enfants risqueraient de se retrouver emprisonnés à l'intérieur, de se blesser et de s'asphyxier.
- Du cyclopentane est utilisé comme isolant. Les gaz utilisés pour l'isolation nécessitent une procédure d'élimination spéciale. Pour savoir commentmettre cet appeareil au rebut dans le respect de l'environnement, veuillez contacter les autorités locales.
- Conservez tous les matériaux d'emballage hors de portée des enfants, car ils seront un danger pour ces derniers.
- Un enfant pourrait s'asphyxier s'il met sa tête dans un sac.
Consignes de sécurité
Conseils complémentaires pour une utilisation appropriée
-
En cas de coupure de courant, appelez le bureau local de votre fournisseur d'électricité afin de connaître la durée prévue de la coupure.
-
La plupart des coupures de courant qui sont corrigées dans l'heure ou dans les deux heures qui suivent n'effectent pas les températures du réfrigérateur. Cependant, il est recommendé de limiter le nombre d'ouvertures de la portependant l'absence de courant.
-
Si la coupure de courant dure plus de 24 heures, retirez et jetez tous les alimentés surgelés.
-
Le réfrigérateur pourrait ne pas fonctionner d'une manière constante (possibilité de décongélation des aliments surgelés ou de hausse trop importante de la température à l'intérieur du compartment d'aliments surgelés) s'il est placépendant une période prolongée dans des pieces dont la température ambiente est constamment en dessous des températures pour lesquelles il a été consu.
- En cas de présence d'aliments particuliers, les conserver réfrigérés peut avoir un effet négatif sur leur conservation en raison de leurs propriétés.
- Notre apparéil est équiné de la fonction de dégivrage automatique, ce qui veut dire que vous n'avez pas besoin de le dégivrer manuellement. Le dégivrage se fera automatiquement.
- L'augmentation de la température pendant le dégivrage reste conforme aux normes ISO. Si vous souhaitez éviter toute augmentation excessive de la température des alimentés surgelés pendant le dégivrage de l'appareil, emballez-les dans plusieurs couches de papier (un journal par exemple).
- Ne recongelez pas un aliment qui a complètement décongelé.
- La température de la/des parties à deux étoiles ou du/des compartments qui possèdent le symbole deux étoiles (※※) est légèrement plus élevé que celle de l'autre/des autres compartments du congélateur.
La/Les parties ou le/les compartments à deux étoiles sont basé(e)s sur les instructions et/ou l'état lors de la livraison.
Instructions concerning la règlementation DEEE

Lesbons gestes de mise au rebut de ce produit (Déchets d'équipements électriques et électroniques)
(Applicable aux pays disposant de systèmes de collecte séparés)
Ce symbole sur le produit, ses accessoires ou sa documentation indique que ni le produit, ni ses accessoires électroniques usages (chargeur, casque audio, cable USB, etc.) ne peuvent être jetés avec les autres déchets menagers. La mise au rebut incontrolée des déchets représentant des risques environnementaux et de santé publique, veuillez séparer vos produits et accessoires usages des autres déchets. Vous favoriserez ainsi le recyclage de la matière qui les compose dans le cadre d'un développement durable.
Les particuliers sont invitees à contacter le magasin leur ayant vendu le produit ou à se renseigner auprès des autorités locales pour connaître les procédures et les points de collecte de ces produits en vue de leur recyclage.
Les entreprises et particuliers sont invités à contacter leurs fournisseurs et à consulter les conditions de leur contrat de vente. Ce produit et ses accessoires ne peuvent être jetés avec les autres déchets.
Pour plus d'informations sur les engagements de Samsung en matière d'environnement et les obligations légales relatives à l'appareil (par exemple, la directive REACH ou celles portant sur les DEEE et les batteries), consultez notre page relative au développement durable accessible via www.samsung.com.
(Uniquement pour les apparèils commercialisés dans les pays européens et au Royaume-Uni)
Installation
Avant toute utilisation, respectez scrupuleusement ces consignes pour assurer une installation adequate du réfrigérateur et éviter les accidents.
AVERTISSEMENT
N'utilisez ce réfrigérateur que conformément à l'usage auquel il est destiné, tel que décrit dans ce manuel.
Toute opération d'entretien doit être effectuee par un technicien qualifie.
- Mettez au rebut les matériaux d'emballage de l'appareil conformément aux réglementations locales.
Pour eviter tout risque d'électrocution, débranche la fiche d'alimentation avant tout entretien ou remplacement de pieces.
Présentation rapide du réfrigérateur
L'apparance réelle du réfrigérateur et les composants fournis avec votre réfrigérateur peuvent différer des illustrations générées dans ce manuel, en fonction du modèle et du pays.

Type A
Installation

Type B
01 Pichet à replissage automatique
02 Distributeur d'eau*
03 Bac de la porte du réfrigerateur
04 Clayette du réfrigérateur
05 Clayette à retrait rapide *
06 Tiroir à légumes / Tiroir flexible à légumes *
07 Filtre à eau *
08 Machine à glaçons automatique - Glaçons *
09 Machine à glaçons automatique - Glace pilée *
10 Bac de la porte du congelasteur
11 Clayette du congelateur
12 Tiroir du congélateur
13 Panneau de commande
14 Machine à glaçons à fond amovible *
- Modèles applicables uniquement
** Modèles avec distributeur uniquement

REMARQUE
Pour une bonne efficacité energétique, veillez à ce que les clayettes, tiroirs et bacs soient placés dans leur position d'origine.
Lorsque you fermez la porte, assurez-vous que la section a charniere verticale est correctement positionnee afin d'eviter que l'autre porte ne soit rayee.
Si la section a charniere verticale est inversee, remettez-la dans la bonne position, puis fermez la porte.
Il se peut que de l'humidité apparaissé parfois sur la section à charnière verticale.
Si vous fermez une porte trop fort, il est possible que l'autre porte s'ouvre.
- Si la lampe à DEL interne ou externe est hors service, contactez un centre de service Samsung local.
Installation
Bacs de la porte
Votre réfrigérateur est livré avec différents types et tailles de bacs de porte. Si les bacs de la porte de votre réfrigérateur ont été emballés séparément, aidez-vous de l'illustration ci-dessous pour positionner les bacs de façon appropriée.

REMARQUE
L'apparance réelle du réfrigérateur et les composants fournis avec votre réfrigérateur peuvent différer des illustrations générées dans ce manuel, en fonction du modèle et du pays.

Installation étape par étape
ÉTAPE 1 Choisir un site d'installation
Le site d'installation doit :
- posseder une surface solide et plane, sans moquette ni revêtement de sol pouvant obstruer la ventilation ;
- être à l'abri de la lumière directe du soleil ;
-disposer d'un espace adequat pour ouvrir et fermer la porte ; - être éloigné de toute source de chaleur ;
- laisser un espace suffisant pour effectuer des travaux de maintenance et d'entretien ;
-présenter une plage de températures comprise entre 10^ et 43^ .
Dégagement
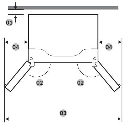
Pour connaître les exigences en matière d'espace d'installation, reportez-vous aux illustrations et tableaux suivants.

| Profondeur « A » | 723 mm |
| Largeur « B » | 912 mm |
| Hauteur « C » | 1 797 mm |
| Hauteur totale « D » | 1 825 mm |
Installation


| 01 | 50 mm |
| 02 | 125° |
| 03 | 1 472 mm |
| 04 | 282 mm |
| 05 | 610 mm |
| 06 | 47 mm |
| 07 | 1 093 mm |

REMARQUE
Les mesures indiquées dans les tableaux peuvent légèrement varier des mesures réelles, en fonction de la méthode de mesure et d'arrondissement utilisé.
ETAPE 2 Sol
Si vous entrée ne permet pas le passage du réfrigerateur à cause de sa taille, reportez-vous à la section Retrait des portes pour passer l'entrée.

REMARQUE
Afin de ne pas déterminer le sol, assurez-vous que les pieds avant de mise à niveau sont en position verticale.
- La surface d'installation doit supporter le poids d'un réfrigerateur plein.
Pour protéger le sol, posez un grand bout de carton le long du chemin jusqu'à l'emplacement final d'installation de votre réfrigerateur. - Lorsque le réfrigérateur se trouve dans sa position finale, ne le déplacez plus sauf si cela est nécessaire pour protéger le sol. Si vous devez déplacer le réfrigérateur, placez du carton épais ou un morceau de vieille moquette le long du chemin de transport.
Installation
ÉTAPE 3 Retrait des portes pour passer l'entrée
Si vous entrée ne permet pas le passage du réfrigerateur jusqu'à votre maison ou votre cuisine à cause de sa taille, suivez ces instructions pourPTRerpuis reinstaller les portes du réfrigerateur. Si vous n'avez pas besoin de PTRer les portes, reportez-vous à la procedure d'installation en page 42.
AVERTISSEMENT
Débranche le cordon d'alimentation du réfrigérateur avant desteroler les portes.
Outils requis (non fournis)


Tournevis cruciforme
Pinces


Tournevis à tête plate
Clé hexagonale 1 / 4'' (5 mm)

Clé à douille 3/8 (10 mm)
Démontage des portes du réfrigerateur

- ÀpRES avoir fermé les portes,utilisez un tournevis cruciforme pour retarder les vis (x3) au niveau du cache supérieur.Tirez vers le haut et retirez le cache supérieur avec les connecteurs.



- Débranche les deux connecteurs de cable sur la porte gauche. La position des connecteurs différent selon le modele.
ATTENTION
- Ne retirez pas les deux portes simultanément. Assurez-vous de retarder une porte après l'autre. En cas de non-respect de cette consigne, l'une des portes peut tomber et vous blesser.
Assurez-vous que le réfrigérateur est hors tension avant de débrancher les connecteurs. -
Débranchez le tuyau d'eau du coupleur sur la porte gauche, comme indiqué.
-
Cette étape ne s'applique pas aux modèles qui ne sont pas écipés du pichet à replissage automatique et du distributeur d'eau.
- Tirez doucement et progressivement le collier. Pour éviter toute blessure aux doigts, n'exercez pas de force brusque sur le collier.
- Tirez le collier vers le haut pour le retarder.
Installation


- Ouvrez la porte à 90 degrés. Tout en tenant la porte, tirez vers le haut et retirez la charnière supérieure. Veiliez à ne pas endommager les connecteurs de cable lorsque vous retirez la charnière.
- Soulevez doucement la porte à la verticale pour la prisoner. N'exercez pas une force excessive sur la porte. La porte pourrait tomber et provoquer des blessures corporelles.
- Dépossez la porte sur une surface plane.
- Recommence les étapes 1 à 8 pour l'autre porte, sauf l'objet 3. Il n'y a pas de tube d'eau sur la porte droite.
L'etape 2 ne s'aplique pas aux modeles qui ne sont pas équipés de la porte vitrine.
Démonter les portes du congelateur
ATTENTION
Assurez-vous de-retirer les portes du réfrigérateur avant celles du congélateur.
Soyez prudent lorsque vous débranchez les connecteurs du bas.



- Ouvrez la porte du congelateur.
-
Utilisez un tournevis cruciforme pour-retirer la vis fixant le cache (A).
-
Cette étape ne s'a applique qu'a la porte droite du congélateur (porte Température régliable+).
-
Debranchez les connecteurs de cable.
- Cette étape ne s'a applique qu'a la porte droite du congélateur (porte Température régliable+).
- Localisez l'axe de la charnière. Tout en tenant la porte d'une main, utilisez un tournevis à tête plate ou une clé hexagonale pour appuyer sur l'axe. Assurez-vous de bien tener la porte afin d'éviter qu'elle ne tombe.
Installation

Réinstallation des portes du congélateur

ATTENTION
- Àprous avoir réinstallé les portes, assurez-vous que tous les connecteurs électriques sont correctement branchés.
- Les portes du congélateur doivent être réinstallées avant celles du réfrigerateur.
Veiliez à ne pas endommager et à ne pas monter sur les fils pendant ce processus.

- Pour éviter tout contact avec la charnière centrale, inclinez légrement la porte en avant, puis souvevez-la pour la retarder.
-
Recommence les étapes 1 à 5 pour l'autre porte, sauf les étapes 2 et 3.
-
Insérez la porte du congélateur sur la charnière inférieure, tout en la poussant dans le sens de la flèche.

ATTENTION
Veillez à ne pas endommager et à ne pas monter sur les fils pendant ce processus.



- Tout en appuyant sur l'axe de la charnière, placez la porte de manière à ce que l'axe de la charnière soit en-dessous de l'orifice de l'axe dans la charnière centrale. Relâchez l'axe de la charnière afin qu'il pénétre dans l'orifice de l'axe.
- ÀpRES avoir ouvert la porté, branchez les connecteurs du bas dans le sens des flèches. -Cette étape ne s'applique qu'à la porte droite du conge lateur (porte Température régiable+).
- Fixez le cache à l'aide d'un tournevis cruciforme. Veillez à ne pas endommager et à ne pas marcher sur les connecteurs.
- Cette étape ne s'applique qu'à la porte droite du congélateur (porte Température réglable+).
- Recommence les étapes 1 à 5 pour l'autre porte, sauf les étapes 3 et 4.
Installation
Remetre en place les portes du réfrigerateur




- Tout en maintainant la porte ouverte à plus de 90 degrés, insérez l'axe de la charnière centrale dans l'orifice en bas de la porte.
- Mettez la charnière supérieure en position en haut du réfrigerateur, puis insérez l'axe de la charnière dans l'orifice supérieur de la porte. Assurez-vous que les câbles au niveau de la porte passent à travers l'orifice dans l'axe de la charnière.
- Insérez le collier dans le sens de la flèche.
- Poussez le collier vers l'arrière, comme indiqué.


- Branchez les connecteurs de cable.
ATTENTION
Assurez-vous que les connecteurs de cable sont correctement branchés. Sinon, l'écran ne fonctionnera pas.
6. Raccordez le tuyau d'eau.
- Cette étape ne s'applique pas aux modèles qui ne sont pas écipés du pichet à replissage automatique et du distributeur d'eau.
ATTENTION
Pour éviter les fuites d'eau, assurez-vous que les clips rouges seront correctement le coupleur.
Tenez les clips hors de portée des enfants.
- Recommence les étapes 1 à 5 pour l'autre porte.
L'etape 5 ne s'aplique pas aux modeles qui ne sont pas équipés de la porte vitrine. - Installez le cache supérieur en commençant par l'avant, puis appuyez sur l'arrière du cache pour leMETtre en position. Ensuite, serrez les vis (x3).
Installation
ÉTAPE 4 Mise à niveau du réfrigérateur

ATTENTION
- Une fois installé, le réfrigérateur doit être mis de niveau sur un sol plan et solide. Si vous ne mettez le réfrigérateur de niveau, cela risque d'endommager le réfrigérateur ou d'engendrer des blessures corporelles.
Pourmettrele frigerateur de niveau,ce dernier doit etre vide.Assurez-vous qu'il ne reste aucun aliment a l'intérieur du frigerateur.
Pour des raisons de sécurité, l'avant doit être légèrement plus élevé que l'arrière.
Mettez le réfrigérateur de niveau à l'aide des vis spéciales (vis de mise à niveau) sur les pieds avant. Utilisez un tournevis à tête plate pour runner les vis de mise à niveau.

Pour ajuster la hauteur côté gauche : Insérez un tournevis à tête plate dans la vis de mise à niveau du pied avant gauche. Tournez la vis de mise à niveau dans le sens horsaire pour relever le côté gauche ou tournez-la dans le sens antihoraire pour l'abaiser.
Pour ajuster la hauteur côté croit : Insérez un tournevis à tête plate dans la vis de mise à niveau du pied avant croit. Tournez la vis de mise à niveau dans le sens horsaire pour relever le côté croit ou tournez-la dans le sens antihoraire pour l'abaisser.
ÉTAPE 5 Réglage de la hauteur des portes
Réglage de la hauteur à l'aide du levier destiné à cet effet (modèles applicables uniquement)


- Avant d'aligner la hauteur des portes, vérifie que le réfrigérateur est de niveau. Utilisez les pieds de mise à niveau à cette fin.
- Vous pouvez utiliser le levier de réglage de la hauteur situé en bas de la porte droite du réfrigérateur. Ouvrez la porte droite du congélateur après avoir fermé les deux portes du réfrigérateur, puis utilisez le levier pour régler la hauteur des portes.
- Tournez le levier de réglage de la hauteur (A) jusqu'à ce que les deux portes soient alignées en haut. Tournez le levier vers le HAUT ( comme indiqué) pour relever la porte droite et tournez le vers le BAS ( comme indiqué) pour abaiser la porte.
- Soulevez légèrement la porte du réfrigérateur pour faciliter l'alignement. La hauteur maximale régblé est de 3 mm.
Le levier ne tournera pas au-delà de la limite maximale. Il est possible qu'il émette un bruit si vous le tournez trop.
- Une hauteur excessive peut interférer avec le cache de la charnière supérieure sur la port du réfrigérateur.
- Si vous alignez la hauteur des portes avec les bacs de la porte vides puis que vous y ranger des articles, les hauteurs peuvent à nouveau être différentes. Si tel est le cas, suivez les étapes cédessus pour réaligner les portes.
Installation
Réglage de la hauteur à l'aide des circlips
Pour les modèles équipés du levier de réglage de la hauteur sur la porte droite du réfrigérateur, utilisez les circlips uniquement si vous ne pouvez pas aligner les portes à l'aide du levier de réglage de la hauteur.



REMARQUE
Voussoupiezajusterlahauteurd'uneporta laide descirclipsfournis,disponibles dans4tailledifferentes(1mm,1,5mm,2mm et2,5mm).
-
Vérifiez la différence de hauteur entre les portes, puis soulevez la porte la plus BASSE et maintenez-la ainsi.
-
Insérez un circlip (A) de taille adaptée entre l'eellet de la porte (B) et la charnière, comme indiqué.
ATTENTION
- Insérez un seul circlip. Si vous insérez deux circlips ou plus, ils peuvent glisser ou provoquer un bruit de frottement.
Tenez les circlips hors de portee des enfants et conservez-les pour une utilisation ulterieure. - Ne soulevez pas la porte excessivement. La porte peut entrer en contact avec le cache supérieur et l'endommager.
Réglage de la hauteur des portes du congelateur (modèles applicables uniquement)

- Avant d'aligner la hauteur des portes, vérifie que le réfrigérateur est de niveau. Utilisez les pieds de mise à niveau à cette fin.
- Vous pouvez régler la hauteur des deux portes du congelateur à l'aide du levier situé sur la charnière inférieure.
- Ouvrez la porte, soulevez-la légèrement, puis faites tourner le levier vers la gauche ou la droite pour régler la hauteur.
Réglage de l'écart entre les portes du réfrigerateur et le corps principal de l'appareil (modèles applicables uniquement)

- Vous pouvez régler l'écart entre les deux portes du réfrigérateur et le corps principal de l'appareil. Pour ce faire, utilisez le boulon de réglage situé en bas du compartment réfrigérateur.
- Soulevez le joint de la porte pour révérer le boulon de réglage en-dessous du joint. Utilisez la clé hexagonale de 4 mm pour régler l'écart.
ATTENTION
Veillez à fixer correctement le joint. Sinon, l'air froid risque de s'échapper du réfrigérateur.
ÉTAPE 6 Raccordement à une source d'eau (modèles applicables uniquement)

ATTENTION
- Vous doivent utiliser les flexibles neufs fournis avec l'appareil et ne pas réutiliser les anciens.
Le tuyau d'eau doit être raccordé par un technicien qualifié. - La garantie de votre réfrigérateur ne couvre pas l'installation du tuyau d'eau. L'installation du tuyau d'eau sera effectue à vos frais, sauf si les coûts d'installation sont compris dans le prix du revendeur.
Samsung ne sera enaucn cas tenu responsable pour l'installation du tuyau d'eau. Si des fuites d'eau surviennent, prenez contact avec l'installateur du tuyau d'eau.
Pour raccorder le tuyau d'eau froide au flexible de filtrage de l'eau :

ATTENTION
Assurez-vous que le flexible de filtrage de l'eau est raccordé au tuyau d'une source d'eau froide potable. S'il est relié au tuyau d'eau chaude, cela risquerait d'entraîner un dysfonctionnement du purificateur.

A. Fermeture de la conduite d'eau principale
B. Pas d'écart
- Coupez l'alimentation en eau en fermant la vanne d'eau principale.
- Repérez le tuyau d'eau (1) froide potable.
- Suívez les instructions de la section Installation du tuyau d'eau pour raccorder le tuyau d'eau.
- Une fois le raccordement terminé, ouvrez la vanne d'eau principale et versez environ 3 litres d'eau. Cette opération permet d'éliminer les impuretés représentes à l'intérieur du tuyau.
Pour raccorder le flexible de filtrage de l'eau au tuyau d'eau :

A. Tuyau d'eau de l'appareil
B. Tuyau d'eau du kit


Pour réparer le tuyau d'eau :
ATTENTION
Le tuyau d'eau doit être réparé par un technicien qualifié. Si vous observez une fuite d'eau, prenez contact avec un centre de dépannage Samsung local ou avec l'installateur du tuyau d'eau.
- Desserrez et retirez l'écrou de compression (a) au niveau du tuyau d'eau du réfrigerateur, puis insérez-le sur le flexible de filtrage de l'eau.
- Serrez l'écrou de compression (a) pour raccorder le flexible de filtrage de l'eau et le tuyau d'eau.
- Ouvrez la vanne d'eau principale et vérifie l'absence de fujites.
- Si vous n'observe+zaucune fuite, versez environ 3 litres d'eau avant d'utiliser le réfrigérateur, afin d'éliminer les impuretés prsentes à l'intérieur du système de filtrage de l'eau.
REMARQUE
Si vous nevez changer l'emplacement du réfrigérateur après avoir raccordé le tuyau d'eau, assurez-vous que la section jointée du tuyau d'eau est droite.
ATTENTION
Ne montez le filtré à eau sur aucune piece du réfrigérateur. Cela pourrait endommager le réfrigérateur.
Installation
ÉTAPE 7 Réglages initiaux
En effectuant les étapes suivantes, le réfrigerateur doit fonctionner entièrement.
- Branchez le cordon d'alimentation dans la prise murale pour allumer le réfrigerateur.
- Ouvrez la porte et vérifie si l'éclairage à l'intérieur s'allume.
- Réglez la température sur la valeur la plus BASSE et patientez environ une heures. Le concélateur est alors légarement réfrigéré et le moteur tourne doucement.
- Attendez jusqu'à ce que le réfrigérateuratteigne la températe régée. Le réfrigérateur est désormais prét à l'emploi.
ÉTAPE 8 Vérification finale
Lorsque l'installation est terminée, vérifie les points suivants :
Le réfrigerateur est branché sur une prise électricque et correctement mis à la terre.
Le réfrigérateur est installé sur une surface plane et de niveau, à une distance suffisante des parois et des meubles.
Le réfrigerateur est de niveau et positionné fermement au sol.
- La porte s'ouvre et se ferme sans problèmes et l'éclairage interieur s'allume automatiquement dés que vous ouvrez la porte.
Panneau de commande


| 01 Affichage | Affiche le menu, les réglages et d'autres informations. |
| 02 Boutons | • Lorsque l'écran est étéint, appuyez sur n'importe quel bouton pour le pallumer. • Appuyez sur < ou sur > pour naviguer vers la gauche et vers la droite. • Appuyez sur O pour confirmer votre sélection. • Laissez votre doigt appuyé sur O pour passer en mode AP (Point d'accès). (Pour en savoir plus, reportez-vous à la section « SmartThings » Pour commencer » en page 54.) |
REMARQUE
Le panneau de commande est concu pour rester etint lorsque le refrigerateur n'est pas utilise. Il s'active et s'allume uniquement lorsque vous ouvre la porte ou appuyez sur les boutons.
- Si la porte est laissée ouverte pendant 5 minutes, l'éclairage interieur clignote pendant 5 minutes puis s'eteint. Le but est d'indiquer aux utilisateurs sourds et malentendants qu'une porte est ouverte. Veuillez noter que ce comportement de l'appareil est tout à fait normal.
Lorsque you changez la temperature sur Iecran, ce dernier affiche la temperature actuelle a l'intérieur du refrigerateur, jusqu'ac que la temperture atteigne la valeur que you avez reglee. Ensuite, Iecran affiche la nouvelle temperature reglee. Veuillez noter qu'il faut prevoir du temps avant que le refrigerateur atteigne la nouvelle temperature. Ceci est tout a fait normal. Pendant ce temps, you ne nevez pas regler de nouveau la temperature.
Utilisation du panneau de commande
- Appuyez sur l'un des boutons (<, O ou >) pour fallumer l'écran.
- Appuyez sur < ou sur > pour selectionner le menu souhaite, puis appuyez sur O pour confirmer.
- Appuyez sur < ou sur > pour sélectionner le réglage souhaité, puis appuyez sur O pour confirmer. Pour en savoir plus sur les réglages disponibles, reportez-vous à la section Description des menus.
Description des menus
| Fridge (Réfrigérateur) | • Vous pouvez régler la température du réfrigérateur entre 1 et 7 °C ou régler la fonction Refroidissement rapide. • La fonction Refroidissement rapide accélère le processus de refroidissement avec le ventilateur à vitesse maximal. Le réfrigérateur continue de fonctionner à vitesse maximale pendant deux heures et demie, avant de revenir à la température précédente. |
| Freezer (Congélateur) | • Vous pouvez régler la température du congélateur entre -23 et -15 °C ou régler la fonction Congélation rapide. • La fonction Congélation rapide accélère le processus de congélation avec le ventilateur à vitesse maximale. Le congélateur fonctionne à vitesse maximale durant 50 heures avant de revenir à la température précédente. Pour congefer une grande quantité d'aliments, activez la fonction Congélation rapide au moins 20 heures avant de placer les aliments dans le congélateur. |
| Cool Select+ (Température régliable+) | • Vous pouvez régler le mode Température régliable+ depuis l'un des modes suivants. • Freeze (Congélation): la température se règle à la même température que le congélateur. • Soft Freeze (Congélation douce): la température se règle à -5 °C. • Meat/Fish (Viande/Poisson): la température se règle à -1 °C. • Fruit/Veggies (Fruits/Légumes): la température se règle à 2 °C. • Beverage (Boissons): la température se règle à 4 °C. ATTENTION • Sélectionnez le mode Température régliable+ en fonction du type d'aliments que vous placez dans cette zone. • Ne placez pas de viande ou d'aliments dans la zone Température régliable+ lorsque le mode Fruits/Légumes ou Vin est activé. La viande ou les aliments pourrait s'abîmer. • Ne placez pas de bouteilles en verre dans la zone Température régliable+ si le mode Congélation ou Congélation douce est activé. Elles risqueraient de se casser et de provoquer des blessures. |
| Flex Crisper (Tiroir flexible à légumes) | • 你自己 pour la mode Tiroir flexible à légumes depuis l'un des modes suivants. • 1 Fridge (Réfrigérateur) : la température se règle à la même température que le réfrigérateur. • 2 Meat/Fish (Vande/Poisson) : sélectionnez ce mode pour maintainir de la viande et du poisson au frais. (Nous recommendons de régler la température du réfrigérateur à moins de 3 °C pour maintainir de la viande et du poisson plus frais dans le Tiroir flexible à légumes.) © REMARQUE Vouces pouvez conserver de la viande et du poisson dans le tiroir à viande pendant 3 à 5 jours (à quelques exceptions prem, telles que la viande crue qui ne doit être conservée qu'un ou deux jours). Placez-les au concélateur si vous souhaitez les conserver plus de 5 jours. |
| AutoFill Pitcher (Pichet à replissage automatique) * | • 1 • 2 • 3 • 4 • 5 • 6 • 7 • 8 • 9 • 10 • 11 • 12 • 13 • 14 • 15 • 16 • 17 • 18 • 19 • 20 • 21 • 22 • 23 • 24 • 25 • 26 • 27 • 28 • 29 • 30 • 31 • 32 • 33 • 34 • 35 • 36 • 37 • 38 • 39 • 40 • 41 • 42 • 43 • 44 • 45 • 46 • 47 • 48 • 49 • 50 • 51 • 52 • 53 • 54 • 55 • 56 • 57 • 58 • 59 • 60 • 61 • 62 • 63 • 64 • 65 • 66 • 67 • 68 • 69 • 70 • 71 • 72 • 73 • 74 • 75 • 76 • 77 • 78 • 79 • 80 • 81 • 82 • 83 • 84 • 85 • 86 • 87 • 88 • 89 • 90 • 91 • 92 • 93 • 94 • 95 • 96 • 97 • 98 • 99 • 100 • 101 • 102 • 103 • 104 • 105 • 106 • 107 • 108 • 109 • 110 • 111 • 112 • 113 • 114 • 115 • 116 • 117 • 118 • 119 • 120 • 121 • 122 • 123 • 124 • 125 • 126 • 127 • 128 • 129 • 130 • 131 • 132 • 133 • 134 • 135 • 136 • 137 • 138 • 139 • 140 • 141 • 142 • 143 • 144 • 145 • 146 • 147 • 148 • 149 • 150 • 151 • 152 • 153 • 154 • 155 • 156 • 157 • 158 • 159 • 160 • 161 • 162 • 163 • 164 • 165 • 166 • 167 • 168 • 169 • 170 • 171 • 172 • 173 • 174 • 175 • 176 • 177 • 178 • 179 • 180 • 181 • 182 • 183 • 184 • 185 • 186 • 187 • 188 • 189 • 190 • 191 • 192 • 193 • 194 • 195 • 196 • 197 • 198 • 199 • 200 • 201 • 202 • 203 • 204 • 205 • 206 • 207 • 208 • 209 • 210 • 211 • 212 • 213 • 214 • 215 • 216 • 217 • 218 • 219 • 220 • 221 • 222 • 223 • 224 • 225 • 226 • 227 • 228 • 229 • 230 • 231 • 232 • 233 • 234 • 235 • 236 • 237 • 238 • 239 • 240 • 241 • 242 • 243 • 244 • 245 • 246 • 247 • 248 • 249 • 250 • 251 • 252 • 253 • 254 • 255 • 256 • 257 • 258 • 259 • 260 • 261 • 262 • 263 • 264 • 265 • 266 • 267 • 268 • 269 • 270 • 271 • 272 • 273 • 274 • 275 • 276 • 277 • 278 • 279 • 280 • 281 • 282 • 283 • 284 • 285 • 286 • 287 • 288 • 289 • 290 • 291 • 292 • 293 • 294 • 295 • 296 • 297 • 298 • 299 • 300 • 301 • 302 • 303 • 304 • 305 • 306 • 307 • 308 • 309 • 310 • 311 • 312 • 313 • 314 • 315 • 316 • 317 • 318 • 319 • 320 • 321 • 322 • 323 • 324 • 325 • 326 • 327 • 328 • 329 • 330 • 331 • 332 • 333 • 334 • 335 • 336 • 337 • 338 • 339 • 340 • 341 • 342 • 343 • 344 • 345 • 346 • 347 • 348 • 349 • 350 • 351 • 352 • 353 • 354 • 355 • 356 • 357 • 358 • 359 • 360 • 361 • 362 • 363 • 364 • 365 • 366 • 367 • 368 • 369 • 370 • 371 • 372 • 373 • 374 • 375 • 376 • 377 • 378 • 379 • 380 • 381 • 382 • 383 • 384 • 385 • 386 • 387 • 388 • 389 • 390 • 391 • 392 • 393 • 394 • 395 • 396 • 397 • 398 • 399 • 400 • 401 • 402 • 403 • 404 • 405 • 406 • 407 • 408 • 409 • 410 • 411 • 412 • 413 • 414 • 415 • 416 • 417 • 418 • 419 • 420 • 421 • 422 • 423 • 424 • 425 • 426 • 427 • 428 • 429 • 430 • 431 • 432 • 433 • 434 • 435 • 436 • 437 • 438 • 439 • 440 • 441 • 442 • 443 • 444 • 445 • 446 • 447 • 448 • 449 • 450 • 451 • 452 • 453 • 454 • 455 • 456 • 457 • 458 • 459 • 460 • 461 • 462 • 463 • 464 • 465 • 466 • 467 • 468 • 469 • 470 • 471 • 472 • 473 • 474 • 475 • 476 • 477 • 478 • 479 • 480 • 481 • 482 • 483 • 484 • 485 • 486 • 487 • 488 • 489 • 490 • 491 • 492 • 493 • 494 • 495 • 496 • 497 • 498 • 499 • 500 • 501 • 502 • 503 • 504 • 505 • 506 • 507 • 508 • 509 • 510 • 511 • 512 • 513 • 514 • 515 • 516 • 517 • 518 • 519 • 520 • 521 • 522 • 523 • 524 • 525 • 526 • 527 • 528 • 529 • 530 • 531 • 532 • 533 • 534 • 535 • 536 • 537 • 538 • 539 • 540 • 541 • 542 • 543 • 544 • 545 • 546 • 547 • 548 • 549 • 550 • 551 • 552 • 553 • 554 • 555 • 556 • 557 • 558 • 559 • 560 • 561 • 562 • 563 • 564 • 565 • 566 • 567 • 568 • 569 • 570 • 571 • 572 • 573 • 574 • 575 • 576 • 577 • 578 • 579 • 580 • 581 • 582 • 583 • 584 • 585 • 586 • 587 • 588 • 589 • 590 • 591 • 592 • 593 • 594 • 595 • 596 • 597 • 598 • 599 • 600 • 601 • 602 • 603 • 604 • 605 • 606 • 607 • 608 • 609 • 610 • 611 • 612 • 613 • 614 • 615 • 616 • 617 • 618 • 619 • 620 • 621 • 622 • 623 • 624 • 625 • 626 • 627 • 628 • 629 • 630 • 631 • 632 • 633 • 634 • 635 • 636 • 637 • 638 • 639 • 640 • 641 • 642 • 643 • 644 • 645 • 646 • 647 • 648 • 649 • 650 • 651 • 652 • 653 • 654 • 655 • 656 • 657 • 658 • 659 • 660 • 661 • 662 • 663 • 664 • 665 • 666 • 667 • 668 • 669 • 670 • 671 • 672 • 673 • 674 • 675 • 676 • 677 • 678 • 679 • 680 • 681 • 682 • 683 • 684 • 685 • 686 • 687 • 688 • 689 • 690 • 691 • 692 • 693 • 694 • 695 • 696 • 697 • 698 • 699 • 700 • 701 • 702 • 703 • 704 • 705 • 706 • 707 • 708 • 709 • 710 • 711 • 712 • 713 • 714 • 715 • 716 • 717 • 718 • 719 • 720 • 721 • 722 • 723 • 724 • 725 • 726 • 727 • 728 • 729 • 730 • 731 • 732 • 733 • 734 • 735 • 736 • 737 • 738 • 739 • 740 • 741 • 742 • 743 • 744 • 745 • 746 • 747 • 748 • 749 • 750 • 751 • 752 • 753 • 754 • 755 • 756 • 757 • 758 • 759 • 760 • 761 • 762 • 763 • 764 • 765 • 766 • 767 • 768 • 769 • 770 • 771 • 772 • 773 • 774 • 775 • 776 • 777 • 778 • 779 • 780 • 781 • 782 • 783 • 784 • 785 • 786 • 787 • 788 • 789 • 790 • 791 • 792 • 793 • 794 • 795 • 796 • 797 • 798 • 799 • 800 • 801 • 802 • 803 • 804 • 805 • 806 • 807 • 808 • 809 • 810 • 811 • 812 • 813 • 814 • 815 • 816 • 817 • 818 • 819 • 820 • 821 • 822 • 823 • 824 • 825 • 826 • 827 • 828 • 829 • 830 • 831 • 832 • 833 • 834 • 835 • 836 • 837 • 838 • 839 • 840 • 841 • 842 • 843 • 844 • 845 • 846 • 847 • 848 • 849 • 850 • 851 • 852 • 853 • 854 • 855 • 856 • 857 • 858 • 859 • 860 • 861 • 862 • 863 • 864 • 865 • 866 • 867 • 868 • 869 • 870 • 871 • 872 • 873 • 874 • 875 • 876 • 877 • 878 • 879 • 880 • 881 • 882 • 883 • 884 • 885 • 886 • 887 • 888 • 889 • 890 • 891 • 892 • 893 • 894 • 895 • 896 • 897 • 898 • 899 • 900 • 901 • 902 • 903 • 904 • 905 • 906 • 907 • 908 • 909 • 910 • 911 • 912 • 913 • 914 • 915 • 916 • 917 • 918 • 919 • 920 • 921 • 922 • 923 • 924 • 925 • 926 • 927 • 928 • 929 • 930 • 931 • 932 • 933 • 934 • 935 • 936 • 937 • 938 • 939 • 940 • 941 • 942 • 943 • 944 • 945 • 946 • 947 • 948 • 949 • 950 • 951 • 952 • 953 • 954 • 955 • 956 • 957 • 958 • 959 • 960 • 961 • 962 • 963 • 964 • 965 • 966 • 967 • 968 • 969 • 970 • 971 • 972 • 973 • 974 • 975 • 976 • 977 • 978 • 979 • 980 • 981 • 982 • 983 • 984 • 985 • 986 • 987 • 988 • 989 • 990 • 991 • 992 • 993 • 994 • 995 • 996 • 997 • 998 • 999 |
| Ice Bites (Glace pilée) * | • You could defierer ou arrêtier la fabrication de glace pilée. |
Opérations
| More Options (Autres options) | Vous pouvez modifier les réglages des fonctions suivantes. Appuyez sur < ou sur > pour sélectionner le menu, puis appuyez sur O pour confirmer. Filter Reset (Réinitialisation du filtré) * : lorsque le message de remplacement du filtré s'affiche à l'écran, sélectionnez ce menu et replacez le filtré en suivant les instructions à l'écran. Temp. Unit (Unité de température) : vous pouvez régler l'échelle de température sur Celsius ou Fahrenheit. Door Alarm (Alarme de la porte) : vous pouvez activer ou désactiver la fonction Alarme de la porte. Wi-Fi Connect (Connexion Wi-Fi) : vous pouvez activer ou désactiver la fonction Connexion Wi-Fi. Activez-la pour commander et surveiller votre réfrigérateur sur l'application SmartThings. (Pour en savoir plus sur l'application SmartThings, reportez-vous à la section SmartThings en page 53.) * modèles applicables uniquement |

REMARQUE
L'utilisation de la fonction Refroidissement rapide ou Congélation rapide augmente la consommation électrique.
SmartThings
Installation
Rendez-vous sur Google Play Store, Galaxy Apps ou Apple App Store et recherche « SmartThings ». Téléchargez et installez l'application SmartThings fournie par Samsung Electronics sur votre smartphone.

REMARQUE
-
L'application SmartThings n'est pas disponible sur certaines tablettes, sur iPad ainsi que sur certains smartphones.
-
Prise en charge : système d'exploitation [Android] 6.0 ou version ultérieure. (Taille minimale de la RAM : 2 Go)
-
Prise en charge : système d'exploitation [iOS] 10.0 ou version ultérieure/iPhone 6 ou version ultérieure.
-
Dans le but d'en améliorer les performances, l'application SmartThings est soumise à modifications sans préavis ou à une interruption de prise en charge selon la politique du fabricant. En outre, les mises à jour ultérieures sur l'application ou le fonctionnement de l'application peuvent cesser pour des questions de sécurité et d'aptitude à l'emploi, et ce même si les mises à jour sont actuèment prises en charge par cette système d'exploitation.
- Les systèmes de codage recommendés incluent WPA/TKIP et WPA2/AES. Tous les protocoles d'authentication par connexion Wi-Fi plus récents ou non standard ne sont pas pris en charge.
- Les reseaux sans fil peuvent être affectés par l'environnement de communication sans fil autour.
- Si vous fournisseur de services Internet a enregistré l'adresse MAC de votre ordinateur ou de votre modem à des fins d'identification, il est possible que vous réfrigerateur intelligent Samsung ne parvienne pas à se connecter à Internet. Si c'est le cas, prenez contact avec votre fournisseur de services Internet pour bénéficier d'une assistance technique.
- Les paramètres de pare-feu de votre système réseau peuvent empêcher votre réfrigérateur intelligent Samsung d'acceder à Internet. Prenez contact avec votre fournisseur de services Internet pour bénéficier d'une assistance technique. Si ce symptôme persiste, prenez contact avec un centre de dépannage Samsung local ou un revendeur.
- Pour configurer les paramètres du point d'accès sans fil, reportez-vous au manuel d'utilisation du point d'accès (routeur).
- Les réfrigérateurs intelligents Samsung prennet en charge la connexion Wi-Fi 2,4 GHz avec les protocôles IEEE 802.11 b/g/n et Soft-AP. (Le protocole IEEE 802.11 n est recommendé.)
- Les routeurs Wi-Fi sans fil non autorisés peuvent ne pas parvenir à se connecter aux réfrigérateurs intelligents Samsung applicables.
Opérations
Compte Samsung
Vouve devez creatoraire compte Samsung pour pouvoir utiliser l'application. Si vous n'avez pas de compte Samsung, suivez les instructions affichées sur l'écran de l'application pour creator un compte Samsung gratuite.
Pour commencer
Allumez le péripérique que vous souhaitez connecter, ouvre l'application SmartThings sur votre téléphone, puis suivez les instructions ci-dessous.
Si une fenêtre contextuelle apparait en indiquant qu'un nouveau périhérique a été détecté, appuyez sur ADD NOW (AJOUTER MAINTENANT).
En l'absence de fenêtre contextuelle, appuyez sur le bouton +, puis sélectionnez le pérophérique que vous souhaitez connecter dans la liste des pérophériques disponibles.
Si vous pertrophérique ne figure pas dans la liste des pérophériques disponibles, appuyez sur Supported Devices (Pérophériques pris en charge), sélectionnez le type de pérophérique, à savoir Refrigerator (Réfrigérateur) et sélectionnez le modèle de pérophérique spécifique.
Pour configurer votre péripérisque, suivez les instructions affichées dans l'application. Une fois la configuration terminée, votre réfrigérateur apparait sous forme de « carte » sur l'écran de vos Devices (Péripériques).
Application Refrigerateur
Commande intégrée
Vou pouvez surveiller et contrôleer toute réfrigerateur chez vous et lorsque vous est en déplacement.
- Appuyez sur l'icône du réfrigerateur sur le Tableau de bord SmartThings, ou appuyez sur l'icône Periphériques en bas du Tableau de bord, puis appuyez sur la « carte » du réfrigerateur pour ouvrir la page Réfrigerateur.
- Vérifiez l'etat de fonctionnement ou l'absence de notifications relatives à votre réfrigérateur, puis modifiez des options ou réglages si nécessaire.

REMARQUE
Certaines options ou certains réglages du réfrigérateur peuvent ne pas être disponibles pour la commande à distance.
| Catégorie | Élément | Description |
| Surveillance et contrôle | Température du réfrigérateur | Youss pouvez régler et surveiller la température souhaïée du réfrigérateur. |
| Température du conge lateur | Youss pouvez régler et surveiller la température souhaïée du conge lateur. | |
| Refroidissement rapide | Youss pouvez activer ou désactiver la fonction Refroidissement rapide et vérifier les régles actuels. | |
| Congélation rapide | Youss pouvez activer ou désactiver la fonction Congélation rapide et vérifier les régles actuels. | |
| Tiroir flexible à légumes | Youss pouvez régler et surveiller le mode souhaïé du Tiroir flexible à légumes. | |
| Température réglable+ | Youss pouvez régler et surveiller le mode souhaïé de la zone Température réglable+. | |
| Glaçons / Glace pilée | Youss pouvez activer ou désactiver la fonction de fabrication de glaçons et vérifier les régles actuels de la fonction. | |
| Pichet à replissage automatique | Youss pouvez activer ou désactiver la fonction Pichet à replissage automatique et vérifier les régles actuels de la fonction. | |
| Alarmes | Température anormalement élevé | Cette alarme se déclenché lorsque le réfrigérateur, le conge lateur ou la zone Température réglable+ présente des températures anormalement élevées. |
| Ouverture de la porte | Cette alarme se déclenché lorsque la porte du réfrigérateur, le tiroir du conge lateur ou le tiroir de la zone Température réglable+ reste ouvert(e) pendant une durée spécifique. | |
| Débordement du pichet à replissage automatique | Si la fonction Pichet à replissage automatique détecte un débordement, elle déclenché cette alarme pour vous informer du débordement. | |
| Remplacement du filtre à eau | Cette alarme vous rappelle qu'il est temps de replacer le filtre à eau. |
Opérations
Fonctions spéciales
Pichet d'eau (Pichet à replissage automatique) (modèles applicables uniquement)

Remplissage du pichet d'eau

01 Couverage
02 Support de l'infuseur
03 Infuseur
04 Corps
- Attrapez une rainure de la poignée du couvercle, puis tirez vers le haut pour ouvrir le couvercle.
- Insérez un fruit ou des feuilles de thé selon votre goût dans l'infuseur.
REMARQUE
Si vous souhaitez conserver la concentration initiale de l'eau infusée, désactivez la fonction Pichet à replissage automatique.
- Activez la fonction Pichet à replissage automatique sur le panneau de commande. Ouvrez la porte du centre de boissons, puis insérez le pichet d'eau sur le support. Presseze le bien droit pour l'insérer, comme indiqué sur l'illustration.
- Fermez la porte. Le pichet d'eau commence à se replir d'eau réfrigérée après quelques instants.
ATTENTION
Assurez-vous que le pichet d'eau s'insere dans son support.

- Pour boire du thé, ouvre la porte du centre de boissons et détachez le pichet d'eau. Tirez-le bien croit pour le retarder.

ATTENTION
- Nous recommendons de consommer l'eau de fruits infusés dans les 24 heures. Passé ce matériel, l'eau infusée peut devenir impropre à la consommation.
- Vous doivent nettoyer le pichet d'eau après avoir consommé l'eau infusée. Nettoyez également le pichet d'eau si vous ne l'avez pas utilisé pendant une période prolongée.

Pour éviter que le pichet d'eau ne se renverse ou ne fuit, assurez-vous qu'il s'insère dans son support.

Pour éviter que le pichet d'eau ne déborde ou ne fuit, assurez-vous que le support de l'infuseur est correctement inséré.
Opérations


REMARQUE
- Si l'avant (zone spécifiquement marquee) dupichet d'eau presente trop d'humidité, le pichet d'eau risque de ne pas se replir entierement. Retirez l'humidité, puis réessayez.
- La fonction Pichet à replissage automatique arrêté d'ajouter de l'eau dans le pichet d'eau si ce dernier ne se remplit pas après une certaine durée. Si tel est le cas, vérifie si le tuyau d'eau est correctement raccordé. Retirez et réinsérez le pichet d'eau, puis réessayez.
REMARQUE
- Essuyez la zone autour du support du pichet d'eau si ce dernier déborde ou fuit.
- De l'eau goutte si l'obturator en caoutchouc est ouvert.
- Un message d'alerte apparait sur le panneau de commande en cas de fuite. En cas de fuite, ouvrez l'obturateur en caoutchouc de sorte que l'eau qui a fui puisse se vidanger. Si le message d'alerte ne disparaît pas après la vidange, il se peut qu'il y ait une défaillance du système. Contactez votre centre de service Samsung local.
Distributeur d'eau (modèles applicables uniquement)

Pour distribuer de l'eau réfrigérée, ouvrez le centre de boissons et pressez le levier du distributeur.

REMARQUE
- Le distributeur arrêté de verser si vous maintainez le levier distributeur enforcé pendant environ 1 minute. Pour verser plus d'eau, relâchez le levier puis pressez-le de nouveau.
Veilz à ce que le verre soit aligné avec le distributeur afin d'éviter que l'eau ne vous éclabousse. - Si vous n'utilisez pas le distributeur d'eau pendant 2 à 3 jours, l'eau distribuée peut avoir une oedeur ou un goût étrange. Il ne s'agit pas d'un dysfonctionnement du système. Jetez le premier ou les 2 premiers verres d'eau.
Eau trouble
L'eau fournie au réfrigérateur passée à travers un filtré principal pour eau alcaline. Lors du processus de filtration, la pression de l'eau augmente et l'eau devient saturée en oxygène et en azote. À cause de ce phénomène, l'eau semble-temporairement floue ou trouble lorsqu'elle est distribuée. Ceci est tout à fait normal et l'eau reprend une couleur transparente au bout de quelques secondes.
Opérations
Machine à glaçons automatique (modèles applicables uniquement)
Le réfrigerateur est équipé d'une machine à glaçons intégrée qui distribue automatiquement des glaçons.
La conception générale et/ou les accessoires peuvent varier selon le modele.

- Cet apparéil possède deux types de machine à glaçons.
Après avoir installé votre réfrigérateur et l'avoir branché, suivez ces instructions pour vous assurer que la fabrication de glaçons se fait de manière appropriée et pour faire en sorte que le bac à glaçons reste rempli de glaçons.
Lors de la première utilisation
- Patientez 1 à 2 jours avant de vous servir de la machine à gaçons.
- Jetez le premier ou les 2 premiers bacs à glaçons pour retarder les impuretés contenues dans le système d'arrivée d'eau.
Diagnostic

- La conception générale et/ou les accessoires peuvent varier selon le modele.
- Si les glaçons ne s'écoulient pas, vérifie d'abord l'état de la machine à glaçons en utilisant le bouton Test situé en bas de la machine à glaçons.
- Appuyez sur le bouton Test situé à l'arrière de la machine à glaçons. Vous entendrez une melodie (sonnerie) lorsque vous appuierez sur le bouton. Vous entendrez une deuxième melodie si la machine à glaçons fonctionne correctement.

- Il est tout à fait normal que les glaçons s'accumulent sur un côté du distributeur. Répartissez les glaçons de manière homogène dans le distributeur pour pouvoir fabriquer plus de glaçons.
ATTENTION
- Si le tuyau d'eau est laissé non raccordé, le robinet d'eau peut produit un bourdonnement avec le temps. Si tel est le cas, assurez-vous de désactiver la fonction de fabrication de glaçons (Glaçons / Glace pilée).
- Si la mélodie pour la fabrication de glaçons retentit plusieurs fois, prenez contact avec l'installateur du tuyau d'eau ou le centre de dépannage Samsung local.
- Ne placez pas d'aliments dans le bac à glaçons. Les alimentents surgelés peuvent endommager la machine à glacons, en particulier lors de l'ouverture ou la fermeture de la porte.
Lorsque l'alimentation est rétablie sur le réfrigérateur après une panne de courant, le bac à glaçons peut contérer un mélange de glaçons fondus et coincés, ce qui peut entraîner un mauvais fonctionnement de la machine à glaçons. Pour éviter cela, assurez-vous de vider le bac à glaçons avant d'utiliser le réfrigérateur. - Ne mettez pas les doigs ni d'autres objets dans la machine à glaçons. Cela peut provoquer des blessures corporelles ou des dommages matériels.
- En raison du phénomène de sublimation, les glaçons stockés dans le congélateur pendant une période prolongée deviennent plus petits puis forment de gros blocs de glace. Par conséquent, si vous prévoyez de ne pas utiliser de glaçons pendant une longue période, éteignez la machine à glaçons comme suit.
Utilisez uniquement les nouveaux kits de flexibles fournis avec l'appareil. Ne réutilisez pas un ancien kit de flexibles.
Machine à glaçons à fond amovible (modèles applicables uniquement)

- Ouvrez la porte du congélateur et faites glisser le bac à glaçons pour l'ouvrir.
- Remplissez le bac d'eau jusqu'au niveau maximum (A) repéré sur la partie interieure arrêté du bac.
- Faites glisser le bac jusqu'à ce qu'il soit à nouveau en place.
Opérations


- Lorsque l'eau gèle et se transforme en glaçons, tournez la poignée du bac à glaçons dans le sens horaire pour vider les glaçons dans le réservoir à glaçons. Recommencez la procédure jusqu'à ce que tous les glaçons aient été transférés dans le réservoir à glaçons.
- Pour-retirer le réservoir à glaçons, soulevez-le légèrement et retirez-le.

ATTENTION
N'utilisez pas le réservoir à glaçons pour la fabrication de glaçons. Le réservoir risquerait de se casser.
Assurez-vous que le réserve à gauche se trouve sous le bac à gauche.
Le réservoir à glaçons possède un orifice de vidange en bas.
- Ne stockez pas de glaçons dans le réservoir à température ambiente. Les glaçons fondraient et de l'eau s'écouerait.
- En cas de panne de courant, les glaçons fondent et de l'eau s'écoule. Une fois le courant rétabli, l'eau risque de recongeler ce qui casserait le réservoir. Pour éviter d'endommager le réservoir, retirez-le et videez-le après la panne de courant.
Utilisez uniquement de I'eau potable.

REMARQUE
Le temps de fabrication de glaçons dépend de vos réglages de température.
Maintenance
Manipulation et entretien
Bac à glaçons (modèles applicables uniquement)
Si vous ne distribuèz pas de glaçons pendant une période prolongée, les glaçons peuvent former un bloc dans le bac. Si cela se produit, retirez le bac à glaçons et videz-le.
ATTENTION
Pour eviter tout risque de blessure, assurez-vous de nettoyer la glace ou l'eau qui est tombee au sol.
Pour éviter les accidents et les blessures, ne laissez pas les enfants jouer avec le distributeur d'eau ou la machine à glaçons.
Utilisez uniquement le bac à glaçons fourni. L'utilisation de bacs à glaçons de tiers peut entraîner une défaillance du système.
REMARQUE
La pression d'eau requise pour fabriquer des glaçons est comprise entre 206 et 861 kPa.
Il est normal que la machine a glaçons fasse du bruit pendant le processus de fabrication de glaçons.
Pichet à replissage automatique (modèles applicables uniquement)


- Attrapez une rainure de la poignée du couvercle, puis tirez vers le haut pour le retarder.
- Attrapez les deux côtés du support de l'infuseur, puis souvevez pour retarder.
Maintenance

- Tout en faisant légarement pivoter l'infuseur, tirez dessus pour l'extraire de la bouche hermétique.
- Nettoyez l'infuseur avec des agents neutres et de l'eau courante. Rincez et séchez bien.
- Pour réinstaller le pichet à replissage automatique, suivez la procédure de retrait en procédant dans le sens inverse.
ATTENTION
Le pichet d'eau et le couvercle ne peuvent pas etre mis au lave-vaisselle ou au micro-ondes. Ils risqueraient de fondre ou de se déformer sils sont exposés à une source de chaleur (notamment de l'eau chaude). Dès que nécessaire, veuilles les laver à la main avec de l'eau froide ou tiède.
Clayettes du réfrigérateur
L'aspect des clayettes diffère selon le modele.



- Pour-retirer une clayette, ouvre entierement la portecorrespondante. Tenez l'avant de la clayette, puis soulevez-la doucement et tirez-la pour la sortie.

REMARQUE
Ne soulevez pas la clayette entièrement lorsque vous retirez ou réinsérez la clayette. Vous risquez de faire des bosses sur la paroi arrière du compartment du réfrigérateur.
- Pour réinsérer, tenez la clayette à un angle plaçant la partie avant en position surélevée par rapport à l'arrière, puis insérez le crochet supérieur dans l'encoche supérieure de la clayette. Ensuite, abaissez la clayette et insérez le crochet inférieur de la clayette dans l'encoche inférieure de la clayette.

ATTENTION
- Les clayettes en verre trempe sont lourdes. Soyez prudent lors de leur retrait.
- La clayette doit être correctement insérée. Ne l'insérez pas à l'envers.
- Les recipients en verre peuvent rayer la surface des clayettes en verre.
Maintenance
Bacs de la porte

Pour retirer le bac de la porte, tenez le bac par l'avant puis soulevez-le doucement pour le retirer.
Pour le reinsérer, insérez le bac de la portégérément au-dessus de son emplacement final tout en vous assurant que l'arrière du bac se trouve contre la porte. Tenez le bac de la portepar l'arrière à deux mains, puis appuyez vers le bas pour lemettre bien en place.
ATTENTION
- Ne retirez pas un bac qui est rempli d'aliments. Videz le bac au préalable.
- Faites attention lors de l'ouverture de la porte si le bac inférieur contient de grandes bouteilles, lesquelles risquent de se renverser.
- Ne laissez pas les enfants jouer avec les bacs. Ils risqueraient de se blesser sur les coins pointus du bac.
Tiroirs du réfrigerateur
Tiroir à légumes / Tiroir flexible à légumes

Soulevez doucement l'avant du tiroir et faites-le glisser pour le retirer.
- Nous vous recommendons dePTRER les bacs de la porte avant de PTRER le tiroir. Cela permet d'eviter d'endommager les bacs de la porte.
- Pour réinsérer, insérez le tiroir dans les rails du cadre puis faites glisser vers l'intérieur.
Nettoyage
Intérieur et extérieur

AVERTISSEMENT
- N'utilisez pas de benzène, de diluant, de nettoyant domestique/pour voiture ou d'eau de Javel (Clorox™) pour le nettoyage du réfrigerateur. Ces produits risquent d'endommager la surface du réfrigerateur et de provoquer un incendie.
- Évitez de vaporiser de l'eau directement sur le réfrigérateur. Risque d'électrocution.
À l'aide d'un chiffon sec, retirez régulièrement tous les corps étrangers, tels que la poussière ou l'eau, au niveau des broches de la fiche d'alimentation et des points de contact.
- Debranchez le cordon d'alimentation.
- Utilisez un chiffon doux non peluchexs humidifié ou une serviette en papier pour nettoyer l'intérieur et l'extérieur du réfrigerateur.
- Ensuite, utilisez un chiffon sec ou une serviette en papier pour bien secher les surfaces.
- Branchez le cordon d'alimentation.
Robinet du distributeur (modèles applicables uniquement)


- Tenez l'extrémité du robinet du distributeur (A).
-
Tout en tournant le robinet du distributeur (A) vers la gauche, tirez-le vers le bas pour le retirer du distributeur.
-
Nettoyez abondamment le robinet du distributeur, puis réinstallé-le.

ATTENTION
- Insérez complètement le robinet du distributeur de manière à le remettre dans sa position d'origine.
- N'utilise pas de Brosse dure pour nettoyer le robinet du distributeur.
Maintenance
Joints en caoutchouc
Si les joints en caoutchouc d'une porte deviennent sales, la porte risque de ne pas se fermer correctement ce qui risque alors de réduire les performances et l'efficacité du réfrigérateur. Utilisez un nettoyant doux et un chiffon humide pour nettoyer les joints en caoutchouc. Ensuite, séchez-les bien avec un chiffon.
Panneau arrête

Pourmaintenirlapropretedes cordons et des piècesexposées du panneauarrière,passez un coup d'aspirateur sur le panneau une ou deux fois par an.
ATTENTION
Ne retirez pas le cache du panneau arrière. Il existe un risque d'electrocution.
Replacement
Filtre à eau (modèles applicables uniquement)
AVERTISSEMENT
- N'utilisez pas de filtres à eau provenant de tiers. Utilisez uniquement les filtres fournis ou approvés par Samsung.
- Les filtrés nonapprovés peuvent fuir et endommager le réfrigérateur, entrainant alors une électrocution. Samsung ne sera enaucun cas tenu responsable pour tout dommage decouulant de l'utilisation de filtrés à eau de tiers.
Le message « Replace water filter (Remplacez le filtré à eau) » s'affiche sur le panneau de commande pour vous indiquer qu'il est temps de replacer le filtré à eau. Avant de replacer le filtré, assurez-vous que le tuyau d'arrivée d'eau est fermé.




- Coupe l'arrivée d'eau.
-
Ouvrez le cache de la cartouche du contrôle.
-
Faites tourner le bouton de la cartouche du filtré dans le sens antihoraire et de 90 degrés (1/4 de tour). La cartouche du filtré se déverrouille.
-
Tirez vers l'extérieur pour retarder la cartouche.
-
Si le filtré à eau est très contaminé, la cartouche peut être difficile à retarder. Si tel est le cas, forcez pour retarder la cartouche.
Pour éviter que de l'eau ne fuie au niveau de l'ouverture du filtr, gardez la cartouche bien droite lors de son retrait. - Insérez une nouvelle cartouche de filtré. Utilisez uniquement les filtresapprovés ou fournis par Samsung.
- Faites tourner le bouton de la cartouche dans le sens horaire pour la verrouiller en place.
- Fermez le cache de la cartouche du filtré.
- Sur le panneau de commande, accededz à More Options (Autres options) puis désissez Filter Reset (Réinitialisation du contrôle).
Maintenance

REMARQUE
Lorsqu'un filtrne neuf vient d'être installé, il se peut que le distributeur d'eau rejette un peu d'eau. Cela est dû à l'air qui est entré dans le tuyau d'eau.
- Le processus de remplacement peut faire goutter le distributeur d'eau pendant une courte durée. S'il goutte, essuyez simplement l'eau sur le sol avec une serviette sèche.
Système de filtration de l'eau par osmose inverse
La pression d'eau du système d'alimentation en eau vers le système de filtration de l'eau par osmose inverse doit être comprise entre 206 et 861 kPa.
La pression d'eau du système de filtration de l'eau par osmose inverse vers le tuyau d'eau froide du réfrigérateur doit être d'au moins 206 kPa. Si la pression d'eau est inférieure à ces specifications :
- Vérifiez si le filtré à sédiments du système par osmose inverse n'est pas obstrué. Remplacez le filtré si nécessaire.
- Remplissez le réservoir d'eau dans le système par osmose inverse avec de l'eau.
- Si votre réfrigérateur est équipé d'un filtré à eau, cela peut réduire davantage la pression d'eau s'il est utilisé conjointement à un système par osmose inverse. Retirez le filtré à eau.
Pour en savoir plus ou pour effectuer une réparation, contactez un plombier professionnel habilité.
Commander un filtrne neuf
Pour acheter un filtré à eau neuf, prenez contact avec un centre de dépannage Samsung local.
Ampoules DEL
Pour changer les ampoules du réfrigérateur, contactez un centre de service Samsung local.

AVERTISSEMENT
- Les ampôules ne peuvent pas être remplacées par l'utilisateur. N'essayez pas de remplaçer une ampoule par vous-même. Risque d'électrocution.
Dépannage
Avant d'appeler pour obtenir de l'aide, parcourez les points de vérification ci-dessous. Tous les appeals de dépannage concernant des situations normales (autres que des cas de défaut) seront facturés à l'utilisateur.
Généralités
Température
| Symptôme | Causes possibles | Solution |
| Le réfrigérateur/ congélateur ne fonctionne pas. La température du réfrigérateur/congélateur est élevé. | • Le cordon d'alimentation n'est pas branché correctement. | • Branchez correctement le cordon d'alimentation. |
| • La molette de contrôle de la tempabilité n'est pas régée correctement. | • Baissez la tempabilité. | |
| • Le réfrigérateur se trouve à proximé d'une source de chaleur ou est exposé à la lumière directe du soleil. | • Assurez-vous que le réfrigérateur n'est pas exposé à la lumière directe du soleil et qu'il n'est pas à proximé d'une source de chaleur. | |
| • Espace insuffisant entre le réfrigérateur et les murs et meubles à proximité. | • Assurez-vous de laisser un écart d'au moins 5 cm entre l'arrière et les côts des réfrigérateur et les murs et meubles à proximité. | |
| • Le réfrigérateur est en surcharge. Des alimententsBloquent les orifices de ventilation du réfrigérateur. | • Ne surchargez pas le réfrigérateur. Ne laissez pas des alimentents bloquer les orifices de ventilation. | |
| Le réfrigérateur/ congélateur refroidit trop. | • La molette de contrôle de la tempabilité n'est pas régée correctement. | • Augmentez la tempabilité. |
Dépannage
| Symptôme | Causes possibles | Solution |
| La paroi interieure est chaude. | • Le réfrigérateur dispose de tuyaux résistants à la chaleur dans la paroi interieure. | • Pour prévenir la formation de condensation, le réfrigérateur est équipé de tuyaux résistants à la chaleur dans les coins à l'avant. Lorsque la température ambiente augmente, cet équipement peut ne pas fonctionner correctement. Il ne s'agit pas d'un dysfonctionnement du système. |
Odeurs
| Symptôme | Causes possibles | Solution |
| Le réfrigérateur dégage des odeurs. | • Aliments abîmés. | • Nettoyez le réfrigérateur et retirez les aliments abîmés. |
| • Aliments très odorants. | • Assurez-vous que les alimentés à forté odeur sont emballés de manière hermétique. |
Givre
| Symptôme | Causes possibles | Solution |
| Présence de givre après des orifices de ventilation. | • Des alimententsBloquent les orifices de ventilation. | • Assurez-vous qu'aucun aliment ne bloque les orifices de ventilation du réfrigérateur. |
| Présence de givre sur les parois intérieures. | • La porté est mal fermée. | • Assurez-vous que les alimentents ne bloquent pas la porte. Nettoyez le joint de la porte. |
| Les fruits ou légumes sont congelés. | • Des fruits ou légumes sont stockés dans la zone Température régliable+. | • La plupart des fruits ou légumes ne doivent pas être stockés dans la zone Température régliable+. |
Condensation
| Symptôme | Causes possibles | Solution |
| De la condensation se forme sur les parois interieures. | • Si la porte est laissée ouverte, de l'humidité pénétre dans le réfrigérateur. | • Éliminez l'humidité et ne laissez pas la porte ouverte pendant une période prolongée. |
| • Aliments avec une forte teneur en humidité. | • Assurez-vous que les alimentés sont emballés de manière hermétique. |
Eau/glace (modèles avec distributeur uniquement)
| Symptôme | Causes possibles | Solution |
| Le débit d'eau est plus faible que la normale. | La pression d'eau est trop BASSE. | Assurez-vous que la pression d'eau est comprise entre 206 et 861 kPa. |
| La machine à gaçons émet un bourdonnement. | La fonction de machine à gaçons est activée, mais l'alimentation en eau vers le réfrigérateur n'a pas été raccordée. | Éteignez la machine à gaçons. |
| La machine à gaçons ne produit pas de gaçons. | La machine à gaçons vient juste d'être installée. | Youdevez attendre 12 heures pour que le réfrigérateur produise des gaçons. |
| La température du congealteur est trop élevé. | Réglez la température du congealteur en dessous de -18 °C ou de -20 °C lorsqu'il air ambiant est chaud. | |
| La machine à gaçons est désactivée. | Activez la machine à gaçons. |
Dépannage
| Symptôme | Causes possibles | Solution |
| Les glaçons ne s'écoulent pas. | • Les glaçons peuvent se coincer si le distributeur de glaçons n'est pas utilisé pendant une période prolongée (environ 3 semaines). | • Si vous ne prévoyez pas d'utiliser le réfrigérateur pendant une période prolongée, videz le bac à glaçons et éteignez la machine à glaçons. |
| • Le bac à glaçons est mal inséré. | • Assurez-vous que le bac à glaçons est correctement inséré. | |
| • Le tuyau d'eau est mal raccordé ou l'alimentation en eau est coupée. | • Vérifiez si le tuyau d'eau est correctement installé. Vérifiez si le robinet d'arrêt du tuyau d'eau est fermé. | |
| L'eau ne s'écoule pas. | • Le tuyau d'eau est mal raccordé ou l'alimentation en eau est coupée. | • Vérifiez si le tuyau d'eau est correctement installé. Vérifiez si le robinet d'arrêt du tuyau d'eau est fermé. |
| • Un filtré à eau tiers a été installé. | • Utilisez uniquement les filtres approvés ou fournis par Samsung. • Les filtres non approvés peuvent fuir et endommager le réfrigérateur. | |
| • Le message « Replace water filter (Remplacez le filtré à eau) » apparaît sur le panneau de commande. | • Remplacez le filtré à eau. Ensuite, sur le panneau de commande, accédez à More Options (Autres options) puis désissez Filter Reset (Réinitialisation du filtré). |
Entendez-vous dessons anormaux provenant du réfrigérateur?
Avant d'appeler pour obtenir de l'aide, parcourez les points de vérification ci-dessous. Tous les appeals d'assistance concernant des bruits normaux seront facturés à l'utilisateur.
Cessonsonttouta faitnormaux.
- Lorsque vous commencez ou terminez une opération, il se peut que le réfrigérateur émette dessons similaires à l'allumage du moteur d'une voiture. Lorsque l'opération se stabilise, lessons s'atténueront.

- Lorsque le ventilateur est en marche, cessons peuvent etre émis. Lorsque le refrigerateuratteint la température reglee, aucunson de ventilateur n'est émis.

- Pendant le cycle de décongélation, il se peut que de l'eau goutte sur la résistance de décongélation, générant alors des sons de grésillement.

Dépannage
- À mesure que le réfrigerateur refroidit ou congèle, du gaz réfrigérant circule dans les tuyaux hermétiques, provoquant alors dessons de bouillonnement.

Bouillonnement!

- À mesure que la température du réfrigérateur augmenter ou baisse, les pieces en plastique se contractent ou se détendent, créé alors des bruits de cognement. Ces bruits sont produits pendant le cycle de décongélation ou lorsque les pieces électroniques fonctionnent.

Craquement!

Pour les modèle avec machine à glaçons : Lorsque la vanne d'eau s'ouvre pour replir la machine à glaçons, dessons de bourdonnement peuvent être émis.
- En raison de l'égalisation de la pression lors de l'ouverture et de la fermeture de la porte du réfrigerateur, dessons de souffle peuvent être émis.
SmartThings
| Symptôme | Action |
| L'application « SmartThings » est introuvable sur le marché des applications. | • L'application SmartThings n'est pas disponible sur certaines tablettes, sur iPad ainsi que sur certains smartphones. - Prise en charge : système d'exploitation [Android] 6.0 ou version ultérieure (taille minimale de la RAM : 2 Go). - Prise en charge : système d'exploitation [iOS] 10.0 ou version ultérieure/ iPhone 6 ou version ultérieure. |
| L'application SmartThings ne fonctionne pas. | • L'application SmartThings est disponible pour les modèleles applicables uniquement. • L'ancienne application Samsung Smart Refrigerator ne peut pas se connecter à des modèlees pour Samsung Smart Home. |
| L'application SmartThings est installée mais n'est pas connectée à mon réfrigérateur. | • Vous devez vous connecter à votre compte Samsung pour pouvoir utiliser l'application. • Assurez-vous que votre routeur fonctionne normalement. • Si l'icone de connexion Wi-Fi est éteinte sur l'écran du réfrigérateur, cela indique qu'aucune connexion au réseau n'a encore été établie. Dans ce cas, utilisez l'application SmartThings pour connecter et enregistrer votre réfrigérateur au point d'accès (PA) de votre maison. |
| Impossible de se connecter à l'application. | • Vous devez vous connecter à votre compte Samsung pour pouvoir utiliser l'application. • Si vous n'avez pas de compte Samsung, suivez les instructions affichées sur l'écran de l'application pour en creator un. |
| Un message d'erreur apparait lorsque j'essaie d'enregistrer mon réfrigérateur. | • La fonction Connexion facile peut échouver en raison de la distance par rapport au point d'accès ou d'interférences électriques provenant de l'environnement. Attendez un moment puis réessayez. |
| L'application SmartThings est bien connectée à mon réfrigérateur mais ne fonctionne pas. | • Quitteuz puis relancez l'application SmartThings, ou déconnectez et reconnectectez le routeur. • Mettez le réfrigérateur hors tension, puis remettez-le sous tension après 1 minute. |
Consignes de sécurité
Pour garantir l'utilisation la plus optimale de l'énergie, veuillez laisser tous les accessoires internes tels que les paniers, les tiroirs, les clayettes et le bac à glaçons sur leur position indiquée par le fabricant.
- Cét apparéil de réfrigération n'est pas destiné à être utilisé comme apparéil encastré.
Instructions d'installation
Pour les apparèils de réfrigération avec classe climatique
Selon la classe climatique, cet apparéil de réfrigération est destiné à être utilisé dans une plage de températures ambientes telle que spécifiée dans le tableau suivant.
La classe climatique figure sur la plaque signalétique. L'appareil peut ne pas fonctionner correctement s'il est utilisé à des températures situées en dehors de la plage spécifique.
La classe climatique figure sur l'étiquette apposée à l'intérieur de votre réfrigerateur.
Plage de températe efficace
Le réfrigerateur a été concu pour un fonctionnement normal dans la plage de température spécifique par les caractéristiques de sa classe énergétique.
| Classe | Symbole | Plage de température ambiente (°C) | |
| IEC 62552 (ISO 15502) | ISO 8561 | ||
| Climat tempéré étendu | SN | +10 à +32 | +10 à +32 |
| Climat tempéré | N | +16 à +32 | +16 à +32 |
| Climat subtropical | ST | +16 à +38 | +18 à +38 |
| Climat tropical | T | +16 à +43 | +18 à +43 |

REMARQUE
La performance de refroidissement et la consommation électric du réfrigerateur peuvent être affectées par la température ambiente, la fréquence d'ouverture de la porte et l'emplacement du réfrigerateur. Nous vous recommendons de régler la température comme approprié.
Annexe
Consignes relatives à la température
Température recommende
Réglage de température optimal pour le stockage d'aliments :
Réfrigerateur:3°C
- Congélateur: -19°C
REMARQUE
La température optimale de chaque compartment dépend de la température ambiente. La température optimale ci-dessus a été déterminée pour une température ambiente de 25^ .
Refroidissement rapide
La fonction Refroidissement rapide accélère le processus de refroidissement (ventilateur à vitesse maximale). Le réfrigerateur continue de fonctionner à vitesse maximale pendant deux heures et demie, avant de revenir à la température précédente.
Congélation rapide
La fonction Congélation rapide accélère le processus de congélation avec le ventilateur à vitesse maximale. Le congesteur fonctionne à vitesse maximale durant 50 heures avant de revenir à la température précédente. Pour congeoler une grande quantité d'aliments, activez la fonction Congélation rapide au moins 20 heures avant de placer les alimentés dans le congesteur.
REMARQUE
Lorsque vous utilisez cette fonction, la consommation d'énergie du réfrigérateur augmente. N'oubliez pas de la désactiver lorsque vous n'en avez plus besoin et de régler à nouveau la température d'origine.
Conseils de stockage pour une préparation optimale (modèles applicables uniquement)
Recouvre les aliments afin de conserver leur humidité et éviter qu'ils ne récapèrent les odeurs des autres alimentés. Pour une grande casserole contenant des alimentés tels que de la soupe ou un ragôt, veuillez répartir son contenu en plusieurs portions plus petites que vous metrez dans des écipients peu profonds avant de lesmettre au réfrigérateur. Pour un gros morceau de viande ou un poulet entier, veuillez le couper en morceaux de plus petite taille ou le placer dans des écipients peu profonds avant de lemettre au réfrigérateur.

Positionnement des aliments
| Clayettes | Les clayettes sont régibles afin de pouvoir les adapter aux divers emballages. |
| Compartment spécialisé (modèles applicables uniquement) | Les tiroirs à légumes étanches offrent un environnement de stockage optimal pour les fruits et légumes. Les légumesrequireurent un taux d'humidité élevé tandis que les fruits ont besoin d'un faible taux d'humidité. Les tiroirs à légumes sont équipés de dispositifs de contrôle permettant de réguler le taux d'humidité. (*Selon le modèle et les options disponibles) Un tiroir à viande à température régable optimise le temps de stockage des viandes et fromages. |
| Stockage dans la porte | Ne stockez pas les denrées périssables dans la porte. Les oeufs doivent être stockés dans leur emballage en carton sur une clayette. La température des bacs de stockage de la porte fluctue davantage que celle dans le compartment. Maintenez la porte fermée le plus possible. |
| Compartment du congélateur | Voues pouvez stocker des alimentés surgelés, faire des glacons et congefer des alimentés frais dans le compartment du congélateur. |

REMARQUE
Congelez uniquement des alimentes frais et non abimés. Conservez les alimentes devant être congelés loin des alimentes déjà congelés. Pour prévenir la perte de saveur ou le séchage des alimentes, placez-les dans des recipients hermétiques.
Tableau des périodes de stockage au réfrigérateur et au congélateur
La durabilité de la fraîcheur des alimentés dépend de la température et de l'exposition à l'humidité. Étant donné que les dates des produits n'indiquent pas comment utiliser les produits en toute sécurité, reportez-vous à ce tableau et suivez les conseils qui y figurent.
Produits laitiers
| Produit | Réfrigérateur | Congélateur |
| Lait | 1 semaine | 1 mois |
| Beurre | 2 semaines | 12 mois |
| Crème glacée | - | 2 à 3 semaines |
| Fromage naturel | 1 mois | 4 à 6 mois |
| Fromage à la crème | 2 semaines | Non recommendé |
| Yaourt | 1 mois | - |
Annexe
Viande
| Produit | Réfrigérateur | Congélateur |
| Rôtis frais, steaks frais, côtelettes fraîches | 3 à 4 jours | 2 à 3 mois |
| Vande crue fraîche, bœuf à braiser | 1 à 2 jours | 3 à 4 mois |
| Bacon | 7 jours | 1 mois |
| Saucisses, vande crue de porc, bœuf, dinde | 1 à 2 jours | 1 à 2 mois |
Volaille / CEuufs
| Produit | Réfrigérateur | Congélateur |
| Vande de volaille fraîche | 2 jours | 6 à 8 mois |
| Salade à la volaille | 1 jour | - |
| CEufs, frais dans leur coquille | 2 à 4 semaines | Non recommendé |
Poisson / Fruits de la mer
| Produit | Réfrigérateur | Congélateur |
| Poisson frais | 1 à 2 jours | 3 à 6 mois |
| Poisson cuit | 3 à 4 jours | 1 mois |
| Salade au poisson | 1 jour | Non recommendé |
| Poisson séché ou mariné | 3 à 4 semaines | - |
Fruits
| Produit | Réfrigérateur | Congélateur |
| Pommes | 1 mois | - |
| Pêches | 2 à 3 semaines | - |
| Ananas | 1SEMNIE | - |
| Autres fruits frais | 3 à 5 jours | 9 à 12 mois |
Légumes
| Produit | Réfrigérateur | Congélateur |
| Asperges | 2 à 3 jours | - |
| Brocoli, choux de Bruxelles, petits.POIS, championons | 3 à 5 jours | - |
| Chou, chou-fleur, céléri, concombre, laitue | 1 semaine | - |
| Carottes, betteraves, radis | 2 semaines | - |
Informations du modele et commande de pieces de rechange
Informations du modele
Pour acceder à l'enregistrement EPREL du modele :
- Allez sur le site Internet https://eprel.ec.europa.eu.
- Trouvez l'identifant du modele sur l'etiquette energetique de l'appareil et saisissez-le dans le champ de recherche.
- Les informations relatives à l'étiquetage énergétique du modele s'affichent.
Informations sur les pieces
Période minimale de disponibilité des pieces de rechange nécessaires à la réparation de l'appareil
- 7 ans pour les thermostats, capteurs de température, cartes de circuit imprimé et sources d'éclairage, poignées de porte, charnières de porte, bacs, paniers (boîtes ou tiroirs)
- 10 ans pour les joints de porte
La période minimale de garantie fournie par le fabricant pour l'appareil de réfrigération est de 24 mois.
- Informations pertinentes pour commander des pieces de rechange, directement ou via d'autres intermédiaires proposés par le fabricant, l'importateur ou le représentant agréé
- Vous trouvez des informations pour une réparation par des professionnelles sur le site Internet http:// samsung.com/support.
Voutrouvez le guide de réparation pour l'utilisateur sur le site Internet http://samsung.com/support.
Comment contacter Samsung dans le monde
Si vous avez des suggestions ou des questions concernant les produits Samsung, veuillez contacter le Service Consommateurs Samsung.
| Pays | Centre d'apps | Site Internet |
| FRANCE | 01 48 63 00 00 | www.samsung.com/fr/support |



DA68-04023N-00
Notice Facile