ACI605B - Cuisiniere induction AMICA - Notice d'utilisation et mode d'emploi gratuit
Retrouvez gratuitement la notice de l'appareil ACI605B AMICA au format PDF.
| Intitulé | Description |
|---|---|
| Type de produit | Table de cuisson à induction |
| Caractéristiques techniques principales | 4 zones de cuisson, commandes tactiles, affichage numérique |
| Alimentation électrique | 230 V, 50 Hz |
| Dimensions approximatives | 60 cm x 52 cm x 5.5 cm |
| Poids | 10 kg |
| Compatibilités | Compatible avec des ustensiles de cuisson en fer, acier inoxydable et certains types de verre |
| Fonctions principales | Détection de casserole, minuterie, sécurité enfant, arrêt automatique |
| Entretien et nettoyage | Surface en vitrocéramique, nettoyage avec un chiffon humide et des produits non abrasifs |
| Pièces détachées et réparabilité | Disponibilité de pièces de rechange via le service après-vente |
| Sécurité | Système de sécurité pour éviter les surchauffes, protection contre les éclaboussures |
| Informations générales utiles | Installation encastrable, nécessite un branchement électrique professionnel |
FOIRE AUX QUESTIONS - ACI605B AMICA
Questions des utilisateurs sur ACI605B AMICA
0 question sur cet appareil. Repondez a celles que vous connaissez ou posez la votre.
Poser une nouvelle question sur cet appareil
Téléchargez la notice de votre Cuisiniere induction au format PDF gratuitement ! Retrouvez votre notice ACI605B - AMICA et reprennez votre appareil électronique en main. Sur cette page sont publiés tous les documents nécessaires à l'utilisation de votre appareil ACI605B de la marque AMICA.
MODE D'EMPLOI ACI605B AMICA
Consulter la notice avant d'installer et d'utiliser la cuisinière.
La cuisinière Amica combine à la perfection la capacité d'utilisation et une efficacité optimale. Après lecture de ce mode d'emploi, vous n'aurez aucun problème pour utiliser ses fonctionnalités.
À la sortie de l'usine, avant d'être emballée, la cuisinière a passé tous les tests de sécurité et de compatibilité.
Prière de lire attentivement ce mode d'emploi avant la première mise en marche de l'appareil. Respecter les indications vous permettra d'éviter toute utilisation incorrecte.
Conservez ce mode d'emploi dans un endroit accessible.
Le respect des recommandations de ce mode d'emploi vous préservera de risques importants.
N'utiliser l'appareil qu'après avoir lu ce mode d'emploi.
La cuisine a été conçue exclusivement pour un usage domestique.
Le fabricant se réserve le droit d'effectuer des modifications sans conséquences sur le fonctionnement de l'appareil.
En cas de doute ou si vous ne comprenez pas toutes les instructions de ce mode d'emploi, vous pouvez contacter notre service consommateur qui vous guidera en tous points utiles. Le n° de téléphone est : 01.56.48.06.31.
TABLES Des matiérés
Informations générales 2 Mises en garde importantes 4 Consignes de sécurité 7 Conseils d'économie d'énergie 10 Description de l'appareil 12 Caractéristiques de l'appareil 14 Installation 15 Raccordement de la cuisine à l'installation électrique 16 Utilisation 18 Fonctionnement du programmeur 19 Utilisation de la plaque de cuisson 22 Utilisation du four 32 Cuisson au four - conseils pratiques 34 Nettoyage et entretien 37 Situations d'urgence 41 Données techniques 43
Mises en garde importantes
- Cet appareil peut être utilisé par des enfants âgés de 8 ans et plus, par des personnes dont les capacités physiques, sensorielles ou mentales sont réduites ou des personnes dénuées d’expérience ou de connaissance, s'ils (si elles) ont pu bénéficier d'une surveillance ou d'instructions préalables concernant l'utilisation de l'appareil en toute sécurité et avoir compris les dangers impliqués. Les enfants ne doivent pas jouer avec l'appareil. Le nettoyage et la maintenance ne doivent pas être réalisés par les enfants sans surveillance.
- Si le câble d'alimentation est endommagé, il doit être remplacé par le fabricant, son service après-vente ou des personnes de qualification similaire afin d'éviter un danger.
- MISE EN GARDE : Cet appareil et ses parties accessibles deviennent chauds pendant leur utilisation. Il convient de veiller à ne pas toucher les éléments chauffants. Il convient de maintenir à distance les enfants de moins de 8 ans, à moins qu'ils ne soient sous une surveillance continue.
- MISE EN GARDE: Les parties accessibles peuvent devenir très chaudes au cours de l'utilisation. Il est recommandé d'éloigner les jeunes enfants.
- MISE EN GARDE: Danger de feu: Ne jamais placer d'objets sur la plaque de cuisson.
- MISE EN GARDE: Une cuisson, sans surveillance, utilisant de l'huile ou autre matière grasse, sur une plaque de cuisson peut être dangereuse et déclencher un incendie.
cendie. NE JAMAIS essayer d'eteindre un feu avec de l'eau mais déconnecter l'appareil de l'alimentation et couvrir les flammes, par exemple, à l'aide d'un couvercle ou d'une couverture ignifugée.
- Cet appareil n'est pas destiné à être mis en fonctionnement au moyen d'une minuterie extérieure ou par un système de commande à distance séparé.
- MISE EN GARDE: S'assurer que l'appareil est déconnecté de l'alimentation avant de remplacer la lampe pour éviter tout risque de choc électrique.
- Ne pas utiliser d'appareil de nettoyage à la vapeur.
- Lors de son utilisation, l'appareil devient chaud. Faire attention à ne pas toucher les éléments chauffants situés à l'intérieur du four.
- MISE EN GARDE: Si la surface est fêlée, déconnecter l'appareil de l'alimentation pour éviter un risque d'électrocution.
- Ne pas utiliser de produits d'entretien abrasifs ou de grattoirs métalliques durs pour nettoyer la porte en verre du four, ce qui pourrait érafler la surface et entraîner l'éclatement du verre.
- Il est recommandé de ne pas déposer d'objets métalliques tels que couteaux, fourchettes, cuillères et couvercles sur le plan de cuisson, car ils peuvent devenir chauds.
- MISE EN GARDE: Utiliser uniquement les dispositifs de protection de table de cuisson conçus par le fabricant de l'appareil de cuisson ou indiqués par le fabricant de l'appareil dans les instructions d'utilisation comme adaptés ou les dispositifs de protection de table de cuisson inté-
grès à l'appareil. L'utilisation de dispositifs de protection non appropriés peut entraîner des accidents.
- Toutes les cuissons se font porte fermée de préférence.
- Ne pas accrocher de linge ou de torchon à la poignée du four.
- Ne recouvre pas l'intérieur du four de papier aluminium pour économiseur un nettoyage : en provoquant une surchauffe, vous endommageriez l'émail qui recouvre la cage.
- ATTENTION: Le processus de cuisson doit être surveillé. Un processus de cuisson court doit être surveillé sans interruption.
- L'appareil ne doit pas être installé derrière une porte décorative, afin d'éviter une surchauffe.


MISE EN GARDE: Pour éviter le risque de basculement de l'appareil, le dispositif de stabilisation par les fixations anti-basculement doit être mis en place.

Installation
- Les matériaux d'emballage (par ex. les films plastiques, les polystyrènes) représentent un danger pour les enfants - risque d'asphyxie! Conservez-les hors de portée des enfants.
- Lorsqu'il est correctement installé, votre produit répond à toutes les exigences de sécurité prévues pour cette catégorie de produit. Cependant, une attention particulière doit être prise pour le dessous de l'appareil car il n'est ni conçu ni destiné à être touché et peut comporter des bords tranchants ou rugueux, qui peuvent causer des blessures.
- Cet appareil est lourd ; faites attention lorsqu vous le déplacez.
- Cet appareil est fragile. Transportez-le en position verticale uniquement.
- Lors du déballage, vérifiez que l'appareil n'est pas endommagé. En cas de doute, ne l'utilisez pas et contactez le magasin vendeur.
- Après avoir installé l'appareil, vérifiez qu'il ne repose pas sur le câble d'alimentation.
- Pour éviter tout risque (mobiliar, immobilier, corporel,...), l'installation, les raccordements au réseau électrique, la mise en service et la maintenance de votre appareil doivent être effectués par un professionnel qualifié.
- Avertissement : Avant d'accéder aux bornes de raccordement, tous les circuits d'alimentation doivent être déconnectés.
- Si l'installation électrique de votre habitation nécessite une modification pour le branchement de votre appareil, faites appel à un électricien qualifié.
- Dans le cas d'une installation fixe, le raccordement au réseau doit être effectué par l'intermédiaire d'un interrupteur à coupure omnipolaire assurant une coupure complète en cas de conditions de surtension de catégorie III.
- Instructions de mise à la terre : Cet appareil doit être mis à la terre. Dans le cas d'un dysfonctionnement ou d'une coupure, la mise à la terre permet de réduire le risque de choc électrique en fournissant un accès au courant électrique de plus faible résistance. Cet appareil est équipé d'un cordon pourvu d'un conducteur de mise à la terre et d'une prise de mise à la terre. La prise doit être branchée dans une prise murale appropriée installée et mise à la terre en accord avec tous les codes et règles locaux.
Utilisation
- Cet appareil doit être utilisé uniquement pour l'usage pour lequel il a été conçu, c'est-à-dire pour la cuisson domestique de denrées alimentaires. Tout autre usage

de l'appareil serait considéré comme inapproprié et, par conséquent, dangereux. Le fabricant décline toute responsabilité pour tout dommage causé par un usage inapproprié ou incorrect de l'appareil.
- Il est interdit de modifier les caractéristiques techniques ou de tenter de modifier l'appareil de quelque façon que ce soit.
- Il convient de surveiller les enfants pour s'assurer qu'ils ne jouent pas avec l'appareil.
- Ne branchez pas l'appareil à une prise de courant non protégée contre les surcharges (fusible).
- N'utilisez jamais de multiprise ou de rallonge pour brancher l'appareil.
- MISE EN GARDE: Maintenir dégagées les ouvertures de ventilation dans l'enceinte de l'appareil ou dans la structure d'encastrement.
- Ne stockez pas dans cet appareil des substances explosives telles que des aérosols contenant des gaz propulseurs inflammables.
- Afin d'empêcher des risques d'explosion et d'incendie, ne placez pas de produits inflammables ou d'éléments imbibés de produits inflammables à proximité ou sur l'appareil.
- Les foyers ne doivent pas être mis en marche à vide, sans casseroles. N'utilisez pas votre cuisine pour chauffer une pièce.
- Ne rayez pas la plaque de cuisson avec des objets pointus. N'utilisez pas la table comme surface de travail.
- N'utilisez jamais ce produit si le câble d'alimentation, le bandeau de commande, la vitre sont endommagés de telle sorte que l'intérieur de l'appareil est accessible. Assurez-vous que les petits appareils électroménagers ou leur câble d'alimentation n'entrent pas directement en contact avec le four chaud ou la plaque de cuisson, car leur isolation ne résiste pas aux températures élevées.
- Utilisez uniquement une batterie de cuisine adaptée et compatible avec votre appareil (pour plus d'informations, reportez-vous au chapitre Choix du récipient).
- Avant de mettre la plaque de cuisson en fonctionnement, nettoyez les liquides ou résidus qui ont été renversés.
- Le sucre chauffé à haute température, en particulier entrant en contact avec la plaque vitrocéramique, peut provoquer des dommages irréversibles.
- La préparation des mets dans des récipients en aluminium ou plastique sur les foyers chauds n'est pas permise. Ne déposez aucun objet en plastique ou en feuille d'aluminium sur le foyer chaud.

- Évitez de poser sur la plaque de cuisson vitrocéramique des récipients humides, car ils peuvent provoquer des dommages irréversibles sur celle-ci (taches indélébiles).
- Ne pas poser sur la porte du four ouverte des objets d'un poids supérieur à 15 kg et sur la table de cuisson d'un poids supérieur à 25 kg.
- Ne rangez pas de récipients ni de matériel inflammables dans le tiroir sous le four ; la température à l'intérieur du tiroir peut en effet être très élevée et vous risquez de provoquer un incendie.
- ATTENTION: Ne laissez pas d'objets lourds ou tranchants tomber sur la plaque de cuisson.
Entretien
- Avant de lancer un cycle de nettoyage du four par catalyse, retirez les éclaboussures excessives. Pour des informations plus détaillées, réferez-vous au chapitre «Nettoyage et entretien».
Service - réparations
- En cas de panne, n'essayez pas de réparer l'appareil vous-même. Les réparations effectuées par du personnel non qualifié peuvent provoquer des dommages et ne sont pas couvertes par la garantie. Contactez le service après-vente de votre revendeur et exigez des pièces de rechange certifiées Constructeur.

Une utilisation responsable de l’énergie est une source d’économie mais aussi un geste très important pour notre environnement. Relevons le défi d’économie
d'énergie! Voici quelques conseils:
Utiliser des récipients de cuisson adaptés
Des casseroles à fond plat et égaux permettent d'économiser jusqu'à 1/3 d'énergie. N'oubliez pas d'utiliser les couvercles, sinon la consommation d'énergie est quadruplée!
- Choisir une casserole adaptée à la surface du foyer
Le diamètre du fond de la casserole doit couvrir complètement la zone de cuisson.
Garder les zones de cuisson et les fonds des casseroles propres
Les salissures empêchent le transfert de chaleur, les salissures fortement calcinées nécessitent souvent l'utilisation de produits difficilement dégradables pour l'environnement.
- Éviter de soulever trop souvent le couvercle
- Éviter d'ouvrir trop souvent la porte du four
- Terminer la cuisson en utilisant la chaleur résiduelle de la plaque de cuisson. Si le temps de cuisson est long, éteignez le foyer 5 à 10 minutes avant la fin de la cuisson 20% d'énergie.
Utiliser le four uniquement pour vos mets les plus volumineux
La préparation d'une viande d'un poids inférieur à 1 kg est plus économique si vous utilisez la plaque de cuisson.
- Terminer la cuisson en utilisant la chaleur résiduelle du four
Si le temps de cuisson est supérieur à 40 minutes, éteignez le four 10 minutes avant la fin de la cuisson ; la cuisson se terminera alors avec la chaleur résiduelle du four.
Note: Si vous utilisez la minuterie, programmez un temps de cuisson plus court.
- Bien fermer la porte du four
La chaleur s'échappe au travers des encrasements des joints de la porte. Il faut impérativement les nettoyer.
- Ne pas encastrer la cuisinière à proximité directe des réfrigérateurs / congélateurs
La consommation d'électricité augmentait inutilement.

Pour la sécurité du transport, cet appareil a été emballé avec des protections. Veuillez recycler les éléments de cet emballage conformément aux normes de protection de l'environnement.
Tous les matériaux utilisés pour les emballages sont inoffensifs pour l'environnement et ils sont 100% recyclables et portent un symbole de tri approprié.
Note: Les matériaux d'emballage (sachets en polyéthylène, morceaux de polystyrène, etc.) peuvent représenter un danger. Conservés hors de portée des enfants.

Cet appareil est marqué du symbole du tri sélectif relatif aux déchets d'équipements électriques et électroniques. Cela signifie que ce produit doit être pris en charge par un système de collecte sélective conformément à la directive
européenne 2012/19/UE afin de pouvoir soit être recyclé, soit démantelé afin de réduire tout impact sur l'environnement.
Pour plus de renseignements, vous pouvez contacter votre administration locale ou régionale.
Les produits électroniques n’ayant pas fait l’objet d’un tri sélectif sont potentiellement dangereux pour l’environnement et la santé humaine en raison de la présence de substances dangereuses.
Description de l'appareil

P : Programmateur électronique
1 : Manette de réglage de la température du four 2 : Manette des programmes du four 3 : Voyant de contrôle du thermostat 4 : Voyant de fonction du four 5 : Plaque à induction 6 : Poignée de la porte du four 7 : Tiroir
Foyer à induction + booster (arrière droit) Ø 210






1: Senseur marche/arrêt de la plaque 2: Senseur plus 3: Indicateur de foyer de cuisson 4: Senseur moins 5: Senseur deCHOIX de foyer 6: Senseur d'horloge 7: Senseur de blocage 8: Diode de signalisation d'horloge 9: Diode de signalisation de senseur blocage 10: Afficheur de l'horloge
Caractéristiques de l'appareil
Ce tableau vous permettra de vous familiariser avec l'équipement de votre cuisineire
| Plaque de cuisson | Diamètre | Puisance |
| Foyer arrêté gauche | 16,0 cm | 1,2 / 1,4 kW |
| Foyer avant gauche | 21,0 cm | 2,0 / 3,0 kW |
| Foyer arrêté droit | 21,0 cm | 2,0 / 3,0 kW |
| Foyer avant droit | 16,0 cm | 1,2 / 1,4 kW |
| Four | Puisance |
| Résistance supérieure | 0,9 kW |
| Résistance inférieure | 1,1 kW |
| Résistance de grill | 1,5 kW |
| Résistance circulaire | 2,1 kW |
Équipement de la cuisinière


Gradins

Aménagement de la cuisine
Veillez à ce que la pièce dans laquelle la cuisinière est installée soit bien aérée. Les éléments de commande doivent rester facilement accessibles. - Les meubles pour encastrement exigent l'utilisation de revêtements et de colles résistant à des températures de 100°C. Dans le cas contraire, la surface peut être déformée et le revêtement décollé. - Installez la cuisinière sur une surface rigide et plane. - Les hottes doivent être installées selon les recommandations de leurs modes d'emploi. - Avant toute utilisation, la cuisinière doit être mise à niveau, ce qui est très important pour que la graisse soit distribuée de manière uniforme sur la poêle.
Pour une mise à niveau parfaite de l'appareil, utilisez les pieds de réglage, accessibles après avoir enlevé le tiroir. La hauteur des pieds réglables est de 5mm.
Montage de la fixation anti-basculement
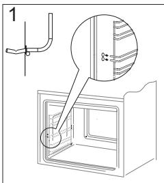
Pour éviter le basculement de la cuisine, installez la fixation fournie avec votre produit en procédant comme suit :
Sur le mur contre lequel sera installée la cuisine, percez un trou à 6,0 cm du sol (A). Percez ensuite un deuxième trou à 10,3 cm du sol (B). À l'aide des 2 vis et chevilles fournies, fixez l'équerre au mur en alignant les trous de l'équerre avec ceux que vous venez de percer.



Raccordement de la cuisinière à l'installation électrique
Note :
Le raccordement à l'installation électrique ne peut être réalisé que par un professionnel né agree. Il est interdit de procéder aux transformations ou aux modifications de l'installation électrique.
Indications pour l'installateur
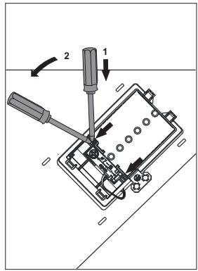
La cuisinière est conçue pour une alimentation en courant alternatif triphase (400V 3N~50Hz). La tension nominale des éléments chauffants est de 230V. Il est possible d'adapter la cuisinière à une alimentation par courant monophasé (230V) par une réduction appropriée (pont) réalisée au niveau du bornier, selon le schéma des connexions ci-après. Le schéma des connexions est aussi représenté à côté du raccordement de la cuisinière. Pour ouvrir le bornier, enlevez le couvercle et faites pression avec un tournevis plat afin de débloquer les languettes latérales. Adaptez bien le cordon d'alimentation au type de raccordement et à la puissance nominale de la cuisinière.
Le cordon d'alimentation doit être fixé à l'arrêt de traction du boîtier de raccordement de la cuisineire

Note :
N'oubliez pas de brancher la prise de terre au bornier de la cuisinière marqué par le symbole 12. L'alimentation électrique de la cuisinière doit être dotée d'un disjoncteur d'arrêt d'urgence qui permet de couper l'électricité à tout moment. La distance minimale entre les contacts d'interrupteur d'arrêt d'urgence est de 3 mm.
Avant de brancher la cuisinière à l'installation électrique, consulter les informations de la plaque signalétique et du schéma de raccordement.
Note : l'installateur est dans l'obligation de remettre à l'utilisateur « un certificat de raccordement de la cuisine à l'installation électrique »
Tout raccordement différent de celui préconisé sur le schéma peut entraîner la dépréciation de l'appareil.
| SCHEMA DES BRANCHEMENTS POSSIBLES Note : la tension des éléments chauffants est de 230V. Note : Dans tous les cas de raccordement, la prise de terre doit être reliée au bornier au niveau du symbole ± PE. | |||
| Type de cable de raccor- dement recommandé | |||
| 1 | Cas du réseau de 230 V : le raccorde- ment monophasé avec un fil neutre, les Ponts raccordent les bornes 1-2-3 et 4-5, prise de terre sur ± | 1N~ | H05VV-F3G4 3X 4 mm² |
| 2 | Cas du réseau de 400/230 V raccorde- ment biphasé avec fil neutre, les Ponts raccordent les bornes 2-3 et 4-5, prise de terre sur ± | 2N~ | H05VV-F4G2,5 4X 2,5 mm² |
| 3 | Cas du réseau de 400/230 V : raccor- dement triphasé avec un fil neutre, les ponts raccordent les bornes 4-5, les fil de phase connectés à 1, 2 et 3, fils neutre à 4 et 5, prise de terre sur ± | 3N~ | H05VV-F5G2,5 5X 2,5 mm² |
| Fils de phase - L1, L2, L3; N - fil neutre; PE - prise de terre | |||

Avant la première utilisation de la cuisine
Enlever tous les éléments de l'emballage, vider le tiroir, nettoyer le four afin de supprimer tous les restes de produits utilisés pour le protéger, - enlever tous les accessoires du four et les nettoyer à l'eau chaude avec du produit nettoyant, - mesurer en marche la ventilation mécanique ou aérer en ouvrant une fenêtre, chauffer le four en mode convection naturelle, 250°C, sur une durée moyenne de 30 minutes, enlever toutes les salissures, - nettoyer l'intérieur du four soigneusement.
Laver l'intérieur du four uniquement avec de l'eau chaude et une petite quantité de produit nettoyant.
Lorsque vous branchez cet appareil à l'alimentation électrique, ou suite à une coupure de courant, l'indication «0.00» apparaît sur l'écran électronique. Vous devrez alors régler l'horloge (voir le chapitre Réglage de l'horloge).
Si l'horloge n'est pas mise à l'heure, le four ne pourrait pas fonctionner.
Symboles affichés sur l'écran
A - symboles correspondant aux différentes fonctions
OK - touche de besoin de fonctions du programmeur < - touche _.
- touche _+”
Réglage de l'horloge
L'heure « 0.00 » clignote après branchement de l'appareil à l'électricité ou après une coupure de l'alimentation électrique.

Pour régler l'horloge, procéder comme suit :
- Appuyer sur OK, le symbole apparaît à l'écran, -mettre l'horloge à l'heure à l'aide des touches < et >
7 secondes après la mise à l'heure de l'horloge, les nouvelles données sont mémorisées et l'écran cesse de clignoter.
Pour modifier l'heure, appuyer simultanément sur les touches < et >, afin de faire clignoter l'heure indiquée à l'écran. Il est possible alors de corriger l'heure à l'aide des touches < et >.
Note : Le four peut être mis en fonctionnement après apparition du symbole sur l'écran.
Minuterie
La minuterie peut être activée à tout moment. Elle peut se régler de 1 minute à 23 heures et 59 minutes. Pour régler la minuterie, procéder comme suit :
Appuyer sur OK. Le symbole clignotera à l'écran :

régler le temps de la minuterie à l'aide des touches < et >. Le temps de minuterie sélectionné apparait à l'écran ainsi que le symbole, indiquant que la fonction de minuterie est activée.
Lorsque le temps est écoulé, une sonnerie retentit et le symbole clignote.
Appuyer sur les touches OK, < ou > pour couper le signal sonore, le symbole disparaît et l'écran indique l'heure.
Si le signal sonore n'est pas éteint manuellement, il s'éteindra automatiquement après environ 7 minutes.
Fonctionnement semi-automatique
Si le four doit s'arrêter après une durée de cuisson donnée, procédez comme suit :
- régler la manette de fonction du four et la manette de réglage de la température sur les paramètres de cuisson désirés,
- Appuyer sur la touche OK jusqu'à ce que les indications de l'écran se mettent à clignoter

- Régler la durée de cuisson désirée à l'aide des touches < et > dans un intervalle de 1 minute à 10 heures. La durée sera mémorisée après 7 secondes environ, l'écran indiquera à nouveau l'heure et le symbole AUTO apparaitra à l'écran, indiquant que la fonction est activée.
Une fois le temps sélectionné écoulé, le four s'arrête automatiquement, le signal sonore se déclenche et le symbole AUTO clignote,
tourner les manettes de fonctions du four et de réglage de température jusqu'en position éteinte, - appuyer sur les touches OK, < ou > pour couper le signal sonore, le symbole AUTO s'éteint et l'écran indique l'heure réelle.
Fonctionnement automatique
Si le four doit arrêter la cuisson à une heure donnée, procéder comme suit :
- Appuyer sur la touche OK jusqu'à ce que les indications de l'écran se mettent à clignoter :

- régler la durée de cuisson à l'aide des touches < et > comme pour le fonctionnement semi-automatique :
- appuyer à nouveau sur la touche OK jusqu'à ce que les indications de l'écran se mettent à clignoter :

- sélectionner l'heure de fin de cuisson souhaitée à l'aide des touches < et >.
- tourner la manette du four et la manette de réglage de la température sur les paramètres de cuisson désirés. Le symbole AUTO apparaitra, indiquant que la fonction est activée. Le four calculera l'heure à laquelle la cuisson doit démarrer, en fonction de la durée de cuisson et de l'heure de fin de cuisson que vous avez définies : par exemple, si vous avez paramétré une durée de cuisson de 1 heures et programme l'heure de fin de cuisson pour 14h00, le four s'allumera automatiquement à 13h00.
Fonctionnement automatique (suite)
À l'heure de la fin de cuisson, le four s'arrête automatiquement, le signal sonore se déclenche et le symbole AUTO se met à clignoter,
- Tourner la manette de fonction du four et la manette de réglage de température en position éteinte,
- Appuyer sur les touches OK, < ou > pour couper le signal sonore, le symbole AUTO s'éteint et l'écran indique l'heure réelle, par exemple 12h35.

Effacement des paramètres
Les paramètres enregistrés pour la minuterie ou le fonctionnement automatique et semi-automatique peuvent être supprimés à tout moment.
Pour effacer les paramètres du fonctionnement automatique ou semi-automatique, procédez comme suit :
- Appuyer simultanément sur les touches < et >.
Pour effacer les paramètres de la minuterie, procédez comme suit :
choisir la fonction minuterie à l'aide de la touche OK, - appuyer à nouveau sur les touches < et >.
Régler la tonalité du signal sonore
La tonalité du signal sonore peut être modifiée de la manière suivante :
appuyer simultanément sur les touches < et > - appuyer sur OK et, désirer la fonction « ton ». L'indication suivante clignotera sur l'écran :

- à l'aide de la touche <, désirez le niveau de la tonalité sur une échelle de 1 à 3.
Utilisation de la plaque de cuisson.
Pour les informations concernant les différents types de foyers, voir le chapitre Caractéristiques techniques.
Principe de fonctionnement du foyer par induction

Le générateur électrique alimente un inducteur situé à l'intérieur de l'appareil. Cet inducteur crée des champs magnétiques : ainsi, dès qu'un récipient à fond métallique est posé sur la plaque, des courants induits sont transmis au récipient.
Ces courants font du récipient le véritable conducteur de chaleur, tandis que la surface vitrée de la plaque reste froide.
Ce système prévoit l'utilisation de récipients dont les fonds sont réceptifs au fonctionnement du champ magnétique.
En général, la technologie inductive se caractérise par deux qualités:
- la chaleur est émise uniquement par le représentant, elle est ainsi exploitée au maximum,
- Il n'y a pas de phénomène d'inertie thermique, car la cuisson commence automatiquement au moment où le récipient est placé sur la plaque et se termine au moment où il en est retiré.
Au cours de l'utilisation normale de la plaque d'induction, différents types de sons peuvent être émis qui n'ont aucune influence sur le fonctionnement correct de la plaque.
- Sifflement à basse fréquence. Le son apparaît lorsque le récipient est vide, il disparaît après l'avoir rempli avec de l'eau ou d'y avoir mis le plat.
- Sifflement à haute fréquence. Le son apparaît dans des récipients qui ont été fabriqués à partir de plusieurs couches de matériaux différents et après la mise en marche de la puissance maximale de chauffage. Ce son s'intensifie également lorsqu'on utilise simultanément deux champs de chauffage ou plus à pleine puissance. Le son disparaît ou est moins intensif après la réduction de la puissance.
- Bruit de grincement. Le son apparait dans des récipients qui ont été fabriqués à partir de plusieurs couches de matériaux différents. L'intensité du son dépend du moyen de cuisson.
- Bruit de bourdonnement. Le son apparaît au cours du travail du ventilateur de refroidissement des systèmes électroniques.
Les sons qui peuvent être audibles lors de l'exploitation résultent du travail du ventilateur de refroidissement, des dimensions du récipient et du matériel dont il est fait, du moyen de cuisson des plats et de la puissance de chauffage mise en marche.
Craquements sont un phénomène normal et ne signifient pas une panne de la plaque d'induction.
Appareil de protection :
Si la plaque a été correctement installée et si elle est bien utilisée, les appareils de protection sont rarement nécessaires.
Ventilateur : sert à la protection et au refroidissement des éléments de commande et d'alimentation. Il peut travailler à deux vitesses différentes ; il fonctionne de façon automatique. Le ventilateur fonctionne jusqu'au refroidissement suffisant du système électronique, que les zones de cuisson soient activées ou non.
Transistor: La température des éléments électroniques est continuellement mesurée à l'aide de la sonde. Si la chaleur augmente d'une façon dangereuse, ce circuit réduit automatiquement la puissance du foyer ou déconnecte les foyers se trouvant le plus près des éléments électroniques chauffés.
Détection: le détector de présence d'une casserole permet le fonctionnement de la plaque, et donc le chauffage. Les petits objets placés sur la surface chauffante (p. ex. une petite cuillère, un couteau, une bague...) ne seront pas considérés comme une casserole et la plaque ne se mettra pas en marche.
Détecteur de présence d'une casserole dans le champ d'induction.
Un détecteur de présence de casserole est installé dans les plaques possédant les champs d'induction. Lors du fonctionnement de la plaque, le détecteur de présence de casserole commence puis arrête automatiquement l'émission de chaleur dans le foyer de cuisson quand la casserole est placée sur la plaque puis quand elle en est retirée. Cela garantit donc des économies d'énergie.
- Si le foyer de cuisson est utilisé avec une casserole appropriée, le niveau de chaleur s'affiche sur l'afficheur.
- L'induction exige l'utilisation de casseroles adaptées, dont le fond est en matériel magnétique (Tableau).
Si, sur le foyer de cuisson, on n'a pas placé de casserole ou place une casserole inappropriée, le symbole 12 s'affiche sur l'afficheur. Le foyer ne s'allume pas. Si au bout de 10 minutes aucune casserole n'est détectée, l'opération de mise en marche de la plaque est supprimée. L'extinction du foyer de cuisson s'effectue à l'aide du senseur de commande,steroler la casserole n'est pas suffisant.
Le détector de casserole ne fonctionne pas comme le senseur principal de la plaque.
La plaque chauffante à induction est équipée de senseurs qui fonctionnent par le toucher du doigt des surfaces marquées. Tout réglage du senseur est confirmé par un signal sonore.
Lors de la mise en marche et de l'extinction ainsi que lors du réglage de niveau de puissance de cuisson, faire attention à n'appuyer que sur un seul senseur. Si on appuie simultanément sur plusieurs senseurs (à l'exception de l'horloge et de la cef), le système ignore les signaux de commande introduits, et si les senseurs restent longtemps appuyés, le signal d'anomalie retentit.
Une fois l'utilisation terminée, éteindre le foyer de cuisson avec le régulateur et ne pas tenir compte des indications du détecteur d'ustensiles.
La qualité des ustensiles de cuisine est une condition de base pour que le fonctionnement de la plaque soit efficace.

Caractéristique des récipients.
- Utiliser toujours des casseroles de haute qualité, avec un fond idéalement plat : l'utilisation de ce type de casseroles empêche la formation de points de température trop élevé, où la nourriture pourrait coller pendant la cuisson. Les casseroles et les poèles avec des parois métalliques épaisses assurent une parfait répartition de la chaleur.
- Faire attention à ce que les fonds de casseroles soient secs : lors du rem salir la surface de la plaque.
- Un couvercle sur la casserole évite les pertes de chaleur et réduit ainsi la durée de cuisson et donc la consommation d'énergie.
- Afin de constater si les récipients sont ajustés si la base du réseau attire un aimant.
- Afin d'assurer un contrôle optimal de la température par le module d'induction, le fond du écipient doit être plat.
- Les fonds de casserole bombés en creux ou avec un logo du fabricant profondément gravé r une surchauffe des éléments.
- Ne pas utiliser de récipients endommagés, p. ex. avec un fond déformé par une température tropée.
- En utilisant de grands récipients avec un fond ferromagnétique dont le diamètre est inférieur au diamètre total du récipient, seule i y sont placés, c'est pourquoi la quantité de chaleur fournie peut être inférieure. Des problèmes avec la détection du récipient ou l'absence de sa détection peuvent apparaître. Le

diamètre de la partie ferromagnétique du récipient devrait être adapté à la dimension de la zone de chauffage afin d'obtenir des résultats optimaux de cuisson. Dans le cas où le récipient n'est pas détecté sur la zone de chauffage, il est conseillé de le tester sur une zone de chauffage avec un diamètre respectivement inférieur.
Pour la cuisson à induction il faut utiliser uniquement des récipients ferromagnétiques en matériaux tels que :
- l'acier émailé
- la fonte
- les récipients spéciaux en acier inoxydable pour la cuisson à induction.
| Symboles sur les ustens-siles de cuisine | Vérifier si sur l'étiquette se trouve le symbole informant que la casserole est appropriée aux plaques à induction. |
| Utiliser les casseroles magnétiques (en fer émail-lée, en acier ferrite inoxydable, en fonte) vérifier en appliquant un aimant sur le fond de casserole (il doit s'y coller). | |
| Acier inoxydable | Ne décéte pas la présence de la casserole |
| A l'exception des casseroles en acier ferromagnétique | |
| Aluminium | Ne décéte pas la présence de la casserole |
| Fonte | Haute efficacité |
| Attention : les casseroles peuvent rayer la plaque | |
| Acier émaillé | Haute efficacité |
| Les ustensiles de cuisson recommendés devraient posséder un fond plat, épais et lisse | |
| Verre | Ne décéte pas la présence de la casserole |
| Porcelaine | Ne décéte pas la présence de la casserole |
| Ustensiles de cuisson possédant un fond en cuivre | Ne décéte pas la présence de la casserole |
- Afin d'obtenir le meilleur effet de cuisson, il faut utiliser des ustensiles d'une dimension du fond (de la partie ferromagnétique) qui correspond à la dimension du champ de cuisson.
- L'utilisation d'ustensiles d'un diamètre du fond inférieur au champ de cuisson réduit l'efficacité du champ de cuisson et prolonge le temps de cuisson.
- Les champs de cuisson possèdent un seuil inférieur de possibilité de détection des ustensiles qui dépend du diamètre de la partie ferromagnétique du fond de l'ustensile et du matériel dont est fait l'ustensile. L'utilisation d'un ustensile qui n'est pas ajusté peut empêcher la détection de l'ustensile par le champ de cuisson.
Panneau de commande
- Après raccordement de la plaque au réseau électrique, tous les indicateurs s'allument pour un instant. La plaque de cuisson est prête à l'exploitation.
- La plaque de cuisson est équipée de senseurs électroniques, qu'on met en fonctionnement en les appuyant pendant au moins 1 seconde.
- Chaque mise en marche des senseurs est signalisée par un signal sonore.
Ne laisser aucun objet sur les emplacements des senseurs (ce qui peut provoquer la signalisation d'une anomalie) ; ces senseurs doivent toujours être maintenus propres.

Mise en fonctionnement de la plaque
La plaque est mise en fonctionnement en touchant le senseur principal ① pendant au moins 1 seconde. La plaque de cuisson est active lorsque „0" apparait sur tous les indicateurs (3).
Si au cours des 10 secondes, aucun senseur n'est activé, la plaque de cuisson s'éteint.
Mise en fonctionnement d'un foyer
Après la mise en fonctionnement de la plaque avec le senseur principal ①, mettre en fonctionnement le foyer de cuisson sélectionné (5) dans les 10 secondes.
- Après avoir touché le senseur indiquant le foyer de cuisson choisi (5), sur l'indicateur de niveau de puissance correspondant à ce foyer, s'éclaire en alternance le chiffre 0.
- On peut régler le niveau souhaité de puissance de chauffe à l'aide du senseur (+) et du senseur (-).
Si dans les 10 secondes après la mise en fonctionnement de la plaque, aucun senseur n'est commandé, le foyer s'éteint.
Le foyer de cuisson est actif lorsqu'un chiffre ou une led est allumée sur tous les afficheurs, ce qui signifie que le foyer est prêt à effectuer le réglage de puissance de chauffe.
Réglage du niveau de puissance de chauffe d'un foyer induction
Pendant l'affichage sur l'indicateur de foyer s'éclaire (3) "0" en alternance, il est possible de commencer à régler le niveau de puissance de chauffe souhaité avec les senseurs + et -.
Extinction des foyers de cuisson
- Le foyer de cuisson doit être activé. L'indicateur de niveau de puissance de chauffe est allumé en alternance.
- L'extinction se fait après avoir touché le senseur marche/arrêt de la plaque, ou en appuyant le senseur (5) pendant 3 secondes.
Mise hors circuit de la plaque de cuisson entière
La plaque de cuisson fonctionne tant qu'au moins un des foyers est allumé. - En appuyant sur le senseur principal (1), on éteint la totalité de la plaque de cuisson
Si un foyer de cuisson est chaud, sur les indicateurs de foyer (3) s'affiche la lettre « H », symbole de chauffe résiduelle.
Fonction booster « p
La fonction Booster consiste à augmenter la puissance du foyer Ø 210 de 2000W à 3000W, du foyer Ø 160 de 1200W à 1400W.
Afin de mettre en marche la fonction Booster, sélectionner une zone de cuisson, régler le niveau de cuisson à „9" et appuyer de nouveau sur le senseur ce qui est signalé par l'apparition de la lettre « P » sur l'afficheur du foyer.
L'extinction de la fonction Booster se fait après avoir appuyé de nouveau sur le senseur lorsque le foyer à induction est actif ou après l'enlèvement de la casserole du foyer à induction.
Pour le foyer 210 et 160, la durée de fonctionnement de la fonction Booster est limitée par le panneau de senseur à 10 minutes. Après l'extinction automatique de la fonction Booster, le foyer de cuisson continue à chauffer avec la puissance nominale.
La fonction Booster peut être remise en marche à condition que les détecteurs de température dans les circuits électroniques et dans la bobine donnent cette possibilité. Si une casserole est retirée reste active et le comptage de la durée continue.
En cas de dépassement de la température (du circuit électronique ou de la bobine) Booster s'arrête automatiquement. Le foyer de cuisson revient à la puissance nominale.

Commande de la fonction booster
Les zones de cuisson sont combinées par paires, verticalement ou en diagonale, selon le modèle. La puissance totale est divisée au sein de ces paires.
L'activation de la fonction Booster dans les deux zones de caisson à la fois entraînera le dépassement de la puissance maximale disponible. Dans ce cas, la puissance de chauffe de la première zone de caisson activée sera baissée jusqu'au niveau le plus minimal possible.
Fonction blocage
La fonction de blocage sert à protégber la plaque de cuisson contre toute mise en fonctionnement involontaire par des enfants, et sa mise en marche redevient possible après déblocage.
La fonction de blocage est possible à la plaque de cuisson activée et désactivée.
Activation et désactivation de la fonction de blocage
L'activation et la désactivation de la fonction de blocage de la plaque de cuisson se font avec le senseur 0 en l'appuyant pendant 5 secondes. L'activation de la fonction de blocage est signalée par l'allumage de la diode de signalisation (9).
La plaque reste bloquée jusqu'à son déblocage, même si le panneau de la plaque est éteint et remis en marche. Le débranchement de la plaque du réseau d'alimentation arrête la blocage de la plaque.
Indicateur de chaleur résiduelle
Après la fin de la cuisson, il reste dans le verre céramique de l'énergie thermique nommée chaleur (ou chauffe) résiduelle. L'affichage de l'indication de chauffe résiduelle se passe en deux étapes. Au moment de l'extinction d'un foyer chaud ou de la totalité de l'appareil, quand la température dépasse 60°C, la lecture „H“ apparaît sur l'afficheur approprié. L'indication de chaleur résiduelle est affichée tant que la température du foyer dépasse 60°C. Pour les températures de 45°C à 60°C, l'indication „h“ apparaît sur l'afficheur, ce qui symbolise une chaleur résiduelle BASSE. Quand la température baisse au-dessous de 45°C, l'indicateur de chaleur résiduelle s'éteint.
Tant que l'indicateur de chaleur résiduelle est allumé, ne pas toucher le foyer de cuisson à cause des risques de brûlures et ne poser sur lui aucun objet sensible à la chaleur!
En cas de coupure d'électricité, l'indicateur de chauffe résiduelle „H“ n'est plus affiché. Malgré cela, les foyers peuvent être encore chauds!

Limitation du temps de travail
Dans le but d'augmenter la fiabilité de travail, la plaque à induction est équipée d'un limiteur de temps de travail pour chaque foyer. La durée maximale de travail est fonction du niveau de puissance de chauffe choisi précédemment.
Si le niveau de puissance de chauffe n'est pas changé pendant une longue durée (voir tableau ci-contre) alors le foyer correspondant s'éteint automatiquement et l'indicateur de chauffe résiduelle est activé. Il est cependant possible, à chaque instant, de rallumer et d'utiliser, conformément au mode d'emploi, le foyer concerné.
| Niveau de puissance de chauffe | Durée maximum de fonctionnement en heures |
| LJ | 8 |
| 1 | 8 |
| 2 | 8 |
| 3 | 5 |
| 4 | 5 |
| 5 | 5 |
| 6 | 1,5 |
| 7 | 1,5 |
| 8 | 1,5 |
| 9 | 1,5 |
| P | 0,16 |
Fonction de chauffe accélérée automatique
- Le foyer doit être activé avec le senseur (5)
- Régler ensuite avec les senseurs ⨂ et le niveau de puissance dans la plaque de 1-8, et appuyer de nouveau le senseur (5)
- Sur l'afficheur s'éclaire en alternance le chiffre du niveau de puissance réglée et la lettre A.
Après écoulement du temps de chauffe à pleine puissance, le foyer passe automatiquement au niveau de puissance (qui reste visible sur l'indicateur) sélectionné pour la suite de la cuisson.
Si un ustensile est enlevé du foyer et remis avant l'écoulement de la durée de chauffe accélérée, la chauffe à pleine puissance sera réalisée jusqu'au bout.
| Niveau de puissance de chauffe | Durée de chauffe automatique à pleine puissance (en minutes) |
| - | |
| 1 | 0,8 |
| 2 | 1,2 |
| 3 | 2,3 |
| 4 | 3,5 |
| 5 | 4,4 |
| 6 | 7,2 |
| 7 | 2 |
| 8 | 3,2 |
Fonction horloge
L'horloge de programmation facilite la cuisson grâce à la possibilité de programmer la durée de fonctionnement des foyers de cuisson. Il peut également servir de minuteur.
Mise en marche de l'horloge
L'horloge de programmation facilite la cuisson grâce à la possibilité de programmer la durée de fonctionnement des foyers de cuisson. Il peut également servir comme un minuteur.
- Sélectionner le foyer de cuisson approprié avec le senseur (5). Le chiffre "0" reste allumé en alternance.
- Régler le niveau de puissance souhaité entre 1 - 9 à l'aide des senseurs (+) ou (-).
- Activer ensuite l'horloge dans 10 secondes en appuyant sur le senseur L.
- Régler la durée de cuisson souhaitée (01 à 99 minutes) à l'aide des senseurs (+) ou (-).
- La diode de signalisation (8) correspondant au foyer de cuisson reste allumée après l'afficheur d'horloge
Tous les foyers de cuisson peuvent fonctionner simultanément dans le système de réglage de la durée à l'aide de l'horloge.
En cas de réglage de plus d'un temps, l'afficheur de l'horloge montre le temps le plus court. De plus, cela est signalé par la diode clignotante (8).
Modification de la durée de cuisson programme
À chaque moment de la cuisson, il est possible de modifier sa durée programmée.
- Sélectionner le foyer de cuisson approprié avec le senseur (5). Il s'éclaire alors en alternance le chiffre de la puissance de chauffe.
- Activer ensuite l'horloge dans 10 secondes en appuyant sur le senseur L.
- Régler la nouvelle durée à l'aide des senseurs () ou
Contrôle de l'écoulement du temps de cuisson
À tout moment il est possible d'afficher la durée résiduelle de cuisson, en touchant le senseur de l'horloge . Le temps actif de fonctionnement de l'horloge pour un foyer de cuisson correspondant est signalé par la diode clignotante (8).
Extinction de l'horloge
Après écoulement du temps de cuisson programme, un signal sonore retentit, qui peut être éteint en appuyant sur un quelconque senseur sinon l'alerte s'éteint automatiquement au bout de 2 minutes.
S'il s'avère nécessaire d'éteindre l'horloge, tout :
- Activer le foyer de cuisson avec le senseur (5). Le chiffre de puissance de chauffe s'illumine plus intensément. Appuyer ensuite sur le senseur , maintenir 3 secondes ou modifier le temps du minuteur par le senseur ^+ et (-) jusqu'à afficher 00".
L'horloge comme minuteur
L'horloge programmateur de la durée de cuisson peut être utilisée comme une alarme supplémentaire, si le fonctionnement des foyers de cuisson n'est pas commandé temporairement.
Mise en marche du minuteur
Si la plaque de cuisson est éteinte :
Pour permettre le démarrage de la plaque, toucher le senseur principal de la plaque chauffante ① - Activer ensuite le minuteur par le senseur - Régler la durée du minuteur à l'aide des senseurs ou .
Extinction du minuteur
Après l'écoulement de la durée programmée, une alarme sonore continue retentit. Pour l'éteindre, appuyer sur un quelconque senseur sinon elle s'éteindra automatiquement au bout de 2 minutes.
S'il s'avère nécessaire d'éteindre l'alarme plus tôt : Appuyer sur un quelconque senseur.
Appuyer ensuite sur le senseur, maintenir 3 secondes ou modifier le temps du minuteur par le senseur ① et - jusqu'à afficher,00" - Si l'horloge a été programmée comme minuteur, elle ne fonctionne pas comme programmateur de durée de cuisson.
La fonction du minuteur s'annule au moment de l'activation de la fonction de l'horloge.
Fonction de réchauffement
La fonction de rechauffement d'un plat maintient au chaud l'aliment préparé sur le foyer de cuisson. Le foyer de cuisson sélectionné est mis à basse puissance de chauffe. Lorsque la puissance du foyer est commandée par la fonction de rechauffement d'un plat, la température du plat est maintenue à environ 65°C. Ainsi le plat chaud, prêt à être consommé, ne colle pas au fond de la casserole et son goût ne se dégrade pas. Cette fonction peut également être utilisée pour fondre du beurre, du chocolat, etc.
La condition pour profiter correctement de cette fonction est l'utilisation d'une casserole appropriée avec un fond plat, pour que la température de la casserole soit précisément mesurée par le détecteur situé dans le foyer. La fonction de réchauffement d'un plat peut être appliquée pour chaque foyer.
Pour des raisons microbiologiques, il est déconseillé de maintenir un plat au chaud trop longtemps, c'est pourquoi cette fonction s'éteint au bout de 2 heures.
La fonction de réchauffement d'un plat est réglée comme une puissance de chauffe supplémentaire, entre la position „0 1" et apparait sur l'afficheur par le symbole „L J"
La mise en marche de la fonction de rechauffement se fait comme décrit dans le point
« Mise en marche d'un foyer de cuisson » L'extinction de la fonction de rechauffement se fait de la même façon, comme décrite dans le point
"Extinction des foyers de cuisson".
Utilisation du four
Pour les informations techniques du four, voir le chapitre « Caractéristiques de l'appareil. »
Four à chaleur tournante (avec ventilateur et résistance)
Le four est chauffé grâce à deux résistances placées sur la partie supérieure et inférieure, et par chaleur tournante ou par le grill. Le four est contrôlé à partir des boutons de sélection de programme et de sélection du thermostat. Pour désirer un mode de cuisson, tournez le bouton sur la position désirée.
Sélecteur de programme
Sélecteur du thermostat

Pour éteindre - positionner les deux boutons sur Φ·°/Φ·0''
La montée en température s'effectue seulement une fois que vous avez sélectionné une fonction et une température.
Fonctions du four représentées sur le bouton
0 Réglage zéro

Montée en température rapide
Résistance chaleur tournante et grill allumés. Cette fonction permet un préchauffage rapide du four.

Décongélation
Seul le ventilateur fonctionne pour permettre la décongélation rapide.

Super grill ventilé
Cette fonction permet une cuisson rapide ou une cuisson de grandes quantités d'aliments.

Gril renforcé (gril et résistance de voûte)
Cette fonction permet de griller en utilisant en même temps la résistance de voûte. Une température plus importante est obtenue dans la partie supérieure du four, afin de cuire des quantités plus importantes et de brunir les aliments.

Gril simple
Cette fonction permet de griller les mets peu épais et placés au centre du four.

Résistance au soleil
Cette fonction déclenche uniquement la résistance de sole.
Elle permet de cuire le fond de vos pâtisseries ou tartes, par exemple.

Cette fonction permet de cuire les aliments sur un seul niveau.

Chaleur tournante
Cette fonction permet une cuisson ventilée par l'air forcé grâce au thermo-ventilateur situé au fond du four. Ce mode de cuisson permet une distribution uniforme de la chaleur autour des plats. Lors de l'utilisation de cette fonction, diminuer de 20°C à 40°C la température utilisée en convection naturelle.
Les avantages de cette fonction :
- la durée initiale de mise à température du four est diminuée via le raccourcissement de la phase de préchauffage,
- Elle permet de cuire sur deux niveaux à la fois,
- les viandes perdent moins de graisse et de jus, conservant ainsi une meilleure saveur.

Convection naturelle ventilée
Cette fonction permet de cuire plus facilement les pizzas entre autres.

Sole pulsée
Cette fonction permet d'augmenter la température au niveau de la pâte des pâtisseries pour qu'elles soient plus croustillantes.

Éclairage indépendant du four
Lorsque le bouton est positionné sur cette fonction, la lampe du four sera allumée.

Mode de cuisson ECO
Cette fonction permet de chauffer les plats de manière optimisée pour permettre d'économiser de l'énergie. Le temps de cuisson peut être allongé. Sur cette position, l'éclairage du four reste éteint.
Voyants de contrôle
Quand le four est allumé, deux voyants s'éclairent, un voyant orange et un voyant rouge. Le voyant orange indique que le four est activé. Le voyant rouge s'éteint lorsque le four a atteint la température indiquée. Si la recette prévoit que le plat soit mis dans un four déjà chaud, attendre que le voyant rouge s'éteigne une première fois. Durant la cuisson, le voyant s'éteindra et s'allumera régulièrement (maintien de la température stable du four). Le voyant orange s'allume également si l'utilisateur désire la fonction « Éclairage indépendant du four »
Utilisation du grillette
Les plats sont grillés par rayons infrarouges émis par la résistance incandescente du grill. Pour allumer le grill, il faut :
tourner la manette sur l'une des positions suivantes : - monter le four en température durant approximativement 5 minutes (porte du four fermée). insérer la lèchefrite avec votre plat au niveau correspondant. fermer la porte du four.
Pour les températures correspondant à l'utilisation du grille, voir Cuisson au four - Conseils pratiques.
Lors de l'utilisation du grill, veiller à bien fermer la porte du four.
Lors de l'utilisation du grill, les parties accessibles du four peuvent venir brûlantes. Tenir les enfants à l'écart.
Pâtisseries
- pour la préparation de vos pâtisseries/gâteaux, nous vous recommandons l'utilisation de la lechefrite livrée avec l'appareil ou de la plaque à pâtisserie posée sur la grille
- Il est également possible d'utiliser les moules et l'échefrite achetés dans le commerce. Il faut les poser sur la grille. Nous vous recommandons, pour vos pâtisseries, d'utiliser l'échefrite qui conduit moins la chaleur et raccourcit le temps de cuisson,
- Si vous utilisez la chaleur tournante, il n'est pas obligatoire de préchauffer le four. Dans le cas contraire, il est nécessaire de le préchauffer avant d'y introduire les pâtisseries;
- avant de sortir les pâtisseries/gâteaux du four, il faut vérifier la qualité de la cuisson avec une tige en bois (si la pâte est cuite, la tige enfoncée dans le gâteau ressort sèche et propre),
- Il est conseillé de laisser votre pâtisserie/gâteau dans le four, après l'avoir éteint, pendant environ 5 minutes, la température de cuisson avec la fonction chaleur tournante étant approximativement 20 à 30 degrés inférieure par rapport à une cuisson conventionnelle (utilisation des résistances supérieure et inférieure),
- Les indications sur le tableau de cuisson ci-dessous sont approximatives et chaque utilisateur peut les modifier selon ses expériences et préférences culinaires,
- Si les informations suggérées dans le livre de recettes sont très différentes des valeurs représentées dans ce mode d'emploi, veuillez suivre les indications du mode d'emploi.
Cuisson et rôtissage des viandes
- Le four est destiné à la préparation des portions de viande dont le poids est supérieur à 1 kg. Nous recommandons la préparation des parts plus petites sur la plaque de cuisson,
- Nous recommandons l'utilisation de récipients résistants à la chaleur. Leurs poignées devront être également résistantes aux hautes températures,
- dans le cas d'utilisation d'un support grille ou d'une broche, nous recommandons de poser au niveau inférieur une l'échafaud contenant une petite quantité d'eau. normalement, la viande doit être retournée au minimum une fois à la moitié du temps de cuisson. Le rôti doit également être arrosé de sa sauce ou d'eau chaude salée. Il ne faut pas asperger le rôti avec de l'eau froide.
- En utilisant le mode ECO, la cuisson est optimisée par un programme spécifique qui se met en route pour économiser de l'énergie lors de la préparation des plats.
- La durée de cuisson ne sera pas réduite par un réglage plus élevé de la température, le préchauffage du four avant la cuisson n'est pas nécessaire.
- durant le processus de cuisson, veiller à ne pas modifier le réglage de la température ni ouvrir la porte.
Paramètres recommandés lors de l'utilisation du mode de cuisson ECO
| Type de pâtisse-rie ou de plat | Fonction du four | Température °C | Gradin (4) | Temps [min.] |
| ECO | 180 - 200 | 2 - 3 | 50 - 70 | |
| ECO | 180 - 200 | 2 | 50 - 70 | |
| ECO | 190 - 210 | 2 - 3 | 45 - 60 | |
| ECO | 200 - 220 | 2 | 90 - 120 | |
| ECO | 200 - 220 | 2 | 90 - 160 | |
| ECO | 180 - 200 | 2 | 80 - 100 | |
| Type de pâtisse-rie ou de plat | Fonction du four | Température °C | Gradin | Temps [min.] |
| 160 - 200 | 2 - 3 | 30 - 50 | ||
| 160 - 1701) | 3 | 25 - 402) | ||
| 155 - 1701) | 3 | 25 - 402) | ||
| 200 - 2301) | 2 - 3 | 15 - 25 | ||
| 210 - 220 | 2 | 45 - 60 | ||
| 160 - 180 | 2 - 3 | 45 - 60 | ||
| 190 | 2 - 3 | 60 - 70 | ||
| 210 | 4 | 14 - 18 | ||
| 225 - 250 | 2 | 120 - 150 | ||
| 160 - 180 | 2 | 120 - 160 | ||
| 160 - 230 | 2 | 90 - 120 | ||
| 160 - 190 | 2 | 90 - 120 | ||
| 180 - 190 | 2 | 70 - 90 | ||
| 160 - 180 | 2 | 45 - 60 | ||
| 175 - 190 | 2 | 60 - 70 | ||
| 190 - 210 | 2 | 40 - 50 | ||
| 170 - 190 | 3 | 40 - 50 |
Sauf indication contraire, les durées sont indiquées pour un four non préchauffé. Raccourcir les durées d'environ 5-10 minutes pour un four préchauffé.
1) Préchauffer le four vide 2) Les durées sont indiquées pour des produits dans de petits moules Attention : Les paramètres sont indiqués dans le tableau à titre indicatif et peuvent être modifiés selon votre propre expérience et préférences.
Afin de prolonger la vie de la cuisinière, l'utilisateur doit l'entretenir correctement selon les recommandations du fabricant.
Avant de procéder au nettoyage, il faut déconnecter la cuisinière de l'alimentation électrique et faire attention à ce que toutes les manettes soient en position « 0 ». Nettoyez la plaque de cuisson uniquement une fois que le voyant de chaleur résiduelle est éteint.
Plaque vitrocéramique
- La plaque doit être nettoyée systématiquement après chaque usage. Dans la mesure du possible, nous recommandons de nettoyer la plaque lorsqu'elle est tiède (l'éclairage de chaleur résiduel éteint). Éviter un fort encrassement de la plaque de cuisson, en particulier, et éviter de brûler les liquides ayant débordé.
- Ne pas utiliser de produits nettoyants abrasifs tels que les poudres à récurer contenant des agents abrasifs, pâtes abrasives, pierres abrasives, pierres ponces, éponges en acier, etc. Ils peuvent rayer la surface de la table de cuisson et provoquer des dommages irréversibles.
- Pour nettoyer les salissures ayant adhérent sur la table, utiliser un gratoir non fourni avec l'appareil. Faites attention à ne pas abîmer le cadre de la plaque céramique.
Note: avant de ranger le gratoir, toujours entre le bord tranchant à l'intérieur du gratoir (il suffit d'appuyer sur la partie saillante avec le pouce). Manipuler avec précaution - risque de blessures - tenir à l'écart des enfants.
- Nous recommandons l'utilisation des produits de nettoyage délicats, adaptés, tels que liquides et émulsions qui éliminent la graisse. En particulier, nous préconisons l'utilisation de produits spéciaux pour nettoyage et entretien des appareils vitrocéramiques. Nous recommandons également l'utilisation de l'eau chaude avec du produit nettoyant.
- Pour le nettoyage, utiliser un torchon doux et délicat, absorbant bien l'humidité.
- La plaque vitrocéramique doit être soigneusement séchée après tout nettoyage.
- Faire particulièrement attention à ne pas abîmer la plaque vitrocéramique, à ne pas provoquer de rayures profondes ni déchats suite aux chocs provoqués par des couvercles en métal ou autres objets aux rebords tranchants.
Important!
Pour les besoins d'entretien et de maintenance de l'appareil, il est interdit d'utiliser des produits abrasifs.
Pour nettoyer le bandeau de commande, utiliser uniquement de l'eau chaude avec une petite quantité de liquide vaisselle ou de nettoyant pour vitres. Ne pas utiliser de produit à récurer.
Four
Nettoyer le four lorsqu’il est encore tiède. Le four doit être nettoyé après chaque utilisation. Pour plus de visibilité, nettoyer le four avec l’éclairage allumé. - Laver l’intérieur du four uniquement avec de l’eau chaude et une petite quantité de produit nettoyant. - Après avoir nettoyé le four, il faut l’essuyer soigneusement.

Pour nettoyer et entretenir les portes vitrées, ne pas utiliser de produits abrasifs.
- Les gradins du four sont facilement démontables. Pour les nettoyer, soulever le crochet avant de la glissière, l'écarter légèrement et enlever le crochet arrêté. Après le nettoyage des gradins, il faut les replacer dans les trous de fixation et faire entrer les crochets.

Démontage des gradins


Le four est doté d'un jeu de parois recouvertes d'un émail spécifique, auto-nettoyant. Grâce à cet émail, les encrassements, graisses ou les restes de cuisson seront éliminés automatiquement, à condition qu'ils ne soient pas desséchés ou carbonisés. Afin d'éviter un long nettoyage par catalyse du four, les restes de nourriture et les graisses doivent être nettoyés au plus tôt, avant qu'ils ne soient desséchés ou carbonisés. Pour procéder à l'auto-nettoyage du four, le laisser allumé pendant 1 heures et régler la température à 250°C. Si l'encrassement n'est pas important, la durée peut être raccourcie.
Durant le nettoyage, les surfaces peuvent être plus chaudes qu'en usage normal. Tenir les enfants à l'écart.
Important!
Le nettoyage par catalyse implique une grande consommation d’énergie ; c’est pourquoi nous recommandons d’esteroler les éclaboussures excessives avant de lancer cette fonction. Si l’utilisateur constate la baisse de rendement des plaques en émail catalytique, il peut les replacer via le service après-vente.
Déinstallation des parois catalytiques
Comment enlever la porte
Afin de pouvoir nettoyer plus facilement l'intérieur du four, il est possible d'enlever la porte. Pour ce faire, ouvrir la porte, déplacer vers le haut la protection de la charnière (fig. A). Refermer ensuite légèrement la porte jusqu'à la butée, la soulever et l'enlever en la tirant vers l'avant.
Pour remettre la porte après le nettoyage, répéter les mêmes gestes dans l'ordre inverse. Lors du montage de la porte, veiller à bien placer l'accroche dans la rainure de la charnière. Une fois la porte montée, baisser l'élément de protection et bien le serrer. Laisser cet élément dans une position incorrecte pourrait entraîner la détérioration de la charnière lors de la fermeture de la porte.
Déplacement des protections des charnières
Comment enlever la vitre intérieure
- Décrocher la plinthe supérieure de la porte à l'aide d'un tournevis plat, en la soulevant délicatement sur les côtés (fig. B).
- Retirer la plinthe supérieure de la porte. (fig. B, C)


- Décrocher la vitre intérieure de sa fixation (en partie inférieure de la porte). Extraire la vitre intérieure. (fig. D).
- Laver la vitre à l'eau chaude avec un peu de produit de nettoyage. La reprise de la vitre se fait dans l'ordre inverse des opérations du démontage. La partie lisse doit se trouver en haut. Attention! Il ne faut pas pousser simultanément la plinthe supérieure des deux côtés de la porte. Afin de placer correctement la plinthe supérieure de la porte, il faut en premier placer l'extrémité gauche de la plinthe sur la porte et enfoncer l'extrémité droite jusqu'à ce qu'un « clic » se fasse entendre. Ensuite, il faut enfoncer la plinthe du côté gauche jusqu'à ce qu'un « clic » se fasse entendre.

Comment changer l'ampoule d'éclairage du four

MISE EN GARDE: S'assurer que l'appareil est déconnecté de l'alimentation avant de replacer la lampe pour éviter tout risque de choc électrique.
- Positionner toutes les manettes sur ‘•’/‘0’ et débrancher l'appareil de sa source d'alimentation.
- Dévisser, laver le couvercle et le sérier soigneusement. Enlever l'ampoule et la replacer, en CHOISISSENT une ampoule identique et RÉSISTANTE aux hautes températures
pératures (300^), ayant les caractéristiques suivantes :
- tension 230 V
- puissance 25 W - culot E14.
- Bien positionner l'ampoule dans la douille et la visser correctement.
- Fixer le couvercle.

Contrôles périodiques
En dehors de l'entretien et du nettoyage courant de la cuisine, il est nécessaire de :
- vérifier régulièrement que les dispositifs électroniques et mécaniques de la cuisine réne fonctionnent correctement. À l'expiration du début de garantie, et tous les deux ans au minimum, il est nécessaire de prévoir une maintenance technique de la cuisine réne,
- faire réparer les éventuels défauts constatés,
- procéder à la maintenance des dispositifs mécaniques de la cuisine.
Note : les réparations et réglages doivent être effectués par un professionnel agréé ou par le service après-vente.
Dans chaque situation d'urgence, il faut :
fermer les manettes de la cuisinière - débrancher l'appareil de la source d'alimentation - contacter le service après-vente
Des petits dysfonctionnements peuvent être solutionnés par les utilisateurs à l'aide du tableau ci-après. Avant de contacter le service client ou le service après-vente, consultez ce tableau :
| PROBLÈME | CAUSE | QUE FAIRE ? |
| 1. L'appareil ne s'allume pas | Interruption de l'alimentation électrique | Vérifier le fusible du tableau électrique de votre logement, le replacer le cas échéant |
| 2. L'appareil ne prend pas en compte les commandes entrées | Le panneau de commande n'est pas allumé | L'allumer |
| Vous n'avez pas appuyé assez longtemps sur la to-uche sensitive (moins d'une seconde) | Appuyer un peu plus long-tems | |
| Vous avez appuyé sur plusieurs touches en même temps | N'appuyer que sur une touche à la fois (sauf pour l'extinction des foyers et le verrouillage de la cusinière) | |
| 3. L'appareil ne répond pas et émet un bref signal sonore | La protection infant est activée (verrouillage) | Suivre la procédure de déverrouillage |
| 4. L'appareil ne répond pas et émet un signal sonore prolongé | Utilisation impropre (vous appuyez sur les mauvaises touches sensitives ou trop vite) | Éteindre et pallumer la plaque |
| Touche(s) sensitive(s) recouverte(s) ou sale(s) | Dégager ou nettoyer les touches sensitives | |
| 5. L'appareil entier s'éteint | Après allumage, aucune commande n'a été entreependant plus de 10 s | Allumer le panneau de com-mande et désir aussiot une commande |
| Touche(s) sensitive(s) recouverte(s) ou sale(s) | Dégager ou nettoyer les touches sensitives | |
| 6. Un foyer s'éteint et l'indica-teur correspondant affiche la dette « H » | Limitation du temps de fonctionnement | Rallumer le foyer |
| Touche(s) sensitive(s) recouverte(s) ou sale(s) | Dégager ou nettoyer les touches sensitives | |
| Surchauffe des dispositifs électriques | ||
| 7. L'indicateur de chaleur résiduelle est étêt alors que les foyers sont encore brûlants. | Interruption d'alimentation électrique, l'appareil a été débranché du secteur. | L'indicateur de chaleur résiduelle fonctionnera à nouveau au prochain allu-mage/extinction du panneau de commande. |
| 8. Plaque vitrocéramique brisée | Danger! Déconnecter immédiatement la plaque du sec-teur (fusible). S'accuser au service de réparation le plus proche. | |
| 9. Autre dysfonctionnement persistent | Déconnecter la plaque du secteur (fusible). S'accuser au service de réparation le plus proche.Important !Vous étés responsable de l'état correct et de la bonne utilisation de votre apparéil dans votre foyer. Si vous faites appel au service après-vente en raison d'une erreur d'utilisation, même durant la période de garantie, cette réparation vous sera facturée.Nous ne pouvons malheureusement pas être tenus responsables des dommages issus du non-respect des instructions duprésent mode d'emploi. | |
| 10. La plaque à induction émet une espèce de renflo-ment | Situation normale. Le ventilateur s'est mis en marche pour re-froidir les dispositifs électroniques. | |
| 11. La plaque à induction émet une espèce de siffle-ment. | Situation normale. En raison de la haute fréquence de fonction-nement des inducteurs, lors de l'utilisation de plusieurs zones de chauffe à puissance maximale, la plaque émet un léger sifflement. | |
| 12. Symbole E2 | Inducteurs surchauffés , refro-IDissement insuffisant | Vérifier que votre réseau est conforme aux indications des pages 24, 25. |
| 13. L'écran du programme-teur affiche régulièrement l'houre « 0.00 » | L'appareil a été débranché ou a subi une coupure momentanée d'alimentation | Régler l'heure (voir la section Réglage de l'horloge). |
| 14. L'éclairage du four ne fonctionne pas. | L'ampoule est dévissée ou défectueuse. | Visser l'ampoule à fond ou la replacer le cas échéant (voir chapitre Nettoyage et entretien). |
| Tension nominale | 230 / 400V~50 Hz |
| Puisance nominale | 11,0 kW |
| Plaque à induction | 7,4 kW |
| Dimensions de la cuisine (hauteur/largeur/profondeur) | 85 / 50 / 60 cm |
Le produit est conforme aux normes EN 60335-1, EN 60335-2-6, en vigueur dans l'Union européenne.
Les données sur l'étiquetage énergétique des fours électriques sont indiquées conformément à la norme EN 60350-1/CEI 60350-1. Ces données sont définies pour des charges standard avec les fonctions actives : éléments chauffants inférieur et supérieur (mode conventionnel) et réchauffement avec l'assistance du ventilateur (si ces fonctions sont accessibles).
La classe d'efficacité énergétique est définie selon la fonction accessible dans le produit conformément à la priorité ci-dessous :
| Circuit d'air forcé ECO (chaleur tournante + ventilateur) | ECO |
| Circuit d'air forcé ECO (élément chauffant inférieur + supérieur + grill + ventilateur) | ECO |
| Mode conventionnel ECO (élément chauffant inférieur + supérieur) | ECO |
Pour définir la consommation d'énergie, démonter les glissières télescopiques (si le produit dispose de cet équipement).
Déclaration du fabricant:
Le fabricant déclare que ce produit répond aux exigences essentielles des directives européennes suivantes:
Directive « basse tension » 2014/35/CE, Directive de compatibilité électromagnétique 2014/30/CE, Directive « Eco-conception » 2009/125/CE,
et, par conséquent, le produit est marqué C et a obtenu une déclaration de conformité mise à la disposition des autorités de surveillance du marché.
SIDEME sa
BP 200
F-92306 Levallois-Perret Cedex

Tous les papiers se recyclent, pensez au tri.

A RECYCLER
Pour en savoir plus : www.quefairedemesdechets.fr
Notice Facile