MODE D'EMPLOI FI4854PIXHA HOTPOINT
Instructions pour l'emploi et l'instruction
ES Cocina mixta
- Cet apparéil a été concu pour un usage familial de type non-professionnel à l'intérieur d'une habitation normale.
- Lisez attentivement les avertissements contenus dans ce livre, ils vous fourniront des renseignements importants concernant la sécurité d'installation, d'emploi et d'entretien de votre four. Gardez-le ensuite à portée de la main afin de pouvoir le consulter en cas de besoin.
- Les accessoires du four pouvant entraient en contact avec les alimentents sont fabriqués avec des matériaux conformes aux prescriptions de la Directive CEE 89/109 du 21.12.88 et aux normes applicables au niveau national.
- ÀpRES avoir déballé l'appareil, vérifiez s'il est intact. En cas de doute, et avant toute utilisation, consultez un technicien qualifié.
- Certaines pieces sont recouvertes d'une pellicule protectrice anti-choc. Il faut absolument l'enlever avant la mise en service de l'appareil et les parties protégées doivent être nettoyées à l'aide d'un chiffon et d'un produit de nettoyage normal non abrasif. Nous vous conseillons, lors de la première utilisation, de laisser chauffer le four vide pendant 30 minutes environ à la température maximale afin d'éliminer les évventuels résidus de fabrication.
- Toutes les opérations relatives à l'installation et au réglage doivent être effectuées par du personnel qualifié, conformément aux réglementations en vigueur. Les instructions techniques sont décrites dans la partie réservée à l'installateur.
- Avant de brancher l'appareil, assurez-vous que l'alimentation électrique et du gaz du réseau correspondent bien aux données indiquées sur la plaquette signalétique (apposée sur la partie arrêté de l'appareil et à la première page du livre).
- Pendant la cuisson, l'appareil se réchauffe sensiblement au niveau de la vitre du four et des parties adjacentes. Veillez à ce que les enfants ne s'en approached pas pour journ.
- Vérifiez que la puissance électrique de l'installation et des prises de courant est bien appropriée à la puissance maximale de l'appareil indiquée sur la plaquette signalétique. En cas de doute, faites appel à un professionnel du secteur.
-
Vérifiez périodiquement le bon état du tuyau de raccord gaz et adressez-vous à un professionnel qualifié pour le faire replacerès qu'il présente une anomalie.
-
Le cable d'alimentation et le tuyau de raccord gaz de cet apparéil ne peuvent enaucun cas être replacés par l'utilisateur. En cas d'endommagement et d'eventuel remplacement, faites appel exclusivement à un centre de service après-vente agréé.
- Ne laissez pas votre apparéil branché inutillement. Eteignez l'interrupteur général de l' apparéil quand vous ne l'utilise pas et fermez le robinet du gaz.
- Les brûleurs restent chauds longtemps après l'usage. Faites attention, ne les touchez pas.
- Ne posez pas de casseroles instables ou déformées sur les brûleurs afin d'éviter tout renversement accidentel.
- N'utilise pas de solutions inflammables (alcool, essence..) à proximé de l'appareil lorsqu'il est en marche.
- Si la cusinière est posée sur un socle, prenez les précautions qui s'imposent afin d'eviter qu'elle tombe.
- Si l'appareil est muni d'un couvercle, essuyez tous débordements de liquides.
- Ne fermez pas le couvercle des modèles qui en sont munis, tant que les foyers sont chauds.
- Ne pas utiliser d'appareils de nettoyage à vapeur pour l'entretien du four

Enlèvement des apparéils menagers usagés
La Directive Européenne 2002/96/EC sur les Déchets des Equipements Electriques et Electroniques (DEEE), exige que les apparèils menagers usages ne soient pas jetés dans le flux normal des déchets municipaux. Les apparèils usages doivent être collectés séparément afin d'optimiser le taux de récapération et le recyclage des matériaux qui les composent et réduire l'impact sur la santé humaine et l'environnement. Le symbole de la "poubelle barrée" est apposée sur tous les produits pour rappeler les obligations de collecte séparée.
Les consommateurs devront contacter les autorités locales ou leur revendeur concernant la démarche à suivre pour l'enlèvement de leur vieil apparéil.

CP 058 GT (X) F

CP 059 MD.3 (X) F


fig.1
A Brûleur gaz Auxiliaire
B Brûleur gaz Semi rapide
C Brûleur gaz Rapide
D Brûleur gaz Triple couronne
E Bougie d'allumage des brûleurs gaz
Brûleur gaz DC-DR
F Dispositif de sécurité - Intervient en cas d'extinction accidentelle de la flamme (débordement de liquides, courants d'air, ...) en interrompant automatiquement l'arrivée de gaz.
G Manette commutateur du four électrique (selecteur types de cuisson)
H Manette thermostat du four électrique (sélection des températures)
M Manettes de commande des brûleurs gaz
R Grilles support de casseroles
PProgrammateur
S Voyant de fonctionnement d'un élément chauffant électrique
T Minuterie
U Temporisateur
V Bouton thermostat du four à gaz (selecteur fonction four à gaz avec réglage températures et grill électricque)
Z Touche allumage éclairage four à gaz
Brûleurs à gaz
Sur le bandeau de commandes, les symboles suivants sontreaproduits autour de chaque manette "M" ou biendirectement sur les manettes : Robinet
Fermé
Ouverture maximale
Ouverture minimale

En outre, a cote des manettes les symboles indiquent la position du bruleur correspondant sur le plan de cuisson. Les bruleurs sont équipés d'un dispositif de sécurité à thermocouple contre les fuites de gaz Ce dernier coupe l'arrivée de gaz dés que la flamme du bruleur s'est.
Pour allumer un des brûleurs procédez comme suit:
- tournez la manette correspondante dans le sens inverse des aiguilles d'une montre afin de placer l'index en face du symbole de la grande flamme;
- appuyez à fond sur la manette pour actionner l'allumage automatique du gaz;
- maintenez la manette poussaée pendant 6 secondes environ avec la flamme allumée afin de permettre le rechauffement du thermocouple de sécurité;
- relâchéz la manette et assurez-vous que l'allumage s'est bien fait de manière stable. Dans le cas contraire, renouvelez l'opération.
Tournez la manette vers le symbole de la petite flamme pour obtenir la puissance minimale. Il est possible de régler la hauteur de la flamme en variant la position de la manette entre les positions "grande flamme" et "petite flamme".
Important :
- N'actionnez pas le dispositif d'allumage automatique pendant plus de 15 secondes consécutives.
- Dans certains cas, les problèmes d'allumage peuvent être dus à la présence d'air à l'intérieur de la canalisation du gaz.
- Si la flamme d'un des brûleurs s'éteint accidentellement, le gaz continue à s'échapper pendant quelques instants avant l'intervention du dispositif de sécurité. Fermez la manette de commande et attendez, par sécurité, au moins 1 minute avant de renouveler l'allumage pour permettre à la fuite de gaz de se dissiper dans l'air.
- Lorsque le plan de cuisson n'est pas utilisé, contrôle si les manettes sont bien sur la position de fermeture "●". Il est conseillé, en outre, de fermer le robinet de barragege principal de la canalisation d'alimentation du gaz.
Conseils pratiques pour l'utilisation des brûleurs
Afin d'obtenir un rendement optimal des brûleurs,CHOISSEZ un brûleur approprié au diamètre du récipient à utiliser. Reglez la couronne de flammes pour qu'elle ne déborde pas le pourtour du récipient (voir tableau ci-après).
Il est conseilé, en outre, de réduire la flamme dés qu'un liquide commence à bouillir, juste ce qu'il faut pour maintainir l'ébullition.
Le plan de cuisson est muni de grillés de réduction, qui ne peuvent être utilisées que sur le brûleur auxiliaire "A"(fig.1a) et sur le DC-DR (interne) "I" (fig.1b).
| Brûleur à gaz | Ø Diamètre Casseroles (cm) |
| A.Auxiliaire | 6 – 14 |
| B.Semi-rapide | 15 – 20 |
| C.Rapide | 21 – 26 |
| D.Triple couronne | 24 - 26 |
| I.Double couronne DC-DR (interne) | 10 - 14 |
| I.Double couronne DC-DR (external) | 24 - 28 |


fig.1b
fig.1a
Le brûleur à "deux flammes indépendantes"
Ce brûleur à gaz est formé de deux anneaux de flamme concentriques pouvant fonctionner ensemble ou séparément. Leur utilisation conjointe à un réglage maximal permet d'obtenir une puissance élevée qui réduit considérablement les temps de cuisson par rapport aux brûleurs traditionnels. Le double annexe de flamme permet de plus une distribution plus uniforme de la chaleur sur le fond de la casserole, rundout si vous utilisez les deux brûleurs à leur réglage minima. Vous pouvez utiliser des cassetoles de toute dimension, pour les plus petites n'allumez que le brûleur interieur. Chaque couronne composant le brûleur "deux flammes indépendantes" a sa propre manette de commande :
la manette caractérisée par le symbole contrôle l'anneau interieur;
Ila manette caractérisée par le symbole contrôle l'anneau extérieur.
Pour une utilisation optimale du foyer double flamme, ne réglez jamais, simultanément, la couronne du centre sur sa position minimale et la couronne extérieure sur sa position maximale.
Pour allumer l'anneau souhaité, appuyez à fond sur la manette correspondante en tournant dans le sens inverse des aiguilles d'une montre jusqu'à la position de maxima Le brûleur est équipé d'un allumage électronique qui est activé automatiquement par pression sur la manette.
Le brûleur étant équipé d'un dispositif de sécurité de flamme "F", appuyez pendant au moins 6 secondes de suite sur la manette pour permettre au dispositif de se réchauffer.
Pour éteindre le brûleur tournez la manette dans le sens des aiguilles d'une montre pour la ramener en face du symbole “ ●”).
Pour obtenir un meilleur rendement, n'oubliez pas: Vous pouvez utiliser n'importe quel type de casserole sur les brûleurs. A condition que leur fond soit parfaitement plat.



Le brûleur du four est équipé d'un dispositif de sécurité de flamme à thermocouple. Ce dispositif permet de bloquer automatiquement toute sortie de gaz du brûleur en quelques secondes en cas d'extinction accidentelle de la flamme.
Allumage du bruleur du four
Ouvrez la portedu four;
- appuyez sur la manette du thermostat "V" (repéritable au symbole ) et amenez-la en face du maximum; continue à appuyer à fond. En cas de panne de courant, approchez une allumette du trou central situé au fond du four (voir fig.3);

fig.3
- continue à appuyer sur la manette pendant 10 secondes environ;
- lâchez la manette, vérifiez si l'allumage est stable et régulier et laissez la porte ouverte pendant 30-40 secondes;
- refermez doucement la porte du four pour éviter que la flamme ne s'éteigne;
- attendez 10-12 minutes avant d'enfournier vos plats pour avoir un préchauffage suffisant;
- sélectionnez la température ajusté en amenant la manette du thermostat en face de l'une des positions numérotées de 1 à 8 selon le tableau suivant:
| Position manette | 1 | 2 | 3 | 4 | 5 | 6 | 7 | 8 |
| Température °C | 120 | 130 | 155 | 170 | 195 | 215 | 235 | 255 |
Important: en cas d'extinction accidentelle de la flamme du brûleur, le gaz continue à s'échapper pendant quelques instants avant que le dispositif de sécurité de flamme ne se déclença.
Fermez la manette de commande et attendez au moins 1 minute avant d'essayer de pallumer, vous permettrez ainsi au gaz qui s'est échépé de se volatiliser sans danger.
Fonctionnement du grill électrique
Pour vos cuissons au grill, tournez la manette de commande du four dans le sens des aiguilles d'une montre jusqu'à la position ; le voyant lumineux "S" s'allumera lui aussi.
Pendant la cuisson au grille, laissez la porte du four ouverte et montez l'écran portège-manettes comme illustré figure 4.

fig.4
ATTENTION: quand le grill est branché, les parties accessibles peuvent devenir très chaudes. Gardez les enfants àonne distance.
Eclairage four
Pour allumer la lampe du four à gaz, appuyez sur la touche "Z" reperable au symbole
Minuteur "T"
C'est un avertisseur sonore à tempsitué sur le bandeau pouvant signaler une durée max. de 60 minutes.
Tournez la manette repérable au symbole (√) pour amener le repère en face de la durée可以选择.
Dès que la durée établie est échue, une sonnerie retentit (le four reste branche).
Il est conseilé de faire faire un tour complet à la manette avant de la ramener en face de la durée可以选择, même si cette dernière est inférieure à 60 minutes.
Tournebroche
Cet accessoire n'est à utiliser que lors de cuissons au grill. Procedez comme suit: enfilez la viande sur la broche transversale, dans le sens de la longueur et bloquez-la à l'aide des fourches régables (fig.5a).
Introduisez les supports "A" et "B" (fig.5b) dans les trous prévus sur la lèchefrite "E", posez la gorge de la tige dans le logement "C" et placez la grille sur le premier gradin du bas; glissez à présent la tige dans le trou du tournebroche, en amenant la gorge en avant jusqu'au logement "D". Branchez le grill et le tournebroche en amenant la manette du thermostat "G" sur la position repérable au symbole .

fig.5a

fig.5b
Ce four permet de combiner les résistances électriques entre elles dans neuf combinaisons différentes et de désirir par conséquent cette qui convient le mieux à votre plat en obtenant des résultats extrémement précis.
Tournez la manette du sélecteur "G" repérable au symbole pour obtenir les fonctions de cuisson indiquées dans le tableau à côté. Choisissez la fonction de cuisson et amenez ensuite le symbole °c de la manette du thermostat "H" en face de la température désirée.
- Pour des cuissons traditionnelles en mode conventionnel
(rôtis, biscuits, etc.) utilisez la fonction (chaleur dessus+dessous).
Avant d'enfournier vos plats, sur un seul niveau de préférence, entendez que le four ait atteint la température sélectionnée.
| Symbole | Fonction | Puisance |
| 0 | 0) Eteint | - |
| 1) Eclairage four | 50 W |
| 2) Résistances du haut + du bas | 2350 W |
| 3) Résistance du bas | 1300 W |
| 4) Résistance minigril | 1050 W |
| 5) Résistance grill | 2000 W |
| 6) Résistance grill + ventilateur | 2050 W |
| 7) Résistances du haut + du bas+ventilateur | 2400 W |
| 8) chaleur tournante+ventilateu | 2850 W |
| 9) Décongélation rapide | 50 W |
Si vous ne poulez de chaleur qu'en dessus ou qu'en dessous de vos plats, amenez le sélecteur en face de la position (chaleur dessous), ou (chaleur dessus).
- La fonction (chaleur dessus et dessous + ventilation) permet une cuisson traditionnelle (chaleur dessous et dessous) combinée à l'air chaud brasse.
- Dans la fonction (chaleur tournante) c'est l'air chauffé par une résistance et brassé par un ventilateur à l'intérieur du four qui assure la cuisson. La montée en température du four est extrémement rapide, vous pouvez ainsi enfournier vos plats des allumage du four. Vous pouvez aussi cuire sur deux niveaux en même temps.
- La fonction "décongélation rapide" ※ , n'utilise aucun élément chauffant mais uniquement la lampe du four et la ventilation.
- La cuisson au grill exige une puissance de chauffe très élevée qui permet de saisir immédiatement les aliments en surface; elle est donc conseillée pour la viande dont le cœur doit rester tendre. Pour vos cuisson au grill, amenez la manette du sélecteur "G" en face de l'une des positions
suivantes (gril), (gril + ventilateur)
Pendant le fonctionnement du gril, laissez toujours la porte du four fermée et placez la manette du thermostat sur une température ne dépassant pas 200^ (meme dans la fonction minigril).
Eclairage du four
L'éclairage du four est automatique dés que le sélecteur est placé sur n'importe qu'elle position.
Voyant de signalisation "S"
Ce voyant indique que le four est en train de chauffer et il s'eteint dés que le four atteint la température sélectionnée au moyen du bouton. A créé, le voyant s'allume et s'eteint alternatively, il indique ainsi que le thermostat marche correctement pour garder la température du four constante.
Temporisateur "U" (CP 058 MT.2 B - CP 059 MD.3/FR)
Fonctionnement manuel
Tournez la manette du temporisateur reperable au symbole
dans le sens inverse des aiguilles d'une montre en amenant le repère en face du symbole (manuel).
Allumez le four à l'aide de la manette du sélecteur et sélectionnez la température désirée en tournant la manette du thermostat. Pour éteindre le four, ramenez la manette du temporisateur à sa position de départ "O".
Fonctionnement avec programmation de la durée de cuisson
Tournez la manette du temporisateur dans le sens des aiguilles d'une montre en amenant le repère en face du temps choisi (de 10 à 120 minutes).
Allumez le four à l'aide de la manette du sélecteur et seLECTIONnez la température désirée en tournant la manette du thermostat.
Une fois que le temps programme s'est écoulé, un averitisseur sonore retentit et le four s'eteint.
Une fois la cuisson terminée, ramenez les manettes à leur position de départ "O".
Système de refroidissement
Pour réduire la température à l'extérieur du four, certains modèles sont équipés d'un ventilateur qui est mis en marche à l'aide du bouton de selection des programmes "G". Dans ce cas, le ventilateur fonctionne en permanence et envoie de l'air à l'extérieur par une fente située entre le bandeau et la porte du four.
(CP 059 MD.2)
Le système de refroidissement de ces modèles ne se met en marche que quand le four est chaud.
Après avoir sorti les alimentés du four, laissez la porte semiouverte pendant quelques instants : la durée du cycle de refroidissement en sera considérablement réduite. Ce processus est contrôle par un thermostat supplémentaire et peut être effectué en un ou plusieurs cycles.
Il permet de programmer le four ou le grill comme suit:
- département cuisson différé avec durée établie;
- département avec durée établie;
- minuteur.
Fonction des touches :
: minuteur heures, minutes
1: durée cuisson
: fin de cuisson
:commutation manuelle
: sélection temps à rebours
+ : sélection temps en avant
Après raccordement à la ligne ou après une coupure de courant, l'afficheur clignote sur: 0.00
- Appuyez simultanément sur les touches lors, (dans les 4 secondes suivantes), remettez l'heure exacte à l'aide des touches - et+.
La touche + sert à augmenter le temps.
La touche - sert à diminuer le temps.
Des mises à l'heure éventuelles peuvent être effectuees de deux facons differentes:
- Refaire complètement les opérations susmentionnées
- Appuyer sur la touche puis, à l'aide des touches - et +,mettre à l'heure.
Fonctionnement manuel du four
Après la sélection de l'heure, le programmeur va automatiquement sur la position manuelle.
Note: Appuyez sur la touche pour rétabir le fonctionnement manuel après chaque cuisson "Automatique".
Départ cuisson différé avec durée établie
Il faut sélectionner la durée et l'heure de fin de cuisson. Supposons que l'afficheur indique 10 heures
- Tournez les manettes de commande du four sur la température désirée (exemple: four statique, 200^ )
- Appuyez sur la touche puis, (dans les 4 secondes qui suivent) programmez à l'aide des touches - et + la durée désirée. Supposons une selection de cuisson de 30 minutes; il y a affichage de:
3 0
En l'achant la touche, 4 secondes après, l'heure courante
réapparaît avec le symbole et l'inscription auto
3. Appuyez sur la touche où, sur les touches - et + jusqu'à la sélection de l'heure de fin de cuisson désirée, supposons que ce soit 13 heures
13·00
- En l'achant la touche, l'afficheur indique au bout de 4 secondes l'heure courante:
10·
L'inscription auto allumée rappelle qu'il y a programmation de la durée et de l'heure de fin de cuisson en automatique. Le
four s'allume alors automatiquement à 12h30 pour s'eteindre ensuite au bout de 30 minutes. Quand le four est allumé, la casserole allumée apparaît pendant toute la durée de cuisson. En appuyant sur la touche à n'importe quel moment, vous pouvez afficher la durée programmée, en appuyant sur la touche « yours pouvez afficher l'heure de fin de cuisson.
En fin de cuisson, un signal acoustique retentit; pour l'interrompre, appuyez sur une touche quelconque sauf sur - et +..
Départ immédiat avec durée établie
En ne programmant que la durée (points 1 et 2 du paragraphe "Départ de cuisson différé avec durée établie") la cuisson démarre aussi.
Pour annuler une cuisson déjà programmée
Appuyez sur la touche et à l'aide de la touche - ramenez le temps à
$$
\bigstar \cdot \bigstar \bigstar
$$
puis appuyez sur la touche de fonctionnement manuel
Fonction minuteur
Le fonctionnement du minuteur prévoit la sélection d'un temps qui fait partir un compte à rebours. Cette fonction ne contrôle ni l'allumage ni l'arrêt du four, il n'y a qu'un signal acoustique une fois le temps écoulé.
Appuyez sur la touche il y a affichage de:
$$
\begin{array}{l l} \square & \square \ \hline \end{array}
$$
A l'aide des touches- et + sélectionnez le temps déséré. En l'achant la touche le temps commence immédiatement à courir, l'afficheur indique l'heure courante.
$$
\begin{array}{c c c} \hline 1 & 0 & 0 \ \hline \end{array}
$$
Une fois le temps écoulé, un signal acoustique retentit, pour l'arrête appuyez sur une touche quelconque (sauf touches
- et +) et le symbole s'eteint.
Correction effacement des données
- les données sélectionnées peuvent être modifiées à tout moment, en appuyant tout simplement sur la touche correspondante et sur la touche - o +.
- En effaçant la durée de cuisson, il y a aussi effacement automatique de la fin du fonctionnement et vice versa.
- En cas de fonctionnement programme, l'appareil n'accepte pas des temps de fin de cuisson antécédents à ceux du départ de cuisson proposés par l'appareil.
Réglage volume signal acoustique
Après avoir choisi et confirmé les sélections de l'horloge, vous pouvez régler le volume du signal acoustique à l'aide de la touche - .
Important: débranchez l'appareil avant derialcder à toute opération de nettoyage.
Pour assurer la longévite de votre four, il est indispensable d'effectuer fréquement un nettoyage général et soigné, en tenant compte des conseils suivants.
Intérieur de la porte du four:
Le nettoyage de la surface doit être effectué avec de l'eau chaude et du détergent liquide non abrasif puis la rinçer et la secher.
Intérieur du four: (préSENTe uniquement sur certains modèles)
- L'intérieur du four est revetu d'un email microporeux spécial autonettoyante qui, à une température normale comprise entre 200 et 300^ , oxyde et élimine complètement pendant la cuisson toutes les projections de graisse. Le nettoyage est ainsi extrémement simplifié: il suffit de passer régulièrement après chaque cuisson, un chiffon humide sur les surfaces du four pour enlever la mini couche de poussière qui peut s'y être déposée au cours de la cuisson. Les surfaces garderont ainsi intacte leur propriété autonettoyante.
- Au cours de la cuisson, s'il y a eu des débordements de liquide ou si la graisse n'a pas été complètement éliminée (par exemple cuisson au grilloir au cours de laquelle la température n'est pas suffisante pour que l'émail autonettoyant agisse complètement), il est conseilé de faire fonctionner le four à vide à la température maximum afin d'éliminer complètement tous les résidus graisses.
- Si cette opération ne avait pas éliminer complètement la saleté, présente en quantité excessive, probablement parce que les règles d'entretien susmentionnées n'ont pas été respectées, effectuer le nettoyage minutieux des surfaces avec de l'eau chaude et un chiffon humide (sans utiliser aucun type de produits détergents), puis rincer et essuyer soigneusement
- Ne jamais enlever évientuelles incrustations en utilisant des objets pointus qui pourraient griffer le revêtement autonettoyante.
- Si les surfaces autonettoyantes à l'intérieur du four étaient endommagées ou rendues inutilisables, à cause d'une mauvaise'utilisation ou après plusieurs années d'utilisation, il est possible de commander un kit de panneaux autonettoyantes pour reveter l'intérieur du four. Pour le commander, s'adresser au notre service après vente.
Extérieur du four:
- Effectuer le nettoyage seulement lorsque le four est froid.
- La surface en acier inox et surtout les zones comportant les symboles sérigraphiés ne doivent pas être nettoyées avec des détergent abrasifs; utiliser de préférence uniquement un chiffon humide avec de l'eau tiède et du liquide vaisselle. L'acier inox peut rester taché s'il est en contact prolongé avec de l'eau calcaire ou un détergent agressif. Il est donc nécessaire de rincer abondamment la surface après le nettoyage.
Important: le nettoyage doit être effectué dans le sens horizontal (sens du dessin de l'acier).
- Àprous le nettoyage il est possible de Traitser l'inox pour rendre à la surface sa brillance: utiliser exclusivement un produit spécifique pour l'acier inox.
Avertissement: ne pas utiliser de poudre abrasive, de
détergent agressif ou de liquide acide pour le nettoyage.
Plan de cuisson:
- Les pièces amovibles des brûleurs doivent être lavées souvent avec de l'eau chaude et du détermgent en veillant à éliminer toute incrustation possible. Vérifié qu'aucun orifice de sortie du gaz ne soit obstrué. Il faudra ensuite les essuyer soignement avant de les réutiliser.
- Nettoyer régulierement l'extrémité des bougies d'allumage automatique du plan de cuisson.
Graissage des robinets
Il peut arriver qu'au bout d'un certain temps un robinet se bloque ou tourne difficilement, il faut alors procéder à son nettoyage interne et remettre de laGRAisse. Cette opération doit être effectuee par un technicien agree par le fabricant.

FIG. 6

FIG. 7
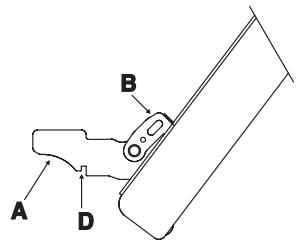
Démontage/montage de la porte du four
Pour facilitier le nettoyage à l'intérieur du four, vous pouvez démonter la porte du four en procédant comme suit (fig.6-7):
- Ouvrez complètement la porte et soulevez les 2 leviers "B" (fig. 6);
- Fermez à présent partiellement la porte et soulevez-la en dégageant les crochets "A" comme illustré figure 7.
Pour remonter la porte :
- Tenez la porte en position verticale, introduisez les 2 crochets "A" dans les fentes ;
- Vérifiez que l'encoche "D" soit bien insérée sur le bord de la fente (déplacez légrement la porte en avant et en arrrière);
- Porte complètement ouverte, décrochez les 2 leviers "B" vers le bas, puis fermez la porte.
Remplacement de la lampe d'éclairage du four
Assurez vous que l'appareil soit bien débranché électriquement.
Dévissez la calotte de protection en verre située à l'intérieur du four.
Dévissez la lampe et remplacez-la par une lampe appropriée résistante aux températures élevées (300^) ayant les caractéristiques suivantes:
- Tension 230 V
- Puissance 15 W
Culot E 14

Les temps de cuisson peuvent varier en fonction de la nature des alimentes, de leur homogénéité et de leur volume. Il est donc conseillé deCHOISIR, lors de la première cuisson, les valeurs les plus basses parmi les temps de cuisson indiqués et de les augmenter par la suite si nécessaire.
Cuisson au four STATIQUE
| Mets | Température °C | Temps de cuisson (minutes) | Mets | Température °C | Temps de cuisson |
| Pâtisserie | | | Viandes | | |
| Tarte aux fruits | 130 | 60-70 | Dinde (4-8 kg) | 160 | 3-4½ |
| Meringues | 130 | 30-40 | Oie (4-5 kg) | 160 | 4-4½ |
| Pain de Gènes | 150 | 20-30 | Canard (2-4 kg) | 170 | 1½-2½ |
| Gâteau de l'Ange | 160 | 40-50 | Chapon (2½-3 kg) | 170 | 2-2½ |
| Généoise | 160 | 40-50 | Boeuf brasilé (1-1½ kg) | 160 | 3-3½ |
| Gâteau au chocolat | 170 | 30-40 | Gigot d'agneau | 160 | 1-1½ |
| Fougasse | 170 | 40-50 | Lièvre rôtti (2 kg) | 160 | 1-1½ |
| Choux | 200 | 15-20 | Faisan rôtti | 160 | 1-1½ |
| Biscuits en pâté feuilletée | 200 | 15-20 | Poulet(1-1½ kg) | 170 | 1-1½ |
| Mille-feuille | 200 | 15-20 | | | |
| Pâté brisée | 200 | 15-20 | Poisson | 200 | 15-25 minutes |
Cuisson au GRIL
| Mets | Temps deuisson (minutes) | Position de la grille |
| Côtelettes (0.5 kg) | 60 | 3ème gradin |
| Saucisses | 15 | 2ème gradin |
| Poulet grillé (1 kg) | 60 | 1er gradin |
| Rôti de veau à la broche (0.6 kg) | 60 | - |
| Poulet à la broche (1 kg) | 60 | - |
Le 1er gradin indique le gradin situé dans la position la plus BASSE.
Cuisson au four à CHALEUR TOURNANTE
| Mets | N° gradin en partant du bas | Quantité kg | Température °C | Temps minutes |
| Pâtisserie | | | | |
| * Avec pâte fouettée, en moule | 1-3 | 1 | 175 | 60 |
| * Avec pâte fouettée, sans moule | 1-3-4 | 1 | 175 | 50 |
| Pâte brisée, fond de tarte | 1-3-4 | 0.5 | 175 | 30 |
| Pâte brisée avec farce humide | 1-3 | 1.5 | 175 | 70 |
| Pâte brisée avec farce sèche | 1-3-4 | 1 | 175 | 45 |
| * Avec pâte à levage naturel | 1-3 | 1 | 175 | 50 |
| Petits gâteaux | 1-3-4 | 0.5 | 160 | 30 |
| Viande | | | | |
| Rôtis cuits sur la grille | | | | |
| Veau | 2 | 1 | 180 | 60 |
| Boeuf | 2 | 1 | 180 | 70 |
| Rosbif à l'anglaise | 2 | 1 | 220 | 50 |
| Porc | 2 | 1 | 180 | 70 |
| Poulet | 2 | 1-1.5 | 200 | 70 |
| Rôtis cuits en plat | | | | |
| Veau | 1-3 | 1 | 160 | 80 |
| Boeuf | 1-3 | 1 | 160 | 90 |
| Porc | 1-3 | 1 | 160 | 90 |
| Poulet | 1-3 | 1-1.5 | 180 | 90 |
| Dinde en tranches | 1-3 | 1.5 | 180 | 120 |
| Canard | 1-3 | 1-1.5 | 180 | 120 |
| Braisés | | | | |
| Boeuf braisé | 1 | 1 | 175 | 120 |
| Veau braisé | 1 | 1 | 175 | 110 |
| Poissons | | | | |
| Filets, tranches, colin, merlan, sole | 1-3 | 1 | 180 | 30 |
| Maquereau, turbot, saumon | 1.3 | 1 | 180 | 45 |
| Huitres | 1-3 | | 180 | 20 |
| Soufflés et gratins | | | | |
| Gratin de pâtes | 1-3 | 2 | 185 | 60 |
| Gratin de légumes | 1-3 | 2 | 185 | 50 |
| * Soufflés sucrés et salés | 1-3 | 0.75 | 180 | 50 |
| * Pizza et chaussons | 1-3-4 | 0.5 | 200 | 30 |
| Croque-monsieur | 1-3-4 | 0.5 | 190 | 15 |
| Décongélation | | | | |
| Plats cuisés | 1-3 | 1 | 200 | 45 |
| Viande | 1-3 | 0.5 | 50 | 50 |
| Viande | 1-3 | 0.75 | 50 | 70 |
| Viande | 1-3 | 1 | 50 | 110 |
Remarques:
1) Les temps de cuisson indiqués ne comprendnent pas le prechauffage du four, à l'exception de ceux reperés par un astérisque.
2) La position de la grille sur les gradins, indiquée dans le tableau, est cette optimale pour la cuisson sur plusieurs niveaux.
3) Les temps indiqués se référent à la cuisson sur un seul niveau; pour plusieurs niveaux, augmentez le temps de cuisson de 5-10 minutes.
4) Dans le cas de rohis de viande de boeuf, veau, porc et dinde avec os ou roulés, augmentez le temps de cuisson de 20 minutes.
Les instructions qui suivent s'adressent à l'instantiateur qualifié afin qu'il exécute les opérations d'installation, réglage et entretien technique conformément aux normes en vigueur. Important: avant d'effectuer toute opération de réglage, entretien, etc., assurez-vous que l'appareil soit déconnecté electrométrique. Si l'appareil doit obligatoirement rester sous tension, il faudra prendre toutes les mesures de précaution nécessaires.
La cuisine a les caractéristiques techniques suivantes:
Cat. II 2E+3+

Classe 1

Classe 2 sous-classes 1
Les dimensions de la cusinière sont indiquées dans la figure page 2. Afin de garantir un fonctionnement parfait de l'appareil installé à côté des meubles, il est indispensable de respecter les distances minimales indiquées à la fig.8. En outre, les surfaces adjacentes et la paroi arrêtè doivent être en mesure de résister à une surchauffe de 65^ .

fig.9

fig.8
Avant d'installer la cusinière, fixez les pieds support de 95 ÷ 155 mm de haut (fournis avec l'appareil) dans les troups prévus dans le bas de la cusinière (fig.9). Ces pieds sont réglables au moyen de vis, ils permettent par conséquent demettre la cusinière à niveau en cas de besoin.
Positionnement
Cet apparéil ne peut être installé et utilisé que dans un local toujours parfaitement aéré conformément aux normes en vigueur. Les conditions essentielles suivantes doivent être respectées:
- L'appareil doit évacuer les produits de la combustion dans une hotte prévue à cet effet qui doit être raccordée à une cheminée, à un carneau ou directement à l'extérieur (fig.10).
- Si l'installation de la hotte n'est pas possible, il est permitted d'inverter un electroventilateur, sur une fenêtre ou sur un mur donnant vers l'extérieur, qui devra être mis en marche en même temps que l'appareil.

fig.10
En cas de cheminée ou conduit de fumée ramifié (réservé aux apparèils de cuisson

Directement à l'extérieur
Ventilation de la cuisine
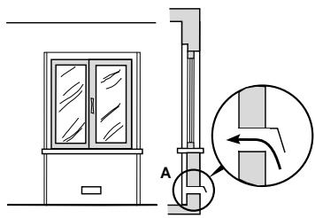
Il est indispensable que la pièce ou l'appareil est installé dispose d'une quantité d'air égale à la quantité nécessaire pour une bonne combustion du gaz et l'aération de la pièce. L'afflux naturel de l'air doit se produit à travers des ouvertures permanentes réalisées dans les murs de la pièce qui donnent vers l'extérieur, ou bien des conduits de ventilation individuels ou collectifs ramifiés, conformes aux normes en vigueur. L'air de ventilation doit être prélevé directement de l'extérieur, dans une zone loin de sources de pollution. L'ouverture d'aération devra avoir les caractéristiques suivantes (fig.11A):
- avoir une section libre totale nette de passage de 6cm^2 au moins pour chaque kW de début thermique nominal de l'appareil, avec un minimum de 100cm^2 (le début thermique est indiqué sur la plaquette signalétique);
- être réalisée de manière à ce que les bouches d'ouverture, aussi bien à l'intérieur qu'à l'extérieur du mur, ne puissant pas être obstruées;
- être protégée par exemple par des grilles, treillis métallique, etc. de façon à ne pas réduire la section utile susmentionnée;
- être située à une hauteur proche du niveau du sol.

Détail A
Local Adjacent
Local à ventiler
Exemples d'ouverture de ventilation pour l'air comburant

Agrandissement de la fissure entre la porte et le sol
fig. 11A
fig.11B
L'afflux de l'air peut provenir également d'une piece voisine pourvu que cette piece ne soit pas une chambre à coucher ou une piece à risque d'incendie telle que débarras, garage, dépôt de matérielaux combustibles, etc., et qu'elle soit ventilée conformément aux normes applicables en la matière. Le flux d'air de la piece voisine jusqu'à la piece à ventiler peut se produit librement à travers des ouvertures permanentes, ayant une section
non inférieure à celle susmentionnée. Ces ouvertures pourront également être réalisées en agrandissant la fissure entre la porte et le sol (fig. 11B). Si on utilise un électroventilateur pour l'évacuation des produits de la combustion, l'ouverture de ventilation devra être augmentée en fonction du débit d'air maximal de ce dernier. L'électroventilateur devra avoir un débit suffisant à garantir, pour la piece de la cuisine, un renouvellement horaire d'air égal à 3-5 fois son volume. Une utilisation intensive et prolongée de l'appareil peut exiger une aération supplémentaire, par exemple l'ouverture d'une fenêtre ou une aération plus efficace en augmentant la puissance d'aspiration de l'électroventilateur s'il existe. Les gaz de petrole liquéfiés, plus lourds que l'air, se déposent et stagnent vers le bas. Par conséquent, les pieces contenant des bouteilles de GPL doivent disposer d'ouvertures vers l'extérieur au niveau du sol afin de permettre l'évacuation à partir du bas d'eventuelles fuites de gaz. En outre, ne jamais stocker des bouteilles de GPL (meme vides) dans des locaux souterrains. Il est opportun de conserver dans la piece uniquement la bouteille de gaz utilisée, raccordée loin de sources de chaleur qui risqueraient d'en augmenter la température au-delà de 50 °C.
Raccordement gaz
Ne raccordez l'appareil à la tuyauterie ou à la bouteille de gaz conformément aux Normes en vigueur qu'après avoir vérifié que l'appareil est bien régle pour le type de gaz d'alimentation utilisé. Si nécessaire, effectuer les opérations décrites dans le paragraphe "Adaptation aux différents types de gaz". Certains modèles prévoient l'alimentation de gaz tant à droite qu'à gauche, selon les cas; pour changer le raccordement, il faut invertir le porte-tuyau avec le bouchon de fermeture et remplacer le joint d'étanchéité (fourni avec l'appareil). En cas de fonctionnement au gaz liquide en bouteille, utilisez des réguleurs de pression conformes aux Normes UNI-CIG 7432.
Important : pour un fonctionnement en toute sécurité, pour un employe correct de l'énergie et une plus longue durée de vie de l'appareil, vérifier que la pression d'alimentation respecte bien les valeurs indiquées dans le tableau 1 “Caracteristique des brûleurs et des injecteurs”.
Raccordement par tuyau flexible
Le raccordement doit être effectué au moyen d'un tuyau flexible pour gaz conforme aux caractéristiques indiquées dans les normes en vigueur. Le diamètre interne du tuyau à utiliser doit être de :
- 8mm pour l'alimentation au gaz liquide;
-13mm pour l'alimentation au gaz naturel.
En cas notamment de montage de tuyaux flexibles, il faut se conformer aux prescriptions suivantes :
- Aucune partie du tuyau ne doit être en contact, en aucune point, avec des températures supérieures à 50^ .
- Sa longueur doit être inférieure à 1500 mm;
- Le tuyau ne doit pas être soumis à traction ou torsion, en outre il ne doit pas partager de chicanes tropétroites ou des étranglements;
- Le tuyau ne doit pas être en contact avec des corps tranchants, des arêtes vives et il ne doit être ni écrasé ni placé contre des parties mobiles;
- Le tuyau doit être place de manière à pouvoir vérifier son état de conservation tout le long de son parcours;
Vérifier que le tuyau soit bien installé aux deux extrémités et
le fixer au moyen de bagues de serrages conformes à la norme Normes en vigueur. Si l'une ou plusieurs de ces conditions ne peuvent pas être respectées, il faut installer des tuyaux métalliques flexibles conformes à la norme Normes en vigueur. Si la cuisinière est installée dans des conditions de classe 2 sous-classes 1, il faut se raccorder au réseau gaz uniquement par tuyau métallique flexible conformé à la norme Normes en vigueur.
Raccordement par tuyau flexible en acier inox, à paroi continue avec raccords filetés
Eliminer le porte-tuyau installé sur l'appareil. Le raccord d'entrée du gaz à l'appareil est filtré 1/2 gaz mâle cylindrique. Utiliser exclusivement des tuyaux conformes à la Normes en vigueur et des joints d'étanchéité conformes à la Normes en vigueur. La mise en œuvre de ces tuyaux doit être effectuee de façon à ce que, même au maximum de leur extension, ils ne dépassent pas 2000 mm de long
Vérification de l'étanchéité
Important : une fois l'installation terminée, vérifier l'étanchéité de tous les raccords en utilisant une solution savonneuse et jamais une flamme. Àpres raccordement, assurez-vous que le tuyau métallique flexible ne soit ni place contre des parties mobiles ni écrasé.
A la fin du travail, assurez-vous que l'étanchéité du raccordement gaz soit parfaite en utilisant de l'eau savonneuse (n'utilisez jamais une flamme!). Assurez-vous que la conduite du gaz naturel suffit à alimenter l'appareil quand tous les brûleurs sont allumés.
Adaptation aux différents types de gaz (Instructions pour le plan)
Pour adapter l'appareil à un type de gaz autres que celui pour lequel il a été créé (indiqué sur la plaquette fixée sur le plan ou sur l'emballage) remplacez les injecteurs de tous les brûleurs en procédant comme suit :
- enlevez les grilles du plan de cuisson et sortez les brûleurs de leur logement.
- dévissez les injecteurs (fig. 13) à l'aide d'une clé à tube de 7mm . et remplacez-les par les injecteurs adaptés au nouveau type de gaz (voir tableau 1 "Caracteristiques des brûleurs et des injecteurs") remontez les différentes parties en effectuant les opérations dans le sens inverse.
- en fin d'opération remplacez la vieille étiquette par celle correspondant au nouveau gaz utilisé, disponible dans le kit des injecteur
Remplacement des injecteurs sur le brûleur "deux flames" indépendantes :
- enlevez les grilles du plan de cuisson et sortez les brûleurs de leur logement; Le brûleur est formé de deux parties distinctes (voir Fig. C et Fig. D);
- dévissez les injecteurs à l'aide d'une clef en tube de 7 mm. Le brûleur interieur a un injecteur, le brûleur extérieur en a deux (de même dimension). Remplacez les injecteurs par d'autres appropriés au nouveau type de gaz (voir tableau 1).
- remontez les différentes parties en effectuant les opérations dans le sens inverse.

Fig. C

Fig. D
Réglage de l'air primaire des brûleurs
Les brûleurs ne nécessitent d'aucun réglage de l'air primaire.
Réglage des minima
- Placer le robinet sur la position de minima;
- enlevez la manette du robinet et effectuez le réglage au moyen de la vis de réglage située à droite du robinet (fig.14) jusqu'à ce que vous obtieniez une flamme régulière, utilisez un tournevis (en dévissant la vis le minima augmente, en la vissant il diminue).
N.B.: en cas de gaz liquides, il faut visser à fond la vis de réglage.
- Une fois obtenu le débit minimal souhaité, allumez le brû-leur et tournez brusquement la manette de la position de ralenti à la position d'ouverture maximale et vice versa à plusieurs reprises. Vérifiez ainsi qu'il n'y ait pas extinction du brû-leur.
- En cas de mauvais fonctionnement du dispositif de sécurité gaz (thermocouple) équipant certains apparciels, réglez les brûleurs au minima et augmentez leur début en agissant sur la vis de réglage.
Après avoir procédé à ce réglage, reposez les scellés sur les by-pass en utilisant de la cire ou autre matériel équivalent.
Four à gaz:
- Ouvrez la porte du four (pour intervenir sur le brûleur du four, enlevez le fond);
- dévissez les 2 vis qui supportent le brûleur du four, enlevez-le et remplacez le injecteur "N" par le injecteur correspondant au nouveau type de gaz utilisé selon le tableau à pag 12.
- remettez tous les composants en place, effectuez le réglage de l'air dans le brûleur et du début minimal du robinet.
Réglage du début minimal
Ouvrez la portedu four et enlevez le fond du four;
- amenez la manette du four sur la position 8 (maximum) et allumez le brûleur;
- fermez la porte et attendez 15 minutes environ;
- amenez la manette sur la position 1 (minimum);
- enlevez la manette pour pouvoir agir sur la vis de réglage située au-dessus ou à côté de la tige du thermostat;
- Une fois obtenu le débit minimal souhaité, allumez le brûleur et tournez brusquement la manette de la position d'ouverture maximale à la position de ralenti à plusieurs reprises en fermant normalement la porte du four afin de vérifier qu'il n'y ait pas extinction du brûleur.

fig.13

fig.14
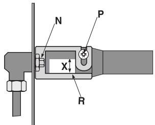
Contrôle du flux d'air primaire
Les brûleurs du four et du grill sont munis d'une douille de réglage de l'air primaire «R» (fig.15: brûleurs du four à gaz). Quand le flux d'air primaire est bien réglo, la flamme est stable et régulière, sans qu'il y ait extinction de flamme quand le brûleur est froid ni allumage à l'injecteur quand le brûleur est chaud. Pour le réglage, dévissez la vis “P” et déplacez la douille “R” de façon à ce que l'ouverture “X” corresponde aux valeurs du tableau suivant. Une fois que le réglage a été effectué, bloquez la douille “R” à l'aide de la vis “P”.

fig.15
Branchementélectrique
L'APPAREIL DOIT NECESSAIREMENT ETRE RELIE A LA TERRE.
L'appareil est prédisposé pour fonctionner en courant alternatively à la tension et fréquence d'alimentation indiquées sur la plaquette signalétique (apposée à l'arrière de l'appareil ou à la dernière page du livre). Assurez-vous que la tension d'alimentation du réseau correspond bien à la tension indiquée sur la plaquette signalétique.
Branchement du cable d'alimentation électrique au réseau Pour les modèles dépourvus de fiche, montez sur le cable une fiche appropriée à la charge indiquée sur la plaquette signalétique et branchez-la dans une prise de courant appropriée. Pour effectuer un branchement direct au réseau, il faut interposer entre l'appareil et le réseau un interrupteur à coupure omnipolaire, ayant au moins 3 mm d'ouverture entre les contacts, proportionnel à la charge et conforme aux normes en vigueur. Le conducteur de mise à la terre jaune/ vert ne doit pas être interrompu par l'interrupteur. Le cable d'alimentation doit être placé de façon à ce qu'il n'atteigne enaucun point une température depassant de 50^ la température ambiente. Tous les appareils doivent être raccordés séparément. Ne pas utiliser de réducteurs, adaptateurs ou shunts qui pourrait entraîner des surchauffes ou brûlures. Avant d'effectuer le branchement, assurez-vous que:
- la soupape de limitation et l'installation électrique domestique sont en mesure de supporter la charge de l'appareil (voir la plaquette signalétique);
- l'installation d'alimentation est bien équipée d'une mise à la terre efficace conformément aux normes et aux dispositions des lois en vigueur;
- la prise ou l'interrupteur omnipolaire sont aisément accessibles quand l'appareil est installé.
NOTRE RESPONSABILITE NE SAURAIT ETRE ENGAGEES SI LES NORMES EN MATIERE DE REVENTION DES ACCIDENTS NE SONT PAS RESPECTEES.
Remplacement du cable
Utilisé un cable en caoutchouc du type H05VV-F ayant une section 3 × 1,5 ~mm^2 . Le conducteur de mise à la terre jaune/vert devra être plus long de 2 ÷ 3 cm par rapport aux autres conducteurs.
Il peut arriver que l'appareil ne fonctionne pas ou ne fonctionne pas très bien. Avant d'appeler le service après-vente, voyons Ensemble que faire.
Vérifiez avant tout s'il n'y a pas de coupure de gaz ou de courant, et si les robinets du gaz en amont de l'appareil sont bien ouverts.
Avez-vous contrôle si:
- les orifices de sortie du gaz ne sont pas par hasard bouchés.
- les pieces amovibles composant le brûleur sont bien montées correctement.
- il y a des courants d'air dans les environns du plan de cuisson.
La flamme ne reste pas allumée.
Avez-vous contrôle si:
- vous avez bien appuyé à fond sur la manette.
- vous avez bien appuyé à fond sur la manette pendant un laps de temps suffisant pour permettre au dispositif de sécurité d'être branché.
- les orifices de sortie du gaz situés en face du dispositif de sécurité ne sont pas par hasard bouchés.
Le brûleur s'éteint quand il est régle sur la position de minimum.
Avez-vous contrôle si:
- les orifices de sortie du gaz ne sont pas par hasard bouchés
- il y a des courants d'air dans les environns du plan de cuisson
- le minimum a bien eté correctement régle (Voir paragraphe "Réglage minimum").
Les casseroles sont instables.
Avez-vous contrôle si:
- le fond de la casserole est parfaitement plat
- la casserole est bien placée au centre du brûleur
Si, malgré tous ces contrôles, votre apparéil ne fonctionné toujours pas et l'inconvénient persiste, appelez le Service ÀpRES-vente Indesit Company le plus proche en précisant:
Ne faites jamais appel à des techniciens non agreés et refusez toujours l'installation de pieces détachées non originales.
CARACTERISTIQUES DES BRULEURS ET DES INJECTEURS
| Tableau 1 | Gaz liquides | Gaz naturels |
| BRULEUR | Diamètre brûleur (mm) | Puisance thermique kW (H.s.*) | By-pass 1/100 (mm) | Injecteur 1/100 (mm) | Débit * g/h | Injecteur 1/100 (mm) | Débit * l/h |
| Nom. | Red. | G30 | G31 | G20 | G25 |
| C. Rapide | 100 | 3.00 | 0.7 | 40 | 86 | 218 | 214 | 116 | 286 | 332 |
| B. Demi-rapide | 75 | 1.65 | 0.4 | 30 | 64 | 120 | 118 | 96 | 157 | 183 |
| A. Auxiliaire | 55 | 1.00 | 0.3 | 27 | 50 | 73 | 71 | 71 | 95 | 111 |
| D. Triple Couronne | 130 | 3.25 | 1.3 | 57 | 91 | 236 | 232 | 124 | 309 | 360 |
| I. Deux flammes (DC-DR interieur) | 30 | 0.90 | 0.4 | 30 | 44 | 65 | 64 | 72 | 86 | 100 |
| I. Deux flammes (DC-DR extérieur) | 130 | 4.10 | 1.3 | 57 | 70 | 298 | 293 | 110 | 390 | 454 |
| Four Gas | | 4.00 | 0.8 | 45 | 95 | 291 | 286 | 142 | 381 | 443 |
| Pression de alimentation | Nom.(mbar)Min.(mbar)Max.(mbar) | 28-302035 | 372545 | | 201725 | 252030 |
- A 15°C e 1013 mbar-gas secco
Gas Propano G31 H.s. = 50,37 MJ/kg
Gas Butano G30
Gas Metano G20
Gas G25

- 73/23/CEE du 19/02/73 (Basse Tension) et modifications successives ;
- 89/336/CEE du 03/05/89 (Compatibilité electromagnétique) et modifications successives ;
- 90/336/CEE du 29/06/90 (Gaz) et modifications successives;
- 93/68/CEE du 22/07/93 et modifications successives.
CHARACTERISTIQUES TECHNIQUES FOUR
ETIQUE TTE ENERGIE
Directive 2002/40/CE sur l'étiquette des fours électriques Norme EN 50304
Consommation énergie convection naturelle:
fonction four :
Statique
Consommation énergie déclarée pour Classe convection forcee:
fonction four:
Ventilé
Antes de effetuar la connexion verifique que: