WTD6284SF - Lave-linge BRANDT - Notice d'utilisation et mode d'emploi gratuit
Retrouvez gratuitement la notice de l'appareil WTD6284SF BRANDT au format PDF.
| Type de produit | Lave-linge séchant |
| Capacité de lavage | 8 kg |
| Capacité de séchage | 5 kg |
| Vitesse d'essorage | 1400 tours/minute |
| Classe énergétique | A |
| Consommation d'eau par cycle | 50 litres |
| Alimentation électrique | 230 V |
| Dimensions approximatives | 85 x 60 x 54 cm |
| Poids | 70 kg |
| Fonctions principales | Programmes de lavage, séchage, lavage à froid, options de repassage facile |
| Entretien et nettoyage | Nettoyage du filtre à peluches, détartrage régulier, nettoyage du bac à lessive |
| Pièces détachées et réparabilité | Disponibilité de pièces détachées, réparabilité facilitée par un accès aux composants internes |
| Sécurité | Protection contre les surcharges, verrouillage de sécurité pour enfants |
| Compatibilités | Compatible avec divers types de détergents et adoucissants |
FOIRE AUX QUESTIONS - WTD6284SF BRANDT
Téléchargez la notice de votre Lave-linge au format PDF gratuitement ! Retrouvez votre notice WTD6284SF - BRANDT et reprennez votre appareil électronique en main. Sur cette page sont publiés tous les documents nécessaires à l'utilisation de votre appareil WTD6284SF de la marque BRANDT.
MODE D'EMPLOI WTD6284SF BRANDT
Les évientuelles interventions sur votre apparéil doivent être effectuees par un professionnel qualifié dépositaire de la marque. Lors de votre appel, mentionnez la reférence complète de votre apparéil (modele, type, numéro de série). Ces renseignements figurent sur la plaque signalétique (Fig. 26).

Fig. 26
PIÉCES D'ORIGINE
Lors d'une intervention d'entretien, demandez l'utilisation exclusive de pieces détaches certifiées d'origine.

- Service fourni par FagorBrandt SAS, locataire-gérant, Etablissement de Cergy, 5/7 avenue des Béthunes, 95310 Saint Ouen l'Aumone
SAS au capital social de 20 000 000 euros - RCS Nanterre 440 303 196.
- Pour en savoir plus sur tous les produits de la marque :
informations, conseils, les points de vente, les spécialistes après-vente.
- Pour communiquer :
nous sommes à l'écoute de toutes vos remarques, suggestions, propositions auxquelles nous vous repondrons personnellement.
Vous pouvez nous écrire:
Service Consommateurs BRANDT BP 9526
95069 CERGY PONTOISE CEDEX
ounoustelephonerau:
0892 02 88 01
0.337 € TTC / min à partir d'un poste fixe
^* tarif en vigueur au 1er avril 2004.
GUIDE D'INSTALLATION & D'UTILISATION
Lavante-Séchante Vapeur
WTD 6384 SF

Brandt
Vou venez d'acquérir un Lave-linge BRANDT et nous vous en remercions.
Nous avons mis dans cet apparéil toute notre passion, notre savoir-faire pour qu'il réponde au moins à vos besoin. Innovant,performant,nous l'avons concu pour qu'il soit aussi toujours facile à utiliser.
Vous trouvez également dans la gamme des produits BRANDT, un vaste choix de fours, de jours à micro-ondes, de tables de cuisson, de hottes aspirantes, de cusinieres, de lave-vaisselle, de seche-linge, de réfrigerateurs et concélateurs que vous pourrez coordonnner à votre nouveau lave-linge BRANDT.
Bien entendu, dans un souci permanent de satisfaire le peux possible vos exigences vis à vis de nos produits, notre service consommateurs est à votre disposition et à votre écoute pour répondre à toutes vos questions ou suggestions (coordonnées à la fin de ce livre).
Et connectez-vous aussi sur notre site www.brandt.com où vous trouverez tous nos produits, ainsi que des informations utiles et complémentaires.

Dans le souci d'une amélioration constante de nos produits, nous nous réservons le droit d'apporter à leurs caractéristiques techniques, fonctionnelles ou esthétiques toutes modifications liées à leur évolution.

A
Important :
Avant de partager vos appeareil en marche, veuillez dire attentivement ce guide d'utide vous familiariser plus rapidement avec son fonctionnement.
SOMMAIRE
1 / PRÉSENTATION DE VOTRE APPAREIL
- Consignes de sécurité 4
Economies d'énergie 5
Protection de I'environnement 5
Description de votre apparéil 6
2 / INSTALLATION DE VOTRE APPAREIL
- Demontage des brides de transport 8
- Mise en place de votre apparéil 10
Raccordements de votre apparéil 11
3 / PREPARATION DE VOTRE LINGE ET DE VOTRE APPAREIL
Code d'entretien des textiles 12
- Traitement des taches difficiles 13
- Préparation de votre linge 14
- Chargement de votre linge 15
- Chargement des produits de lavage 16
4 / PROGRAMMATION DE VOTRE APPAREIL
- Description du tableau de commandes 17
- Programmation d'un cycle de lavage 17
- Programmation d'un cycle de lavage avec séchage enchaine 19
- Programmation d'un cycle de séchage seul 19
- Programmation d'un cycle de lavage avec séchage et défloissage enchaîné 20
- Programmation d'un cycle de débroissage seul 20
- Opérations possibles en cours de programme 21
- Examples de programmation 22
- Modification d'un programme 23
Détail des programmes 24
Détail des options 253
Autres fonctions 26
5 / ENTRETIEN COURANT DE VOTRE APPAREIL
- Nettoyage de la boite à produits 29
-Nettoyage du filtr de pompe 29 - Accès au fond de la cuve 30
- Nettoyage du filtr de séchage 30
- Nettoyage de l'appareil 31
- Entretiens divers 31
·Sécurités automatiques 32
6/INCIDENTSPOUVANT SURVENIR-CAUSES&REMEDIES 33
7 / SERVICE APRES-VENTE - RELATIONS CONSOMMATEURS 36
- CONSIGNES DE SECURITE
Important: Cet apparéil, destiné à un usage exclusivement domestique, a été consçu pour laver, rincer et essorer les textiles lavables en machine.
Respectez imperativement les consignes suivantes. Nous déclinons toute responsabilité et garantie en cas de non respect de ces recommendations pouvant entrainer des dégats matériels ou corporels.
-
Cet apparéil n'est pas prévu pour être utilisé par des personnes (y compris les enfants) dont les capacities physiques, sensorières ou mentales sont réduites, ou des personnes dénuées d'expérience ou de connaissance, sauf si elles ont pu bénéficier, par l'intérmédiaire d'une personne responsable de leur sécurité, d'une surveillance ou d'instruction concernant l'utilisation de l' apparéil.
-
L'appareil ne doit être utilisé que conformément au mode d'emploi, pour éviter des dommages à votre linge et à votre apparéil. Utilisez seulement des produits de lavage et d'entretien certifiés pour l'emploi dans les machines à laver à usage domestique.
-
Si, avant lavage, vous traitez votre linge à l'aide de détachants, dissolvants et, en regle générale, de tous produits inflammables ou à fort pouvoir détonant, ne l'introduisez pas immédiatement dans l'appareil (voir chapitre « TRAITEMENT DES TACHES DIFFICILES »).
De même, il vous est fortement recommendé de ne pas utiliser de solvants ou de produits en bomber aérosol à proximé de votre lavelinge et plus généralement d'appareils électriques dans une piece mal aérée (risque d'in-cendie et d'explosion).
-
Si des incidents se produit et que vous ne pouvez les résoudre grâce aux remèdes que nous vous préconisons (voir chapitre « INCIDENTS POUVANT SURVENIR »), faites appel à un professionnelnel qualifié.
-
Si vous étés améné à ouvrir votre machine en cours de cycle (par exemple : pour ajouter ou夕阳er du linge), suivant la phase dans laquelle se trouve le programme (en lavage essentiellement), prenez garde à la température interieure qui peut être très élevée (risque de brûlures graves).
-
Lors d'une nouvelle installation, l'appareil doit être raccordé au réseau de distribution d'eau avec un tuyau neuf, le tuyau usage ne doit pas été réutilisé.
Contrôlez à intervalles réguliers les tuyaux d'alimentation en eau et d'évacuation, vous pourrez ainsi empêcher les dégats des eaux.
-
Ne laissez pas les enfants jouer avec l'appareil et éloignez les animaux domestiques.
-
Les apparêls usages doivent immédiatement être rendus inutilisables. Débranchez et coupez le cable d'alimentation au ras de l'appareil. Fermez l'accuee d'eau et enlevez le tuyau. Rendez la fermeture de la porte inutilisable.
Pour les machines sechantes :
- Retirez, avant le séchage, les doseurs pour produits lessiviels en poudre ou liquides éventuelles mis dans le tambour avec le linge. La matière plastique dont ils sont faits ne supporterait pas les températures du séchage.
-N'arrêtez jamais votre apparéil avant la fin du cycle de séchage, à moins que tous les articles ne soient rétrésrapidement et étales, de telle sorte que la chaleur soit dissipée.
ECONOMIES D'ENERGIE
- Ne programmez le prélavage que lorsque c'est absolutément nécessaire : par exemple pour des vêtements de sport ou de travail très sales, etc ...
- Pour du linge peu ou moyennement sale, un programme à basse température est suffisant pour obtenir un résultat de lavage impeccable.
- Pour du linge peu sale choisissez un cycle de lavage court.
- Dosez le produit de lavage selon la durée de l'eau, le degré de salissure et la quantité de linge et respectez les conseils indiqués sur les paquets des produits lessiviels.
- Dés la fin du cycle de lavage, "0-" ou "STOP" (selon le cas) s'affiche. Vous pouvez programmermer un autre cycle de lavage immidiatement. Sans intervention de votre part, cet affichage est main-tenu pendant une heures. ÀpRES un délambda d'une heures sans intervention de votre part, l'affichage s'éteint automatiquement. Le produit consommera alors moins d'énergie. Pour réactiver l'afficheur, il vous suffit d'appuyer sur une des touches. Toutefois, il est recommendé de selectionner la position "Arrêt" pour éteindre le produit.
Pour les machines séchantes :
- Si vous essorez à grande vitesse, l'humidité résiduelle sera faible, donc faible consommation d'énergie. même les textiles synthétiques doivent être essorés avant le séchage.
- Le temps de séchage bienCHOsi aide aussi a economiser energie et eau.
- Afin d'éviter des consommations d'eau et d'énergie inutiles, ne sourséchez pas votre linge.
PROTECTION DE L'ENVIRONNEMENT
Les matériaux d'emballage de cet apparil sont recyclables. Participez à leur recyclage et contribuez ainsi à la protection de l'environnement en les déposant dans les conteneurs municipaux prévus à cet effet.

Votre apparéil contient également de nombreux matériaux recyclables. Il est donc marqué de ce logo afin de vous indiquer que dans les pays de l'Union Européenne les apparéils usages ne doivent pas être mélangés avec d'autres déchets. Le recyclage des apparéils qu'organise votre fabricant sera ainsi réalisé dans les autres conditions, conformément à la directive Européenne 2002/96/CE sur les déchets d'équipements électriques et techniques. Adressez vous à votre mairie ou à votre revendeur pour connaître les points de colles apparéils usages les plus proches de votre domicile.
Nous vous remercions pour votre collaboration à la protection de l'environnement.
DESCRIPTION DE VOTRE APPAREIL
A Tableau de commande
Poussoir d'ouverture du couvercle (reste verrouillé pendant le cycle)
Plinthe avant escamtable (accès au filtré de vidange / accès au bridage de transport)
Bride de transport avant
Verrous de démontage de la plinthe
F Levier de mise sur roulettes
Pieds avant régibles en hauteur

Boite a produits
Bouton de déverrouillage de la boite à produits
Filtre de séchage

- DESCRIPTION DE VOTRE APPAREIL (suite)
Tuyau de vidange
Cordon d'alimentation électrique
M Pièce de bridage du cordon d'alimentation
Bride de transport arrière
Cachedestrousdebridage
Tuyau d'alimentation en eau protégé (selon modele)
Plaque signalétique (Référence S.A.V)

- DEMONTAGE DES BRIDES DE TRANSPORT

Important :
Avant toute utilisation, il est imperatif
d'effectuer les opérations décrites ci-après.
Ces opérations consistent à retarder toutes les pieces qui servent à immobiliser la cuve de votre(AP)appareilpendantle transport.
Ces opérations dites "de débridage" sont nécessaires pour le bon fonctionnement de votre apparéil et le respect des normes en vigueur en matière de sécurité.
Si ces opérations n'était pas effectuees dans leur totalite, cela pourrait cause des dommages graves a votre apparéil pendant son fonctionnement.
Retirez préalablement la cale en polystyrene
expansé située sous le couvercle.
- Bride de transport avant :
- Ouvrez en appuyant simultanément sur les bossages se trouvant de part et d'autre de la plinthe A tout en tirant cette derniere vers vous (Fig. 04).
- Devissez, à l'aide d'une clé de 10, la vis de maintien de la bride "avant" en plastique rouge (Fig. 05).
- Retirez la bride "avant" (Fig. 06).
- Bouchez le trou laissé par la bride à l'aide du cache fourni (Fig. 07).
- Reclippez la plinthe (Fig. 07).




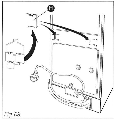
- DÉMONTAGE DES BRIDES DE TRANSPORT (suite)
- Bride de transport arrêté :
- Dévissez les 2 vis D et les quatre vis E à l'aide d'une clé à tube de 10 ou d'un tournevis plat (Fig. 08).
- Retirez la bride F
- Libérez le cordon électrique de la pièce plastique G qui le lie à la bride de transport.
- Bouchez les trouss laissés par la bride à l'aide des 2 caches restants (Fig.09) et revissez les 4 vis à leur emplacement d'origine dans la carrosserie.

Conseil :
Nous youcnsides de conservetoutes les pioces de bridage,car il faudra obligatoirement les remonter si vous nevez, par la suite,transportervoire machine.
Toutes ces pieces ainsi que celles composant l'ensemble de votre machine sont faites de matérielaux recyclables. Il convient d'en tener compte lors de leur mise en décharge à la fin de la vie de votre machine.

Information :
Avant sa sortie d'usine, votre apparéil a été minutieusement contrôle; il est donc possible que vous constatiez la présence d'un peu d'eau dans la cuve ou au niveau des boîtes à produits.

Information :
Si vous foulez placer votre apparéil dans l'alignement de vos meubles, vous pouvez casser les crochets de fixations des tuyaux.

Important :
Attention à ne pas écraser les tuyaux.


- MISE EN PLACE DE VOTRE APPAREIL
- Mise sur roulettes :
Votre apparéil est équipé de roulettes escamtables qui vous permettent de le déplacer facilement.
Pour la mise sur roulettes, faites pivoter le levier situé au bas de l'appareil, de la droite jusqu'à l'extremité gauche (Fig. 10).
Important: En fonctionnement, l'appareil ne doit pas reposer sur ses roulettes : n'oubliez pas de ramener le levier dans sa position initiale.
- Mise à niveau :
Votre apparéil est équipé de deux pieds régblles placés à l'avant permettant de compenser les inégalités du sol. Pour régler l'horizontalité et la stabilité de l'appareil, procédez comme suit :
- Enlevez la plinthe (cf Fig. 04, pages précédentes).
-Mettez la machine sur roulettes - Desserrez les 2 vis servant au blocage des pieds à l'aide d'un tournevis TORX T20 (Fig. 11).
- Réglez les deux pieds à l'aide d'une clef plate ou d'une pince pour réaliser la mise à niveau.
- Remettez l'appareil sur ses pieds en ramanant le levier dans sa position initiale.
- Vérifiez la stabilité de la machine en appuyant sur le couvercle en diagonale (sens AA, puis sens BB) (Fig. 12). Aucun mouvement de l'appareil ne doit être perceptible.
Lorsque les réglages sont corrects, revissez les 2 vis de blocage des pieds et recippez la plinthe.
- Environnement :
Important: Si vous placez votre machine à côté d'un autre apparéil ou d'un meuble, nous给您 consellons de toujours laisser entre euxs un espace pour faciliter la circulation de l'air.



Conseil:
Nous vous déconseillons fortement àaller votre apparéil :
-dans une piece humide et mal aerée.
- dans un lieu où il pourrait être soumis à des projections d'eau.
- sur un sol en moquette. Si vous ne pouvez l'éviter, prenez toutes les dispositions pour ne pas générer la circulation de l'air à sa base, afin d'assurer une bonne ventilation des composants internes.
- RACCORDEMENTS DE VOTRE APPAREIL
- Alimentation en eau floire (Fig. 13):
- Branchez le tuyau d'alimentation sur un robinet muni d'un embout filete 20 x 27 (3/4 BSP).
Vérifiez la présence du joint.
Arrivée d'eau :
- Pression d'eau mini : 0,1 MPa ou 1 bar
- Pression d'eau maxi : 1 MPa ou 10 bars
- Alimentation électrique (Fig. 13):
L'installation electrique doit être conforme à la Norme NF C 15-100, en particulier pour la prise de terre.
Nous ne pouvons pas etre tenus pour responsable de tout incident cause par une mauvaise installation electrique.
Conseil:
Conseils pour l'installation electrique de votre apparéil :
- N'utilisez pas de prolongateur, adaptateur ou prise multiple
- Ne supprimez jamais la mise à la terre
- La prise de courant doit être facilement accessible mais hors de portée des enfants.
En cas d'incertitude, adresse-vous à votre installerateur.
Evacuation des eaux usées (Fig. 13):
Raccordez le tuyau de vidange :
- soit de façon provisoire, sur un évier ou une baignoire.
- soit de façon permanente, sur un siphon ventilé.
Si votre installation n'est pas équipée d'un siphon ventilé, veillez à ce que le raccordement ne soit pas étanche. En effet, pour évier tout refoulement d'aux usées dans la machine, il est vivement recommandé de laisser libre passage à l'air entre le tuyau de vidange de la machine et le conduit d'évacuation.
Dans tous les cas, la crosse de vidange devra etree placee a une hauteur comprise entre 0,80 m et 1,10 m par rapport a la base de la machine.
Important: Veillez à bie
Veillez à bien maintainir le tuyau de vidange au moyen d'un lien afin d'éviter que la crosse ne se dégage en cours de vidange et provoque une inondation.
Important :
Viete apparéil est conforme aux directives européennes 2006/95/CE (directiveasse tension) et 2004/108/CE (compatibilité electromagnétique).

CODES D'ENTRETIEN DES TEXTILES

Conseil :
Pour vous aider dans l'entretien de vos textiles, ceux-ci sont munis d'une étiquette resultant les informations nécessaires. Celles-ci sont exprimées en codes par les symboles ci-dessous:
| LAVAGE | CHLORAGE | ||||
| 95 | Température maximum : 95°C | chlage autorisé : dilué et à froid | Pas de chlorage | ||
| - Action mécanique normale | |||||
| - Rincage normal | |||||
| - Essorage normal | |||||
| - Action mécanique réduite | |||||
| - Rincage à température décroissantante | |||||
| - Essorage réduit | |||||
| 95 | Température maximum : 60 ou 50°C | 200 °C Réglage fort | 150 °C Réglage moyen | 110 °C Réglage doux | Pas de repassage (pas de vapeur) |
| 60 | - Action mécanique normale | ||||
| - Rincage normal | |||||
| - Essorage normal | |||||
| - Action mécanique réduite | |||||
| - Rincage à température décroissantante | |||||
| - Essorage réduit | |||||
| 50 | - Action mécanique réduite | ||||
| - Rincage à température décroissantante | |||||
| - Essorage réduit | |||||
| 40 | Température maximum : 40°C | Tous solvants usuels | P Perchloréthylène Essence minérale | F Essence minérale et solvent fluéré F113 | Pas de nettoyage à sec, ni de détachage aux solvants |
| - Action mécanique normale | |||||
| - Rincage normal | |||||
| - Essorage normal | |||||
| - Action mécanique réduite | |||||
| - Rincage à température décroissantante | |||||
| - Essorage réduit | |||||
| 40 | - Action mécanique très réduite | Processus normal | |||
| - Rincage normal | |||||
| - Essorage normal | |||||
| 30 | Température maximum : 30°C | - Action mécanique réduite - Température de séchage réduite - Pas d'addition d'eau (Nettoyage en libre-service impossibly) | |||
| - Action mécanique très réduite | |||||
| - Rincage normal | |||||
| - Essorage réduit | |||||
| Lavage à la main seulement | SECHAGE EN TAMBOUR MENAGER | ||||
| Température 40°C maximum | |||||
| (Certains apparaïés sont maintenant équipés d'un programme qui permet de laver en machine ce type de textiles) | |||||
| Pas de lavage | Séchage fort | Séchage doux | Pas de séchage en tambour | ||

Important :
Avant d'effectuer votre première dessive, nous vous recommendons de faire un cycle de lavage "COTON 90^ sans prélavage", sans linge et en utilisant une 1/2 dose de votre dessive habituelle. Ceci, afin d'éliminer les résidus de fabrication pouvant eventuellement subsister dans la machine.
TRAITEMENT DES TACHES DIFFICILES

Conseil :
Les taches de transpiration, sang, fruit, vin, chocolat, disparaisent généralement avec les lessives contenant des éléments biologiques, mais d'autres taches nécessite un traitement spécifique avant la mise en machine. Faites d'abord un essai sur un endroit peu visible du textile et rincez abondament. Si vous appliquez un détachant, commence toujours par l'extérieur de la tache pour éviter les auroeles.
BOUGIE: enlevez le maximum de la tache en gratant. Mettez ensuite du papier absorbant des deux cotes du tissu et passez un fer à repasser sur la tache pour faire fondre le reste de cire.
CAFÉ - THE :
-sur coton blanc: tamponnez la tache avec de I'eau oxygénée* avant de proceder a un lavage normal
- sur coton de couleur : tamponnez la tache avec une solution d'eau vinaigree (2 cuillirées à soupe de vinaigre blanc pour 1/4 de litre d'eau) avant de procéder à un lavage normal - sur la laine : tamponnez la tache avec un mélange à parts égales d'alcool* et de vinaigre blanc avant de laver l'article.
CAMBOUIS - Goudron : utilisez de l'Eau Écarlate ou, à défaut, étalez un peu de beurre frais sur la tache, laissez reposer puis tamponnez avec de l'essence de térébenthine.
CHEWING-GUM: refroidissez-le avec un glacon. Dés qu'il est suffisamment dur, grattez-le avec l'ongle. Enlevez l'auréole qui subsiste à l'aide d'un produit dégraissant*.
CHOCOLAT - FRUIT - JUS DE FRUIT - VIN : tamponnez la tache avec une solution d'eau vinaigree (2 cuilleres à soupe de vinaigre blanc pour 1/4 de litre d'eau). Rincez bien et lavez normalement.
CRAYON A BILLE - FEUTRE : enlevez le maximum d'encre en tamponnant la tache avec un papier absorbant. Placez un chiffon blanc propre derrière la tache et tamponnez la tache avec un autre chiffon imbibé de vinaigre blanc pour les fibres synthétiques et artificielles ou d'alcool à 90* pour les autres fibres (si le textile le permet).
GRAISSE: saupoudrez immédiatement le tissu avec du talc. Laissez secher et Brossez doucement pour éliminer le talc. Puis tamponné avec un produit dégraissant du type essence minérale*. Rincez et lavez normalement.
HERBE : tamponnez la tache avec du vinaigre blanc ou de l'alcool à 90^* (si le textile le permet) puis rincez et procededez au lavage.
KETCHUP - SAUCE TOMATE : préparez une solution avec un volume de glycérine pour un volume d'eau chaude. Laissez tremper le linge pendant une heures, puis procédez à un lavage normal.
PEINTURE: ne laissiez pas secher les dépôts de peinture. Traitez-les immédiatement avec le solvant indiqué sur la boîte de peinture (eau, téré-benthine, white spirit). Savonnez puis rincez.
PRODUITS DE MAQUILLAGE: posez la facetachée du tissu sur un papier absorbant, puis humectez l'envers du tissu avec de l'alcool à 90^ si l'article le permet et si la tache n'est pasgrasse. Dans le cas contraire, préférez un produit dégraissant (type trichloréthylene*).
ROUILLE: pour des taches légères, recouvre de Sel, pressez du jus de citron sur le sel et laissez reposer une nuit; puis rincez abondamment et faites un lavage. Pour des taches plus importantes utilisez un produit antirouille en suivant très attentivement les conseils du fabricant.
SANG: trempez, le plus vite possible, l'article taché dans de l'eau froide salée, puis procédez à un lavage normal.
- Utilisation de produits détachants

Important :

Pour éviter tout risque d'incendie ou d'exon :
(*) si vous utilisez les produits préconisés dans les recettes ci-dessus, prenez soin de rincer abondamment votre linge avant de l'introduire dans votre machine.
-si vousutilise des detachants du commerce, suivez très attentivement les conseils du fabri-cant de ces produits.
Nous vous rappelons que, en général, les taches traitées immédiatement s'éliminent facilement. Par contre, les taches ancienne qui ont été repassées ou séchées en tambour menager, ne peuvent plus être enlevées.
- PREPARATION DE VOTRE LINGE
Le tri de votre linge :
Reportez-vous au tableau des codes d'entretien des textiles pour trier votre linge etCHOisissez le programme adapte aux etiquettes.Dans le cas de charges melangées,utilisez le programme correspondant au linge le plus fragile. Pour du linge neuf, prenez au préalable la précaution de vérifier que le textile ne déteint pas:voir "Le test couleur" ci-contre.
- Le test couleur :
Au premier lavage, un linge de couleur déteint.
souvent, sauf s'il est garanti grand teint. Avant de le metre en machine, faites le test suivant:
- Prenez une partie non visible du linge
-Humectez-la d'eau chaude - Pressez-la ensuite dans une étoffe blanche
- Si le linge ne déteint pas, vous pouvez le laver normalement en machine.
- Si le linge déteint, lavez-le séparément en machine ou à la main.
- Les charges de linge

Important : Pour un résultat optimum, ne surchargez pas excessivement votre tambour et ne dépassez pas les charges maximales suivantes :
Coton / Couleurs 6 kg
Mixte 3 kg
Delicat/Laine 2kg
Poids moyen de quelques pieces de linge sec "peu épais"
Drap 1 place 400 a 500 g
Drap 2 places 800 g
Taiedoreiller 200g
Chemise de nuit leger 150g
Pantalon toile infant 120 g
Pantalontoileadulte 500g
Chemise homme coton/polyester 200g
Tee-Shirt cotton grande taille 150g
Torchonvaisselle 100g
Nappe 250g
Lingerie delicate 50g
Lainage synthetique infant 50g
Chaussette 20g
Pyjama toile adulte 250g
Poids moyen de quelques pieces de linge sec "épais"
Blue-jean adulte 800 g a 1 kg
Grande serviette éponge 700 g
Petite serviette éponge 300 g
Pantalon jogging adulte 350g
Pyjama éponge infant 100 g
Peignoir debain 1200g
Sweat-shirt 250g
Housse de couette 1500g
- Vérification de votre linge avant lavage
Important: Le non respect des conseils suivants peut engendrer des dégats graves, voirir irrémédiables (tambour détiéré, linge déchére, etc...) et annulerait la garantie.
- Videz les poches : retirez tous les objets, tels que les briquets, les allumettes, etc ...
-Fermez les fermétures a glissieres et a pression. - Enlevez les crochets des voilages ou mettez vos voilages dans un filet de lavage.
- Retirez les boutons mal cousus, les épingle, les agrafes.
- Mettez les petites pièces de linge (rubans, pochettes, etc...) dans un filt de lavage.
- Retournez les textiles multicouches (sac de couchage, anorak...).
- Retournez les tricots, les textiles à decoration rapportée, les pantalons et les vêtements en maille.
- PREPARATION DE VOTRE LINGE (suite)
- Vérification de votre linge avant séchage
Les fibres qui composent votre linge sont de nature et d'origine diverses ; leur comportement pendant le séchage est donc très variable.
D'une manière générale, tous les textiles lavables en machine peuvent être séchés en tambour menager sauf :
- les laines, les soies, les voilages, les collants ou les bas nylon
- les tissus plastifiés
- les chlorofibres (Thermolactyl * par exemple)
- les pieces de linge dotées de mousse plastique, de caoutchouc ou d'armatures risquant de se détacher
*: Marque déposée
- les articles volumineux (couettes, éredons, etc...)
- le linge non lavé et/ou non essoré
- le linge ayant subi des nettoyages avec des produits chimiques.
Important:
Il faut toutes éviter de secher en même temps les textiles légers et ceux qui sont en coton écais, car le poids de ces derniers froisse les textiles plus légers.
Important:
Il est préférible de secher séparément les textiles non garantis grand teint.
Les substances containues dans les salissures, telles que l'huile de cuisson, l'acetone, l'alcool, l'essence, le kerosene, les detachants, la terrebenthine, la cire doivent etre eliminées préalablement au séchage dans votre apparéil (par exemple à l'aide d'un programme de lavage à l'eau chaude approprié, et avec une quantité supplémentaire de détergent).
- CHARGEMENT DE VOTRE LINGE
Effectuez les opérations dans l'ordre suivant:
- Ouverture de la machine
- Vérifiez que la machine est hors tension.
- Appuyez sur le bouton pouvoir situé à l'avant de la machine. Le couvercle s'ouvre.
- Ouverture/Fermetre du tambour
-
Ouvrez les portillons du tambour en appuyant sur le pouvoir situé sur le volet avant (Fig. 14).
-
Pour les referrer, appuyez le portillon avant vers le bas, puis rabattez le volet arrêté par dessus, jusqu'à ce que le verrouillage s'enclenché.
Important :
Pour un bon verrouillage, vérifie que le liséré bleu A du pouvoir est bien visible (Fig. 15).


- CHARGEMENT DE VOTRE LINGE (suite)
Introduction du linge
Pour des performances de lavage optimum, placez le linge, préalablement trié et déplié dans le tambour, sans le tasser et en le répartissant uniformément. Mélanger les grosses et petites pièces pour obtenir un essorage optimum, sans formation de balourd.

Important :
En fermant le tambour, veilles à ne pas coincer du linge entre les deux volets.
- CHARGEMENT DES PRODUITS DE LAVAGE (Fig. 16)
Dosage de la lessive
La quantité de lessive à utiliser dépend de la durée de l'eau, du degré de salissure de votre linge et de la quantité de linge à laver.
Reportez-vous toujours aux prescriptions de dosage figurant sur l'emballage de vos produits de lavage.
Attention: les préconisations des fabricants de lessive correspondent, dans la plupart des cas, à un replissage maximal du tambour. Adaptez correctement votre dosage au poids du linge introduit dans la machine.
Ces préconisations vous éviteront un dosage excessif responsable de la génération de mousse. Une surproduction de mousse peut diminuer les performances de votre machine et augmenter la durée de lavage ainsi que la consommation d'eau.
- Lessives pour lainages et textiles délicats
Pour le lavage de ces textiles, il est recom-mandé d'utiliser une lessive appropriée (evitez demettre cette derniere directement sur le tambour car certains de ces produits sont agressifs pour le métal).
Pour les machines sechantes :
En cas d'utilisation de produits assouplissants, respectez les préconisations du fabricant.

Bac prélavage (poudre)
② Bac lavage (poudre ou liquide)
③ Bac Javel
Bac Assouplissant
Lessive poudre
Lessive liquide

Important :
- Le bac "LAVAGE" peut conténir les poudres et les liquides, toutfois, ne pas utiliser de lessive liquide pour les programmes AVEC prélavage ou AVEC "départ différé" (suivant modele).
- Pour un replissage correct des bacs à produits, mettez le couvercle dans sa position maximale d'ouverture.
- Ne dépassez par le niveau MAX.
- DESCRIPTION DU TABLEAU DE COMMANDES

A Selecteur de programme
B Réglage température
Réglage vitesse essorage
Touches options et Sélection Sécurité Enfants
Départ différé
Départ/Pause
① Afficheur température
② Afficheur vitesse d'essorage
③ Voyant de verrouillage Sécurité Enfants
④ Afficheur temps
⑤ Voyants de déroulement de cycle
Nota : Toutes les touches sont sensitives ; elles ne s'enforcen pas. Un simple toucher suffit.
- PROGRAMMATION D'UN CYCLE DE LAVAGE
| • Opérations à effectuer | Affichage |
| - Choisissez le programme de lavage correspondant le mieux à la nature de votre linge en tournant le sélecteur de programme A. Note : Le fait de tourner le sélecteur sur une position autre que "Arrêt" met la machine sous tension. | La machine affiche la vitesse d'essorage la mêux adaptée au programme choisi ainsi que la durée du cycle correspondant à une charge standard. |
| - Choisissez la température de lavage la mêux adaptée à la nature et au degré de salissure de votre linge, à l'aide de la touche B. Note : Pour faire un lavage à froid, modifier la température en sélectionnant "0" sur l'afficheur 1. | 30 -Temperature |
| -Vous pouvez modifier la vitesse d'essorage proposée, à l'aide de la touche Essorage C. | 900 Spin |
| -Ou pour la fin de cycle :CHOISIR un égoutage. Le cycle se terminera alors par une vidange à 110 tr/min sans essorage. | 110 Spin |
| -Ou encore : un arrêt cuve pleine. Votre machine s'arrêtea cuve pleine d'eau avant l'essorage final. | L Spin |
- PROGRAMMATION D'UN CYCLE DE LAVAGE (suite)
- Opérations à effectuer (suite)
- Choisissez si besoin les options à l'aide des touches (voir chapitre "DETAILS DES OPTIONS").

Information :
Vos pourrez selectionner seulement les options compatibles avec le programme choisi.
- Choisissez un département immediatis en appuyant sur la touche "Départ/Pause" I→ F ...
Levoyant de déroulement de cycle ⑤ s'allume.
Le programme démarre.
Nota: La durée affichée en début de programme est indicative. Elle sera réajustée quelques minutes après le début de cycle, après estimation de la charge de linge.
- OuChoisissez de differer le depart du programme en appuyant sur les touches "Départ Différé" (+) ou(-)(voir facon de proceder dans le chapitre "AUTRES FONC TIONS - Départ différé").
Vous pouvezCHOISIR,soit: - un départ automatique du programme en période "Heures creuses".
- un département différé en selectionnant la durée souhaïée.
Affichage
Voyant allumé : option selectionnée
Voyant éteint : option non sélectionnée

- Nota : Le booth
d'une option modifie la durée du cycle.
La machine vous indique, pendant toute la durée du programme, àquelle phase le cycle se trouve...

... ainsi que le temps restant estimé avant la fin de ce cycle.

1:20 = 1h20
(heure - minutes)

Dans les 2 cas, une animation matérialise la période d'attente precedent le départ du cycle (4 petits segments tournant sur eux-même)
- Indication Fin de cycle
Nota : ÀpRES l'essorage, votre lave-linge défoule le linge et positionne automatiquement son tambour ouverture en haut pour faciliter l'accès au linge. Cette opération dure au maximum 3 minutes.
Ensuite, l'afficheur 4 indique "StOP", ce qui vous signale que le cycle est terminé.
- Mettez le sélection de programme A sur la position "Arrêt". Vous pouvezès lors, ouvrir le couvercle et-retirer libre linge.
- Annulation en cours de programmation, pendant un lavage ou pendant une pause
- Mettez le sélecteur de programme A sur la position "Arrêt".
Nota : Une annulation vous oblige, dans tous les cas, à tout reprogrammer depuis le début.
Si vous avez annulé en cours de lavage, pour vidanger l'eau si nécessaire, faites un programme "Essorage" en réglient une vitesse adaptée.


Durée de sechage
Tous les afficheurs sont éteints.
PROGRAMMATION D'UN CYCLE DE LAVAGE AVEC SECHAGE ENCHAINE
Votre appareil you permit d'enchainer un cycle de sechage à la suite d'un cycle de lavage avec une détction automatique de la fin de sechage. Cette option se fait toujours en sechage FORT.
Note : Les résultats obtenus peuvent varier quelque peu selon la nature de la charge de linge.
- Opérations à effectuer
- Programmez votre cycle de lavage (cf pages precedentes).
- Sélectionnez l'options "Séchage" à l'aide de la touche Option
- Appuyez sur la touche "Départ/Pause" F. Le cycle démarre.
Important :
Pour pouvoir secher correctement, la charge de linge ne doit pas dépasser 4 kg.
Si la machine estime que la charge est trop importante pour autoriser un séchage enchaine, elle s'arrête à la fin du lavage et vous l'indique par un chiffre "4" clignotant sur l'afficheur ②. Dans ce cas, ajustez la charge de linge, et appuyez sur la touche "Départ/Pause" F pour reliancer le séchage. Si vous decide de ne laisser qu'une petite charge de linge, il vous faudra, au préalable, régler la durée de séchage à l'aide des touches (+) ou (-) E et relancer le cycle en appuyants sur la touche "Départ/Pause".
Affichage
Sechage

(Le symbole de la touche s'éclaire)
Le temps affiché en début de cycle inclut le temps de séchage estimé.

- PROGRAMMATION D'UN CYCLE DE SÉCHAGE SEUL
Si vous charge de linge est trop importante pour autoriser un séchage enchaine, ou si vous ne souhaitez secher qu'une partie de la charge, vous pouvez selectionner un séchage seul pour secher en machine les articles souhaités, enCHOISANTI LA DUREE selon la nature et la quantite du linge.
- Opérations à effectuer
- Tournez le sélecteur de programme A pourCHOISIR voire programme de sechage "Sechage Fort" ou "Sechage Doux" selon la nature de voire charge de linge.
- Sélectionnez une durée de séchage à l'aide des touches (+) ou (-) E.
- Appuyez sur la touche "Départ/Pause" I→ F. Le cycle démarre.
Nota : Assurez-vous au préalable .
- que le robinet d'eau est ouvert.
- que la charge de linge a ete suffisamment essorer (au minimum 1000 tr/min) et qu'elle n'excete pas un demi tambour.
Vous ne pouvez pas effectuer un séchage seul avec un départ différé
Affichage

Levoyant“Sechage"sallume.
4 / PROGRAMMATION DE VOTRE APPAREIL
- PROGRAMMATION D'UN CYCLE DE LAVAGE AVEC SECHAGE ET DÉFROISSAGE ENCHAÑÉ
Votre apparéil vous permet d'enchainer une phase de défroissage après un cycle de lavage et de séchage. Cette option, accessible par touche, vous permet de défroisser une charge de linge de 1,5 kg.
| • Opérations à effectuer | Affichage |
| - Programmez votre cycle de lavage (cf pages précédentes). | Vapeur S'échage |
| - Sélectionnez l'options "Séchage" à l'aide de la touche Option D. | |
| - Sélectionnez l'options "Vapeur" à l'aide de la touche Option D. | |
| - Appuyez sur la touche "Départ/Pause" I→ F. Le cycle démarre. | (Les symboles et des touches s'éclairant) |
| Nota: La vapeur n'agit que sur du linge sec, c'est pourquoi l'options vapeur enchainée est toujours liée à un cycle de séchage. |
- PROGRAMMATION D'UN CYCLE DE DÉFROISSAGE SEUL
Ce programme est destiné à une charge standard (3 kg) de linge déjà sec avant rangement et repassage du linge.
| • Opérations à effectuer | Affichage |
| - Tournez le sélecteur de programme A pour désirERCentre programme de “Défroissage Vapeur”- Appuyez sur la touche “Départ/Pause” I→ F. Le cycledémarre.Nota: La durée de ce programme est de 35 minutes. | Vapeur(Le symbole dela touche s'éclaire) |
Important : A la fin d'un cycle de sechage, pensez à nettoyer le filtrde sechage (voir façon de proceder dans le chapitre "ENTRETIEN COURANT DE VOTRE APPAREIL").
Conseil : Vous pouvez selectionner l'option "Vapeur" lors des programmes de séchage, pour défroisser et assouplir votre linge et en facilititer son repassage.
Important: Avant de mettre votre machine en marche, vérifie que le cordon électrique est branché et le robinet d'eau ouvert. Assurez-vous aussi de la bonne fermeture des portillons du tambour et du couvercle de la machine.
Dans la phase "Fin de cycle", lorsque "StOP" est affché, toute action sur un des éléments de commande (selecteur ou touches) permet de revenir en mode "Programmation".
Par mesure de sécurité, à la fin d'un cycle, il est conseilé de débrancher le cordon électrique, puis de fermer le robinet d'arrivée d'eau.
4 / PROGRAMMATION DE VOTRE APPAREIL
- OPÉRATIONS POSSIBLES EN COURS DE PROGRAMME
| • Mettre ou enlever une pièce pendant le cycle (impossible pendant l'essorage) | Affichage |
| - Appuyez sur la touche "Départ/Pause" → F pour interrompre le cycle de lavage. | Le décomptage du temps est arrêté. Les voyants de déroulement de cycle et de "Temps restant" clignotent alternatively. |
| - Mettez ou enlevez la ou les pièces de linge. Le temps de déverrouillage du couvercle est dépendant de la température intérieure de la machine et peut pren-dre, pour des raisons de sécurité, plusieurs minutes dans le cas d'une interruption d'un lavage supérieure à 40°C. | Lavage Séchage Vapeur Tempes restant liées Reprise du décomptage et les voyants sont de nouveau "fixes". |
| - Appuyez sur la touche "Départ/Pause" → F pour continuer le cycle. | Lavage Séchage Vapeur Tempes restant |
- Modification de programme en cours de cycle
- Pendant le cycle ou pendant le départ différé, vous pouvez effectuer, si nécessaire, certaines modifications de programme.
Pour connaître les modifications de programme possibles, reportez-vous aux chapitre "MODIFICATION D'UN PROGRAMME DE LAVAGE".
- Sécurité enfants
- Afin d'éviter une modification interpôsive de Sélection en cours de programme, vous avez la possibilité d'activer la "Sécurité enfants".
Pour cela, appuyez de façon simultanée sur les 2ème et 4ème touches d'options (le voyant "Cadenas" ③ s'allume).
Lorsque la "Sécurité enfants" est activée, les touches et la sélection du programme sont verrouillées.
- Si vous désirez modifier votre programme, vous nevez, au préalable, désactiver la "Sécurité enfants".
Pour cela, appuyez à nouveau de façon simultanée sur ces 2 mêmes touches, jusqu'à ce que levoyant "Cadenas" s'éteigne.
Nota : Vous pouvez activer ou désactiver la "Sécurité enfants" à tout moment. Il vous est, bien entendu, recommandé de ne l'activer qu'aupres avoir effectué la programmation et lance le cycle.

- EXAMPLES DE PROGRAMMES
Pour désirir le programme le mieux adapté à la nature de votre linge, conformez-vous aux indications figurant sur les étiquettes apposées sur la plupart des textiles.
| Tableau des programmes | Température (°C) | Charge de linge sec maxi pour lavage (kg) | Durée Hors Oprion (heure - minutes) | Options possibles | Charge de linge maxi pour séchage (kg) | Cycles enchâinés | |||||
| Prélavage | Intensif | Rincage+ | Séchage | Vapeur | Durée (*)Lavage + Séchage(heure - minutes) | ||||||
| U | U+ | ® | * | ® | |||||||
| Nature du textile | |||||||||||
| COTON / BLANC /COULEUR | -90° | 6 | 2h00 à2h30 | ● | ● | ● | ● | ● | 4 | 5h00 à 5h30 | |
| MIXTE | -Synthétique-Fibres mélangées | -60° | 3 | 1h45 à2h00 | ● | ● | ● | ● | ● | 3 | 3h45 à 4h00 |
| DELICAT / LAINE | -30° | 2 | 0h30 à0h45 | ● | Interdit | ||||||
| RINCAGE / ESSORAGE | 0h30 | Choisir la vitesse maxi supportée par le linge | |||||||||
| Programmes particuliers | |||||||||||
| OptiA 45min | -40° | 3 | 0h45 | ● | ● | ● | 3 | 3h00 à 3h15 | |||
| Chemises X'PRESS | 1h40 | ● | ● | Charge maxi : 1kg(3 chemises) | |||||||
| Programmes de séchage seul | |||||||||||
| Séchage "Fort":COTON / BLANC /COULEUR | 0h20 à3h00 | ● | ● | 4 | Sélectionner unedurée de séchage | ||||||
| Séchage "Doux":SYNTHETIQUE / DELICAT | 0h20 à3h00 | ● | ● | 3 | |||||||
| Programme "DEFROISSAGE VAPEUR" | |||||||||||
| Défroissage Vapeur | 0h35 | ● | Charge maxi : 3kg(1/2 tambour) | ||||||||
: Ces options peuvent etre utilisées seules ou cumulées - les combinaisons illogiques sont impossibles.
- Certainly options are imposées (ex : Chemises X'PRESS)
- Pour l'explication des différents programmes, se reporter au chapitre "DÉTAILS DES PROGRAMMES".
(^*) : Les durées affichées en début de programme correspondant à une charge maxi. Elles se réajustent en cours de cycle, en fonction de la charge de linge contenu dans le tambour.
Nota : Pour les instituts de contrôle : OptiA 45min = Programme coton 40^ court

Information :
Lechoix d'uneoptionmodifie ladurée ducycle,parexampie:
- Option Préavage: le cycle est rallongé de 17 à 33 minutes.
- Option Rincage+: le cycle est rallongé de 9 à 18 minutes.
- MODIFICATION D'UN PROGRAMME DE LAVAGE
- Pendant la programmation
Toutes les modifications de programme sont possibles tant que vous n'avez pas appuyé sur la touche "Départ/Pause" I→ F.
- Avec le départ du cycle
Après avoir appuyé sur la touche "Départ/Pause" I F si vous poulez modifier le type de textile (par exemple, passer de "Coton" à "Mixte", etc ...), il est impératif d'annuler le programme en cours. Pour cela, mettez le sélecteur de programme A sur la position "Arrêt".
Programmez ensuite votre nouveau besoin sans oublier de le valider en appuyant sur la touche "Départ/Pause" I F .
Nota: Si vous changez de programme sans annuler, la machine affiche alors :

Ceci indique que la nouvelle selection ne sera pas prise en compte.
Par contre, le cycle en cours n'est pas annulé et, si vous ramenez le sélecteur de programme A sur sa position initiale, ce cycle reprendra son cours normal.
Pendant tout le cycle
Selon votre modèle, les modifications suivantes sont possibles sans avoir à appuyer sur la touche "Départ/Pause" I F.
- Vous pouvez modifier la température de lavage pour une même type de textile.
Nota: Si la température atteinte par le cycle de lavage est plus élevé que votre nouveauchioix, le chauffage de l'eau est immediatement arrêté et le cycle continue. - Vous pouvez modifier les vitesses d'essorage.
- Vous pouvez selectionner un "Egouttage" ou un "Arrêt cuve pleine" pendant toute la durée du lavage.
-
Vous pouvez activer l'option (Rincage+) jusqu'au début du rincage (jusqu'a ce que le voyant "Rincage" s'allume).
-
Vous pouvez désactiver toutes les options pendant toute la durée du cycle dans la mesure où leur action n'est pas déjà terminée.
-
Pendant la période precedant le départ effectif du cycle (lorsque vous avez choisi de retarder votre lavage).
- Toutes les modifications de programme sont prises en compte pendant la période d'attente d'un départ différé.
- Vous pouvez modifier la durée du "Départ différé" pendant toute la période d'attente précédant le départ effectif du cycle. Pour cela, appuyez sur les touches Départ différé (+) ou (-) pour désirer une nouvelle valeur.
Nota :
- Pendant cette période, le besoin d'un nouveau temps annule la precedente selection. La nouvelle durée可以选择 est prise en compte à partir de la dernière selection.
-Si,pendant cette période,vous foulez annu-ler totalement le "départ differé",appuyez sur une des touches Départ differé (+) ou(-) E jusqu'à ce que levoyant "Départ differé" s'éteigne et que levoyant "Temps restant" s'allume.Ensuite,appuyez brievement sur la touche "Départ/Pause 1 F. Le cycle demarrera immediatement.
-Vous pouvez activer ou modifier les options (Vapeur), (Séchage), (Prélavage), Intensif) et (Rincage+) pendant toute la période d'attente d'un "Départ différé".
- En fin de cycle
Lorsque la machine affiche "StOP", vous pouvez programmer un nouveau cycle de lavage sans avoir à ramener le sélecteur de programme A sur la position "Arrêt".
La machine est alors prete pour une nouvelle programmation.
DÉTAILS DES PROGRAMMES
Le programme 3 en 1
Chemises X'PRESS
Ce programme spécifique avec vapeur vous permet de LAYER, SECHER et DEFROISSER 3 ou 4 chemises en 1 h 40.
Nota : Lors de ce programme, les options "Sechage" et "Vapeur" sont automatiquement selectionnées et sont non déverrouillables.
- Les programmes de lavage
OptiA 45min
Ce programme, à 40^ maxi, permet de laver en 45 minutes "chrono", une charge usuale de coton et linge mixte de 3kg , en garantissant un résultat de lavage parfait et une economie maxi-male d'énergie.
Coton
Pour une charge de linge composée de COTON (blanc résistant ou de couleurs).
Important: Si vous lavez du linge de couleur, ne dépassez pas la température de 60^ maxi.
Nota : Dans les premières minutes de ce programme, votre lave-linge estime automatiquement la charge de linge introduit. Il adapte en consquence la consommation d'eau et la durée du programme pour un lavage parfait. De ce fait, la durée affichée du temps restant peut varier notablement une fois cette mesure effectuee.
- Mixte
Pour une charge de linge composée de SYNTHÉTIQUES RÉSISTANTS ou FIBRES MÉLANGÉEES.
Délicat / Laine
Pour une charge de linge composée de VOILAGES, TEXTILES DÉLICATS, LINGE FRAGILE et LAINES "LAVABLES EN MACHINE".
Note: Programme avec action mécanique faîble, essorage très doux et cadences de brassage adaptées à la nature de ces textiles.
Rinçage / Essorage
Ce programme permet de rincer et d'essorer du linge à la vitesse de votrechoix. La phase de rinceage est suivie, auchoix :
-
soit d'un essorage avec vidange,
-
soit d'une vidange seule (option "Egouttage"),
-
soit d'un arrêt cuve pleine d'eau.

Important : Choisissez une vitesse d'essorage adaptée à la nature du langeur duit dans la machine.
- Les programmes de séchage enchainé
Pour une charge de 4kg maxi et accessibles par la touche d'options sechage, le cycle de sechage démarre après l'essorage et s'arrête automatiquement lorsque l'appareil a détecté que la charge est seché (cf chapitre "DETAILS DES OPTIONS - SECHAGE", page suivante).
-
Les programmes de séchage seul
-
Sechage Fort
Permet de secher une charge de coton (4 kg maxi) préalablement essorée. Choisissez une durée adaptée à la charge de linge et au degré de séchage souhaité.
- Sechage Doux
Permet de secher à une température réduite une charge de linge composée de synthétiques ou de fibres mélangées supporting le sechage en machine.
Nota: Evitez d'utiliser ce programme pour des textiles résistants.

Information :
Lors des programmes de séchage, la mise option "Séchage" est automatique-sélectionnée et est non déverrouillable.

Information :
Les programmes de séchage se terminent par une phase de refroidissement de quelques minutes afin de permettre le refroidissement progressif du linge.
- DÉTAILS DES PROGRAMMES (suite)
Le programme "Vapeur"
- Défroissage Vapeur
Ce programme vous permet de défloisser votre linge (lavé et séché) avant de le ranger ou de le repasser. L'action de la vapeur assouplit les fibres, adoucit le linge et facilite ainsi son repassage.
Nota : Pour bénéficier pleinement de l'effet vapeur, il est préférible d'effectuer ce programme juste avant le piage ou le repassage du linge.
DÉTAILS DES OPTIONS
- Préavage
Spécialement concu pour du linge souillé (boue, sang, etc ...).
Un premier brassage à froid spécifique précé de une phase de chauffage à 30^ . Ce brassage à froid permet d'enlever, avant chauffage, les particules souillant le linge.

Important :
Il est nécessaire, dans ce cas, de mettre aussi du détergent dans le bac " |" de la boite à produits.
- Intensif ^+
Cette option améliore les performances de lavage et permet, en augmentant automatiquement la température du bain de lavage ainsi que les temps de brassage, de traiter les taches rebelles réputées difficiles.
Rinçage plus
"Spécial peaux sensibles et allergiques":permet d'ajouter un rincage supplémentaire au cycle de lavage.
- Sechage
Cette option vous permet d'enchainer un cycle de séchage à la suite du lavage. Elle se fait toujours en séchage FORT. Le programme s'arrête automatique lorsque l'appareil estimera que le linge est sec. Vous n'avez donc pas à programmer de durée de séchage.
Vapeur
Cette option n'est possible qu'après un séchage enchaine (option selectionné) ou pour terminer un programme de séchage seul ("Sechage Fort" ou "Sechage Doux"). Elle vous permet de défroisser et d'assouplir le linge séché en machine : le linge est plus doux et plus facile à repasser.

Conseil :
A la fin d'un cycle "vapeur" la température du linge est relativement élevé. Il est préféable d'attendre 1 ou 2 minutes avant de sortir le linge du tambour.
- PROGRAMME POUR LES ESSAIS COMPARATIFS ET NORMALISÉS
- Lavage :
Coton - 60°C - 6kg - Sans option - Essorage maxi
- Sechage :
Coton - Sechage Fort - 4kg
- Caracteristiques :
230V - 50Hz - 10A - 2200W.
Pour l'annexe écrite sur l'étiquette énergétique, les tests sont faits selon la directive européen 96/60/CE.
4 / PROGRAMMATION DE VOTRE APPAREIL
AUTRES FONCTIONS
- Mémorisation Active
Votre lave-linge memorise vos habitudes de lavage. Pour chaque départ de programme, il enregistre la température, la vitesse et les options que vous utilisez le plus souvent et vous les proposede s la mise sous tension.

Important :
A la mise en service de votre apparéil, il vous proposera, pour chaque programme, les paramètres du constructeur, mais il s'adaptera, après quelques cycles, à vos propres réglages.
- Égoutage 110
Cette fonction, pour du linge très délicat, permet de supprimer l'essorage et de passer directement à la vidange du lave-linge.
- Arrét cuve pleine L-J
Cette fonction permet de retarder du linge de votre machine avant la phase d'essorage ou de différer cette phase ; ceci permettant à votre linge de rester dans l'eau afin d'éviter le froissage des textiles.
Nota : Lorsque la machine est arrêtée cuve pleine d'eau, le voyant de déroulement de cycle "Lavage" ⑤ et l'indicateur de temps restant clignotent alternativement. L'afficheur ④ indique "00:00".

Ensuite :
- soit vous désirez faire une vidange avec essorage.
Dans ce cas, choisissez une vitesse d'essorage adaptée à la nature du linge, à l'aide de la touche "Essorage" ⑨ ⑩.
Appuyez sur la touche "Départ/Pause" Le programme se terminera automatique-ment.
- Indication du Temps restant
Pendant la programmation, l'afficheur ③
vous indique la durée estimée du programme, pour une charge standard (*)
(*) Le temps indiqué par la machine en début de programme peut varier en cours de cycle : -Après estimation de la charge de linge continue dans le tambour.
-
Si vous changez la température de lavage (meme pendant l'essorage), si vous ajoutez ou supprimez des options, le temps sera recalculé et mis à jour sur l'afficheur.
-
soit vous désirez faire une vidange seule.
Dans ce cas, à l'aide de la touche Essorage 9 ,choisissez la fonction "Egouttage" (vitesse d'essorage "110").
Appuyez sur la touche "Départ/Pause" . Le programme se terminera automatique-ment.
-
En cours de cycle, l'afficheur ③ vous indi que en permanence le temps restant estimé avant la fin du cycle.
-
En cas de coupure de courant pendant la phase de lavage, au retour du courant le temps affché peut être inférieur à la durée réelle restante. Ce temps sera remis à jour au début de la phase de rinceage.
Information : Pour les progr
Pour les programmes avec séchage enchaine, le décomptage du temps restant (indicatif) reprend à 3h00 au début du programme de séchage.
4 / PROGRAMMATION DE VOTRE APPAREIL
AUTRES FONCTIONS (suite)
Départ différé
Vou avz la possibite de retarder le depart de voire programme afin de beneficier du tarif heures creuses ou d'eviter que le linge ne reste trop longtemps dans le tambour en fin de cycle.
Pour avoir accès à cette fonction, appuyez sur la touche Départ différé (+) (HCsynchro)
Voues aee alors acces a la fonction "Heures Creuses" (HC) et, en appuyant de nouveau sur cette touche, a la fonction "Heures Creuses Silence" (HSCS), puis au reglage manuel du temps devant s'ecouler avant le depart du cycle (1h, 2h, 3h ....).
Nota: La touche Départ différé (-) évous permet de revenir en arrêté en cours de réglage.
- Sélection "Heures Creuses" (HC)
En selection "Heures Creuses", les cycles de lavage se dérouleront toujours pendant les périodes heures creuses du réseau (en milieu de nuit si vous ne modifiez pas la configuration AUTO d'origine. Voir réglage, page suivante).
- Sélection "Heures Creuses Silence" (HCS)
Identique à la selection "Heures Creuses" à l'exception de l'arrêt du cycle avant l'essorage final, afin d'éviter le bruit géné par l'essorage durant la nuit.

Important :
33Après un cycle effectué en selection "Heures Creuses Silence",vous devrez,le lendemain,seLECTIONner une vitesse d'essorage pour pouvoir terminer ce cycle.
Pour ces deux sélections, il est recommandé, si vous le connaissiez, de renseigner votre code tarifique "Heures Creuses" (voir page suivante, "Configuration de la fonction "Heures Creuses").
- Sélection manuelle du département différé
Il vous est possible de désirir vous-même le temps devant s'écouler avant le départ effectif du cycle (le réglage se fait d'heure en heures).
Nota: Le temps restant avant le départ du cycle est décompté d'hour en heures jusqu'à 1 heures, puis de minute en minute entre 59 minutes et 1 minute.
Information :
Durant toute la période d'attente, 4 petits segments s'allument successivement.
A la fin de la période d'attente, le programme démarre et la machine décompte le temps restant avant la fin du cycle.
AUTRES FONCTIONS (suite)
- Configuration de la fonction "Heures Creuses"
Ceci vous permet de renseigner votre code tariffaire "Heures Creuses".
Le fait de renseigner votre code tarifaire permet au cycle de démarrer à l'heure exacte du basculement vers le tarif "Heures Creuses".
Pour configurer la fonction "Heures Creuses" (HC et HCS), appuyez simultanément sur les deux touches Départ différé (+) et (-) pendant quelques secondes.

-La machine yous propose d'office le mode "Auto".
Nota:
- Si vous ne connaissiez pas votre code tarifique "Heures Creuses", nous vous conseillons de rester en mode "Auto" (qui correspond à un départ de cycle en milieu de nuit).
- Vous avez la possibilité d'utiliser la fonction "Heures Creuses" pour programmer un cycle de lavage la nuit, même si vous ne bénéficiaz pas de l'abonnement "Heures Creuses".
Important: A la première
"Auto", la machine va tester en permanence le réseau pour s'aligner sur le bon code. Il est possible alors, que le cycle de lavage ne démarre pas dans un-delai raisonnable. Nous vous conseillons dans ce cas, de laisser votre machine sous tension pendant 24 heures, sans annuler ou modifier votre programme, ceci afin de lui laisser le temps de balayer toute les plages "Heures Creuses" et lui permette de s'aligner sur le bon code.
-
Par contre, si vous connaissiez votre code (A, C, D, E ou Y), vous pouver le scélectionner à l'aide des touches Départ différé E (+) et (-).
-
Toujours à l'aide des touches Départ différé (+) et (-), vous avez aussi la possibilité de supprimer l'accès à la fonction "Heures Creuses" (OFF).
Nota: Dans ce cas, chaque fois que vous voudrez faire un départ différé, vous n'aurez plus accès aux fonctions HC et HCS, même si vous bénéficiaz d'un abonnement "Heures Creuses".
Vous conservez, tout de même, la possibilité de régler manuellement libre "Départ différé".
- Lorsque vous avez sélectionné l'options qui vous convient, validez votre choix en appuyant sur la touche "Départ/Pause" 1→ F.
Important :
Si vous bénéficiaz d'un abonnement avec Heures Creuses de jour, il est impératif, pour vous, de renseigner votre code tarifaire si vous foulez que le programme démarre pendant la période Heures Creuses de jour.
Information :
Pour connaître votre code tarifaire, si vous possédez un compteur à affichage électronique, il vous suffit d'appuyer sur la touche "SELECTION" de votre compteur jusqu'à ce qu'apparaisse un message de ce type: HC A.
La lettuce qui suit l'indication "HC" vous donne votre code tarifaire.
Si vous ne possédez pas ce type de compteur, renseignez-vous auprès de votre fournisseur d'électricité.
- Nettoyage de la boite à produits
Nettoyez regulierement la boite a produits. Pour cela :
- Manoeuvrez le bouton vers l'avant et retirez la boite vers le haut (Fig. 18).
- Passez l'ensemble sour le robinet d'eau chaudi pour nettoyez parfaitement l'intérieur des bacs et des canaux d'entrée d'eau.
- Pour faciliter le nettoyage du bac assouplissant, ce dernier possede un siphon amovible (piece de couleur). Veuillez à le repositionner parfaitement après le nettoyage.
- Remettez ensuite l'ensemble de la boite à produits dans son logement en vous assurant qu'elle est bien positionnée.
- Nettoyage du filtr de pompe
Important :
Si vous ne nettoyez pas régulierement le filtr de pompe, les performances de votre machine risquent d'en être affectées.
Important :
Effectuez préalablement une vidange, puis débranchez la prise de courant.
Pour nettoyer le filtr de pompe :
- Retirez la plinthe (Fig. 19).
- Placez un réseau plat sous l'accès à la pompe.
-Si voire apparéil en est muni, sortez le tuyau de purgege en déclippant le bouchon du socle (Fig. 20).
-Ouvre le bouchon à l'extrémité du tuyau et laissez l'eau s'écouler dans le recipient (Fig. 20). - Refermez le bouchon en veillant à ce qu'il soit bien enforcé et reclippez-le dans le socle.
- Devissez le bouchon du filtré de la pompe de vidange (Fig. 21).
-Nettoyez le fille. - Pour le remettre en place, engagez-le en orientant, vers le haut, le petit ergot qui est sur la surface cylindrique (Fig. 22).
- Revissez le bouchon à fond (Fig. 22).
- Remontez la plinthe comme à l'origine.
Important :
Lors du lavage suivant, vérifie qu'il n'y ait aucune fuite au moment du replissage.





5 / ENTRETIEN COURANT DE VOTRE APPAREIL
- Accès au fond de la cuve
Démontage de l'aube du tambour :
Dans le cas où une piece de linge tombe entre le tambour et la cuve :
-Fermez let tambour après l'avoir vide.
- Faites tourner le tambour jusqu'à la fixation de l'aube.
- Devissez et retirez les 2 vis A (empreinte TORX T20), l'aube tombe dans le tambour. Prenez la précaution demettre une serviette éponge pour amortir sa chute (Fig. 23).
- Retournez et ouvre le tambour.
- Récupérez la piece tombée par les ouvertures libérées par le retrait de l'aube.
- Pour le remontage, engagez l'aube, de l'avant vers l'arrière, sur sa partie réceptrice.
-Fermez et tournez le tambour.
- Retenez l'aube pendant que vous remettez les vis.
Nettoyage du filtr de séchage
(Pour les machines lavante-sechantes uniquement).
Important :
Le filtré doit être nettoyé après chaque cycle de sechage.
Ce filtré a pour but de retenir les peluches qui se forment pendant le séchage, afin qu'elles ne repartent pas dans le circuit d'air.
Pour le nettoyer, procédez comme suit :
- ouvre le couvercle de l'appareil.
- la manette du filtr se situe a droite, pres de l'ouverture du tambour.
- enlevez le filtrte de son logement en le tirant vers vous (Fig. 24).
- nettoyez-le à sec en le débarrassant de la mince couche de peluche qui le recouvre.
- remettez-le en place dans son logement en le poussant bien à fond.

Fig.23

5 / ENTRETIEN COURANT DE VOTRE APPAREIL
- Nettoyage de votre(APpeareil
Important:
Pour le nettoyage du tableau de bord, de l'accès au tambour et de la carrosserie, utilisez une éponge ou un chiffon humidifié avec de l'eau et du savon liquide uniquement.
Dans tous les cas, proscire (Fig. 25):
- Les poudres abrasives
- Les éponges métalliques ou plastiques
- Les produits à base d'alcool (alcool, diluant etc...)

Pour préserver votre apparéil, nous vous recommendons d'utiliser les produits d'entretien Clearit.

L'expertise des professionnelles au service des particuliers
Clearit you propose des produits professionnels et des solutions adaptées pour l'entretien quotidien de vos appeareils electroménagers et de vos cuisines.
Vou les trouvez en vente chez votre revendeur habitual, ainsi que toute une ligne de produits accessoires et consommables.
- ENTRETIENS DIVERS
- Entretien des pieces internes
Pour garantir une(Meilleure hygiène,nousyourexecmandons:
- de laisser le couvercle ouvert quelques temps après le lavage.
- de nettoyez, environ une fois par mois, les parties en plastique et en caoutchouc de l'accès à la cuve, à l'aide d'un produit légersement chloré. Pour éliminer tous les résidus de ce produit, effectuez un rincage.
- de faire un cycle de lavage à 90^ au moins une fois par mois.
- Verifications périodes
Nous vous recommendons de vérifier l'état des tuyaux d'arrivée d'eau et de vidange. Si vous constatez le moindre fendilitation, n'hésitez pas à les replacer par des tuyaux identiques disponibles auprès du fabriquant ou de son Service Àpre-Ventes.
- Remplacement du tuyau d'alimentation en eau
Au moment du changement, veillez au bon serrage et à la présence du joint aux deux extrémités.
- Remplacement du cordon d'alimentation électrique
Important: Pour votre sécurité, cette opération doit impératifement être effectuee par le service après-vente du fabricant ou un professionnel qualifie.
Risque de gel
En cas de risque de gel, débranchez le tuyau d'arrivée d'eau et vidangez l'eau qui pourrait subsister dans le tuyau de vidange en plaçant ce dernier le plus bas possible dans une cuvette.
- SÉCURITES AUTOMATIQUES
- Sécurité d'ouverture du couvercle
- Dès que le cycle de lavage a démarré, le couvercle de votre apparéil se verrouille.
- Dès que le cycle est terminé ou lorsque la machine est arrêtée cuve pleine d'eau, le couvercle se déverrouille.
-Si vous avezprogramme un"Depart differé, le couvercle n'est pas verrouillé pendant toute la période d'attente precedant le départ du cycle. - Si vous souhaitez ouvrir le couvercle pendant le cycle, appuyez brievement sur la touche "Départ/Pause" F et attendez au moins 1 à 2 minutes afin que la sécurité du couvercle se déverrouille.
Important: Selon le moment du cycle ou vous désirez ouvrir le couvercle, ce délambda peut être plus long car il faut lui ajouter une période de refroidissement.
En effet, en cours de cycle, pour que la sécurité du couvercle se déverrouille, la température interieure de la machine ne doit pas dépasser un certain seuil, ceci afin de vous éviter des brûlures graves.
- Sécurité anti-mousse
Votre lave-linge sait détecter une tropfteproduction de mousse lors de I'essorage.
A ce moment-là, l'essorage s'arrête et la machine est vidangée.
Ensuite, le cycle reprend son cours en adap-. tant les cadences d'essorage et en ajoutant eventuellement un rincage supplémentaire.
- Sécurité des eaux
En cours de fonctionnement, le contrôle permanent du niveau d'eau prévient tout débordement eventuel.
- Sécurité d'essorage
Votre lave-linge est équipé d'une sécurité qui peut limiter l'essorage lorsqu'une mauvaise répartition de la charge est détectée.
Dans ce cas, votre linge peut être insuffis-mentation essore. Répartisse alors, uniformément libre linge dans le tambour et programmez un nouvel essorage.

Conseil :
Quelques incidents peuvent survenir lors de l'utilisation de votre lave-linge, voici des points à vérifier.
| Problèmes : | Causes possibles / Remèdes : |
| Le cycle ne démarre pas : | - vous avez omis d'appuyer sur la touche "Départ" - l'appareil n'est plus alimenté en électricité : - vérifie si la prise de courant est correctement branchée - vérifie le disjoncteur, les fusibles - le robinet d'acciviée d'eau est fermé (d01) - le couvercle de l'appareil est mal fermé (d07) - la fonction pause est activée |
| Les touches sensitives sont inacti-ves : | - la "Sécurité Enfant" est activée : désactivez-la en appuyant sur les touches correspondantes |
| L'afficheur est étéint : | - vérifie si la prise de courant est correctement branchée - vérifie si le disjoncteur est enclenché - votre apparéil est en phase "Economies d'énergie" (extinction de l'affichage après 1h sans manipulation) |
| Fortes vibrations lors de l'essorage : | - votre apparéil n'a pas été correctement débridé : vérifie si toutes les cales servant au transport ont bien été retirees - le sol sol n'es pas horizontal - votre apparéil n'est pas stable sur ses 4 pieds : ajus- tez-le réglage des pieds |
| Une flaque d'eau se forme autour de la machine : | Danger : Retirez tout d'abord la prise de cou- rant ou coupez le fusible correspondant et fer- mez le robinet d'acciviée d'eau. Pendant le fonctionnement de l' apparéil, le contrôle constant du niveau empêche l'eau de déborder. Si, mal- gré cela, de l'eau sort de la machine, il se peut que : - la crosse de vidange soit mal positionnée dans le conduit d'évacuation - les raccordements du tuyau d'alimentation en eau sur la machine et sur le robinet ne soient pasétanches : vérifie la présence des joints ainsi que le serrage des raccords - Nota : excès de mousse a pu provoquer un débor- dement du trop plein : dans ce cas (fuite faible), essayez de reprogrammer un cycle sous surveillance et en réduisant la dessive. Si la fuite se produit, contactez votre ServiceAprès-Vente |
6 / INCIDENTS POUVANT SURVENIR

Important :
De maniere generale et quelle que soit l'anomalie constatée, il convient d'arreter la machine, de débrancher le cordon d'alimentation électrique et de fermer le robinet d'arrivee d'eau.
| Problèmes : | Causes possibles / Remèdes : |
| La machine ne vidange pas : | - vous avez programmé un "Arrêt cuve pleine" - la pompe ou le filtre de vidange sont obstrués : nettoyez ces derniers - le tuyau d'évacuation est plié ou écrasé |
| Le linge n'est pas essoré ou est insuffisamment essoré : | - vous avez sélectionné un programme sans essorage, par exemple "Egouttage" - La sécurité d'essorage a déetecté une mauvaise répartition du linge dans le tambour : détassez le linge etprogrammez un nouvel essorage |
| Le couvercle ne s'ouvre pas : | - le programme n'est pas encore terminé : le couvercle reste verrouillé pendant toute la durée du programme, et tant que la température de la machine reste trop élevé (cela peut prendre quelques minutes) |
| Le cycle de séchage ne démarre pas : | - vous n'avez pas sélectionné la durée ou l'option de séchage - la charge estimée est trop importante pour enchaîner le séchage automatiquement (affichage d'un "4" cli-gnotant) |
| Le linge ne présente pas le degré de séchage souhaïte : | - le programme de séchage choisi n'est pas adapté à la nature du linge introduit dans la machine (Attention aux informations données par les étiquettes cousues sur les vêtements) - le temps de séchage sélectionné n'est pas adapté : augmentez ou diminuez le temps de séchage en fonction du degré d'humidité souhaïte - la charge de linge séché est supérieure à la charge maximale autorisée (voir D'étermination de la charge de linge dans le chapitre "LE TRI DU LINGE" et les charges maximales autorisées dans le tableau de programme) - le linge à secher n'avait pas été suffisamment essoré - lors d'un programme de lavage avec un séchage enchaîné : la charge de linge n'était pas suffisamment homogène. La détection automatique de fin de séchage a arrêté le séchage prématurément. |
| Vous vouliez faire un lavage seul, mais un cycle de séchage s'en-chaine automatiquement : | - vous avez sélectionné l'option "Séchage" |
6 / INCIDENTS POUVANT SURVENIR
- INCIDENTS SIGNALÉS DEPANNABLES PAR VOUS-MÉME
Votre appareil detecte de lui-même certains incidents de fonctionnement et vous le signale par des messages particuliers qui apparaissent sur l'afficheur. Nous vous expliquons ci-dessous, comment remédier vous-même, et très facilement, à ces incidents :
| Messages | Causes / Remèdes |
| d01 | Défaut de replissage. Vérifiez l'ouverture du robinet d'arrivée d'eau, puis appuyez de nouveau sur la touche "Départ" pour relancer le cycle. |
| d02 | Défaut de vidange. Nettoyez le filtre de pompe (voir façon de procéder dans le châpitre "ENTRETIEN COURANT : Nettoyage du filtre"), puis appuyez de nouveau sur la touche "Départ" pour relancer le cycle. |
| d07 | Défaut de verrouillage du couvercle. Verifiez la fermeture du couvercle, puis appuyez de nouveau sur la touche "Départ" pour relancer le cycle. |
| 4 | Détection d'une charge trop importante pour effectuer un séchage enchaine. Réduisez la charge de linge et relancez le séchage. |

Important :
Si vous n'avez pu dépanner vous-même un des incidents ci-dessus, appeleznez votre dépanneur sans oublier de lui communiquer le message affché (d01, d02,...) afin de lui faciliter la tâche.

Conseil :
S'il s'est produit un incident de fonctionnement qui n'entre pas dans les cas cités ci-dessus, avant d'appeler un dépanneur, nous vous conseillons de procéder comme suit :
-
mettez le sélecteur de programme sur la position "0" et débranchez la prise de courant pendant au moins 10 secondes.
-
rebranche la prise et relancez un cycle de lavage.
Si le défaut persiste,appelez-vous dépanneur.

Important :
Ne pas relancer de cycle de lavage, quand le tambour reste bloqué ou si vous constazez la présence d'eau au contrair de votre machine ou encore si vous constazez une oedur de brûlé.
Notice Facile