MODE D'EMPLOI BDP-LX55 PIONEER
Ce symbole de l'éclair, placé dans un triangle équilatéral, a pour but d'attirer l'attention de l'utilisateur sur la présence, à l'intérieur du coffret de l'appareil, de "tensions dangereuses" non isolées d'une grandeur suffisante pour représentier un risque d'électrocution pour les étres humains.
ATTENTION
DANGER D'ELECTROCUTION
NE PAS OUVRIR

ATTENTION:
POUR EVITER TOUT RISQUE D'ÉLECTROCUTION, NE PAS ENLEVER LE COUVERCLE (NI LE PANNEAU ARRIÈRE). AUCUNE PILÉ REPERTABABLE PAR L'UTILISATEUR NE SE TROUVE À L'INTERIEUR. CONFIER TOUT RETIRENT À UN PERSONNEL QUALIFIÉ UNIQUEMENT.
Ce point d'exclamation, placé dans un triangle équilatéral, a pour but d'attirrer l'attention de l'utilisateur sur la présence, dans les documents qui accompagnent l'apparè, d'explications importantes du point de vue de l'exploitation ou de l'entretien.
D3-4-2-1-A1_Fr
AVERTISSEMENT
Cet apparéil n'est pas étanche. Pour éviter les risques d'incendie et de décharge électrique, ne placez près de lui un recipient rempli d'eau, tel qu'un vase ou un pot de fleurs, et ne l'expose pas à des gouttes d'eau, des éclaboussures, de la pluie ou de l'humidity.
D3-4-2-1-3_A1_Fr
AVERTISSEMENT
Avant de brancher l'appareil pour la première, liquez attentivement la section suivante.
La tension de l'alimentation électrique disponible varie selon le pays ou la région. Assurez-vous que la tension du secteur de la région où l'appareil sera utilisé correspond à la tension requise (par ex. 230 V ou 120 V), indiquée sur le panneau arrêté.
D3-4-2-1-4*A1Fr
PRECAUTION DE VENTILATION
Lors de l'installation de l'appareil, veillez à laisser un espace suffisant aujourd'hui des parois de manière à améliorer la dissipation de chaleur (au moins 40 cm sur le dessus, 10 cm à l'arrière et 20 cm de chaque côté).
AVERTISSEMENT
Les fentes et ouvertures du coffret sont prévues pour la ventilation, pour assurer un fonctionnement stable de l'appareil et pour éviter sa surchauffe. Pour éviter les risques d'incendie, ne bouchez jamais les ouvertures et ne les recouvre pas d'objets, tels que journaux, nappes ou rideaux, et n'utilise pas l'appareil posé sur un tapis écais ou un lit.
D3-4-2-1-7b* A1 Fr

AVERTISSEMENT
Pour évier les risques d'incendie, ne place aucune flamme rue (telle qu'une bougie allumée) sur l'appareil.
D3-4-2-1-7a_A1_Fr
Si la fiche d'alimentation secteur de cet apparéil ne convient pas à la prise secteur à utiliser, la fiche doit être replacée par une propriété. Ce remplacement et la fixation d'une fiche secteur sur le cordon d'alimentation de cet apparéil doivent être effectuels par un personnel de service qualifié. En cas de branchement sur une prise secteur, la fiche de coupure peut provoquer une sérieue décharge électrique. Assurez-vous qu'elle est éliminée correctement après sa dépose.
L'appareil doit être déconnecté en débranchant sa fiche secteur au niveau de la prise murale si vous prévoyez une période prolongée de non'utilisation (par exemple avant un départ en vacances).
D3-4-2-2-1a_A1_Fr
ATTENTION
L'interrupteur O STANDBY/ON de cet apparéil ne couce pas complètement celui-ci de sa prise secteur. Comme le cordon d'alimentation fait office de dispositif de déconnexion du secteur, il devra être débranché au niveau de la prise secteur pour que l'apparéil soit complètement hors tension. Par conséquent, veillez à installer l' apparéil de telle manière que son cordon d'alimentation puisse être facilement débranché de la prise secteur en cas d'accident. Pour évier tout risque d'incendie, le cordon d'alimentation sera débranché au niveau de la prise secteur si vous prévoyez une période prolongée de non'utilisation (par exemple avant un départ en vacances).
D3-4-2-2-2a*A1_Fr
(Marquage pour les équipements)


Ces symboles qui figurent sur les produits, les emballages et/ou les documents d'accompagnement significant que les équipements électriques et Electroniques et batteries usages ne doivent pas été jetés avec les déchets menagers et font l'objet d'une collecte sélective.
Pour assurer l'enlèvement et le traitement appropriés des produits et batteries usages, merci de les returner dans les points de collecte sélectiveabilités conformément à la législation locale en vigueur.
(Exemples de marquage pour les batteries)
En respectant les circuits de collecte sélective mis en place pour ces produits, vous contribuérèz à economiser des ressources précieuses et à prévenir les impacts négatifs éventuels sur la santé humaine et l'environnement qui pourraités résulter d'une mauvaise gestion des déchets.


Pb
Pour plus d'information sur la collecte et le traitement des produits et batteries usages, veillez contacter votre municipalité, votre service de gestion des déchets ou le point de vente chez qui vous avez achetièces produits.
Ces symboles ne sont valables que dans les pays de l'Union Européenne.
Pour les pays n'appartenant pas à l'Union Européenne :
Si vous souhaitez jeter ces articles, veuillez contacter les autorités ou revendeurs locaux pour connaître les méthodes d'élimination appropriées.
K058a_A1_Fr
Ce produit est destiné à une utilisation domestique générale. Toute panne due à une utilisation autre qu'à des fins privées ( comme une utilisation à des fins commerciales dans un restaurant, dans un autocar ou sur un bateau) et qui nécessite une réparation sera aux frais du client, même pendant la période de garantie.
K041_A1_Fr
Milieu de fonctionnement
Température et humidité du milieu de fonctionnement : De +5 °C à +35 °C (de +41 °F à +95 °F) ; Humidité relative inférieure à 85 % (orifices de ventilation non obstrués)
N'installez pas l'appareil dans un endroit mal ventile ou un lieu soumis à une force humidité ou en plein soleil (ou à une force lumière artificielle).
D3-4-2-1-7c*A1Fr
Traduction de l'étiquette collée sur le panneau avant

Nous vous remercions d'avoir acheté ce produit Pioneer. Veuillez lire soigneusement ce mode d'emploi. Vous saurez ainsi comment utiliser votre apparéil correctement. Àpès avoir terminé de lire le mode d'emploi, rangez-les dans un endroit sur pour pouvoir vous y référer ultérieurement.
Table des matières
01 Avant de commencer
Notre philosophie 6
Charactéristiques 6
Vérification du contenu de la boîte 6
Installation du récepteur 6
Mise en place des piles 6
Portee de la télécommande. 7
À propos de l'AVNavigator
(CD-ROM inclus) 7
02 Commandes et affichages
Télécommande 9
Afficheur. 10
Panneau avant. 11
03 Raccordement de votre équipement
Raccordement de votre équipement 12
Panneau arrriere 12
Determination des enceintes à utiliser .... 13
Disposition des enceintes. 14
Raccordement des enceintes 14
Installation de votre système
d'enceintes. 15
Selection du système d'enceintes 16
A propos de la liaison audio 17
À propos du convertisseur videoe. 17
A propos de l'HDMI 18
Raccordement d'un téléviseur ou de lecteurs 19
Raccordement d'un enregistreur HDD/
DVD, d'un enregistreur BD et d'autres sources video 20
Connexion d'un récepteur satellite/
cable ou d'un autre type de décembre 21
Raccordement d'autres composants audio 21
Connexion d'autres amplificateurs 22
Raccordement des antennes AM/FM 22
Configuration MULTI-ZONE 23
Raccordement au réseau par l'interface LAN 23
Raccordement d'un ADAPTATEUR
Bluetooth en option 24
Raccordement d'un iPod 24
Raccordement d'un dispositif USB 24
Raccordement d'un composant pourvu d'une prise HDMI à l'entrée du panneau avant 24
Raccordement à un réseau LAN sans fil....24
Raccordement d'un recepteur infrarouge 25
Fonctionnement d'autres composants
Pioneer avec le capteur de cette unité ..... 25
Mise sous/hors tension de composants avec le déclencheur 12 volts. 26
Branchement du récepteur 26
04 Configuration de base
Réglage de l'impédance des enceintes .... 27
Changement de la langue de l'affichage sur écran (OSD Language) 27
Obtention automatique d'un réglage sonore optimal (Full Auto MCACC). 27
Le menu Input Setup. 29
Configuration du mode de fonctionnement 30
05 Lecture de base
Lecture d'une source 31
Lecture d'un iPod 31
Lecture d'un dispositif USB 32
Écoute de la radio 34
ADAPTATEUR Bluetooth pour l'écoute de musique sans fil 35
06 Écoute par votre système
Écoute de sources variées grâce aux divers modes d'écoute 38
Selection des preréglages MCACC. 40
Choix du signal d'entrée 40
Contrôle de phase pour un son de
meilleure qualite 40
Amélioration du son avec le contrôle de phase et le contrôle de phase pleine bande. 41
Utilisation de Home Media Gallery 42
Caracteristiques de Home Media Gallery. 42
Introduction 42
Lecture avec Home Media Gallery 43
Fonctions avancées de radio Internet 44
A propos de la lecture en reseau. 44
A propos des formats de fichiers lisibles ... 46
08 Commande par l'HDMI
À propos de la commande par l'HDMI...... 47
Raccordements pour la Commande par l'HDMI. 47
Réglage de l'HDMI 47
Avant la synchronisation 48
A propos des opérations synchronisées.... 48
Réglage de la fonction PQLS 48
Précautions concerning la fonction
Commande par l'HDMI. 49
09 Utilisation d'autres fonctions
Réglage des options audio 50
Réglages des options video 52
Commutation du bornes d'enceintes... 53
Utilisation des commandes
MULTI-ZONE 54
Réalisation d'un enregistrement audio ou video. 54
Réduction du niveau d'un signal
analogique 55
Utilisation de la minuterie sommeil. 55
Régler la luminosité de l'afficheur 55
Commutation de la sortie HDMI 55
Vérification des réglages de votre
systeme. 55
Réinitialisation du système. 55
10 Commander le reste de votre système
À propos du menu de configuration de la télécommande. 57
Exploitation de plusieurs récepteurs 57
Réglage de la télécommande pour la commande d'autres composants. 57
Sélection directe des codes de préréglage 58
Programmation de signaux depuis d'autres télécommandes. 58
Effacement de la programmation d'une touche de la télécommande. 59
Effacement de tous les réglages appris pour une fonction d'entrée 59
Fonction directe 59
Réglage du mode d'éclairage. 59
Serie d'opérations et Extinction automatique de la chaîne 59
Réinitialisation des réglages de la télécommande 60
Commandedescomposants 61
Réglages du récepteur depuis le menu MCACC avancé 64
MCACC automatique (Expert) 64
Configuration MCACC manuelle 66
Vérification des données MCACC. 69
Gestion des données 70
système et d'autres configurations
Réglages du récepteur depuis le menu de Configuration du système 72
Configuration manuelle des enceintes .... 72
Menu de configuration du réseau. 75
Vérification des informations concernant le réseau 77
MenuAutre configuration 77
Guide de dépannage 1 79
Guide de dépannage 2 86
Guide de dépannage du réseau LAN sans fil. 89
À propos des messages d'été 90
Réglage des enceintes 90
Informations importantes concernant la liaison HDMI 91
Nettoyage de I'appareil 91
Déclaration de conformité à la Directive R&TTE 1999/5/EC 92
Formats de son surround 93
A propos de THX 93
A propos de I'Pod. 94
A propos de FLAC 94
Surround automatique, ALC et flux direct avec différents formats de signal d'entrée. 95
Glossaire 96
Index des fonctions 99
Specifications 100
Listedes codes prereglés 101
Organigramme des réglages sur le récepteur
Organigramme pour les raccordements réglages du récepteur
Cet apparéil est un récepteur AV à part entière représentant un grand nombre de fonctions et de prises. Il peut être utilisé facilement lorsque les raccordements et les réglages mentionnés ci-dessous ont été effectués.
Point de réglage nécessaire: 1, 2, 3, 4, 6, 8, 10
Réglage à effectuer si nécessaire: 5, 7, 9, 11, 12, 13, 14

Important
Les réglages initiaux du récepteur peuvent être effectuels sur l'ordinateur à l'aide de Wiring Navi sur le CD-ROM AVNavigator livré avec le récepteur. Dans ce cas, pratiquement les mêmes raccordements et réglages que ceux mentionnés aux étapes 2, 3, 4, 6, 7, 8 et 9 peuvent être effectuels de manière interactive. Pour les instructions concernant l'emploi de l'AVNavigator, consultez la section À propos de l'AVNavigator (CD-ROM inclus) à la page 7.
1 Avant de commencer
- Vérification du contenu de la boîte à la page 6
- Mise en place des piles à la page 6
2 Detemination de I'application des enceintes (page 13)
- Systeme surround 7.2 canaux (Avant Haut)
- Système surround 7.2 canaux (Avant Large)
- Système surround 7.2 canaux et raccordement des enceintes B
- Système surround 5.2 canaux et raccordement avant pour la double amplification (Surrounder haute qualité)
- Système surround 5.2 canaux et raccordement de la ZONE 2 (Multizone)
3 Raccordement des enceintes
Disposition des enceintes à la page 14
Raccordement des enceintes à la page 14
Installation de votre système d'enceintes à la page 15
Double amplification des enceintes à la page 16
4 Raccordement des composants
- À propos de la liaison audio à la page 17
- À propos du convertisseur video à la page 17
Raccordement d'un téléviseur ou de lecteurs à la page 19
Raccordement des antennes AM/FM à la page 22
- Branchement du récepteur à la page 26

5Réglage de l'impédance des enceintes (page 27)
(Seulement si les enceintes raccordées ont une impédance de 6 Ω à 8 Ω)

6 Mise sous tension

7 Changement de la langue de l'affichage sur écran (OSD Language) (page 27)

8 Réglages des enceintes MCACC
- Obtention automatique d'un réglage sonore optimal (Full Auto MCACC) à la page 27

9 Le menu Input Setup (page 29)
(Si vous voulez effectuer d'autres liaisons que celles recommendées)

10 Lecture de base (page 31)

11 Commutation de la sortie HDMI (page 55)

12 Réglage de la qualité du son et de l'image selon ses préférences
- Utilisation des divers modes d'écoute (page 38)
- Contrôle de phase pour un son de meilleure qualité (page 40)
- Amélioration du son avec le contrôle de phase et le contrôle de phase pleine bande (page 41)
- Mesure de toutes les courbes d'égalisation (SYMMETRY/ALL CH ADJ/FRONT ALIGN) (page 64)
- Changement du niveau des canaux pendant l'écoute (page 74)
- Mise en ou hors service de l'égaliser du calibrage acoustique, de la correction automatique du son ou de l'optimisation des dialogues (page 50)
Réglage de la fonction PQLS (page 48)
Réglage des options audio (page 50)
- Régliages des options video (page 52)

13 Autres ajustements et réglages facultatifs
Commande par l'HDMI (page 47)
Le menu MCACC avancé (page 64)
- Menu de configuration du système et d'autres configurations (page 72)

14 Utilisation optimale de la télécommande
- Exploitation de plusieurs récepteurs (page 57)
- Réglage de la télécommande pour la commande d'autres composants (page 57)
Avant de commencer
Notre philosophie
Pioneer s'engage à vous proposer des systèmes home cinéma dont les caractéristiques sonores se rapprochent le plus possible des aspirations des réalisateurs et de l'ingénieur en matricage lorsqu'ils ont élaboré la bande sonore originale. Nous y parvenons en nous concentrant sur trois étapes essentielles :
1 Concevoir avec des composants sclectionnés avec soin un apparéil capable de restituer avec précision la bande sonore originale
2 Permettre un calibrage acoustique personnelisé pour n'importe que zone d'écoute
3 Permettre une diffusion radio attachante
\section*{Caracteristique}
- HDMI (3D, Canal de(retour audio)
Pour utiliser cette fonction un composant compatible est nécessaire.
HOME MEDIA GALLERY
Ce récepteur peut dire les enregistrents sau-vegardés sur un ordinateur si celui-ci est relié au récepteur par la borne LAN.
- À propos du fonctionnement du récepteur avec un terminal mobile (iPod, iPhone, etc.)
Le récepteur peut être contrôle depuis le terminal mobile après avoir installé une application spéciale sur le terminal mobile. Pour le détail, reportez-vous aux informations produit sur le site Pioneer.
Cette application spéciale peut être changée ou arrêtée sans avis préalable.
Commande à distance depuis l'iPod touch, l'iPhone ou l'iPad
La commande depuis un iPod touch, iPhone ou iPad via un réseau LAN est possible en télé-chargeant une application originale Pioneer (iControlAV2) de l'iTunes Store.
AVNavigator
Le CD-ROM (AVNavigator) fourni avec ce produit offre une grande variété de fonctions, comme par exemple Wiring Navi avec un guide de connexion de l'appareil et d'installation depuis l'ordinateur et un Interactive Manual pour opérer sur l'appareil tout en lisant le manuel.
PQLS
Le raccordement d'un lecteur compatible PQLS par une liaison HDMI permet une lecture de grande qualite et sans fluctuation.
Votre iPod peut etre raccordé à la prise USB du récepteur pour la lecture des fichiers audio/ video sur l'iPod.
L'ipod est également chargé lorsqu'il est raccordé au récepteur.
- Conception à énergie directe avancée
Ce récepteur présente une nouvelle évolution de la conception discrète, caractéristique de Pioneer, dans le but d'augmenter la puissance, de réduire la distorsion et d'assurer une image sonore stable.
- Compatible Dolby Pro Logic IIz
L'adjonction d'une paire d'enceintes au-dessus des enceintes avant gauche et droite ajoute de l'expressivite dans le sens vertical au champ sonore antérieur oriente horizontally. Le canal haut renforce la sensation de tridimensionnalité et d'espace du champ
sonore, resultant en une(Meilleure presence et spatialisation.
Radio Internet
Raccordé au réseau par la borne LAN, ce récepteur permet d'écouter les stations radio Internet.
L'emploi de l'ADAPTATEUR Bluetooth (AS-BT100 ou AS-BT200) permet d'écouter les fichiers de musique enregistrés sur un iPhone ou un autre dispositif sans fil Bluetooth sans cable.
- Correction automatique du son
La correction automatique du sonemploi une technologie DSP pour rétablier la pression sonore et égaliser les irrégularités resultant de la compression.
- Configuration facile grâce à l'Advanced MCACC
La configuration MCACC automatique garantit une configuration rapide et précise du son surround. Celle-ci inclut les fonctions avances de l'égaliser du calibrage acoustique professionnel.
Vérification du contenu de la boîte
Veuillez vérifier que vous avez reçu tous les accessoires suivants :
- Microphone de configuration (cable: 5 m)
- Télecommande
- Piles sèches IEC R03 de taille AAA (pour vérifier si le système fonctionné) x 2
Antenne cadre AM
Antenne fil FM
Cable d'iPod
- Convertisseur LAN sans fil (AS-WL300) (VSX-LX55 seulment)
Guide rapide
—CD-ROM (Mode d'emploi)
Cable de liaison
Cordon d'alimentation
- CD-ROM (AVNavigator)
- Carte de garantie
Guide rapide
Installation du récepteur
- Veillez à bien installer cet apparéil sur une surface plane et stable.
- Ne l'installé pas aux endroits suivants :
—sur un téléviseur couleur (de la distorsion pourrait apparaitre sur l'image)
—pres d'une platine à cassette (ou pres d'un apparéil générant un champ magnétique). Ceci peut produit des interférences sonores.
—en plein soleil
—à un endroit humide
—à un endroit très chaud ou très froid
—à un endroit exposé à des vibrations ou d'autres mouvements
—à un endroit très poussiéreux
—à un endroit exposé aux fumées ou huiles chaudes (une cuisine, par exemple)
- Ne touche pas le panneau inférieur du récepteur lorsque celui-ci est allumé ou juste après son extinction. Le panneau inférieur devient très chaud lorsque le récepteur est allumé (ou juste après son extinction) et peut causer des brûlures.
Mise en place des piles
Les piles fournies avec l'appareil sont destinées à vérifier le bon fonctionnement de l'appareil et risquent de ne pas durer longtemps. Nous vous conseillons d'utiliser des piles alcalines dont l'autonomie est plus longue.


AVERTISSEMENT
- N'utilise pas ou ne rangez pas les piles en plein soleil ou à un endroit très chaud, comme dans une voiture ou pres d'un apparéil de chauffage. Les piles pourraient fair, surchauffer, exploser ou prendre feu. Cela peut aussi réduire leur durée de vie et leurs performances.

ATTENTION
Toute utilisation incorrecte des piles peut causer des accidents, comme une fuite ou une explosion. Prenez les précautions suivantes :
- N'utilisez jamais une pile neuve avec une pile usagée.
- Insérez correctement les pôles positif et négatif des piles en suivant les marques du boîtier.
- Des piles de forme identique peuvent avoir des tensions différentes. Utilisez uniquement des piles de même type.
- Lorsque vous éliminez des piles / batteries usées, veuillez vous conformer aux normes gouvernementales ou aux règles des institutions publiques environnementales en vigueur dans votre pays ou région.
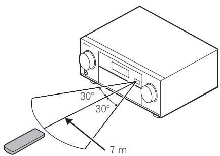
Portée de la télécommande
La télécommande peut ne pas fonctionnercorrectement si :
- Des obstacles se dressent entre la télécommande et le capteur de la télécommande sur le récepteur.
- Le capteur de la télécommande est exposé au soleil ou à une lumière fluorescente.
- Le récepteur est installé à proximité d'un dispositif émettant des rayons infrarouges.
- La télécommande du récepteur fonctionné en même temps qu'une autre télécommande infrarouge.

À propos de l'AVNavigator (CD-ROM inclus)
Le CD-ROM AVNavigator inclus contient Wiring Navi, une application permettant de faire facilement les liaisons et les réglages initiaux de manière interactive. Vous obtiendrez facilement des réglages initiaux très précis simplement en suivant les instructions apparaissant à l'écran pour effectuer les raccordements et réglages.
Voutrouvezezaussidautres caractéristiquesfacilitantI'emploi de diverses fonctions,parexample unManuel interactiffonctionnant avecle récepteur,la possibilitédemettreà jour lesdiverslogiciels et uneapplicationMCACCquipermet de vérifierlesmesuresobtenuessur desgraphiquesen3dimensions.
Installation de I'AVNavigator
1 Posez le CD-ROM AVNavigator inclus dans le lecteur CD de votre ordinateur.
L'écran d'installation s'affiche. Passez à l'étape 2.
- Si l'écran d'installation n'apparait pas, double-cliquez sur I'icône de CD-ROM puis démarrez l'installateur (AVNV_XXX_xxx.exe).
2 Suivez les instructions apparaisant à l'écran pour installer l'application.
Lorsque "Finish" est sélection, l'installation est terminée.
3 Retirez le CD-ROM AVNavigator inclus du lecteur CD de votre ordinateur.
Traitement du CD-ROM
Environnement d'exploitation
- Ce CD-ROM peut être utilisé avec Microsoft® Windows® XP/Vista/7.
- Un navigateur est parfois utilisé pour les fonctions de l'AVNavigator. Le navigateur pris en charge est Microsoft Internet Explorer 6, 7 et 8. Avec d'autres navigateurs, certaines fonctions peuvent être limitées ou ne pass s'afficher correctement.
De plus, même si le navigateur est pris en charge, selon ses réglages, certaines fonctions peuvent être restreintes et les informations peuvent ne pas s'afficher correctement.
Précautions d'utilisation
- Ce CD-ROM est conçu pour être utilisé avec un ordinateur personnel. Il ne peut pas être utilisé avec un lecteur de DVD ni un lecteur de CD audio. Essayer de dire ce CD-ROM avec un lecteur de DVD ou un lecteur de CD audio peut endommager les enceintes ou cause une alétration auditive à cause du volume sonore élevé qui pourrait être produit.
Licence
- Veuillez accepter les "Conditions d'utilisation" indiquées ci-dessous avant d'utiliser ce CD-ROM. Ne l'utilise pas si vous ne souhaitez pas accepter les conditions d'utilisation. Vous doivent aussi accepter le "Contrat de licence" qui s'affiche lors de l'installation de l'AVNavigator.
Conditions d'utilisation
- Les droits d'auteur des données de ce CD-ROM appartiennent à PIONEER CORPORATION. Un transfert, une copie, une diffusion, une transmission publique, une traduction, une vente, un prét ou toute autre action non autorisée qui sort des limites de "l'utilisation personnelle" ou d'une "citation", comme définir par les lois sur les droits d'auteur, peut être soumise à des actions pénales. L'autorisation d'utiliser ce CD-ROM est donnée sous licence de PIONEER CORPORATION.
Avis de non-responsabilité
PIONEER CORPORATION ne garantit pas le fonctionnement de ce CD-ROM pour les ordinateurs personnels utilisant n'importe lequel des systèmes d'exploitation applicables. De plus, PIONEER CORPORATION ne peut etre tenu responsable des dommages subis a la suite de l'utilisation de ce CD-ROM et n'est tenu a aucune compensation. Les noms des sociétés privées, des produits ou d'autres entités citées ici sont des marques déposées ou des marques de commerce de leur entreprise respective.
Utilisation de I'AVNavigator
1 Cliquez sur [AVNavigator] sur le bureau pour lancer I'AVNavigator.
L'AVNavigator s'ouvre et Wiring Navi démarre. L'écran de seLECTION de langue apparait. Suivez les instructions apparaissant à l'écran pour effectuer les raccordements et les réglages automatiques.
Wiring Navi démarre automatiquement seulement la première fois que l'AVNavigator est ouvert.
2 Sélectionnez et utilisez la fonction souhaïée.
L'AVNavigator comprend les fonctions suivantes :
- Wiring Navi - Vous indique de manière interactive comment effectuer les raccordements et les réglages initiaux. Des réglages initiaux extrémement précis peuvent facilement être effectués.
- Interactive Manual - Affiche automatiquement les pages dérivant les fonctions mises en service sur le récepteur. Le récepteur peut aussi être actionné depuis le Manuel interactif.
Glossary - Affiche des pages du glossaire.
- MCACC Appli - Affiche les mesures obtenues à la suite de la configuration MCACC avancée de manière vivante sur l'ordinateur.
Des instructions spéciales sont presents pour l'application MCACC. Ces instructions se trouvent dans les menus de l'AVNavigator Interactive Manual. Consultez-les lorsque vous utilisez l'application MCACC.
- Software Update - Permit la mise à jour de divers types de logiciels.
- Settings - Sert à effectuer divers réglages de l'AVNavigator.
- Detection - Sert à détecter le récepteur.

Remarque
Pour utiliser l'AVNavigator d'un autre modèle, désinstallé d'abord (supprimez) l'AVNavigator de ce récepteur, puis installez l'AVNavigator de l'autre modèle.
Suppression de l'AVNavigator
Vous pouvez proceder de la façon suivant pour désinstaller (supprimer) l'AVNavigator de I'ordinateur.
Supprimez-le du panneau de commande de I'ordinateur.
Depuis le menu Demarrer, cliquez sur "Program" "PIONEER CORPORATION" "AVNavigator(VSX-LX55 ou VSX-2021)" "Uninstall".
Commandes et affichages
Télécommande
Cette section explique comment utiliser la télécommande du récepteur.

La télécommande présente les deux codes couleurs suivants, selon le composant utilisé :
- Blanc - Commande du récepteur, Commande du téléviseur
- Bleu - Autres commandes (Voir pages 31, 32, 34, 35 et 61.)
1 念 RECEIVER
Permet de commuter le récepteur entre veille et mise sous tension.
2 MULTI OPERATION
Permet d'effectuer une série d'opérations (page 59).
3 RCU SETUP
Sert à saisir le code de préréglage lors des réglages de la télécommande et à spécifique le mode de commande à distance (page 57).
4 Touches de fonction d'entrée
Servent à selectionner la commande d'autres composants (page 57).
Utilisez INPUT SELECT / pour selectionner la fonction d'entrée (page 31).
5 TV CTRL
Sert à spécifique le code de fabrication du téléviseur pour la commande du téléviseur (page 58).
6 Touches TV CONTROL
Ces touches sont réservées à la commande du téléviseur affecté à la touche TV CTRL.
7 Touches de réglage du récepteur
Appuyez d'abord sur [RECEIVER] pour acceder à :
- AUDIO PARAMETER - Pour acceder aux options Audio (page 50).
VIDEO PARAMETER-Pour acceder aux options Video (page 52).
- HOME MENU - Pour acceder au menu principal (pages 27, 29, 47, 64 et 72).
- RETURN - Pour valider le réglage et quitter la page actuelle du menu.
8 / / / / ENTER
Utilisez les flèches lors de la configuration de votre système surround (voir page 64) et des options Audio ou Video (page 50 ou 52).
9 Touches de commande du récepteur
Appuyez d'abord sur [RECEIVER] pour acceder à :
- AUTO/ALC/DIRECT - Pour commuter entre les modes de Surround automatique (page 38), Contrôle automatique des niveaux, Surround optimal et Flux direct (page 39).
- STEREO-Pour selectionner le mode de lecture stereo (page 38).
STANDARD-Pour acceder au decodage standard et basculer sur les differents modes (Pro Logic, Neo:6, etc.) (page 38).
ADV SURR - Pour basculer entre les différents modes surround (page 39).
- THX-Pour selectionner un mode d'écoute Home THX (page 39).
PHASE CTRL-Pour activer/desactiver la correction de phase (page 40). Le contrôle de phase pleine bande peut aussi est commuté (page 41).
STATUS-Pour vérifier les réglages du récepteur sélectionné (page 55).
- PQLS - Pour sélectionner le réglage PQLS (page 48).
- HDMI OUT - Pour commuter la prise de sortie HDMI (page 55).
- SIGNAL SEL - Sert à Sélectionner un signal d'entrée (page 40).
- MCACC - Pour commuter entre les prêrglages MCACC (page 40).
- SLEEP - Pourmettrele récepteur en mode sommeil et sélectionner le temps devant s'écouler avant le sommeil (page 55).
- CH LEVEL - Appuyez plusieurs fois sur cette touche pour sélectionner un canal, puis utilisez / pour régler le niveau (page 74).
A.ATT-Pour attenuer (diminuer) le niveau d'un signal d'entree analogue et eliminer la distorsion (page 55).
- DIMMER - Pour obscurcir ou éclaircir l'affichage (page 55).
10 Selecteurs MULTI-ZONE
Permet d'agir sur les-appareils de la zone principale,de la ZONE 2 et de la ZONE 3 (page 54).
11 Témoin de télécommande
S'allume lorsqu'un signal de commande est envoye par la télécommande.
12 OPTION
Les codes préreglés des dispositifs qui seront utilisés peuvent être enregistrés sur la télécommande et les commandes peuvent être enregistrées par le mode d'apprentissage.
13 RECEIVER
Sert à basculer la télécommande sur la commande du récepteur (permé de sélectionner les commandes blanches).
Cette touche est utilisé pour effectuer des opérations dans la zone principale.
Sert à régler le volume d'écoute.
15 MUTE
Sert à couper le son ou à le rétablit s'il a été coupé (le réglage du volume rétablit également le son).
16 LIGHT
Sert à allumer ou éteindre l'éclairage des touches.
Il y a quatre modes d'éclairage des touches (page 59).
Afficheur

1 Témoins de signaux
S'allument pour indiquer le signal d'entree actuellement selectionné. AUTO s'allume lorsque le recepteur est regle pour selectionner automatiquement le signal d'entree (page 40).
S'allument pour indiquer les canaux auxquels des signaux numériques sont transmis.
L/R-Canal avant gauche/avant droit
C-Canal central
- SL/SR - Canal surround gauche/surround droit
- LFE - Canal des effets basse fréquence (les indicateurs (()) s'allument lors de l'entrée d'un signal LFE)
- XL/XR - Deux canaux différents de ceux mentionnés ci-dessus
XC-Un canal different de ceux mentionnés ci-dessus, le canal surround mono ou une insigne du codage matriciel
S'allume lorsqu'un signal code dans le format correspondant est détecté.
4 MULTI-ZONE
S'allume lorsque la fonction MULTI-ZONE est active (page 54).
5 FULL BAND
S'allume lorsque la fonction de contrôle de phase pleine bande est activée (page 41).
6 Indicateurs de mode d'écoute
- AUTO SURROUND - S'allume lorsque la fonction Auto Surround est en activée (page 38).
- ALC - S'allume lorsque le mode ALC (Contrôle automatique de niveau) est sélectionné (page 38).
- STREAM DIRECT - S'allume lorsque Direct/ Direct pur est selectionné (page 39).
ADV.SURROUND - S'allume lorsque l'un des modes Advanced Surround est seLECTIONné (page 39).
STANDARD - S'allume lorsque l'un des modes Standard Surround est activé (page 38).
- THX - S'allume lorsque l'un des modes Home THX est activé (page 39).
7 (PHASE CONTROL)
S'allume lorsquela fonction de contrôle de phase (page 40) ou de contrôle de phase pleine.
bande (page 41) est activée.
8 Indicateurs de signal analogique
S'allument pour indiquer le niveau d'un signal analogique (page 55).
9 SOUND
S'allume lorsque l'options DIALOG E (Optimisation des dialogues) ou TONE (Réglages de tonalité) est sélectionnée (page 50).
10 Indicateurs du tuner
TUNED-Sallume lros de la reception d'une émission.
- STEREO - S'allume lors de la réception d'une émission FM stéreo en mode stéreo auto.
- MONO - S'allume lorsque le mode mono est activé avec MPX.
- RDS - S'allume lors de la réception d'une émission RDS.
11 呼
S'allume lorsque le son est coupé.
12 Niveau du volume général
Indique le niveau du volume général.
``
13 Indicateurs de fonction d'entrée
S'allument pour indiquer la fonction d'entree selectionnee.
14 Indicateurs de défilament
S'allument lorsque d'autres éléments peuvent être sélectionnés pendant les différents réglages.
15 Indicateurs d'enceintes
S'allument pour indiquer le système d'enceintes activé avec SPEAKERS (page 53).
16 SLEEP
S'allume lorsquel'recepteurest en mode sommeil (page 55).
PROLOGICIIx-S'allume pour indiquer ledecodagePro Logic II/Pro Logic Ilx (page 38).
- Neo:6 - S'allume pour indiquer un traitement Neo:6 (page 38) lorsque l'un des modes Neo:6 du récepteur est activé.
18 S.RTRV
S'allume lorsque la correction automatique du son compressée est active (page 50).
19 Afficheur alphanumericique
Affiche diverses informations sur le système.
20 Indicateur du mode de commande à distance
S'allume pour indiquer le mode de commande à distance spécifique pour le récepteur. (N'apparait pas quand 1 est spécifique.) (page 78)
Panneau avant


1 © STANDBY/ON
Permet de commuter le récepteur entre veille et mise sous tension.
Sert à seLECTIONner une fonction d'entrée.
3 Indicateurs
ADVANCED MCACC - S'allume lorsque EQ est regle sur ON dans le menu AUDIO PARAMETER (page 50).
- FLOFF - S'allume lorsque "off" (aucun affichage) est sélectionné comme réglage de luminosité de l'afficheur (page 55).
- HDMI - Clignote lorsqu'un composant HDMI est raccordé; s'allume lorsque ce composant est connecté (page 19).
- iPod iPhone iPad – S'allume pour indiquer qu'un iPod/iPhone/iPad est raccordé (page 24).
4 Afficheur alphanumericique
Consultez la section Afficheur à la page 10.
5 Capteur de la télécommande
Reçoit les signaux provenant de la télécommande (page 7).
6 Molette MASTER VOLUME
7 Commandes du panneau avant
Pour acceder aux commandes du panneau avant, saississez les cotes du volet avec les doigts et tirez vers l'avant.

8 AUDIO PARAMETER
Pour acceder aux options Audio (page 50).
9 ↑/↓/←/→ (TUNE/PRESET) /ENTER
Utilisez les flèches lors de la configuration de votre Home Menu. TUNE ↑/↓ permettent de tracer les fréquences radio et PRESET ←/→ permettent de tracer les stations préregliées (page 34).
10VIDEOPARAMETER
Pour acceder aux options Video (page 52).
11 SPEAKERS
Sert à changer la borne d'enceintes (page 53).
12 Commandes MULTI-ZONE
Si vous avez effectué des liaisons MULTI-ZONE (page 23), utilisez ces commandes pour agir sur l'appareil de la seconde zone depuis la zone principale (page 54).
13 iPod iPhone iPad DIRECT CONTROL
Sert à régler l'entrée du récepteur sur l'iPod et à activer le fonctionnement de l'iPod par l'iPod (page 32).
14 Touches de mode d'écoute
Surround automatique (page 38), Contrôle automatique des niveaux, Surround optimal et Flux direct (page 39).
- STANDARD SURROUND - Pour acceder au décodage standard et basculer sur les différents modes (Pro Logic, Neo:6, Stereo, etc.) (page 38).
ADVANCED SURROUND-Pour basculer entre les différents modes surround (page 39).
- HOME THX - Pour sélectionnner un mode d'écoute Home THX (page 39).
Pour acceder au menu principal (page 27, 29, 47, 64 et 72).
16 RETURN
Permet de confirmer et de quitter la page actuelle du menu.
17 Commandes TUNER
- BAND - Permet de commuter entre les bandes radio AM et FM (page 34).
TUNER EDIT - Permet, en combinaison avec les touches TUNE ↑/↓. PRESET ←/→ et ENTER de mémoriser et de nommer les stations pour pouvoir les rappeler par la suite (page 34).
18 Prise PHONES
Sert à raccorder un casque. Lorsque le casque est branché, les enceintes ne fournissentaucen son.
Sert à raccorder le microphone fourni (page 27).
20 Prises iPod iPhone iPad USB
Servent à raccarder votre iPod/iPhone/iPad Apple comme source audio et video (page 24) ou à raccarder un dispositif USB pour écouter du son ou voir des photos (page 24).
21 Prise d'entrée HDMI
Sert à relier un apparéil HDMI compatible (Caméscope, etc.) (page 24).
Raccordement de votre équipement
Raccordement de votre équipement
Ce récepteur vous offre de nombreuses possibités de liaisons, ce qui ne signifie pas nécessairement que cela soit compliqué. Ce chapitre explique les différents types de composants que vous pouvez racorder pour réaliser votre système de home cinema.

ATTENTION
- Avant de réaliser ou de modifier des liaisons, éteignez les apparciels et débranchez le cordon d'alimentation de la prise électrique. Le cordon d'alimentation se branche en tout dernier lieu.
- Lorsque vous raccordez des apparèils, laissez les cordons d'alimentation des apparèils à raccarder débranchés des prises murales.
- Selon l'appareil à raccorder (amplificateur, récepteur, etc.), les méthodes de raccordement et les noms des prises peuvent être différents de ce qui est indiqué dans ce manuel. Reportez-vous aussi au mode d'emploi des appareils respectifs.
Panneau arrête


Remarque
- Les fonctions d'entrée suivantes sont affectées par défaut aux différentes prises d'entrée du récepteur. Reportez-vous à Le menu Input Setup à la page 29 pour changer les composants affectés si d'autres liaisons sont effectuées.
| Fonction d'entrée | Prises d'entrée |
| HDMI | Numérique | Composantes |
| BD | (BD) | | |
| DVD | IN 5 | COAX-1 | IN 1 |
| TV/SAT | | OPT-1 | |
| DVR/BDR | IN 6 | OPT-2 | IN 2 |
| VIDEO | IN 4 | OPT-3 | |
| HDMI 1 | IN 1 | | |
| HDMI 2 | IN 2 | | |
| HDMI 3 (panneau avant) | IN 3 | | |
| CD | | COAX-2 | |
- La télécommande omnidirectionnelle CU-RF100 (venue séparation) peut être raccordée aux prises RS-232C et EXTENSION. La CU-RF100 permet d'afficher sur l'afficheur de la télécommande que vous avez en main les informations apparaissant normalement sur l'afficheur du récepteur et d'effectuer les opérations souhaitées sans vous sourcier des obstacles ou de la direction dans laquelle pour dirigez la télécommande.

Determination des enceintes à utiliser
Cet apparéil permet de réaliser différents systèmes surround selon le nombre d'enceintes que vous possèdez.
- Des enceintes doivent être raccordées aux canaux avant gauche et droit (L et R).
Il est également possible de ne raccorder qu'une seule des enceintes surround arrière (SB), voire aucune.
- Si vous possédez deux caissons de grave, le second caisson de grave peut être raccordé à la prise SUBWOOFER 2. Avec deux caissons de grave vous augmenterez les sons graves et obtiendarez un son plus puissant. Dans ce cas, les deux caissons de grave produitron le même son.
Choisissez your configuration parmi les Plans [A] à [E] ci-dessous.

Important
- Vous devrez effectuer le réglage Speaker System si vous utilisez une des liaisons mentionnées ci-dessous, sauf la liaison [A] (consultez Réglage du système d'enceintes à la page 72).
- Le son n'est pas restitue simultanément par les enceintes avant en position haute, avant en position large, de la paire d'enceintes B et surround arrêté. Les enceintes sollicitées sont différentes selon le signal d'entrée ou le mode d'écoute.
[A] Système surround 7.2 canaux (Avant Haut)
*Réglage par défaut
- Réglage du Speaker System: Normal(SB/FH)
![PIONEER BDP-LX55 - [A] Système surround 7.2 canaux (Avant Haut) - 1](/content/2020/04/188256/images/a1306c7275dbf0e6e3a59cf99ef485649b98b7c5a3a9b29381af517ce099f0a5.jpg)
Dans un système surround impliquant 7,2 canaux, les enceintes avant gauche et droite (L/R), l'enceinte centrale (C), les enceintes avant gauche et droite en position haute (FHL/ FHR), les enceintes surround gauche et droite (SL/SR), les enceintes surround arrêté gauche et droite (SBL/SBR) et les caissons de grave (SW 1/SW 2) doivent être raccordés. Il n'est pas possible de restituer simultanément le son des enceintes avant en position haute ou large et des enceintes arrêté surround. Ce système surround produit un son plus fidèle à la réalité, du haut.
[B] Système surround 7.2 canaux (Avant Large)
- Reglage du Speaker System: Normal(SB/FW)
![PIONEER BDP-LX55 - [B] Système surround 7.2 canaux (Avant Large) - 1](/content/2020/04/188256/images/b720975f32aa5ebf5438cc9af95d6c09e56f72ef222a96a18b73905277bb976a.jpg)
Selon ce plan, les enceintes avant gauche et droite en position haute, comme indiqued en [A], sont remplacées par des enceintes avant gauche et droite en position large (FWL/FWR). Il n'est pas possible de restituer simultanément le son des enceintes avant en position haute ou large et des enceintes arrêté surround. Ce système surround produit un son fidèle à la réalité sur une surface plus large.
[C] Système surround 7.2 canaux et raccordement des enceintes B
Réglage du Speaker System : Speaker B
![PIONEER BDP-LX55 - [C] Système surround 7.2 canaux et raccordement des enceintes B - 1](/content/2020/04/188256/images/318031bd07fd54849b1c6307080e039832668f3616311642dd3a76ab389a8815.jpg)
Ces liaisons permettent de bénéficier d'un son surround 5.2 canaux dans la zone principale et du même son en stéreo restitué par les enceintes B. Si les enceintes B ne sont pas utilisées, les mêmes liaisons permettent de bénéficier d'un son surround 7.2 canaux dans la zone principale.
[D] Système surround 5.2 canaux et raccordement avant pour la double amplification (Surround haute qualité)
- Réglage du Speaker System : Front Bi-Amp Liaison à double amplification des enceintes avant pour un son surround 5.2 canaux de grande qualité.
![PIONEER BDP-LX55 - [D] Système surround 5.2 canaux et raccordement avant pour la double amplification (Surround haute qualité) - 1](/content/2020/04/188256/images/0bee95a5c0e133c06bec172a50b887c0e14e5e0786c1befa212bb3cfa0390fb7.jpg)
[E] Système surround 5.2 canaux et raccordement de la ZONE 2 (Multizone)
- Réglage du Speaker System : ZONE 2
Ces liaisons permettent de bénéficiair du son surround 5.2 canaux simultanément dans la zone principale et d'un son en stéreo sur l'appareil de la ZONE 2. (Les dispositifs pouvant être sélectionnés sont limités.)
![PIONEER BDP-LX55 - [E] Système surround 5.2 canaux et raccordement de la ZONE 2 (Multizone) - 1](/content/2020/04/188256/images/ff687b7a2ce9750280edfe535df7e537555ae6b19cf95a6568bfc3716ec1748a.jpg)
Autres liaisons d'enceintes
- Vous pouvez selectionner vos liaisons préférences même si vous disposez de moins de 5.2 enceintes (à l'exception des enceintes avant gauche/droite).
- Si vous ne raccordez pas de caisson de grave, raccordez des enceintes capables de reproductive les basses fréquences sur le canal avant. (Sinon, les basses fréquences des graves étant restituees par les enceintes avant, celles-ci pourraient etre endommagées.)
- Àprous avoir raccordé les enceintes, effectuez la configuration Full Auto MCACC (réglage de l'environnement des enceintes). Consultez la section Obtention automatique d'un réglage sonore optimal (Full Auto MCACC) à la page 27
Disposition des enceintes
Référez-vous au schéma ci-dessous pour la disposition des enceintes que vous voulez raccorder.

- Positionnéz les enceintes surround à 120^ du centre. Si vous (1) utilisez l'enceinte surround arrêté et (2) n'utilisez pas les enceintes avant en position haute / les enceintes avant
en position large, il est conseilé de placer l'enceinte surround juste à côté de vous.
- Si vous voulez raccorder seulement une enceinte arrêté surround, placez-la directement derrière vous.
- Placez les enceintes avant gauche et droite en position haute à au moins un mètre des enceintes avant gauche et droite, et directement au-dessus.
Configuration du système d'enceintes THX
Si vous utilisez un caisson de grave certifié THX,utilisez la prise THX INPUT située sur le caisson de grave (le cas échéant) ou commutez la position du filtré sur THX sur votre caisson de grave.
Consultez également la section Réglage audio THX à la page 74 pour définir les réglages garantissant une expérience sonore optimale à l'aide des modes Home THX (page 39).
Quelques conseils pour améliorer la qualité du son
L'emplacement des enceintes dans la pièce à une grande incidence sur la qualité du son. Voici quelques lignes directrices qui vous aidront à Obtérer une qualité sonore optimale de votre système.
- Le caisson de grave peut être posé sur le sol. L'idéal est de placer les autres enceintes à hauteur d'oreilles en position d'écoute. Il est déconseilé de poser les enceintes sur le sol (à l'exception du caisson de grave) ou de les installer très haut en position murale.
- Pour obtenir un effet stéreo optimal, placez les enceintes avant à environ 2 m à 3 m l'une de l'autre, à égale distance du téléviseur.
-
Si vous devez placer des enceintes autour d'un téléviseur à tube cathodique, utilisez des enceintes blindées ou placez les enceintes à une distance suffisante du téléviseur.
-
Si vous utilisez une enceinte centrale, placez les enceintes avant à un angle plus grand. Sinon, placez-les à un angle plus étroit.
- Placez l'enceinte centrale au-dessus ou en dessous du téléviseur de telle sorte que le son du canal central soit situé au niveau de l'écran du téléviseur. Assurez-vous également que l'enceinte centrale est en retrait par rapport à la ligne reliant les façades des enceintes avant gauche et droite.
- Il vautieux orienter les enceintes vers la position d'écoute. L'angle formé par les enceintes dépend de la taille de la piece. L'angle doit être plus ouvert pour les pieces plus grandes.
- Les enceintes surround et surround arrière doivent être placées entre 60 cm et 90 cm audressus du niveau des oreilles et légèrement inclinées vers le bas. Elles ne doivent pas être en face à face. Pour les DVD-Audio, les enceintes doivent être situées derrière la personne qui écoute mais plus pres que pour le visionnage de films.
N'essayez pas de placer les enceintes surround à une distance plus grande que les enceintes avant et centrale. Sinon l'effect du son surround risque d'être attenué.
Raccordement des enceintes
Pour chaque enceinte le récepteur compte une borne positive (+) et une borne négative (-). Prenez soin de les faire correspondre aux bornes situées sur les enceintes.

ATTENTION
- Ces bornes d'enceintes sont soumises à une tension DANGEREUSE. Pour éviter tout risque de décharge électrique lors du branchement ou débranchement des cables d'enceintes, débranchez le cordon d'alimentation avant de toucher les parties non isolées.
Assurez-vous que toute la partie dénudée du fil d'enceinte est torsadé et inséré entièrement dans la borne d'enceinte. Si l'un des fils d'enceinte dénudés devant toucher le panneau arrêté, l'alimentation pourrait être coupée par mesure de sécurité.
Raccordement des fils dénudés

ATTENTION
Assurez-vous que toutes les enceintes sont installées de manière stable. Cela permet non seulement d'améliorer la qualité sonore, mais aussi de réduire les risques de dommage ou de blessure si l'enceinte venait à tomber en raison de chocs extérieurs, tels qu'un tremblement de terre.
1 Torsadez les fils ensemble.
2 Dévissez la borne et insérez la partie dénudée des fils.
3 Serrez laborne.
1

2

3


Remarque
- Pour plus d'informations sur le branchement de l'autre extrémité des câbles d'enceinte à vos enceintes, consultez le mode d'emploi fourni avec vos enceintes.
- Utilisez un cable à fiche RCA pour raccorder le caisson de grave. Il n'est pas possible d'utiliser des cables d'enceintes.
- Si vous possédez deux caissons de grave, le second caisson de grave peut être raccordé à la prise SUBWOOFER 2. Avec deux caissons de grave vous augmenterez les sons graves et obtiendaure un son plus puissant. Dans ce cas, les deux caissons de grave produitron le même son.
Installation de votre système d'enceintes
Les enceintes avant gauche et croite sont les seules obligatoires. Notez que vos enceintes surround principales doivent toujours être raccordées par paire. Cependant, si vous le souhaitez, vous pouvez ne raccorder qu'une seule enceinte surround arrêté (elle doit être raccordée à la borne surround arrêté gauche).
Double amplification des enceintes
Il y a double amplification lorsque vous reliez les amplificateurs internes hautes et basses fréquences des enceintes à différents amplificateurs externes pour obtenir une meilleure répartition des fréquences. Pour cela, vos enceintes doivent supporter la double amplification (en disposant de bornes distinctes pour les hautes et les basses fréquences) et l'amélioration de la qualité du son dépendra du type d'enceintes utilisé.


ATTENTION
- La plupart des enceintes dotées de bornes High et Low arborent deux plaques métalliques reliant les bornes High et les bornes Low. Il faut-retirer ces plaques lors de la double amplification des enceintes, sans quoi vous pourriez sérieusement endommager l'amplificateur. Consultez le mode d'emploi des enceintes pour de plus amples informations.
- Si vos enceintes disposent d'un circuit d'aiguillage amovible, assurez-vous qu'il n'a pas eté retiré si vous utilisez la double amplification. Sans quoi vos enceintes pourraient etre endommagées.
Double câblage de vos enceintes
Vos enceintes peuvent aussi recevoir un double câblage si elles acceptent la double amplification.
- Avec ces liaisons, le réglage Speaker System n'a pas d'importance.

ATTENTION
- Ne raccordez pas de cette façon différentes enceintes à la mêmeborne.
- Lors du double câblage, prenez les mêmes précautions que pour la double amplification, comme indiqué ci-dessus.
- Pour le double câblage d'une enceinte, raccordez deux cordons d'enceinte à la borne d'enceinte sur le récepteur.

Sélection du système d'enceintes
Les bornes avant haut peuvent être utilisées pour raccorder des enceintes avant en position large et la paire d'enceintes B, en plus des enceintes avant en position haute. De même, les bornes surround arrêté peuvent être utilisées pour les liaisons à double amplification et de la ZONE 2, en plus des enceintes surround arrêté. Effectuez ce réglage selon la situation.
Réglage pour les enceintes avant en position haute
*Réglage par défaut
1 Raccordez une paire d'enceintes aux bornes d'enceintes avant en position haute.
Consultez la section Raccordement surround standard à la page 15.
2 Si nécessaire, sélectionnez 'Normal(SB/FH)' dans le menu Speaker System.
Pour ce faire, consultez la section Réglage du système d'enceintes à la page 72.
Réglage pour les enceintes avant en position large
1 Raccordez une paire d'enceintes aux bornes d'enceintes avant en position haute.
Consultez la section Raccordement surround standard à la page 15.
2 Sélectionnez 'Normal(SB/FW)' sur le menu Speaker System.
Pour ce faire, consultez la section Réglage du système d'enceintes à la page 72.
Réglage pour les enceintes B
Vous pouze écouter le son en stéreo dans une autre piece.
1 Raccordez une paire d'enceintes aux bornes d'enceintes avant en position haute.
Consultez la section Raccordement surround standard à la page 15.
2 Sélectionnez 'Speaker B' sur le menu Speaker System.
Pour ce faire, consultez la section Réglage du système d'enceintes à la page 72.
Réglage pour la double amplification
Liaison à double amplification des enceintes avant pour un son surround 5.2 canaux de grande qualité.
1 Raccordez des enceintes compatibles avec la double amplification aux bornes d'enceintes avant et surround arrêté.
Consultez la section Double amplification des enceintes à la page 16.
2 Sélectionnez 'Front Bi-Amp' sur le menu Speaker System.
Pour ce faire, consultez la section Réglage du système d'enceintes à la page 72.
Réglage pour la ZONE 2
Ces liaisons permettent à l'appareil de la zone principale de restituer un son surround à 5.2 canaux et à l'appareil de la ZONE 2 de restituer un son en stéreo.
1 Raccordez une paire d'enceintes aux bornes d'enceintes surround arrêté.
Consultez la section Raccordement surround standard à la page 15.
2 Sélectionnez 'ZONE 2' sur le menu Speaker System.
Pour ce faire, consultez la section Réglage du système d'enceintes à la page 72.
À propos de la liaison audio
| Types de cables et de bornes | Signaux audio transférables |
| ↑Prioiré des signaux audio | HDMI | Audio HD |
| Numérique (Coaxial) | Audio numérique conventionnel |
| Numérique (Optique) |
| RCA (Analogue) (Blanc/Rouge) | Audio analogique conventionnel |
- Avec un cable HDMI les signaux video et audio peuvent être transférés par un seul cable tout en conservant leur grande qualité.
À propos du convertisseur video
Avec le convertisseur video, vous avez la garantie que toutes les sources video seront restituees par toutes les prises MONITOR VIDEO
OUT. À l'exception toutefois des sources HDMI, vu l'impossibilité de sous-échantillonner cette résolution, vous devrez raccarder votre monitre/televiseur à la sortie HDMI du récepteur pour relier cette source video.
Si plusieurs composants video sont affectés à la même fonction d'entrée (consultez la section Le menu Input Setup à la page 29), le convertisseur donne la priorité aux sources HDMI, composantes, puis composites (dans cet ordre).

Ce produit fait appel à des principales technologiques destinés à interdire la piraterie des œuvres protégées par des droits d'auteur, principales qui sont eux-memes couverts aux États-Unis par des brevets et d'autres formes de propriété intellectuelle appartenant à Rovi Corporation. La rétro-technique et le désassemblage sont proscrits.

Remarque
- Si le signal video n'apparaît sur votre télévisueur, essayez d'ajuster les réglages de la résolution de votre composant ou écran. Notez que pour certains composants ( comme les consoles deiaux video),la conversion des résolutions est impossible.Dans ce cas,essayez demettre la conversion video numérique (dans Réglages des options video à la page 52) hors service OFF.
- Les signaux de l'entrée video à composantes ayant une résolution de 480i/576i, 480p/576p, 720p et 1080i peuvent être convertis pour être restitués par la sortie HDMI. Les signaux 1080p ne peuvent pas être convertis.
Seuls les signaux de l'entrée video à composantes ayant en entree une résolution de 480i/576i peuvent etre convertis pour etre restitués par les prises MONITOR OUT composites.
- Pour optimiser les performances video, THX recommende de désactiver la conversion video numérique (OFF) (dans la section Régliages des options video à la page 52).
À propos de l'HDMI
La liaison HDMI permet de transmettre des signaux video numériques non compressés de même que la plupart des signaux audio numériques.
Ce récepteur intégre l'Interface Multimédia Haute Définition (HDMI®).
Il prend en charge les fonctions suivantes lorsque les liaisons HDMI sont utilisées.
- Transfert numérique de video non compressée (contenu protégé par l'HDCP (1080p/24, 1080p/60, etc.))
- Transfert de signaux 3D
- Transfert de signaux Deep Color
- Transfert de signaux x.v.Color
- ARC (Canal deeturn audio)
- Entrée de signaux audio numériques PCM linéaires multicanaux (192 kHz ou inférieur) jusqu'à 8 canaux
- Entrée des signaux audio numériques aux formats suivants:
—Dolby Digital, Dolby Digital Plus, DTS, Son à débit élevé (Dolby TrueHD, DTS-HD Master Audio, DTS-HD High Resolution Audio), DVD-Audio, CD, SACD (signal DSD), Video CD, Super VCD
- Fonctionnement synchronisé sur d'autres composants via la Control de la fonction HDMI (consultez la section Commande par l'HDMI à la page 47)

Remarque
-
Une connexion HDMI ne peut être réalisée qu'avez les composants équipés de prises DVI compatibles avec le DVI et HDCP (High Bandwidth Digital Content Protection). Si vous désissesiez un prise DVI, vous devez disposser d'un adaptateur sépare (DVI HDMI) Toutefois, une liaison DVI ne prend pas les signaux audio en charge. Consultez votre revendeur local de matériel audio pour plus d'informations.
-
Si vous raccordez un composant non compatible HDCP, le message HDCP ERROR apparait sur l'afficheur du panneau avant. Avec certains composants compatibles avec le HDCP, ce message s'affiche aussi, mais dans la mesure où l'image est normale, il n'y a pas lieu de s'inquieter.
- Selon le composant raccordé, l'utilisation d'une liaison DVI peut entraîner des transferts de signaux peu fiables.
- Ce récepteur prend en charge les SACD, Dolby Digital Plus, Dolby TrueHD et DTS-HD Master Audio. Pour bénéficier de ces formats, il faut toutes s'assurer que le composant raccordé à ce récepteur prend également en charge le format correspondant.
- Utilisation d'un cable HDMI haute vitesse. Si le cable HDMI utilisé n'est pas un cable HDMI haute vitesse, l'interface peut ne pas fonctionner correctement.
- Quand un cable HDMI avec égaliseur intégré est raccordé, l'interface peut ne pas fonctionner correctement.
- Le transfert de ces signaux n'est possible que lorsqu'un apparéil compatible est raccordé.
- Les transmissions de son numérique sous forme HDMI ne sont pas immédiatement reconnues. C'est pourquoi, une coupure de son peut se produit au moment où l'on change de format audio ou lance la lecture.
- La mise sous/hors tension du dispositif raccordé à la prise HDMI OUT de cet apparéil pendant la lecture, ou le débranchement/ branchement du cable HDMI pendant la lecture, peut occasionner du bruit ou des coupures de son.
HDMI, le logo HDMI, et High-Definition Multimedia Interface sont des marques commerciales ou des marques déposées de HDMI Licensing LLC aux États-Unis et dans d'autres pays.
"X.v.Color" et X.v.Color sont des marques commerciales de Sony Corporation.
Raccordement d'un téléviseur ou de lecteurs
Connexion via HDMI
Si vous avez un composant équipé d'une prise HDMI ou DVI (avec HDCP) (Lecteur Blu-ray Disc (BD), etc.), vous pouze le raccorder à ce récepteur à l'aide d'un cable HDMI en vente dans le commerce. Si le téléviseur et les lecteurs prennent en charge la fonction Control par l'HDMI, cette commande pratique peut être utilisée (consultez Commande par l'HDMI à la page 47).

- Si vous raccordez un moniteur compatible HDMI/DVI par la prise HDMI OUT 2, réglez la sortie HDMI sur HDMI OUT 2 ou HDMI OUT ALL. Consultez la section Commutation de la sortie HDMI à la page 55.
- Les lecteurs peuvent aussi être raccordés à d'autres prises que la prise HDMI (consultez la section Raccordement d'un lecteur DVD sans sortie HDMI à la page 19).
- Pour que le récepteur puisse restituer le son du téléviseur, il faut raccorder le récepteur et le téléviseur à l'aide de cables audio.
— Lorsque le téléviseur et le recepteur sont raccordés par des liaisons HDMI, le son du téléviseur est transmis au recepteur par la prise HDMI OUT, et chaque cable audio n'est nécessaire, dans la mesure où le téléviseur présente le ARC (Canal de return audio) comme fonction HDMI. Dans ce cas, Reglez TV Audio dans HDMI Setup sur via HDMI (consultez la section Réglage de l'HDMI à la page 47).
Raccordement d'un lecteur DVD sans sortie HDMI
Le schéma montre comment raccarder un téléviseur (avec entrée HDMI) et un lecteur DVD (ou un autre lecteur sans entrée HDMI) au récepteur.

- Pour que le récepteur puisse restituer le son du téléviseur, il faut raccorder le récepteur et le téléviseur à l'aide de cables audio (page 19).
—Lorsque le téléviseur et le recepteur sont raccordés par des liaisons HDMI, le son du téléviseur est transmis au recepteur par la prise HDMI OUT, et aucun autre cable audio n'est nécessaire, dans la mesure où le téléviseur presente le ARC (Canal de retour audio) comme fonction HDMI. Dans ce cas, Reglez TV Audio dans HDMI Setup sur via HDMI (consultez la section Réglage de l'HDMI à la page 47).
- Si vous utilisez un cable audio numérique optique, vous devrez indiquer au recepteur l'entrée numérique à laquelle le lecteur est raccordé (consultez la section Le menu Input Setup à la page 29).
Raccordement d'un téléviseur sans entrée HDMI
Le schéma montre comment raccorder un téléviseur (sans entrée HDMI) et un lecteur DVD (ou un autre lecteur) au récepteur.
- Avec ces liaisons, le signal video n'est pas transmis au téléviseur même si le lecteur DVD est raccordé à l'aide d'un cable HDMI. Reliez le recepteur et le téléviseur avec le type de cable video utilisé pour relier le recepteur et le lecteur.

- Raccordez les apparèels à l'aide d'un cable HDMI pour écouter le son HD par le récepteur. N'utilise pas de cable HDMI pour transmettre les signaux video.
Selon le composant video, il peut être impossible de transmettre simultanément des signaux par la liaison HDMI et par d'autres prises et des réglages peuvent être nécessaires pour les signaux de sortie. Veuillez vous reporter au mode d'emploi du composant pour plus d'informations à ce sujeit.
- Pour que le récepteur puisse restituer le son du téléviseur, il faut raccorder le récepteur et le téléviseur à l'aide de cables audio (page 19).
- Si vous utilisez un cable audio numérique optique, vous devrez indiquer au récepteur l'entrée numérique à laquelle le lecteur est raccardé (consultez la section Le menu Input Setup à la page 29).
Raccordement d'un enregistrure HDD/DVD, d'un enregistrure BD et d'autres sources video
Ce récepteur est équipe de deux séries d'entrées et de sorties audio/vidéo adaptées au raccordement d'appa-reils video analogiques ou numériques, y compris des enregistrurs HDD/DVD et des enregistrurs BD. Lors de la configuration du récepteur, vous devrez lui indiquer l'entrée à laquelle vous avez rac-cordé l'enregistrure (consultez la section Le menu Input Setup à la page 29).

- Pour effectuer des enregistements, vous doivent raccorder des cables audio analogiques (la liaison numérique est destinée à la lecture seulement) (page 54).
- Si vous enregistreur HDD/DVD, enregistreur BD, etc., est équipé d'une prise de sortie HDMI, il est conseilé de le raccorder à la prise HDMI DVR/BDR IN du récepteur. Dans ce cas, raccordez aussi le télévisueur par la prise HDMI (consultez la section Connexion via HDMI à la page 19).
Connexion d'un récepteur satellite/cable ou d'un autre type de décodeur
Les récepteurs satellite/cable et les tuners de télévision numérique terrestre (TNT) sont appelés communément 'décodeurs' (STB).
Lors de la configuration du récepteur, vous devrez lui indiquer l'entrée à laquelle vous avez rac-cordé le décodeur (consultez la section Le menu Input Setup à la page 29).

- Si vous decodeur est équipé d'une prise de sortie HDMI, il est conseilé de le raccorder à la prise HDMI IN 1 ou IN 2 du récepteur. Dans ce cas, raccordez aussi le téléviseur par la prise HDMI (consultez la section Connexion via HDMI à la page 19).
Raccordement d'autres composants audio
Ce récepteur est pourvu d'entrée à la fois numériques et analogiques, ce qui permet de raccorder des composants audio pour la lecture.
Lors de la configuration du récepteur, vous devrez lui indiquer l'entrée à laquelle vous avez rac-cordé le composant (consultez également la section Le menu Input Setup à la page 29).

- Si vous platine disque possède des sorties de niveau de ligne (parce qu'elle dispose d'un pré-amplificateur intégré), reliez-la只会 aux entées CD.
- Vous ne pouvez pas écouter le son HDMI par la prise de sortie numérique de ce récepteur.
Connexion d'autres amplificateurs
Ce récepteur offre une puissance plus que suffisante pour une utilisation domestique, mais il est possible d'ajouter d'autres amplificateurs sur chaque canal de votre système en utilisant les bornes de préampli. Effectuez les raccordements ci-dessous pour ajouter des amplificateurs afin d'alimenter vos enceintes.

- Si vous n'utilise pas de caisson de grave, réglez l'enceinte avant sur LARGE (consultez la section Réglage des enceintes à la page 69).
- Vous pouvez également utiliser l'amplificateur supplémentaire sur les bornes de préampli du canal surround arrêté pour une seule enceinte. Dans ce cas, branchez l'amplificateur sur la borne gauche (SURROUND BACK L (Single)) uniquement.
- Le son provenant des bornes surround arrêté dépend de la configuration effectue à la section Réglage du système d'enceintes à la page 72.
- Si vous possédez deux caissons de grave, le second caisson de grave peut être raccordé à la prise SUBWOOFER 2. Avec deux caissons de grave vous augmenterez les sons graves et obtiendrez un son plus puissant. Dans ce cas, les deux caissons de grave produitron le même son.
- Pour que seules les sorties de préampli transmettent le son, réglez le système d'enceintes sur OFF ou débranchez simplement toutes les enceintes reliées directement au récepteur.
Raccordement des antennes AM/FM
Raccordez l'antenne cadre AM et l'antenne fil FM de la façon suivante. Pour améliorer la réception et la qualité sonore, raccordez des antennes externes (consultez la section Raccordement d'antennes extérieures à la page 22).

1 Retirez les protections des deux fils d'antenne AM.
2 Appuyez sur les onglets pour ouvrir les orifices et inserez un fil à fond dans chaque borne, puis relâchez les onglets pour fixer les fils d'antennes AM.
3 Fixez l'antenne cadre AM au support rattaché.
Pour fixer le support à l'antenne, pliez-le dans le sens indiqué par la flèche (fig. a), puis insérez le cadre dans le support (fig. b).
- Si vous prévoyez de fixer l'antenna AM à un mur ou une autre surface, fixez le support avec des vis (fig. c) avant d'insérer le cadre sur le support. Assurez-vous que la réception est nette.
4 Placez l'antenne AM sur une surface plane et orientez-la dans la direction qui offre la(Meilleure réception.
5 Raccordez l'antenne fil FM à la prise d'antenne FM.
Pour obtenir les meilleurs résultats, étendez complètement l'antenne fil FM et fixez-la à un mur ou un encadrement de porte. Ne la laissez pasPENDRE et ne la laissez pas enroulée.
Raccordement d'antennes extérieures
Pour améliorer la qualité de réception FM, raccordez une antenné FM extérieure à FM UNBAL 75 Ω.

Pour améliorer la qualité de la réception AM, raccordez un fil à gaine en vinyle de 5 m à 6 m de long aux bornes AM LOOP sans débrancher l'antenne cadre AM fournie.
Pour obtenir le meilleur son possible, suspendez l'antenne à l'horizontale à l'estérieur.

Configuration MULTI-ZONE
Ce récepteur peut entraîner jusqu'à trois systèmes indépendants, situés dans différentes pieces, lorsque les liaisons MULTI-ZONE déquiates ont été effectuees.
Differentes sources peuvent etre lues simultanement dans les trois zones, ou bien si vous preferez, la meme source peut etre lure. Les zones principale et secondaires disposent d'alimentations independantes (l'alimentation de la zone principale peut etre coupee alors que la (les) zone(s) secondaire(s) est (dont) alimentete(s)) et les zones secondaires peuvent etre commandees par la telecommande ou les commandes du panneau avant.
Raccordement pour une configuration MULTI-ZONE
Vou puevez effectuer ces liaisons si la première zone secondaire (ZONE 2) dispose d'un télévisueur et d'enceintes distincts et si la deuxieme zone secondaire (ZONE 3) dispose d'un télévisueur et d'un amplificateur (et d'enceintes) distincts. Vous aurez besoin d'un autre amplificateur si vous n'utilise pas la Configuration MULTI-ZONE en utilisant les bornes d'enceintes (ZONE 2) à la page 23 pour propose deux configurations pour la première zone secondaire. Choisissez celle qui vous convient le mistr.
Options d'écoute MULTI-ZONE
Le tableau suivant montre les signaux pouvant et transmis aux ZONE 2 et ZONE 3 :
| Zone secondaire | Fonctions d'entrée disponibles |
| ZONE 2 | DVD, TV/SAT, DVR/BDR, VIDEO, HOME MEDIA GALLERY, iPod/USB, CD, TUNER, ADAPTER PORT (Transmet des signaux audio analogiques, video composites.) |
| Zone secondaire | Fonctions d'entrée disponibles |
| ZONE 3 | DVD, TV/SAT, DVR/BDR, VIDEO, CD, TUNER, ADAPTER PORT (Transmet des signaux audio analogiques) |
Il n'est pas possible de convertir à la baisse les signaux d'entrée audio et video provenant des prises d'entrée HDMI, des prises d'entrée numériques (OPTICAL et COAXIAL) et des prises d'entrée COMPONENT VIDEO avant de les transmettre à la ZONE 2.
Configuration de base MULTI-ZONE (ZONE 2)
1 Raccordez un amplificateur independant aux prises AUDIO ZONE 2 OUT de ce récepteur.
Voudevezdisposeredeuxenceintesreliees àl'amplificateurde lazone secondaire,comme sur l'illustration suivante.
2 Raccordez un téléviseur à la prise VIDEO ZONE 2 OUT de ce récepteur.

Configuration MULTI-ZONE en utilisant les bornes d'enceintes (ZONE 2)
Vous doivent désigné zone 2 dans Reglage du système d'enceintes à la page 72 pour pouvoir utiliser cette configuration.
1 Raccordez une paire d'enceintes aux bornes d'enceintes surround arrêté.
2 Raccordez un téléviseur à la prise VIDEO ZONE 2 OUT de ce récepteur.

Configuration de base MULTI-ZONE (ZONE 3)
Raccordez un amplificateur independant aux prises AUDIO ZONE 3 OUT de ce récepteur.
Voudevezdisposeredeuxenceinteresreliees àl'amplificateurde lazone secondaire,comme sur l'illustration suivante.

Raccordement au réseau par l'interface LAN
Raccordé au réseau par la borne LAN, ce récepteur permet d'éçouter les stations radio Internet. Pour pouvoir écouter des stations radio Internet, il faut s'abonner auprès d'un fournisseur de service Internet (FSI). Lorsque cette connexion est établie, les fichiers audio enregistrés sur des composants en réseau, y compris l'ordinateur, peuvent être lus via les entrées HOME MEDIA GALLERY.

Raccordez la borne LAN de ce récepteur à la borne LAN de votre routeur (avec ou sans fonction de serveur DHCP) par un cable LAN direct (CAT 5 ou supérieur).
Mettez la fonction de serveur DHCP de votre routeur en service. Si vous routeur ne présente pas cette fonction, il faudra paramétrer le réseau manuellement. Pour plus d'informations, consultez la section Menu de configuration du réseau à la page 75.
Spécifications de la borne LAN
- Borne LAN: Prise Ethernet (10BASE-T/100BASE-TX)

Remarque
- Reportez-vous au mode d'emploi de l'appareil utilisé, car les apparèils raccordés et les méthodes de raccordement peuvent être différents selon l'environnement Internet.
- Pour utiliser une connexion Internet à haut débit, il faut être abonné à un fournisseur de service Internet. Pour le détail, contactez le fournisseur de service Internet le plus-Proche.
Raccordement d'un ADAPTATEUR Bluetooth en option
Lorsque l'ADAPTATEUR Bluetooth® (AS-BT100 ou AS-BT200) est raccordé à ce récepteur, un produit sans fil de type Bluetooth (telephone portable, lecteur de musique numérique, etc.) peut être utilisé pour écouter de la musique sans fil.
- Le dispositif intégrant la technologie sans fil Bluetooth doit prendre en charge les profils A2DP.
- Pioneer ne garantit pas que tous les dispositifs intégrant la technologie sans fil Bluetooth pourront se connecter et fonctionner.


Important
- Mettez le récepteur en veille et raccordez l'ADAPTATEUR Bluetooth au ADAPTER PORT.
- Ne rougez pas le récepteur lorsque l'ADAPTATEUR Bluetooth est raccordé. Ceci pourrait l'endommager ou entraîner de faux contacts.
- Pour les instructions concernant la lecture sur le dispositif sans fil Bluetooth, consultez la section Jumelage de l'ADAPTATEUR Bluetooth et d'un dispositif sans fil Bluetooth à la page 36.
Raccordement d'un iPod
Ce récepteur dispose d'une prise spéciale iPod permettant de dire les contenus audio de votre iPod en utilisant les commandes de ce récepteur.

- Mettez ce récepteur en veille et utilisez le cable d'iPod fourni pour raccarder votre iPod à la prise iPod iPhone iPad USB sur le panneau avant de ce récepteur.
- Le cable fourni avec votre iPod peut également être utilisé, mais dans ce cas vous ne pourrez pas voir les images via le récepteur.
- Pour le raccordement du cable, reportez-vous au mode d'emploi de votre iPod.
- Pour les instructions concernant la lecture sur le iPod, consultez la section Lecture d'un iPod à la page 31.
Raccordement d'un dispositif USB
Il est possible de dire des fichiers audio et photo en raccordant des dispositifs USB à ce récepteur. Un clavier USB (Qwerty US International) peut aussi être raccordé au récepteur pour saisir du texte sur les pages GUI et effectuer les opérations suivantes.
- Changer le nom d'une entrée sur le menu de Input Setup (page 29).
- Ajouter des noms aux prérégliages de stations radio (page 34).

- Mettez ce récepteur en veille et raccordez votre dispositif USB à la prise USB sur le panneau avant de ce récepteur.
- Ce récepteur ne peut pas être raccordé par un concentrateur USB.
- Pour les instructions concernant la lecture sur le dispositif USB, consultez la section Lecture d'un dispositif USB à la page 32.
Raccordement d'un composant pourvu d'une prise HDMI à l'entrée du panneau avant

Jeux video, etc.
Raccordement à un réseau LAN sans fil
La connexion sans fil au réseau s'effectue par une connexion LAN sans fil. Utilisez le AS-WL300 pour la connexion.
- Le convertisseur LAN sans fil (AS-WL300) est fourni avec le VSX-LX55, vendu séparément avec le VSX-2021.
- N'utilise que le cable de liaison d'accessoire fourni.
- Pour les instructions sur le réglage du convertisseur LAN sans fil, reportez-vous à Menu de configuration du réseau à la page 75.

Convertisseur LAN sans fil (AS-WL300)
Raccordement d'un récepteur infrarouge
Si vos composants stéreo se trouvent dans un placard ou une étagère close, ou si vous poulez utiliser la télécommande de la zone secondaire dans une autre zone, vous pourrez utiliser un récepteur infrarouge en option, ( comme un Niles ou Xantech), pour commander votre système, au lieu du capteur de la télécommande du panneau avant de ce récepteur.
- Si la fenêtre du capteur du récepteur infrarouge est directement exposée à la lamière d'une lampe fluorescente puissant, il se peut que la télécommande ne fonctionne pas.
- Notez que certains fabricants peuvent ne pas utiliser le terme infrarouge pour désigner ce type d'appareil. Consultez le mode d'emploi fourni avec votre composant pour vérifier la compatibilité infrarouge.
- Si vous utilisez deux télécommandes en même temps, le détecteur de télécommande du récepteur infrarouge aura priorité sur le détecteur du panneau avant.
1 Raccordez le détecteur du récepteur infrarouge à la prise IR IN à l'arrête de ce récepteur.

2 Reliez la prise IR IN de l'autre composant à la prise IR OUT à l'arrière de ce récepteur pour étabir une liaison avec le récepteur infrarouge.
Consultez le mode d'emploi fourni avec votre récepteur infrarouge pour connaître le type de cable nécessaire pour la liaison.
- Si vous souhaitez relier un composant Pioneer à un récepteur infrarouge, consultez la section Fonctionnement d'autres composants Pioneer avec le capteur de cette unité à la page 25 pour le raccorder aux prises CONTROL只不过 qu'à la prise IR OUT.
Fonctionnement d'autres composants Pioneer avec le capteur de cette unité
De nombreux composants Pioneer possèdent des prises SR CONTROL pouvant être utilisées pour relier des composants de telle sorte que vous pouvez utiliser le capteur de la télécommande d'un seul composant. Lorsque vous utilisez une télécommande, le signal de commande est acheminé le long de la chaîne jusqu'àu composant approprié.
- Si vous souhaitez commander tous les composants avec la télécommande de ce récepteur, consultez la section page 57.
- Si vous avez raccordé une télécommande à la prise CONTROL IN (en utilisant un cable à mini-prise), vous ne pourrez pas commander cet apparéil via le capteur de la télécommande.

Important
- Notez que si vous utilise cette fonction, vous nevez vous assurer de désposer également d'au moins un groupe de prises analogiques audio, video ou HDMI raccordés à un autre composant pour la mise à la terre.
1 Choisissez le capteur de la télécommande du composant que vous souhaitez utiliser.
Si vous souhaitez commander un composant de la chaine, vous nevez diriger la télécommande correspondante vers le capteur de la télécommande.
2 Reliez la prise CONTROL OUT de ce composant à la prise CONTROL IN d'un autre composant Pioneer.
Utilisez un cable avec une mini-prise mono à chaque extrémité pour le raccordement.

3 Continue la chaine de la même façon pour tous les composants que vous possédez.
Mise sous/hors tension de composants avec le déclencheur 12 volts
Vou pouve connecter des composants de\
votre système (un écran ou un projecteur) à ce\
récepteur soit qu'ils soient mis sous/hors tension par des déclencheurs 12 volts lorsque vous\
s'électionnez une fonction d'entrée. Toutefois,\
vous doivent indiquer quelles fonctions d'entrée\
seront activées par le déclencheur grâce dans\
la section Le menu Input Setup à la page 29 .\
Notez que ce système ne fonctionne qu'avez
des composants disposant d'un mode veille.

Reliez la prise 12 V TRIGGER de ce récepteur au déclencheur 12 volts d'un autre composant.
Utilisez un cable avec une mini-prise mono à chaque extrémité pour le raccordement. Lorsque vous avez spécifique les fonctions d'entrée qui seront activées par le déclancheur, il vous suffit d'appuyer sur l'entrée spécifique à la page 29 pourmettre l'appareil en ou hors service.

Remarque
- Il est également possible de désirer d'activer/désactiver le composant non pas lorsque la fonction d'entrée est sélectionnée mais lorsque la sortie HDMI OUT est activée/désactivée. Pour plus d'informations, consultez la section Réglage de l'HDMI à la page 47.
Branchement du récepteur
N'effectuez le branchement qu'aupresetoirraccordedous les composants au recepteur,ycomprises les enceintes.
ATTENTION
- Saisissez le cordon d'alimentation par la prise. Ne débranchez jamais la fiche en tirant sur le cordon et ne touche jamais le cordon d'alimentation lorsque vous ave les mains mouillées, car cela pourrait causer un court-circuit ou une électrocution. Ne placez pas l'appareil, un meuble ou tout autre objet sur le cordon d'alimentation et ne coincidence pas le cordon. Ne faites jamais de nœud sur le cordon, et ne le nouez pas avec d'autres cables. Les cordons d'alimentation doivent être placés de telle sorte que l'on ne risque pas de marcher dessus. Un cordon d'alimentation endommagé peut entraîner un incendie ou une électrocution. Vérifiez le cordon d'alimentation de temps en temps. Si vous le trouvez abîmé, demandez à votre service après-vente Pioneer le plus proche de le replacer.
Utilisez exclusivement le cordon d'alimentation fourni avec cet apparéil.
N'utilise pas ce cordon à d'autres fins que celle indiquée ci-dessous.
- Lorsque le récepteur n'est pas utilisé régulierement (pendant les vacances, par exemple), il doit être débranché de la prise d'alimentation murale.
- Si des enceintes de 6 Ω d'impédance sont raccordées, changez le réglage de l'impédance avant demettre le récepteur sous tension.
- VSX-LX55 uniquement: Avant de le débrancher, assurez-vous que le témoin bleu ∅ STANDBY/ON est étéint.
1 Branchez le cordon d'alimentation fourni à la prise AC IN située à l'arrière du récepteur.
2 Branchez l'autre extrémité sur une prise electrique.
- Lorsque ce récepteur est relié à une prise secteur, un processus d'initialisation de l'HDMI de 2 à 10 secondes commence. Durant celui-ci il n'est pas possible d'effectuer d'autres opérations. Le tímoin HDMI clignote sur l'afficheur du panneau avant pendant l'initialisation, et vous pouvezmettre le récepteur sous tension lorsquel clignotement a cession. L'initialisation ne sera pas effectuee si la fonction Control par leur sous tension lorsquel clignotemeHDMI est régée sur OFF. Pour plus d'informations sur la fonction Control par l'HDMI, consultez la section Commande par l'HDMI à la page 47.
Configuration de base
Réglage de l'impédance des enceintes
Nous conseillons l'utilisation d'enceintes de 8 avec ce système, mais il est possible de commuter le réglage de l'impédance si vous envisagez d'utiliser des enceintes avec une impédance de 6 .
1 Mettez le récepteur en voilie.
2 Tout en tenant ENTER enforcée sur le panneau avant, appuyez sur ① STANDBY/ON.
L'écran affiche RESET NO
3 Utilisez TUNE ↑/↓ pour sélectionnner SPEAKER 8Ω▶, puis utilisez PRESET
/ pour sélectionner SPEAKER 8 ou SPEAKER 6
- SPEAKER 8Ω - Utilise ce réglage si vos enceintes ont une impédance supérieure ou égale à 8Ω.
- SPEAKER 6Ω - Utilisez ce réglage si vos enceintes ont une impédance de 6 Ω.
Changement de la langue de l'affichage sur écran (OSD Language)
La langue utilisée sur l'écran de l'interface graphique peut être changée.
- Dans ce mode d'emploi, les explications font réference au menu anglais de l'écran GUI.
1 Appuyez sur RECEIVER pour allumer le récepteur et votre téléviseur.
Assurez-vous que l'entrée video du téléviseur est reglee sur ce recepteur (par exemple, si vous avez raccordé ce recepteur aux prises VIDEO de votre téléviseur, assurez-vous que l'entrée VIDEO est bien selectionnée).
2 Appuyez sur RECEIVER de la télécommande, puis sur HOME MENU.
Un écran à interface graphique (GUI) apparait sur votre téléviseur. Utilisez ↑/↓/←/→ et ENTER pour naviguer sur les pages et sélectionner les éléments de menu. Appuyez sur RETURN pour sorting du menu actuel.
4 Sélectionnez 'OSD Language' sur le menu System Setup.
5 Sélectionnez la langue souhaitée.
6 Sélectionnez 'OK' pour changer la langue.
Ce réglage est terminé et le menu
System Setup réapparait automatiquement.
Obtention automatique d'un réglage sonore optimal (Full Auto MCACC)
La configuration MCACC automatique intégrale mesure les caractéristiques acoustiques de votre salle d'écoute, en tenant compte du bruit ambiant, des enceintes raccordées et de leurs tailles, et elle teste à la fois le retard et le niveau des différents canaux. Àpres l'installation du microphone fourni avec votre système, le recep-teur utilise les informations obtenues à la suite de l'émission d'une série de tonalités de test pour optimiser les réglages et l'égalisation des enceintes pour votre piece précise.
Lors de la configuration MCACC automatique intégrale, les caractéristiques fréquence-phase des enceintes raccordées sont également calibrées.
Lorsque la configuration MCACC automatique intégrale est terminée, le contrôle de phase pleine bande s'active automatiquement (page 41).
Important
- Veillez à ne pas déplacer le microphone et les enceintes pendant la configuration MCACC automatique intégrale.
- L'utilisation de la configuration MCACC automatique intégrale efface et remplace tous les réglages existants du préréglage MCACC sélectionné.
- Avant d'effectuer la configuration MCACC automatique intégrale, vous devez débrancher le casque d'écoute.
ATTENTION
- Les tonalités de test utilisées pour la configuration MCACC automatique intégrale sont émises à un volume élevé.
THX®
- THX est une marque commerciale de THX Ltd. qui est déposée sous certaines juridictions. Tous droits réservés.
1 Appuyez sur RECEIVER pour allumer le récepteur et votre téléviseur.
Assurez-vous que l'entrée video du téléviseur est regliée sur ce récepteur.
2 Raccordez le microphone à la prise MCACC SETUP MIC sur le panneau avant.
Appuyez sur la partie inférieure du volet du panneau avant pour acceder à la prise MCACC SETUP MIC.

Veillez à ce qu'il n'y aitaucun obstacle entre les enceintes et le microphone.
Positionnez le microphone sur un trépied (si vous en avez un) pour qu'il se trouve à hauteur d'oreilles en position d'écoute normale. Sinon, utilisez autre chose pour poser le microphone. Installez le microphone sur une surface stable. Ne le posez pas sur les surfaces suivantes sinon les mesures risquent de ne pas être précises :
- Sur un fauteuil ou une surface molle.
- À des endroits élevés, comme sur une étagère ou le haut d'un fauteuil.
L'indication Full Auto MCACC apparait lorsque le microphone est branché.

- Si vous laissiez un écran GUI affchéé pendant plus de cinq minutes, l'économiseur d'écran apparaitra.
3 Sélectionné les paramètres que vous pouze régler.
- Lorsque des mesures sont effectuees, les données des caractéristiques de la réverbération (avant et après le calibrage) enregistrées dans le récepteur sont écrasées.
- Quand la mesure effectuee concerne d'autres données de reverbération que celles de SYMMETRY, les données ne sont pas mesurées après la correction. Si vous devez prendre une mesure après la correction des données, utilisez le menu EQ Professional de la configuration Manual MCACC (page 66).
Si les enceintes ne sont pas raccordées de la façon indiquée dans Normal(SB/FH), voirlez à régler Speaker System avant la configuration MCACC automatique intégrale. Consultez la section Réglage du système d'enceintes à la page 72.
- Speaker System - Indique les réglages actuels. Lorsque cette option est sélectionnée et validez avec ENTER, l'écran de sélection du système d'enceintes apparait. Sélectionnez le système d'enceintes approprié, puis appuyez sur RETURN.
Si vous envisagez une double amplification de vos enceintes avant ou l'installation d'un système d'enceintes distinct dans une autrepiece, lisez la section Reglage du systeme d'enceintes à la page 72 et voirlez à connectercorrectement vos enceintes avant de passerà l'etape 4.
- EQ Type - Déterminée la façon dont les fréquences sont équilibrées.
-
MCACC - Les six prérégliages MCACC sont utilisés pour memoriser les réglages du son surround pour différentes positions d'écoute. Choisissez un préréglage non utilisé pour le moment (vous pourrez le denommer ultérieurement, à la section Gestion des données à la page 70).
-
THX Speaker – Sélectionnez YES si des enceintes THX sont utilisées (toutes les enceintes à part les enceinte avant sont régles sur SMALL). Dans les autres cas, laissez sur NO.
4 Appuyez sur RECEIVER puis selectionnez START.
5 Suivez les instructions affichées à l'écran.
Assurez-vous que le microphone est connecté et, si vous utilisez un caisson de grave, que celui-ci est allumé et régle sur un volume agreable.
6 Attende la fin des tonalités de test, puis confirmez la configuration des enceintes sur l'écran GUI.
Un rapport de progression s'affiche à l'écran tandis que le récepteur génére des tonalités de test pour déterminer les enceintes générées dans vosures configuration. Essayez d'être aussi silencieux que possible pendant cette opération.
Si aucune opération n'est effectuee durant les 10 secondes ou I'ecran de verification de la configuration des enceintes est affiche, la configuration MCACC automatique integrale se poursuit automatiquement. Dans ce cas, il est inutile de selectionner OK et d'appuyer sur ENTER a I'etape 7.
- En cas de messages d'erreur (du type Too much ambient noise! ou Check microphone.), Sélectionnez RETRY après avoir vérifié le bruit ambient (consultez la section Problèmes lors de l'utilisation de la configuration MCACC automatique à la page 29) et le branchement du microphone. Si vous ne constatezaucun problème, sélectionnez simplement GO NEXT et continuez.

La configuration affichée à l'écran doit refléter les enceintes physiques dont vous disposez.
- Si vous VOYZ un message d'erreur ERR (ou si la configuration des enceintes indiquée est incorrecte), il se peut qu'il y ait un problème au niveau des liaisons des enceintes. Si vous ne parvenez pas à résoudre le problème en selectionnant RETRY, fouze l'alimentation et vérifie les liaisons des enceintes. Si vous ne constazé aucin problème, utilisez simplement ↑/↓ pour selectionner l'enceinte et ←/→ pour modifier le réglage, puis continuez.
- Si I'enceinte n'est pas orientee vers le microphone (position d'écoute) ou lorsque les enceintes sont affectées par la phase (enceintes dipôles, enceintes réfléchissantes, etc.), Reverse Phase peut s'afficher même si les enceintes sont bien raccordées.
Si Reverse Phase s'affiche, les fils du cordon d'enceinte (+ et -) ont peut-être été inversés. Vérifiez les liaisons des enceintes.
Si les liaisons ne sont pas bonnes, coupez l'alimentation, débranche le cordon d'alimentation et raccordez les enceintes correctement. Ensuite, effectuez une nouvelle fois toute la configuration MCACC automatique.
Si les liaisons sont bonnes, selectionnez GO NEXT et continuez.
7 Assurez-vous que 'OK' est sélectionné, puis appuyez sur ENTER.
Un rapport de progression s'affiche à l'écran tandis qu'un plus grand nombre de tonalités de test est émis pour permettre de déterminer les réglages optimaux du récepteur.
Une fois encore, essayez d'être aussi silencieux que possible pendant cette opération. Elle peut prendre 3 à 10 minutes.
Lorsque la configuration MCACC automatique intégrale est terminée, n'oubliez pas de débrancher le microphone du récepteur.
Les réglages effectués dans la configuration MCACC automatique intégrale permettent d'obtenir normalement un excellent son surround de votre système, mais il est également possible d'effectuer manuellement ces réglages avec le Le menu MCACC avancé à la page 64 ou Menu s de configuration du système et d'autres configurations à la page 72.
- En fonction des caractéristiques de votre piece, des enceintessemblables dotées d'un cône de 12 cm environ afficheront parfois des réglages de taille différents. Vous pouvez corriger ce réglage manuelle grâce à la section Configuration manuelle des enceintes à la page 72.
- La valeur du réglage de la distance du caisson de grave peut être supérieure à la distance réelle de la position d'écoute. Ce réglage doit être précis (en tenant compte des caractéristiques de retard et de la pièce) et n'a généralement pas besoin d'être modifié.
- Si une interaction des enceintes et de l'environnement ne vous permet pas d'obtenir des mesures correctes avec la configuration MCACC automatique intégrale, nous vous conseillons de faire vous-même les réglages.
Problèmes lors de l'utilisation de la configuration MCACC automatique
Si l'environnement de la pièce n'est pas idéal pour la configuration MCACC automatique (trop de bruit de fond, écho contre les murs, obstacles entre les enceintes et le microphone), les réglages finaux risquent d'être incorrects. Vérifiez si certains appeareils domestiques (climatiseur, réfrigérateur, ventilateur, etc.) sont susceptibles d'affector l'environnement et éteignez-les si nécessaire. Si l'afficheur du panneau avant affiche des instructions, veuilles les suivre.
- Certains téléviseurs assez anciers peuvent troubler le fonctionnement du microphone. Si tel semble être le cas, éteignez le téléviseur lors de la configuration MCACC automatique.
Vou ne devez effectuer ces réglages sur le menu Input Setup que si vous n'avez pas raccordé votre équipement numérique selon les réglages par défaut (consultez la section Réglages possibles et par défaut de la fonction d'entrée à la page 29). Dans ce cas, vous devez indiquer au récepteur la prise à laquelle l'appareil numérique est raccordé de sorte que les touches de la télécommande correspondant aux apparueils raccordés.
1 Appuyez sur RECEIVER de la télécommande, puis sur HOME MENU.
Un écran à interface graphique (GUI) apparait sur votre téléviseur. Utilisez / / / et ENTER pour naviguer sur les pages et sélectionner les éléments de menu. Appuyez sur RETURN pour sortir du menu actuel.
3 Sélectionnez 'Input Setup' sur le menu System Setup.

Les noms par défaut correspondant aux noms indiqués à côté des bornes sur le panneau arrêté ( comme DVD ou BD), qui correspondant quant à eux aux noms indiqués sur la télécommande.
5 Sélectionnez la (les) entrée(s) à laquelle (auxquelles) vous avez connecté votre composant.
Par exemple, si vous lecteur de DVD n'est pourvu que d'une seule sortie optique, vous devrez changer le réglage DVD de l'entrée Digital In et désirir l'entrée optique à laquelle vous l'avez raccordé au lieu de COAX-1 (réglage par défaut). Les numérores (OPT-1 à OPT-2) correspondant aux nombres indiqués à côté des entrées à l'arrête du récepteur.
6 Lorsque vous avez terminé,procededez au réglage des autres entées.
Il y a des réglages optionnels en plus de la fonction affectée aux prises d'entrée :
-
Input Name - Vous pouvez désirir de renomer la fonction d'entrée pour l'identifier plus facilement. Pour ce faire, Sélectionnez Rename ou Default pour revenir aux réglages par défaut du système.
-
Input Skip - Lorsque ON est spécifique, cette entrée est ignorée par la sélection de l'entrée à l'aide de INPUT SELECT. (DVD et autres entrées peuvent cependant être sélectionnées directement avec les touches de fonction d'entrée.)
-
12V Trigger1/2 - Àprous avoir raccordé un composant à l'un des déclencheurs 12 volts (consultez la section Mise sous/hors tension de composants avec le déclencheur 12 volts à la page 26), scéléctionnez MAIN, ZONE 2, ZONE 3 ou OFF comme réglage de déclencheur pour que ce composant s'allume automatiquement en même temps que celui de la zone (principal ou secondaire) spécifiée.
— Les composants raccordés aux déclencheurs 12 volts peuvent être associés à la commutation de HDMI OUT. Pour plus d'informations, consultez la section Réglage de l'HDMI à la page 47.
7 Lorsque vous avez terminé, appuyez sur RETURN.
Vosu revenez alors au menu System Setup.
Réglages possibles et par défaut de la fonction d'entrée
Les prises du récepteur correspondent généralement au nom de l'une des fonctions d'entrée. Si vous avez raccordé des composants à ce récepteur différemment (ou en plus) des réglages par défaut ci-dessous, consultez la section Le menu Input Setup à la page 29 pour indiquer au récepteur comment vous l'avez connecté. Les points () indiquent les affectations possibles.
| Fonction d'entrée | Prises d'entrée |
| HDMI | Numérique | Composantes |
| BD | (BD) | | |
| DVD | IN 5 | COAX-1 | IN 1 |
| TV/SAT | ●<a> | OPT-1 | ● |
| DVR/BDR | IN 6 | OPT-2 | IN 2 |
| VIDEO | IN 4 | OPT-3 | ● |
| HDMI 1 | IN 1 | | |
| HDMI 2 | IN 2 | | |
| HDMI 3 (panneau avant) | IN 3 | | |
| HOME MEDIA GALLERY | | | |
| iPod/USB | | | |
| CD | | COAX-2 | |
| TUNER | | | |
| ADAPTER PORT | | | |
a Lorsque la fonction Control par l'HDMI est reglee sur ON, l'aftection des prises n'est pas possible (consultez la section Commande par l'HDMI à la page 47).
Configuration du mode de fonctionnement
Ce récepteur présente un grand nombre de fonctions et réglages. Le mode de fonctionnement est destiné aux utilisateurs qui ont de la peine à maîtriser toutes ces fonctions et tous ces réglages.
Vous avez le choix entre les deux réglages suivants comme Operation Mode : Expert et Basic.
1 Appuyez sur RECEIVER de la télécommande, puis sur HOME MENU.
Un écran à interface graphique (GUI) apparait sur votre téléviseur. Utilisez / / / et ENTER pour naviguer sur les pages et sélectionner les éléments de menu. Appuyez sur RETURN pour sortir du menu actuel.
3 Sélectionnez le réglage de mode de fonctionnement souhaité.
- Expert (défaut) - Permet aux utilisateurs de régler eux-mêmes toutes les fonctions.
- Basic - Le nombre de fonctions paramétrables est restreint, et les fonctions dont le paramétrage est restreint se reglent automatiquement de manière à obtenir la qualité de son et d'image recommendée par Pioneer. Les fonctions paramétrables sont les suivantes. Elles peuvent être régliées selon le goût de chacun en se référant au mode d'emploi.
Fonctions/
éléments
paramétrables
HOME MENU
Full Auto MCACC
Facilité les réglages
préciés de champ
sonore.
Page
| Fonctions/ éléments paramétrables | Descriptions | Page |
| Input Name | Change les noms d'en-trées selon les besoin de chacun. | 29 |
| Input Skip | Omet les entrées qui ne sont pas utilisées (pas affichées). | 29 |
| Software Update | Met à jour le logiciel. | 78 |
| Network Information | Vérifie l'adresse IP du récepteur. | 77 |
| Pairing Bluetooth Setup | Jumelle un dispositifBluetooth utilisant unAS-BT100 ou AS-BT200. | 36 |
| Paramètres audio |
| MCACC(Préréglage MCACC) | Sélectionne la mémoire de préréglages MCACC préféree. | 50 |
| DELAY(Retard du son) | Ajuste le temps de retard du son général. | 50 |
| S.RTRV(Correction automatique du son) | Reproduit du son com-pressé avec une grande qualité sonore. | 50 |
| DUAL(Double mono) | Réglage audio mono double. | 50 |
| V.SB(Surround arrêtere virtuel) | Crée un son surround arrêtere virtuel pour la lecture. | 50 |
| V.HEIGHT(Virtuel Haut) | Crée un son virtuel venant du haut pour la lecture. | 50 |
| V.DEPTH(Profondeur virtuelle) | Reproduit un champ sonore adapté aux images 3D. | 50 |
| Autres fonctions |
| INPUT SELECT(INPUT SELECTOR) | Change d'entrée. | 31 |
| MASTER VOLUME +/-, MUTE | Sert à régler le volume d'écoute. | 31 |
| Fonctions/ éléments paramétrables | Descriptions | Page |
| LISTENING MODE | Seuls les modes recommendés par Pioneer peuvent être sélectionnés. | 38 |
| PQLS | Effectue la lecture avec la fonction PQLS. | 48 |
| PHASE CTRL (Contrôle de phase) | Effectue la lecture en corrigeant le décalage de phase dans le grave. | 40 |
| PHASE CTRL (Contrôle de phase pleine bande) | Le contrôle de phase pleine bande permet de calibrer les caractéristiques de fréquence- phase des enceintes raccordées. | 41 |
| iPod iPhone iPad DIRECT CONTROL | Bascule sur l'entrée iPod/USB et sélectionne le mode permettant d'opérer depuis l'iPod. | 32 |
4 Lorsque vous avez terminé, appuyez sur RETURN.
Vous revenez alors au Home Menu.
Lecture de base
Lecture d'une source
Voici les instructions de base pour la lecture d'une source (telle qu'un DVD) avec votre chaîne home cinema.
1 Allumez les composants de votre chaine et votre récepteur.
Allumez en premier lieu le lecteur (par exemple, un lecteur DVD), votre téléviseur et le caisson de grave (si vous en avez un), puis le récepteur (appuyez sur ° RECEIVER).
Assurez-vous que l'entrée video du télévisueur est reglee sur ce recepteur.
2 Sélectionnez la fonction d'entrée que vous souhaitez dire.
Vou puez utiliser les touches de fonction d'entrée de la télécommande, INPUT SELECT ou encore la molette INPUT SELECTOR du panneau avant.
- Si vous doivent modifier manuellement le type de signal d'entrée, appuyez sur SIGNAL SEL (page 40).
3 Appuyez sur RECEIVER pour selectionner le mode de fonctionnement du recepteur.
4 Appuyez sur AUTO/ALC/DIRECT (AUTO SURR/ALC/STREAM DIRECT) pour selectionner 'AUTO SURROUND', puis lancez la lecture de la source.
Si vous lisez une source audio surround Dolby Digital ou DTS, vous devrez entendre un son surround. Si vous lisez une source stéreo, vous entendrez uniquement du son provenant des enceintes avant gauche/droite en mode d'écoute par défaut.
- Vous devrez peut-être vérifier les réglages de la sortie audio numérique de votre lecteur DVD ou de votre récepteur satellite numérique. Celle-ci doit être réglée pour restituer un son Dolby Digital, DTS et PCM
(2 canaux) 88,2 kHz / 96 kHz; s'il existe une option pour le son MPEG, activez-la pour convertir le son MPEG en PCM.
- Consultez également la section Écoute par votre système à la page 38 pour plus d'informations sur les diverses écoutes possibles des sources.
Vouys pouvez vérifier sur l'afficheur du panneau avant si la lecture s'effectue ou non correctement sur les différents canaux. Pour plus d'informations, consultez la section Surround automatique, ALC et flux direct avec differents formats de signal d'entrée à la page 95. Si vous utilise une enceinte surround arrêté, DIGITAL s'affiche pour la lecture des signaux Dolby Digital 5.1 canaux et DTS s'affiche pour la lecture des signaux DTS 5.1 canaux.
Si l'affichage ne correspond pas aux signaux présents et au mode d'écoute, vérifie les liaisons et les réglages.
5 Utilisez MASTER VOLUME + / - pour regler le volume.
Coupez le volume de votre téléviseur pour que le son provienne intégralement des enceintes raccordées à ce récepteur.
Lecture d'une source avec une liaison HDMI
Vous pouvez aussi utiliser la molette INPUT SELECTOR sur le panneau avant ou appuyer plusieurs fois de suite sur HDMI sur la télécommande.
- Réglez le paramètre HDMI dans Réglage des options audio à la page 50 sur THROUGH si le signal audio HDMI doit être retransmis par
votre téléviseur (ce recepteur ne retransmettraeldom).
- Si le signal video n'apparaît sur votre télévisueur, essayez d'ajuster les réglages de la résolution de votre composant ou écran. Notez que pour certains composants ( comme les consoles deieux video),la conversion des résolutions est impossible.Dans ce cas, utilisez une liaison video analogue.
Lecture d'un iPod
Ce récepteur dispose d'une prise iPod iPhone iPad USB permettant de dire le contenu audio de votre iPod en utilisant les commandes de ce récepteur.
- Ce récepteur peut restituer les signaux audio et video des iPod nano (audio seulement pour les iPod nano 1G/2G), iPod cinquième génération (audio seulement), iPod classic, iPod touch, iPhone, iPhone 3G, iPhone 3GS, iPhone 4 et iPad. Toutegois, certaines fonctions peuvent être restreintes pour certains modèles. Ce récepteur n'est pas compatible avec l'iPod shuffle.
- Ce récepteur a été créé et testé pour la version du logiciel iPod/iPhone/iPad indiquée sur le site Pioneer (http://pioneer.jp/homeav/support/ios/eu/).
- L'installation d'autres versions que celle indiquée sur le site Pioneer sur votre iPod/iPhone/iPad peut entraîner une incompatibleité avec ce récepteur.
- Les iPod, iPhone et iPad ne peuvent être utilisés que pour la reproduction des matériaux non protégés par des droits d'auteur ou des matériaux que l'utilisateur peut légalement reproduire.
-
Des fonctions comme l'égaliser ne peuvent être contrôlées avec ce récepteur; nous vous conseillons donc de désactiver l'égaliser avant le raccordement.
-
Pioneer décline toute responsabilité quant aux pertes directes ou indirectes liées à un problème ou aux pertes d'enregistrement resultant d'une panne de l'IPod.
- Lorsque vous écoutez un morceau de l'iPod dans la zone principale, il est possible d'agir sur l'appareil de la seconde zone mais pas d'écouter dans la seconde zone un autre morceau que celui qui est lu dans la zone principale.
1 Appuyez sur RECEIVER pour allumer le récepteur et votre téléviseur.
Consultez la section Raccordement d'un iPod à la page 24.
- Il est également possible d'agir sur l'iPod en utilisant ses propres commandes, sans passer par l'écran de télévision. Pour plus d'informations, consultez la section Commutation des commandes de l'iPod à la page 32.
2 Appuyez sur iPod USB de la télécommande pourmettre le récepteur en mode iPod/USB.
Loading apparait sur l'affichage sur I'ecran GUI pendant que le recepteur vérifie la liaison et extrait les données de I'iPod.
Lorsque I'ecran affiche le menu iPod Top, vous pouze écouter de la musique depuis I'iPod.
- Les commandes de votre iPod ne fonctionnent pas lorsque celui-ci est raccordé à ce récepteur.
Lecture de fichiers audio enregistrés sur un iPod
Pour localiser des morceaux sur votre iPod, vous pouvez utiliser l'écran GUI s'affichant sur le téléviseur raccordé au récepteur. PourGERer toutes les opérations ayant rapport à I'écoute de la musique, vous pouvez aussi utiliser I'affi-chage du panneau avant du récepteur.
- Notez que les caractères qui ne peuvent pas être affichés par ce récepteur sont replacés par#.
- Ceci ne s'applique pas aux photos enregistrés sur votre iPod. Pour voir des photos, réglez la commande de l'iPod sur iPod (consultez la section Commutation des commandes de l'iPod à la page 32).
Recherche des éléments que vous souhaitez lire
Lorsque vous iPod est raccordé à ce récepteur, vous pouvez localiser les chansons enregistrées sur votre iPod d'après la liste d'écoute, le nom d'auteur, le nom d'album, le nom de la chanson, le genre ou le compositeur, comme sur l'iPod proprement dit.
1 Utilizez / pour selectionner 'Music' sur le menu iPod Top.
2 Utilisez / pour sélectionner une catégorie, puis appuyez sur ENTER pour naviguer dans cette catégorie.
- Pour revenir à tout moment au niveau précédent, appuyez sur RETURN.
3 Utilisez / pour naviguer dans la catégorie sélectionnée (par exemple, albums).
Utilisiez / pour passer au niveau precedent/suivant.
4 Poursuivez votre navigation jusqu'à atteindre les éléments que vous souhaitez dire, puis appuyez sur▶ pour lancer la lecture.

Remarque
- Vous pouvez dire toutes les chansons d'une catégorie précise en selectionnant l'objet All, au sommet de chaque liste de catégorie. Vous pouvez par exemple dire toutes les chansons d'un artiste précis.
Commandes de lecture de base
Les touches de la télécommande de ce récepteur peuvent être utilisées pour la lecture de base des fichiers enregistrés sur un iPod.
- Appuyez sur iPod USB pourmettre la télécommande en mode de fonctionnement iPod/USB.

- Pendant la lecture d'un livre audio, appuyez sur ↑/↓ pour changer la vitesse de la lecture : Plus rapide ↔ Normal ↔ Plus lent.
Commutation des commandes de l'iPod
You pouvez changer le role des commandes de l'iPod pour qu'elles agissant sur l'iPod ou sur le récepteur.
- Vous ne pourrez pas utiliser cette fonction, si un iPod de la cinquième génération ou un iPod nano de la première génération est raccordé.
1 Appuyez sur iPod CTRL pour passer aux commandes de l'iPod.
Vous pouvez alors utiliser les commandes et I'écran de votre iPod tandis que la télécommande du récepteur et l'écran GUI sont inactifs.
2 Appuyez une nouvelle fois sur iPod CTRL pour revenir aux commandes du récepteur.

Remarque
- Change l'entrée du récepteur et bascule sur l'iPod simplement par une pression sur la touche iPod iPhone iPad DIRECT CONTROL du panneau avant pour permettre la commande de l'iPod depuis l'iPod.
Lecture d'un dispositif USB
Il est possible de dire des fichiers en utilisant l'interface USB située sur le panneau avant de ce récepteur.
- Les dispositifs USB compatibles comprend les disques durs magnétiques externes, les mémoires flash portables (en particulier les clés) et les lecteurs audio numériques (lecteurs MP3) de format FAT16/32.
- Pioneer ne peut pas garantir la compatibilité (fonctionnement et/ou alimentation) de tous les dispositifs de grande capacité USB et décline toute responsabilité quant à la perte de données pouvant survenir lors de la connexion à ce récepteur.
1 Appuyez sur RECEIVER pour allumer le récepteur et votre téléviseur.
Consultez la section Raccordement d'un dispositif USB à la page 24.
Assurez-vous que le récepteur est en mode de veille avant de débrancher le dispositif USB.
2 Appuyez sur iPod USB de la télécommande pourmettre le récepteur en mode iPod/USB.
Loading apparait sur l'écran GUI lorsque le récepteur reconnaît le dispositif USB raccordé. Lorsque l'écran affiche le menu USB Top, la lecture est possible depuis le dispositif USB.

Remarque
Si le message Over Current s'éclaire sur l'afficheur, cela signifie que la consommation du dispositif USB est trop élevé pour ce réceptein. Vérifiez les points ci-dessous :
- Éteignez le récepteur puis rallumez-le.
- Raccordez une nouvelle fois le dispositif USB lorsqu'elle recepteur est eteint.
- Utilisez l'adaptateur secteur approprié (fourni avec le dispositif) pour alimenter le dispositif USB. Si ces conseils ne permettent pas de résoudre le problème, c'est que votre dispositif USB n'est pas compatible.
Lecture de fichiers audio enregistrés sur un dispositif USB
Un maximum de 8 niveaux peuvent être selec-tionnés à l' étape 2 (ci-dessous). Vous pouvez aussi afficher et dire un maximum de 30 000 dossiers et fichiers prêents sur un dispositif USB.
- Notez que les caractères non romains des listes de lecture sont replacés par #.
1 Utilizez / pour selectionner 'Music' sur le menu USB Top.
2 Utilisez ↑/↓ pour sélectionn un dossier, puis appuyez sur ENTER pour naviguer dans ce dossier.
- Pour revenir à tout moment au niveau précédent, appuyez sur RETURN.
3 Poursuivez votre navigation jusqu'à atteindre les éléments que vous souhaitez dire, puis appuyez sur pour lancer la lecture.
- Les fichiers audio protégés contre la copie ne peuvent pas être lus sur ce récepteur.
- Les fichiers audio protégés par le système DRM ne peuvent pas être lus sur ce récepteur.
Commandes de lecture de base
Les touches de la télécommande de ce recepteur peuvent etre utilisées pour la lecture de base des fichiers enregistrres sur des dispositifs USB.
- Appuyez sur iPod USB pourmettre la télécommande en mode de fonctionnement iPod/USB.


Lecture de fichiers photo enregistrés sur un dispositif USB
- Les fichiers photos ne peuvent pas etre lus dans la zone secondaire.
1 Utilisez ↑/↓ pour sélectionnner 'Photos' sur le menu USB Top.
2 Utilisez / pour sélectionn un dossier, puis appuyez sur ENTER pour naviguer dans ce dossier.
- Pour revenir à tout moment au niveau précédent, appuyez sur RETURN.
3 Poursuivez votre navigation jusqu'à atteindre les éléments que vous souhaitez dire, puis appuyez sur pour lancer la lecture.
Le contenu sélectionné s'affiche en grand sur l'écran et le diaporama démarre.
Lorsque le diaporama commence, appuyez sur ENTER pour faire une pause et pour continuer (seulement lorsque Theme est Normal (OFF) dans le Slideshow Setup).
- Si une photo du diaporama reste cinq minutes affichée, la liste réapparait.
Commandes de lecture de base
| Touches(s) | Action |
| ENTER,▶ | Affiche une photo et lance le dia-porama. |
| RETURN,← | Arrête le lecteur et revient au menu précédent. |
| ▲<a> | Affiche la photo précédent. |
| ▲<a> | Affiche la photo suivante. |
| II<a> | Met le diaporama en pause ou hors pause. |
| DISP<a> | Affiche les informations de la photo. |
a You ne pouvez utiliser cette touche que lorsque Theme est Normal (OFF) dans le Slideshow Setup.
Réglage du diaporama
Les différents réglages nécessaires pour voir des diaporamas de vos fichiers photos s'effectuent ici.
1 Utilisez ↑/↓ pour sélectionnner 'Slideshow Setup' sur le menu USB Top.
2 Sélectionnez le réglage souhaité.
- Theme - Ajoute divers effets au diaporama.
- Interval - Règle l'intervalle entre les photos. Selon l'option sélectionnée pour Theme, ce réglage n'est pas toujours possible.
- BGM - Lit les fichiers musique enregistrés sur le dispositif USB pendant l'affichage des photos.
- Music Select - Sélectionne le dossier contenant les fichiers de musique devant être lus lorsque ON est sélectionné pour BGM.
3 Lorsque vous avez terminé, appuyez sur RETURN.
Vous revenez alors au menu USB Top.
La fonction USB de ce récepteur prend en charge les formats de fichiers suivants. Notez que certains formats de fichiers ne sont pas disponibles pour la lecture bien qu'ils figurent comme formats de fichiers lisibles.
Fichiers de musique
| Catégorie | Extension | Flux |
| MP3 | .mp3 | MPEG-1, 2, 2.5 Audio Layer-3 | Fréquence d'échantillonnage | 8 kHz à 48 kHz |
| Débit binaire requis pour la quantification | 16 bits |
| Canal | 2 canaux |
| Débit binaire | 8 kbps à 320 kbps |
| VBR/CBR | Pris en charge/Pris en charge |
| WAV | .wav | LPCM | Fréquence d'échantillonnage | 32 kHz, 44,1 kHz, 48 kHz |
| Débit binaire requis pour la quantification | 8 bits, 16 bits |
| Canal | 2 canaux, monophonique |
| WMA | .wma | WMA8/9 | Fréquence d'échantillonnage | 8 kHz à 48 kHz |
| Débit binaire requis pour la quantification | 16 bits |
| Canal | 2 canaux |
| Débit binaire | 8 kbps à 320 kbps |
| VBR/CBR | Pris en charge/Pris en charge |
a "Technologie de decodage audio MPEG Layer-3 sous licence de Fraunhofer I/S et Thomson Multimedia."
b Les fichiers codés avec Windows Media Codec 9 peuvent être lus mais certains codecs ne sont pas pris en charge, en particulier Pro, Lossless, Voice.
Fichiers photos
| Catégorie | Extension | | |
| JPEG | .jpg | Format | Remplissant les conditions suivantes :
• Format JPEG Baseline (y compris les fichiers enregistrrés dans le format Exif/DCF)
• Y:Cb:Cr - 4:4:4, 4:2:2 ou 4:2:0 |
| .jpeg |
| .jpe |
| .jif |
| .jff | Résolution | 30 à 8184 pixels verticalément, 40 à 8184 pixels horizontally |
Écoute de la radio
Les étapes suivantes vous expliquent comment régler les émissions de radio FM et AM grâce aux fonctions de réglage automatique (recherche) et manuel (pas). Si vous connaissiez déjà la fréquence de la station que vous souhaite écouter, consultez la section Réglage direct d'une station ci-dessous. Àprouv avoir trouvez une station, vous pouvez en mémoriser la fréquence pour la rappeler ultérieurement; consultez la section Sauvegarde des stations prêrgées à la page 34 pour plus d'informations sur cette fonction.
1 Appuyez sur TUNER pour selectionner le tuner.
2 Utilisez BAND pour changer la bande (FM ou AM), si nécessaire.
3 Réglez une station.
Yououpouvezlefairedetroisfaçonsdiferentes:
- Réglage automatique - Pour rechercher les stations sur la bande sélectionnée, appuyez sur TUNE ↑/↓ et maintainez-la enforcée pendant une seconde environ. Le récepteur commence à rechercher la station suivante et s'arrête lorsqu'il en a trouvez une. Répétez l'opération pour chercher d'autres stations.
- Réglage manuel - Pour changer la fréquence pas à pas, appuyez sur TUNE ↑/↓.
- Réglage rapide - Appuyez sur TUNE ↑/↓ et maintenez-la enforcée pour effectuer un réglage rapide. Relâchéz la touche lorsque vous atteignez la fréquence souhaitée.
Amélioration du son FM
Si, en raison d'un signal faible, les indicateurs TUNED ou STEREO ne s'allument pas lorsque vous faites l'accord sur une station FM, appuyez sur MPX pour passer au mode de réception en
mono. Cela doit améliorer la qualité du son et permettre de profiter davantage de l'émission.
Utilisation de Neural Surround
Cette fonction emploie les technologies Neural SurroundTM pour diffuser des émissions radio FM d'une qualite sonore optimale.
- Pendant la réception d'une émission radio FM, appuyez sur AUTO/ALC/DIRECT pour l'écoute en Neural Surround.
- Le mode Neural Surround peut être sélectionné aussi avec STANDARD.
Réglage direct d'une station
1 Appuyez sur TUNER pour selectionner le tuner.
2 Utilisez BAND pour changer la bande (FM ou AM), si nécessaire.
3 Appuyez sur D.Access (Direct Access).
4 Utilisez les touches numériques pour saïrir la fréquence de la station radio.
Par exemple, pour acceder à la station 106.00 (FM), appuyez sur 1, 0, 6, 0, 0.
Si vous commette une erreur lors de la saisie, appuyez deux fois sur D.Access pour effacer la fréquence et recommencer.
Sauvegarde des stations prerégées
Si vous écoutez souvent une station radio précise, il est intéressant d'en@mémoriser la fréquence pour faire l'accord rapidement sur cette station lorsque vous souhaitez l'écouter. Vous évitez ainsi de devoir régler manuellement la station à chaque fois. Ce récepteur peut<mémoriser jusqu'à 63 stations, enregistrées dans sept banques ou classes (A à G) de 9 canaux chacune.
1 Réglez une station que vous souhaitez mémoriser.
Pour plus d'informations, consultez la section Écoute de la radio à la page 34.
2 Appuyez sur T.EDIT (TUNER EDIT).
L'écran affiche PRESET MEMORY, puis une classe de mémoire qui clignote.
3 Appuyez sur CLASS pour sélectionner l'une des sept classes, puis appuyez sur PRESET pour sélectionner la station préreglee sou Haitée.
Vous pouvez également utiliser les touches numériques pour selectionner une station préreglee.
4 Appuyez sur ENTER.
Après avoir appuyé sur ENTER, la classe et le nombre préreglés cèssent de clignoter et le récepteur enregistre la station.
Écouter des stations préregliées
1 Appuyez sur TUNER pour selectionner le tuner.
2 Appuyez sur CLASS pour selectionner la classe où enregistrer la station.
Appuyez plusieurs fois pour faire défilier les classes A à G.
3 Appuyez sur PRESET / pour selectionner la station preréglée de votrechoix.
- Vous pouvez également utiliser les touches numériques de la télécommande pour rappeler la station préréglée.
Nommer des stations préregliées
Pour reconnaître plus facilement les stations prêrgées, vous pouvez leur donner un nom.
1 Choisissez la station préréglée que vous souhaitez nommer.
Consultez la section Ecouter des stations prérgles à la page 34 pour le détaill à ce sujet.
2 Appuyez sur T.EDIT (TUNER EDIT).
L'écran affiche PRESET NAME, puis un cursesur qui clignote à l'emplacement du premier caractère.
3 Saisissez le nom souhaité.
Utilisez / pour selectionner un caractère, / pour spécifique la position et ENTER pour valider votre selection.

Remarque
- Pour effacer un nom de station, répétez simplement les étapes 1 à 3 et introduisez huit espaces au lieu du nom.
- Àprous avoir nommé une station préréglée, vous pouze appuyer sur DISP lors de l'écoute d'une station pour alterner l'affichage du nom et de la fréquence.
Introduction au RDS
Le système de données radiophoniques, ou RDS, est un système utilisé par la plupart des stations de radio FM pour fournir aux auditeurs différents types d'informations, comme le nom de la station et le type d'émission en cours de transmission.
L'une des caractéristiques du RDS est la recherche par type de programme. Par exemple, vous pouvez rechercher une station qui diffuse une émission dont le type de programme est JAZZ.
Vouspouvezfaireune rechercheParmi les types deprogrammes suivants:
- Il existe en outre deux autres types de programmes, TEST et NONE. Vous ne pouvez pas les rechercher.
| NEWS - Informations
AFFAIRS - Analyse de l'actualité
INFO - Informations générales
SPORT - Sport
EDUCATE - Matériaux educats
DRAMA - Pièces radio-phoniques, etc.
CULTURE - Culture nationale ou régionale, théâtre, etc.
SCIENCE - Science et technologie
VARIÉD - Habituellesment programmes de discussion, comme des quizzes ou des entretiens.
POP M - Musique pop
ROCK M - Musique rock EASY M - Variétés
LIGHT M - Musique classique 'légère'
CLASSICS - Musique classique plus 'sérieuse'
OTHER M - Autres styles de musique ne correspondant à aucune des catégories ci-dessus | WEATHER - Bulletins météorologiques
FINANCE - Rapports de bourse, commerce, ventes, etc.
CHILDREN - Programmes pour enfants
SOCIAL - Affaires sociales
RELIGION - Programmes religieux
PHONE IN - Opinion publique par téléphone
TRAVEL - Voyages et vacances,只想 qu'une nonces de circulation routière
LEISURE - Loisirs et hobbies
JAZZ - Jazz
COUNTRY - Musique country
NATION M - Musique populaire dans une lan-gue autre que l'Anglais
OLDIES - Musique populaire des années 50 et 60
FOLK M - Musique folk DOCUMENT - Documen-taires |
Recherche de programmes RDS
L'une des fonctions les plus utiles du RDS est sa capacité de recherche par type de programme. Vous pouvez rechercher n'importe lequel des types de programmes repertoriés dans la liste précédente.
1 Appuyez sur TUNER pour selectionner la bande FM.
- La fonction RDS n'est disponible que pour la bande FM.
2 Appuyez sur PTY SEARCH.
PTY SEARCH apparait sur l'afficheur.
3 Appuyez sur PRESET pour selectionner le type de programme que vous souhaitez écouter.
4 Appuyez sur ENTER pour lancer la recherche du type de programme.
La recherche d'un programme approprié parmi toutes les fréquences commence. Lorsqu'il en trouve un, la recherche s'arrête et la station est audible pendant cinq secondes.
5 Si vous voulez continuer d'écouter cette station, appuyez sur ENTER dans les cinq secondes.
Si vous n'appuyez pas sur ENTER, la recherche reprend.
Si NO PTY est affiché, cela signifie que le tuner n'a pas pu trouver le type de programme que vous cherchiez.
Le RDS s'applique a toutes les fréquences. Si le type de programme recherche n'a pas pu etre trouve parmi toutes les fréquences, NO PTY s'affiche.
Utilisez la touche DISP pour afficher les diffé
rents types d'informations RDS disponibles.
- Si des parasites sont captés pendant que RT défile sur l'affichage, certains caractères peuvent s'afficher de façon incorrecte.
- Si vous voyagez NO RT DATA dans l'affichage RT, cela signifie qu'aucune donnée RT n'est transmise par la station.
- Si NO PS DATA apparaît dans l'affichage PS cela signifie qu'aucune donnée PS ne peut être reçue.
- Si NO PTY DATA apparaît dans l'affichage PTY, cela signifie qu'aucune donnée PTY ne peut être reçue.
Chaque pression fait changer l'affichage dans l'ordre suivant :
- Radio Text (RT) - Messages envoyés par la station de radio. Par exemple, le RT d'une station de radio de discussion peut être un numéro de téléphone.
- Program Service Name (PS) - Nom de la station de radio.
- Program Type (PTY) - Indique le type de programme en cours de diffusion.
- Fréquence actuelle du tuner.
ADAPTATEUR Bluetooth pour l'écoute de musique sans fil

Écoute de musique sans fil
Lorsque l'ADAPTATEUR Bluetooth (AS-BT100 ou AS-BT200) est raccordé à cet apparéil, un produit sans fil de type Bluetooth (déléphone portable, lecteur de musique numérique, etc.) peut être utilisé pour écouter de la musique sans fil. De plus, si vous utilisez un émetteur du commerce prénant en charge la technologie sans fil Bluetooth, vous pourrez écouter de la
musique sur un dispositif n'intégrant pas la technologie sans fil Bluetooth. Les modèles AS-BT100 et AS-BT200 comprend le méthode de protection de contenus SCMS-T et de la musique peut être écoutee sur les dispos-sitifs intégrant la technologie sans fil Bluetooth de type SCMS-T.
- Avec l'AS-BT100, certaines fonctions ne seront pas disponibles sur ce récepteur.
Fonctionnement de la télécommande
La télécommande fournie avec cet apparéil permet de démarrer et d'arrêté la lecture et d'effectuer certaines opérations.
- Le dispositif sans fil Bluetooth doit prendre en charge le profil AVRCP.
- Le fonctionnement de la télécommande n'est pas garantie pour tous les dispositifs sans fil Bluetooth.
Jumelage de l'ADAPTATEUR Bluetooth et d'un dispositif sans fil Bluetooth
Le "Jumelage" doit être effectué avant la lecture sur le dispositif sans fil Bluetooth via l'ADAPTA-TEUR Bluetooth. Veiliez à effectuer le jumelage la première fois que vous utilisez或者其他 système et chaque fois que les données du jumelage ont été effacées. Le jumelage est nécessaire pour enregistrer le dispositif sans fil Bluetooth et permettre les communications Bluetooth. Pour le détaill à ce sujet, consultez aussi le mode d'emploi de votre dispositif sans fil Bluetooth.
- Le jumelage est nécessaire la première fois que vous utilisez le dispositif sans fil Bluetooth et l'ADAPTATEUR Bluetooth.
-
Pour permettre la communication Bluetooth, le jumelage doit etre effectue sur voite système et sur le dispositif sans fil Bluetooth.
-
Si le code de sécurité du dispositif sans fil Bluetooth est "0000", il est inutile de spécifique le code de sécurité sur le récepteur. Appuyez sur ADPT pour spécifique l'entrée ADAPTER PORT, puis effectuez le jumelage sur le dispositif sans fil Bluetooth. Si le jumelage réussi, les opérations suivantes seront superflues.
- Si I'AS-BT200 est seulement utilisé : Cet apparéil est conforme aux spécifications Bluetooth Ver. 2.1. Lorsque cet apparéil et un autre dispositif sans fil Bluetooth sont conformes aux spécifications Bluetooth Ver. 2.1, le jumelage des deux sera évientuèlement possible sans mot de passer.
Dans ce cas, un code peut apparaitre sur le récepteur et sur le dispositif sans fil Bluetooth. Dans ce cas, assurez-vous que le même code est affiché sur le récepteur et sur le dispositif sans fil Bluetooth, puis Sélectionnez YES avec les touches ← et → et appuyez sur ENTER.
Ensuite, connectez-vous sur le dispositif Bluetooth utilisé. Si le code ne correspond pas au code indiqué sur le dispositif Bluetooth sur lequel vous voulez vous connecter, Sélectionnez NO pour annuler le jumelage, puis ressayez.
Appuyez sur ADPT pour spécifique l'entrée ADAPTER PORT, puis effectuez le jumelage sur le dispositif sans fil Bluetooth. Si le jumelage réussit, les opérations suivantes seront superflues.
- Jumelez un apparéil à la fois.
- Si vous reliez ce récepteur par une connexion Bluetooth à un dispositif compatible Bluetooth pour écouter de la musique, ne connectez que ce récepteur par une connexion Bluetooth à ce dispositif compatible Bluetooth à l'exclusion de tout autre. Si une connexion Bluetooth à un autre dispositif que ce récepteur a déjà été établie, déconnectez l'autre dispositif avant de connecter ce récepteur.
1 Appuyez sur RECEIVER de la télécommande, puis sur HOME MENU.
2 Sélectionnez 'System Setup', puis appuyez sur ENTER.
3 Sélectionnez 'Other Setup', puis appuyez sur ENTER.
4 Sélectionnez 'Pairing Bluetooth Device', puis appuyez sur ENTER.
5 Sélectionnez le réglage 'Passcode' souhaïte.
Selectionnez le même code que celui du dispositif sans fil Bluetooth auquel vous souhaitez vous connecter.
- 0000/1234/8888 - Sélectionnez le code parmi ces options. Ce sont les mots de passer qui peuvent être utilisés dans la plupart des cas.
- Others - Sélectionnez ceci pour utiliser un autre code.
6 Si vous avez selectionné 'Others' à l'étape 5, saississez le code.
Utilisez ↑/↓ pour sélectionner un nombre et
/ pour déplacer le curseur.
7 Suivez les instructions s'affichant sur l'écran GUI pour effectuer le jumelage avec le dispositif sans fil Bluetooth.
Allumez le dispositif sans fil Bluetooth que vous voulez jumeler, place-le à proximé du récep-teur et mettez-le en mode de jumelage.
8 Verifiez si I'ADAPTATEUR Bluetooth est detecté par le dispositif sans fil Bluetooth.
Lorsque le dispositif sans fil Bluetooth est raccordé :
CONNECTED apparait sur l'afficheur du récepteur.
- Le système ne peut afficher que des caractères alphanumerices. D'autres caractères peuvent ne pas s'afficher correctement.
Lorsque le dispositif sans fil Bluetooth n'est pas raccordé :
Revenz à la spécification du code à l' étape 5. Effectuez ensuite la connexion par le dispositif sans fil Bluetooth.
9 Sur la liste des dispositifs sans fil Bluetooth, Sélectionnez l'ADAPTATEUR Bluetooth et saississe le code sélectionné à l'étape 5.
- Le code peut être désigné dans certains cas par CLÉ ou code PIN.
Écoute de la musique enregistrée sur un dispositif sans fil Bluetooth via votre chaîne
1 Appuyez sur ADPT de la télécommande pour commuter le récepteur sur l'entrée ADAPTER PORT.
- Si I'ADAPTATEUR Bluetooth n'est pas branché sur ADAPTER PORT, NO ADAPTER s'affichera si l'entrée ADAPTER PORT est sélectionnée.
2 Sur le dispositif sans fil Bluetooth, effectuez l'opération nécessaire pour vous connecter à l'ADAPTATEUR Bluetooth.
3 Ecoutez la musique enregistrée sur le dispositif sans fil Bluetooth.
Les touches de la télécommande de ce récepteur peuvent être utilisées pour la lecture de base des fichiers enregistrés sur des dispositifs sans fil Bluetooth.
- Le dispositif sans fil Bluetooth doit prendre en charge le profil AVRCP.
- Selon le dispositif sans fil Bluetooth utilisé, une opération peut être différente de ce qui est indiqué sur les touches de la télécommande.

4 Pendant l'écoute d'une source, réglez la télécommande sur le mode de fonctionnement du récepteur, puis appuyez plusieurs fois de suite sur ADV SURR pour sélectionnER SOUND RETRIEVER AIR.
La marque de mot et les logos Bluetooth® sont des marques déposées apparanten à Bluetooth SIG, Inc. et toute utilisation de ces marques par PIONEER CORPORATION est faite sous licence. Les autres marques de commerce ou noms commerciaux sont la propriété de leur propriétaire respectif.
Écoute par votre système
Écoute de sources variées grâce aux divers modes d'écoute
Ce récepteur permet d'éçouter n'imprime qu'elle source en surround. Toutefois, les options disponibles dépendent de la configuration de vos enceintes et du type de source écoutee.
Pour écouter une source en surround, reportez-vous à "Son surround standard", "Utilisation des modes Home THX" ou "Utilisation des effets Advanced surround" ci-dessous et seLECTIONnez le mode souhaité.
Pour écouter une source dans le mode optimal, consultez la section "Lecture automatique" ou "Utilisation des modes Stream Direct". (Le son est produit en stéreo en présence de signaux à 2 canaux et en surround en présence de signaux multicanaux.)

Important
- Les modes d'écoute et plusieurs fonctions décrites dans cette partie du manuel ne pourront pas été utilisés avec certaines sources, certains régages et selon l'état du récepteur.
Lecture automatique
Ce récepteur permet d'écouter des sources de nombreuses manières, mais la fonction Surround automatique est la plus simple et la plus directe. Le récepteur détecte automatiquement le type de source en cours de lecture et seLECTIONne la lecture stéreo ou multicanaux en conséquence.
1 Appuyez sur RECEIVER pour selectionner le mode de fonctionnement du recepteur.
2 Pendant la lecture d'une source, appuyez sur la touche AUTO/ALC/DIRECT (AUTO SURR/ALC/STREAM DIRECT) pour lancer la lecture automatique d'une source.
AUTO SURROUND apparait brièvement à l'écran, puis le format de décodage ou de lecture s'affiche. Vérifiez les indicateurs de format numérique sur l'afficheur du panneau avant pour savoir dequelle manière la source est traitée.
- Si la source est codée en Dolby Digital, DTS ou Dolby Surround, le format de décodage ajustat est automatiquement sélectionné et indiqué à l'écran.
- Pendant l'écoute d'une émission radio FM, la fonction Neural Surround est automatiquement sélectionnée (consultez la section Utilisation de Neural Surround à la page 34 pour plus d'informations).
- Pendant l'écoute de la source
ADAPTER PORT, la fonction
SOUND RETRIEVER AIR est
automatiquement selectionnee.
ALC - Dans le mode de contrôle automatique des niveaux (ALC), le récepteur égalise les niveaux du son lors de la lecture.
En outre, lessons des graves et des aigus,les dialogues,les effets surround,etc.,qui ne sont pas reallyment perceptiblesa faible volume, sont reajustes de manierea etre bien percus a ce niveau sonore. Ce mode est optimal pour I'ecoute de nuit.
OPTIMUM SURR - Dans le mode Optimum Surround, l'équilibre sonore de chaque scène est automatiquement réajusté de manière optime en fonction du volume spécifique. L'équilibre sonore contrôle trois éléments importants du son, les dialogues, les graves et le surround avec un algorithme original.

Remarque
- Lorsqu'un mode ALC est sélectionné, le niveau d'effet peut être ajusté par le paramètre EFFECT, déscrit dans Réglage des options audio à la page 50.
Son surround standard
Les modes suivants offrent un son surround simple pour les sources stéreo et multicanaux.
1 Appuyez sur RECEIVER pour selectionner le mode de fonctionnement du recepteur.
2 Pendant l'écoute d'une source, appuyez sur la touche STANDARD (STANDARD SURROUND).
Si besoin, appuyez plusieurs fois sur cette touche pour selectionner un mode d'écoute.
- Si la source est codée en Dolby Digital, DTS ou Dolby Surround, le format de décodage ajustat est automatiquement sélectionné et indiqué à l'écran.
- Si les enceintes surround arrêtne sont pas raccordées, Pro Logic IIx devient Pro Logic II (son à 5,1 canaux).
Pour les sources importante deux canaux, vous pouvez selectionner au choix :
Pro Logic IIx MOVIE -Jusqu'a 7.1 canaux (arriere surround), particulierement adapte aux sources filmiques
Pro Logic IIx MUSIC - Jusqu'a 7.1 canaux (arrière surround), particulièrement adapté aux sources musicales
Pro Logic IIx GAME - Jusqu'à 7.1 canaux (arrière surround), particulièrement adapté aux yeux video
PRO LOGIC - Son surround 4.1 canaux (son mono pour les enceintes surround)
Pro Logic IIz HEIGHT - Jusqu'à 7.1 canaux (avant haut)
- WIDE SURROUND MOVIE - Jusqu'à 7.1 canaux (avant large), particulièrement adapté aux sources filmiques
- WIDE SURROUND MUSIC - Jusqu'à 7.1 canaux (avant large), particulièrement adapté aux sources musicales
- Neo:6 CINEMA - 7.1 canaux (arrière surround), particulièrement adapté aux sources filmiques
- Neo:6 MUSIC - 7.1 canaux (arrière surround), particulièrement adapté aux sources musicales
- Neural Surround - Jusqu'à 7.1 canaux (arrière surround), particulièrement adapté aux sources musicales
- STEREO - Vos réglages sonores sont appliqués au son et vous pouvez toujours utiliser les options audio.
Avec les sources multicanaux, si vous avez rac-. cordedes enceintes surround arriere,avant en position haute ou avant en position large, vous pouvezCHOISIR (selon le format) :
Pro Logic IIx MOVIE-Voir ci-dessus
Pro Logic IIx MUSIC-Voir ci-dessus
- Dolby Digital EX - Créée un son de canal surround arrêté pour les sources 5.1 canaux et offre un décodage pur des sources 6.1 canaux ( comme le Dolby Digital Surround EX)
- DTS-ES Matrix ou DTS-ES Discrete - Permit une lecture 6.1 canaux avec des sources codées DTS-ES
- DTS Neo:6 - Permet une lecture 6.1 canaux avec des sources codées DTS
- Neo:6 - Permet une lecture 6.1 canaux
Pro Logic IIz HEIGHT - Voir ci-dessus
WIDE SURROUND MOVIE-Voir ci-dessus
WIDE SURROUND MUSIC-Voir ci-dessus
STEREO-Voir ci-dessus
- Decodage direct - Lecture sans les effets ci-dessus.

Remarque
Lors de I'ecoute en mode
Pro Logic IIz HEIGHT, vous pouvez aussi
ajuster l'effect H.GAIN (consultez la sectionRéglage des options audio à la page 50).
Lors de I'ecoute de sources à 2 canaux en mode Dolby Pro Logic IIx Music, trois autres paramètres peuvent être régés : C.WIDTH, DIMENSION et PANorama. Consultez la section Réglage des options audio à la page 50 pour les régler.
- Pendant l'écoute de sources 2 canaux en mode Neo:6 Cinema ou Neo:6 Music, vous pouvez également ajuster l'effet de l'image centrale (consultez la section Réglage des options audio à la page 50).
- Neural Surround peut être sélectionné pour les signaux à 2 canaux dont le signal d'entrée est en PCM (48 kHz au maximum), Dolby Digital, DTS ou une source analogue à 2 canaux.
- Le mode stéreo peut aussi être sélectionné avec la touche STEREO.
Pour l'écoute au casque, seul le mode STEREO peut être sélectionné.
Utilisation des modes Home THX
THX et Home THX sont des normes techniques créées par THX Ltd. pour le son cinema et home cinema. La(normeHomeTHXa etéconque pour que le son du home cinema se rapproche davantage du son que vous entendez au cinema.
Différentes options THX sont disponibles en fonction de la source et du paramétrage du traitement du canal surround arrêté (consultez la section Réglage audio THX à la page 74 pour plus d'informations).
1 Appuyez sur RECEIVER pour selectionner le mode de fonctionnement du recepteur.
2 Appuyez sur THX (HOME THX) pour selectionner un mode d'écoute.
Pour les sources importante deux canaux, appuyez plusieurs fois sur la touche THX pour sélectionner un processus de décodage
matriciel pour le mode THX CINEMA (consultez la section Réglage audio THX à la page 74 pour obtenir une explication de chaque processus) :
THX CINEMA
- THX MUSIC
- THX GAMES
Pro Logic IIx MOVIE+THX CINEMA
PRO LOGIC+THX CINEMA
Neo:6 CINEMA+THX CINEMA
Pro Logic IIx MUSIC+THX MUSIC
Neo:6 MUSIC+THX MUSIC
Pro Logic IIx GAME+THX GAMES
Pro Logic IIz HEIGHT+THX CINEMA
Pro Logic IIz HEIGHT+THX MUSIC
Pro Logic IIz HEIGHT+THX GAMES
Pour les sources multicanaux, appuyez plusieurs fois sur la touche THX (HOME THX) pour effec-tuer un besoin :
THX CINEMA
- THX MUSIC
- THX GAMES
- THX Surround EX - Permit une lecture 6.1 ou 7.1 canaux de sources 5.1 canaux
Neo:6 CINEMA+THX CINEMA
Neo:6 MUSIC+THX MUSIC
Neo:6 GAME+THX GAMES
Pro Logic IIx MOVIE+THX CINEMA
Pro Logic IIx MUSIC+THX MUSIC
Pro Logic IIz HEIGHT+THX CINEMA
Pro Logic IIz HEIGHT+THX MUSIC
Pro Logic IIz HEIGHT+THX GAMES

Remarque
Lors de I'ecoute en mode Pro Logic IIz HEIGHT, you pouvez aussi ajuster I'effect H.GAIN (consultez la section Reglage des options audio à la page 50).
Utilisation des effets Advanced surround
Les effets Advanced surround (surround avancé) peuvent être utilisés pour une large gamme d'effets sonores surround
supplémentaires. La plupart des modes Advanced surround ont ete concus pour les bandes sonores de films, mais certains modes convennent egalement aux sources musicales. Essayez differents reglages pour plusieurs bandes sonores afin d'etablir vos préférences.
1 Appuyez sur RECEIVER pour selectionner le mode de fonctionnement du recepteur.
2 Appuyez plusieurs fois sur la touche ADV SURR (ADVANCED SURROUND) pour selectionner un mode d'écoute.
- ACTION - Conçu pour les films d'action dotés de bandes sonores dynamiques
- DRAMA - Conçu pour les films où les dialogues sont nombreux
SCI-FI-Conqu pour les films de sciencefiction aux innombrables effets spéciaux
- MONO FILM - Crée un son surround à partir de bandes sonores mono
- ENT.SHOW - Adapté aux sources musicales
EXPANDED - Cree un champ stereo très large
TV SURROUND - Fournit un son surround pour les sources TV mono et stéreo
ADVANCED GAME -Adapté aux produits
- SPORTS - Adapté aux programmes sportifs
CLASSICAL - Offre un son digne d'une grande salle de concert
- ROCK/POP - Crée le son d'un concert en direct pour la musique rock et/ou pop
- UNPLUGGED - Adapté aux sources musicales acoustiques
- EXT.STEREO - Restitue un son multicanaux à partir d'une source stéreo et utilise toutes les enceintes
F.S.SURR FOCUS - Utilisez ce mode pour obtenir un effet sonore surroundiche au point central de convergence de la sortie du son des enceintes avant gauche et droite.
- F.S.SURR WIDE - Utilise ce mode pour Obtir un effet surround dans une plus grande zone qu'vec le mode FOCUS.

Position FOCUS (Recommendé)

Position WIDE
- SOUND RETRIEVER AIR - Adapté à l'écoute du son d'un dispositif sans fil Bluetooth. Le mode d'écoute SOUND RETRIEVER AIR ne peut être sélectionné que dans le cas d'une entrée ADAPTER PORT ou de l'écoute au casque.
- PHONES SURR - Lors d'une écoute avec un casque, vous pouvez Broker un effet surround global.

Remarque
- Lorsqu'un mode d'écoute Advanced surround est sélectionné, le niveau d'effet peut être ajusté grâce au paramètre EFFECT, découvert dans Réglage des options audio à la page 50. Toutefois avec F.S.SURR FOCUS, F.S.SURR WIDE et SOUND RETRIEVER AIR, le niveau de l'effet ne peut pas être ajusté.
- La fonction Front Stage Surround Advance (F.S.SURR FOCUS et F.S.SURR WIDE) permet de creer des effets sonores surround naturels même si vous utiliseze seulement des enceintes avant et un caisson de grave.
Utilisation des modes Stream Direct
Utilisez les modes Stream Direct (à flux direct) lorsque vous souhaitez écouter une source avec un renduvrément fidèle. Aucun traitement de signal inutil n'est effectué. Vous écoutez ainsi la véritable source sonore analogique ou numérique.
Le traitement effectué dépend du signal d'entrée et du raccordement ou non d'enceintes surround arrêté. Pour plus d'informations, consultez la section Surround automatique, ALC et flux direct avec différents formats de signal d'entrée à la page 95.
1 Appuyez sur RECEIVER pour selectionner le mode de fonctionnement du recepteur.
2 Pendant la lecture d'une source, appuyez sur AUTO/ALC/DIRECT (AUTO SURR/ALC/STREAM DIRECT) pour selectionner le mode souhaité.
Vérifiez les indicateurs de format numérique sur l'afficheur du panneau avant pour savoir de chaque manière la source est traitée.
- AUTO SURROUND - Consultez la section Lecture automatique à la page 38.
- ALC - Écoute en mode de contrôle automatique des niveaux (page 38).
- DIRECT - Reproduction de la source avec le moins de modifications possible proche de PURE DIRECT. Avec DIRECT, les seules modifications ajoutées à la lecture PURE DIRECT proviennent du calibrage du champ sonore par le système MCACC et du contrôle de la phase.
- PURE DIRECT-Lecture sans modification du son avec un traitement numérique minimal. Aucun son n'est restitue par les enceintes B dans ce mode.
- OPTIMUM SURR - Écoute du son surround optimal (page 38).

Remarque
- Pour l'écoute au casque, seul le mode ALC, OPTIMUM SURR ou PURE DIRECT peut être sélectionné.
Sélection des préréglages MCACC
Réglage par défaut: MEMORY 1
Si vous avez calibre votre système pour diffé- rentes positions d'écoute, vous pouvez passer d'un réglage à l'autre en fonction du type de source écoutee et de votre position d'écoute (par exemple, pour regarder un film dans un canapé ou pour jouer aux yeux video pres du télévisueur).
1 Appuyez sur RECEIVER pour selectionner le mode de fonctionnement du recepteur.
2 Lors de l'écoute d'une source, appuyez sur la touche MCACC.
Appuyez dessus plusieurs fois de suite pour sélectionner un des six préréglages MCACC. Consultez la section Gestion des données à la page 70 pour vérifier et:gérer vos réglages actuels.
- Ces réglages n'ontaucen effet lorsqu'un casque d'écoute est branché.
- Vous pouvez aussi appuyer sur pour sélectionner le préréglage MCACC.
Choix du signal d'entrée
Vou pouve sélectionner les différents signaux d'entrée suivants sur ce récepteur.
- Ce récepteur ne lit que les signaux numériques de format Dolby Digital, PCM (32 kHz à 192 kHz) et DTS (y compris le format DTS 96/24). Les signaux pouvant transiter par les prises HDMI sont les suivants : Dolby Digital, DTS, PCM (32 kHz à 192 kHz), Dolby TrueHD, Dolby Digital Plus, DTS-EXPRESS, DTS-HD Master Audio et SACD.
-
Il est possible que vous entendiez du bruit numérique pendant la lecture d'un signal analogique sur un lecteur LD, CD, DVD ou BD. Pour éviter le bruit, réalisez les liaisons numériques adéquates (page 17) et réglez l'entrée de signal sur DIGITAL.
-
Certains lecteurs DVD ne généré pas de signaux DTS. Pour de plus amples informations, consultez le mode d'emploi fourni avec votre lecteur DVD.
1 Appuyez sur RECEIVER pour selectionner le mode de fonctionnement du recepteur.
2 Appuyez sur SIGNAL SEL pour sélectionner le signal d'entrée correspondant au composant source.
Chaque pression permit de passer d'une option à l'autre, dans l'ordre suivant :
- AUTO - Le récepteur sélectionne le premier signal disponible dans l'ordre suivant : HDMI: DIGITAL; ANALOG.
ANALOG - Sélectionne un signal analogue.
- DIGITAL - Sélectionne un signal numérique optique ou coaxial.
- HDMI - Sélectionne un signal HDMI.
— Lorsque le paramètre de sortie audio HDMI est réglé sur THROUGH, le son est restitué par le téléviseur et non pas par ce récepteur.
Lorsque DIGITAL, HDMI ou AUTO est spécifique (DIGITAL ou HDMI seulement sélection), les indicateurs s'allument de la façon suivante en fonction du signal décodé (consultez Afficheur à la page 10).
Contrôle de phase pour un son de meilleure qualité
Le contrôle de phase de ce récepteur utilise les mesures de correction de phase pour garantir que votre source sonore arrive en phase en position d'écoute, empêchant ainsi toute déformation et/ou coloration indésirable du son. La technologie de contrôle de phase permet une restitution sonore uniforme grâce à l'utilisation de la concordance de phase, offrant ainsi une image sonore parfaite. Cette fonction est activée par défaut et nous vous recommendons
de conserver ce paramétrage pour toutes les sources sonores.
1 Appuyez sur RECEIVER pour selectionner le mode de fonctionnement du recepteur.
2 Appuyez sur PHASE CTRL (PHASE CONTROL) pour activer la correction de phase.
Sur le panneau avant, l'indicateur PHASE CONTROL s'allume.

Remarque
- La concordance de phase est un facteur essentiel à une restitution sonore de qualité. Si deux formes d'onde sont en phase, elles atteignent leurs niveaux minimum et maximum en même temps, ce qui garantit une amplitude, une clarté et une présence accrues du signal sonore. Si la créée d'une onde rejoint un creux, le son n'est plus en phase, résultat en une image sonore de mauvaise qualité.
- Pour les disques créés avec d'autres normes que le contrôle de phase, le canal LFE est retardé lors de l'enregistrement au tout début. La fonction Phase Control Plus corrighe le décalage de phase sur ces disques. Pour les instructions concernant la fonction Phase Control Plus, consultez la section Réglage des options audio à la page 50.
- Si le caisson de grave est muni d'un bouton de contrôle de phase, réglez-le sur le signe (+) (ou 0^ ). Toutefois, l'effet obtenu sur ce récepteur lorsque PHASE CONTROL est régle sur ON dépend du type de caisson de grave. Réglez votre caisson de grave pour optimiser l'effet. Il est également conseilé d'essayer de changer l'orientation ou l'emplacement du caisson de grave.
-
Mettez le bouton du filtre passée-bas de votre caisson de grave en position hors service. Si ce n'est pas possible sur votre caisson de grave, réglez la fréquence de coupure sur une valeur plus élevé.
-
Si la distance des enceintes n'a pas eté régée correctement, il peut être impossible d'obtenir un meilleur effet PHASE CONTROL.
- Le mode PHASE CONTROL ne peut pas etre régé sur ON dans les cas suivants :
—Lorsqu'un casque d'écoute est branché.
—Lorsque le mode PURE DIRECT est en service.
—Lorsque le paramètre de sortie audio HDMI est réglé sur THROUGH in Réglage des options audio à la page 50.
Amélioration du son avec le contrôle de phase et le contrôle de phase pleine bande
Ce recepteur présente deux types de fonctions pour corriger la distorsion de phase et le retard de groupe : Le contrôle de phase et le contrôle de phase pleine bande. Il est conseilé demettre en service le contrôle de phase pleinebande parce qu'il inclut aussi les effets ducontrolde phase.
Le contrôle de phase pleine bande permet de calibrer les caractéristiques de fréquence-phase des enceintes raccordées.
Les enceintes classiques conçues exclusivement pour l'usage audio reproduisent en général le son en fonction des différentes bandes de fréquence d'un système d'enceintes intégrant plusieurs haut-parleurs (par exemple, les haut-parleurs d'aigus, de médiums et de graves correspondant respectivement aux hautes, aux moyennes et aux basses fréquences dans le cas d'enceintes à 3 voies). Bien que conçues pour aplanir les caractéristiques de fréquence-amplitude sur de larges plages, dans certains cas ces enceintes ne parviennent pas à aplanir les caractéristiques du retard de groupe efficacement. Cette distorsion de phase des enceintes accroit par la suite le retard de groupe (le retard du son des basses fréquences par rapport au
son des hautes fréquences) pendant la lecture du signal audio.
Ce récepteur analyse les caractéristiques de fréquence-phase des enceintes en mesurant les signaux de test émis par les enceintes avec le microphone fourni et aplanit les caractéristiques de fréquence-phase analysées pendant la lecture du signal audio. La même correction est effectue sur les enceintes gauche et droite. Cette correction réduit le retard de groupe entre les plages d'une même enceinte et améliore les caractéristiques de fréquence-phase sur toutes les plages.
En outre, l'amélioration des caractéristiques de fréquence-phase entre les canaux facilite l'intégration du son surround lors du réglage multicanaux.
1 Appuyez sur RECEIVER pour selectionner le mode de fonctionnement du recepteur.
2 Appuyez sur PHASE CTRL (PHASE CONTROL) pour sélectionner FULLBAND PHASE.
Le contrôle de phase et le contrôle de phase pleine bande sont mis en service. Sur le panneau avant, les indicateurs FULL BAND et s'allument.

Remarque
- Pour calibrer et analyser les caractéristiques de fréquence-phase des enceintes, effectuez les opérations mentionnées pour la
Full Auto MCACC dans Advanced MCACC (consultez la section Obtention automatique d'un réglage sonore optimal (Full Auto MCACC) à la page 27 ) ou règlez Auto MCACC dans
Auto MCACC dans ADVANCED MCACC sur Full Band Phase Ctrl. Sélectionnez ALL lorsque vous effectuez la Auto MCACC avec le menu Auto MCACC. Lors du calibrage des caractéristiques de fréquence-phase des enceintes, la fonction Full Band Phase Ctrl est automatiquement mise en service.
- Les caractéristiques originales du retard de groupe des enceintes calibrées et les caractéristiques escomptées après la correction peuvent être affichées graphiquement sur l'écran GUI (consultez la section Vérification des données MCACC à la page 69). D'autre part, une fois les mesures transférées sur l'ordinateur à l'aide du CD-ROM (AVNavigator), les caractéristiques originales du retard de groupe des enceintes calibrées et les caractéristiques corrigées du retard de groupe peuvent être affichées en 3 dimensions sur l'ordinateur. Pour le détail, reportez-vous au mode d'emploi du logiciel Advanced MCACC PC Display Application present sur le CD-ROM (AVNavigator).
- Selon le signal d'entrée et le mode d'écoute, il peut être impossible de régler le mode Full Band Phase Ctrl sur ON.
- Le mode Full Band Phase Ctrl ne peut pas être régle sur ON dans les cas suivants :
—Lorsqu'un casque d'écoute est branché.
—Lorsque le mode PURE DIRECT est en service.
—Lorsque le paramètre de sortie audio HDMI est réglé sur THROUGH in Réglage des options audio à la page 50.

La fonction Home Media Gallery de ce récepteur permet d'écouter des fichiers audio ou d'écouter des stations radio Internet sur un ordinateur ou un autre composant relié à la borne LAN de ce récepteur. Ce chapitre déscrit comment configurer le récepteur et comment effectuer la lecture pour bénéficier de ces fonctions. Il est conseilé de se reférer aussi au mode d'emploi fourni avec le composant en réseau.
- Pour pouvoir écouter des stations radio Internet, il faut s'abonnner auprès d'un fournisseur de service Internet (FSI).
- Les fichiers photo ou video ne peuvent pas etre lus.
- Avec Windows Media Player 11 ou Windows Media Player 12, vous pouvez même écouter les fichiers audio protégés sur ce récepteur.
Ce récepteur est pourvu d'une borne LAN, et en raccordant vos composants à cette borne vous pourrez utiliser les fonctions suivantes.
- Lecture de fichiers de musique enregistrés sur un ordinateur
Vous pouvez écouter par l'intérimédiaire de cet apparéil toute votre musique enregistrée sur ordinateur.
Consultez la section Lecture avec Home Media Gallery à la page 43 et Lecture de fichiers audio enregistrés sur des composants en réseau à la page 43.
- Vous pouvez écouter des fichiers audio enregistrés non seulement sur un ordinateur mais aussi sur d'autres composants en utilisant le serveur multimédia intégré fonctionnant selon le logiciel et les protocôtes DLNA 1.0 ou DLNA 1.5 (disques durs et chaînes audio capables de connexion réseau).
- Ecoute des stations radio Internet
Vou puez selectionner dans la liste des stations radio Internet creeee, modifiee et geree par le service vTuner exclusivement pour les produits Pioneer vos stations préferees pour les écouter.
Consultez la section Lecture avec Home Media Gallery à la page 43 et Ecoute des stations radio Internet à la page 43.
Introduction
À propos des dispositifs interopérables en réseau DLNA
La fonction Home Media Gallery permet d'écouter la musique disponible sur les serveurs multimédia raccordés au même réseau local (LAN) que le récepteur. Cet apparéil permet de dire les fichiers enregistrés sur :
- Les ordinateurs fonctionnant sous Microsoft Windows Vista ou XP pourvus de Windows Media Player 11
- Ordinateurs fonctionnant sous Microsoft Windows 7 avec Windows Media Player 12 instalé
- Les serveurs multimédia numériques compatibles avec la norme DLNA (sur les ordinateurs ou d'autres composants)
Les fichiers stockés sur un ordinateur ou un DMS (Digital Media Server), comme indiqué ci-dessus, peuvent être lus via un contrôleur de media numérique externe (DMC). Les dispositifs contrôlés par ce DMC pour la lecture de fichiers sont appelés DMR (Digital Media Renderer). Ce récepteur dispose de cette fonction DMR. En mode DMR certaines opérations comme la lecture et l'arrêt de la lecture de fichiers peuvent être effectuées depuis un contrôleur externe. Le réglage de volume et la mise en sourdine sont également possibles. Le mode DMR est annulé si la télé-commande est utilisée en mode DMR (sauf pour certaines touches, comme les touches MASTER VOLUME +/-, MUTE et DISP).
- Selon le contrôleur externe utilisé, la lecture peut être interrompue au moment où le volume est régé sur le contrôleur. Dans ce cas, ajustez le volume sur le récepteur ou la télécommande.
Utilisation d'AirPlay sur un iPod touch, iPhone, iPad et iTunes
Ce récepteur prend en charge la diffusion en flux audio AirPlay depuis iPod touch (généra-tions 2, 3 et 4), iPhone 4, iPhone 3GS, iPad iOS 4.2 ou ultérieure, et iTunes 10.1 (Mac et PC) ou ultérieure.
Pour utiliser AirPlay, Sélectionnez vous récep-teur sur votre iPod touch, iPhone, iPad ou dans iTunes. 1
L'entrée du récepteur bascule automatiquement sur Home Media Gallery lorsque AirPlay est en service. 2
En mode AirPlay les opérations suivantes peuvent être effectuees :
- Réglage du volume du récepteur depuis l'iPod touch, iPhone, iPad ou iTunes.
- Pause/reprise de la lecture, plage precedente/ suivante et lecture aléatoire/répetée depuis la télécommande du récepteur.
- Affichage sur le récepteur des informations sur la plage en cours de lecture, en particulier du nom de l'auteur, du morceau et de l'album. 1: Pour plus d'informations, reportez-vous au site Apple (http://www.apple.com).
2: Le récepteur s'allume automatiquement lorsque Network Standby dans
Network Setup est regle sur ON.

Remarque
- Un raccordement au réseau est nécessaire pour pouvoir utiliser AirPlay.
- Le nom du récepteur qui apparait dans AirPlay UI sur l'iPod touch, iPhone, iPad ou iTunes peut être changé avec Friendly Name dans Network Setup.
- La version AirPlay de ce récepteur a été mise au point et testée à partir des versions iPod, iPhone, iPad et des versions pour iTunes mentionnées sur le site de Pioneer. AirPlay peut ne pas être compatible avec les versions d'iPod, iPhone, iPad ou iTunes non mentionnées sur le site Pioneer.
À propos du serveur DHCP
Pour lire les fichiers audio enregistrés sur des composants en réseau ou pour écouter les stations radio Internet, la fonction de serveur DHCP de votre réseau doit être mise en service. Si vous routeur ne présente pas cette fonction, il faudra paramétrer le réseau manuellement. Sinon, vous ne pourrez pas lire les fichiers audio enregistrés sur es composants
en réseau ni écouter les stations radio Internet. Pour plus d'informations, consultez la section Menu de configuration du réseau à la page 75 .
Autorisation de ce récepteur
Pour pouvoir dire Home Media Gallery, ce récepteur doit être autorisé. L'autorisation est accordée automatiquement lorsque le récepteur se connecte à l'ordinateur par le réseau. Si ce n'est pas le case, autorise le récepteur manuellement sur l'ordinateur. La méthode d'autorisation (ou de permission) d'accès dépend du type de serveur auquel vous vous connectez. Pour plus d'informations sur l'autorisation de ce récepteur, reportez-vous au mode d'emploi de votre serveur.

Important
- Lors de la lecture de fichiers audio, 'Connecting...' s'affiche avant le début de la lecture. Cette indication peut rester quelques secondes affichée, selon le type de fichier.
- Si un domaine est configuré dans un environnement réseau Windows, vous ne pourrez pas acceder à l'ordinateur en réseau pendant la connexion au domaine. Au lieu de vous connecter au domaine, connectez-vous sur la machine locale.
- Dans certains cas, le temps écoulé peut ne pas s'afficher correctement.
Il faut quelques secondes au récepteur pour acceder au réseau. La page suivante apparait lorsque Home Media Gallery est sélectionné comme fonction d'entrée. Le numéro juxtaposé à indique le nombre de serveurs raccordés.

- Il n'est pas possible d'acceder au serveur sans symbole.
2 Utilisez / pour sélectionner la catégorie que vous voulez dire, puis appuyez sur ENTER.
Sélectionnez une catégorie dans la liste suivante :
- Internet Radio - Radio Internet
- Nom de serveur - Composants serveur en réseau
- Favorites - Morceaux favoris en cours d'enregistrement
- Recently played - Historique des écoutes de la radio Internet (les 20 dernières écoutes les plus récentes)
Selon la catégorie selectionnelle, les noms des dossiers, des fichiers et des stations radio Internet sont indiqués.
3 Utilisez ↑/↓ pour sélectionner le dossier, les fichiers de musique ou la station radio Internet que vous VOULEZ écouter, puis appuyez sur ENTER.
Appuyez sur ↑/↓ pour monter ou descendre dans la liste et sélectionner l'objet souhaité. Lorsque vous appuyez sur ENTER, la lecture commence et la page de lecture de l'objet选拔né s'affiche. Pour revenir à la liste, appuyez sur RETURN.
Lorsque vous affichez la liste depuis la page de lecture, la page de lecture réapparait automatique si vous n'effectuez aucune opération durant 10 secondes.
Seuls les fichiers audio pourvus du symbole
peuvent etre lus.Dans le cas de dossiers
pourvus du symbole , utilisez / et ENTER pour sélectionner le dossier et les fichiers audio souhaités.
4 Repetez l'etape 3 pour écouter le morceau souhaite.
Pour de plus amples informations, consultez la section indiquée ci-dessous.
- Stations radio Internet - Consultez la section Ecoute des stations radio Internet à la page 43
- Serveur - Consultez la section Lecture de fichiers audio enregistrés sur des composants en réseau à la page 43.
Lecture de fichiers audio enregistrés sur des composants en réseau
Voupeuvezutiliser la telecommande de ce récepteur poureffectuer les opérations suivantes.Notezque, selon la catégorie en cours de lecture,certaines touches ne seront pas disponibles.
- Appuyez sur HMG pourmettre la télécommande en mode de fonctionnement HOME MEDIA GALLERY.

Ecoute des stations radio Internet
La radio Internet est un service radio diffusé par Internet. Il existe un grand nombre de stations radio Internet diffusant une grande variété de services dans le monde entier. Certaines sont hébergées, gérées et diffusées par des personnes privées tandis que d'autres le sont par les stations radio hertziennes classiques et les réseaux de radiocommunication. Alors que
les stations radio hertzienne, ou OTA (over-the-air), sont géographiquement limitées par la portée des ondes radio transmises par l'émetteur, les stations radio Internet sont accessibles dans chaque partie du monde dans la mesure où une connexion Internet est disponible, car elles transmettent leurs émissions par la toile et non pas par les ondes. Sur ce récepteur vous pouvez sélectionner les stations radio Internet en fonction du genre et de la région.
Lors de l'écoute de la radio par Internet, le son peut être plus ou moins bon, selon l'état de la connexion Internet.
À propos de la liste de radio Internet
La liste des stations radio Internet de ce récepteur est créé, modifiée et générée par le service vTuner exclusivement pour ce récepteur. Pour de plus amples informations sur vTuner, consultez la section vTuner à la page 97.
Sauvegarde et réactivation de stations radio Internet
Vou puez aisement sauvegarder des stations radio Internet et les reactiver plus tard. Pour plus d'informations, consultez la section Fonctions avancées de radio Internet à la page 44.
- Pour écouter les stations radio Internet, vous devez avoir un accès haute vitesse à Internet par une large bande. Avec un modem de 56 K ou ISDN, vous ne pourrez pas profiter pleinement de la radio Internet.
- Le numéro de port varie selon la station radio Internet. Vérifiez les réglages de pare-feu.
- Les listes de stations radio Internet fournies par le service vTuner sont susceptibles d'être modifiées ou supprimées sans avis prétable pour différentes raisons.
- Certaines émissions peuvent être arrêtées ou interrompues sur certaines stations radio Internet. Dans ce cas, vous ne pouvez plus les
écouter lorsqu'vous les Sélectionnez dans la liste des stations radio Internet.
Consignation de stations ne se trouvant pas dans la liste vTuner du site spécial Pioneer
Les stations n'apparaissant pas dans la liste de stations retransmises par vTuner peuvent etre consignees et ecoutees sur ce recepteur. Verifiez le code d'acces nécessaire a la consignation sur ce recepteur, utiliseze ce code pour acceder au site special radio Internet Pioneer et consignez les stations souhaitees comme favorites.L'adresse du site special radio Internet Pioneer est la suivante: http://www-radio-pioneer.com
1 Affichez la liste de la radio Internet.
Pour afficher lla liste de la radio Internet, effec-tuez les étapes 1 à 3 de la section Lecture avec Home Media Gallery à la page 43.
2 Utilisez ↑/↓ pour sélectionner 'Help', puis appuyez sur ENTER.
3 Utilizez ↑/↓ pour sélectionner 'Get access code', puis appuyez sur ENTER.
Le code d'accès nécessaire à la consignation sur le site spécial radio Internet Pioneer s'affiche. Notez ce code.
Les éléments suivants peuvent être vérifiés sur la page Help :
Get access code -Permet d'afficher le code d'acces necessaire a la consignation sur le site special radio Internet Pioneer.
- Show Your WebID/PW - Àpès la consignation sur le site spécial radio Internet Pioneer permit d'afficher le code d'identification et le mot de passer enregistrés.
- Reset Your WebID/PW - Permit de réinitialiser toutes les informations concernant le site spécial radio Internet Pioneer. Lorsque les informations sont réinitialisées, toutes les stations consignées
dont suprimées. Si vous voulez écouter de nouveau les mêmes stations, vous devrez les consignez à nouveau.
4 Accededz au site spécial radio Internet Pioneer par votre ordinateur et procededz à la consignation.
http://www-radio-pioneer.com
Accedez au site mentionné et utilisez le code d'accès obtenu à l'étape 3 pour procéder à votre enregistrement en suivant les instructions s'affichant à l'écran.
5 Consignez vos stations favorites en suivant les instructions sur l'écran de l'ordinateur.
Voussupouviezconsigneraussibienlesstations nefigurantpas dansla listevtunerque les stationsfigurant dansla listevtuner.Elles seront consignees en tant que favorites sur le récepteur et peuvent alors être écoutees.
Lecture de vos morceaux préféres
Vou puez consigner jusqu'à 20 de vos morceaux ou stations radio Internet favors dans le dossier Favorites. Seuls les fichiers audio enregistrres sur des composants en réseau peuvent etre consignes dans ce dossier.
Consignation et suppression de fichiers audio et de stations radio Internet dans et du dossier Favorites
Appuyez sur PGM pendant la lecture ou l'arrêt d'un morceau. Le morceau sélectionné est consigné dans le dossier Favorites.
Un maximum de 20 morceaux ou stations radio Internet peuvent etre consignes dans ce dossier.
Pour supprimer un morceau consigné, selec-tionnez le dossier Favorites, selectionnez le morceau que vous pouze supprimer du dossier,
puis appuyez sur CLR. Le morceau selectionné est supprimé du dossier Favorites.
Fonctions avancées de radio Internet
Sauvegarde de stations radio Internet
Ce récepteur peut<memoriser les stations radio Internet que vous écoutez souvent dans sept classes (A à G) avec un maximum de neuf stations dans chaque classe et en tout un maximum de 63 stations.
1 Faites I'accord sur la station radio Internet que vous poulez sauvegarder.
Pour ce faire, procédez comme indiqué aux étapes 1 à 3 de la page 43.
2 Appuyez sur T.EDIT pour passer au mode de sauvegarde de stations.
3 Appuyez sur CLASS pour selectionner la classe où vous voulez sauvegarder la station.
Selectionne la classe A à G souhaitee.
4 Utilisez ↑/↓ pour sélectionner le nombre où vous voulez sauvegarder la station, puis appuyez sur ENTER.
Vou puez selectionner le numero de station à l'aide des touches numériques. Sélectionnez le numero souhaïte de 1 à 9.
Réactivation de stations radio Internet
Voudevez sauvegarder des stations radio Internet pour pouvoir les reactiver. Si aucune station radio Internet n'a ete sauvegardee, consultez la section Sauvegarde de stations radio Internet a la page 44 et sauvegardez au moins une station radio Internet avant de passer aux etapes suivantes.
1 Sélectionnez la classe où se trouve la station radio Internet que vous pouze réactiver.
Chaque fais que vous appuyez sur CLASS, la classe change de A à G.
2 Utilisez / pour sélectionner le numéro de la station que vous pouze réactiver.
Yououpouzeselectionnerle numero de station à l'aide des touches numériques.
'Preset Not Stored' apparait si vous selectionnez un numero ne contenant aucune station radio Internet.
À propos de la lecture en réseau
Cet apparéil utilise les technologies suivantes pour la lecture en réseau :
Pour plus d'informations, consultez la section Windows Media Player 11/ Windows Media Player 12 à la page 97.
WMDRM (Microsoft Windows Media Digital Rights Management) est une plateforme protégeant et fournissant en toute sécurité des contenus pouvant être lus sur les ordinateurs, les périhériques portables et les périhériques en reseau. Home Media Gallery fonctionne comme plateforme WMDRM 10 pour les périhériques en reseau. Les contenus protégés par WMDRM ne peuvent être lus que sur les serveurs multimédia prénant en charge WMDRM.
Les propriétaires de contenus emploient la technologie WMDRM pour protéger leur propriété intellectuelle et leurs droits d'auteurs. Cet apparéil utilise un logiciel WMDRM pour acceder aux contenus protégés par WMDRM. Si le logiciel
WMDRM ne parvient pas à protégé les contenus, les propriétaires de contenus peuvent demander à Microsoft de révoquer la capacité du logiciel d'employer WMDRM pour lire ou copier du contenu protégé. La revocation n'affecte pas les contenus non protégés. Lorsque vous téléchargez des licences pour du contenu protégé, vous acceptez que Microsoft puisse inclure une liste de revocation avec dans les licences. Les propriétaires de contenus peuvent vous demander demettre à jour le logiciel WMDRM pour acceder à leurs contenus. Si vous refusez une mise à jour, vous ne pourez plus acceder aux contenus exigeant une mise à jour.
Ce produit est protégé par certains droits de propriété intellectuelle de Microsoft. L'emploi ou la distribution d'une telle technologie hors de ce produit sans licence Microsoft sont interdits.
DLNA

dina
CERTIFIED
Lecteur audio DLNA CERTIFIEDTM
La DLNA (Digital Living Network Alliance) est une alliance transindustrielle des sociétés de production d'appareils électroniques grand public, d'ordinateurs et de pérophériques mobiles. Digital Living permet aux consommateurs de partager aisément les médias numériques par leurs réseaux avec ou sans fil. Le logo DLNA permit de trouver facilement les produits conformes aux Directives d'interopérabilité DLNA. Cet apparéil est conforme aux Directives d'interopérabilité DLNA v1.5. Lorsqu'un ordinateur intégrant un logiciel serveur DLNA ou un autre pérophérique compatible DLNA est relié à ce lecteur, certains paramètres du logiciel ou du pérophérique
devront évientuellesment être changés. Veuillez vous reporter au mode d'emploi du logiciel ou du périphérique pour plus d'informations à ce sujet.
DLNA™, le logo DLNA et DLNA CERTIFIED™ sont des marques commerciales, des marques de service ou des marques de certification de Digital Living Network Alliance.
Contenus lisibles via un réseau
- Certains fichiers ne pourront pas etre lus correctement bien qu'ils soient dans un format compatible.
- Les fichiers de films ou de photos ne peuvent pas etre lus.
- Dans certains cas vous ne pourrez pas écouter une station radio Internet bien que vous l'ayez sélectionnée dans une liste de stations radio.
- Selon le type de serveur ou la version utilisé, certaines fonctions ne seront pas prises en charge.
- Les formats de fichiers pris en charge varient d'un serveur à l'autre. C'est pourquoi, les fichiers qui ne sont pas pris en charge par votre serveur n'apparaissent pas sur cet apparéil. Pour plus d'informations, contactez le constructeur de votre serveur.
Avis de non responsabilité concernant les contenus diffusés par un tiers
L'accès à du contente Web requiert un accès internet haut débit et peut aussi nécessiter l'enregistrement de vos coordonnées et le païement d'un abonnement sur un site.
Le contenu du site peut être changé, suspendu, interrompu sans aucun averissement, Pioneer déclinant toute responsabilité quant à d'eventuels changements.
Pioneer decline toute responsabilité quant au contenu, à sa disponibilité et quant à la continuity du service.
Anomalies lors de lecture en réseau
- La lecture peut se bloquer si vous éteignez l'ordinateur ou supprimez des fichiers multimédia de l'ordinateur pendant la lecture de contenu.
- En cas de problèmes de réseau (trafic intense, etc.) le contenu risque de ne pas s'afficher ou de ne pas être lu correctement (la lecture peut être interrompue ou bloquee). Pour éviter ce type de problème, il est conseilé de relier le lecteur et l'ordinateur par un cable 100BASE-TX.
- Si plusieurs clients lisent les mêmes fichiers simultanément, la lecture peut être interrompue ou se bloquer.
- Selon le logiciel antivirusinstalled sur l'ordinaireur raccordedetre reglage de ce logiciel,la connexion reseaupeut se bloquer.Pioneer n'est pas responsable du mauvais fonctionnement du lecteur et/ou des fonctions Home Media Gallery d'ua une erreur ou a un dysfonctionnement de la communication avec voire connexion reseau et/ou voire ordinaire, ou un autre appeareil raccorded.Veuillez contacter le fabricant de voire ordinaire ou voire fournisseur de service Internet.
"Windows Media™" est une marque commerciale de Microsoft Corporation.
Ce produit intègue une technologie détenue par Microsoft Corporation, qui ne peut être utilisée ou distribuée que sous licence de Microsoft Licensing, Inc.
Microsoft, Windows, Windows Vista, Windows XP, Windows 2000, Windows Millennium Edition, Windows 98 et Windows NT sont des marques commerciales ou des marques déposées de Microsoft Corporation aux États-Unis et/ou dans d'autres pays.
La fonction Home Media Gallery de ce récepteur prend en charge les formats de fichiers suivants. Notez que certains formats de fichiers ne sont pas disponibles pour la lecture bien qu'ils figurent comme formats de fichiers lisibles. De plus, la compatibilité des formats de fichiers dépend du type de serveur. Assurez-vous auprès de votre serveur de la compatibilité des formats de fichiers pris en charge.
- L'écoute de radio Internet peut être affectée par l'environnement des communications Internet et, dans ce cas, la lecture peut être impossible même les fichiers adoptent les formats suivants.
Fichiers de musique
| Catégorie | Extension | Flux |
| MP3 | .mp3 | MPEG-1 Audio Layer-3 | Fréquence d'échantillonnage | 8 kHz à 48 kHz |
| Débit binaire requis pour la quantification | 16 bits |
| Canal | 2 canaux |
| Débit binaire | 8 kbps à 320 kbps |
| VBR/CBR | Pris en charge/Pris en charge |
| LPCM | — | LPCM | Fréquence d'échantillonnage | 8 kHz à 48 kHz |
| < b> | Débit binaire requis pour la quantification | 16 bits, 20 bits, 24 bits |
| Canal | 2 canaux |
| WAV | .wav | LPCM | Fréquence d'échantillonnage | 8 kHz à 192 kHz |
| Débit binaire requis pour la quantification | 16 bits, 20 bits, 24 bits |
| Canal | 2 canaux |
| WMA | .wma | WMA2/7/8 | Fréquence d'échantillonnage | 8 kHz à 48 kHz |
| Débit binaire requis pour la quantification | 16 bits |
| Canal | 2 canaux |
| Débit binaire | 5 kbps à 320 kbps |
| VBR/CBR | Pris en charge/Pris en charge |
| WMA9 | Fréquence d'échantillonnage | 8 kHz à 48 kHz |
| Débit binaire requis pour la quantification | 16 bits |
| Canal | 2 canaux |
| Débit binaire | 5 kbps à 320 kbps |
| VBR/CBR | Pris en charge/Pris en charge |
| Catégorie | Extension | Flux |
| AAC | .m4a | MPEG-4 AAC LC | Fréquence d'échantillonnage | 32 kHz à 48 kHz |
| .aac | Débit binaire requis pour la quantification | 16 bits |
| .3gp | MPEG-4 HE AAC (aacPlus v1/2) | Canal | 2 canaux |
| .3g2 | Débit binaire | 16 kbps à 320 kbps |
| VBR/CBR | Pris en charge/Pris en charge |
| FLAC | .flac | FLAC | Fréquence d'échantillonnage | 8 kHz à 192 kHz |
| Débit binaire requis pour la quantification | 8 bits, 16 bits, 24 bits |
| Canal | 2 canaux |
| Débit binaire | — |
| VBR/CBR | — |
a "Technologie de decodage audio MPEG Layer-3 sous licence de Fraunhofer IIS et Thomson Multimedia."
b Seules les données transmises en continu des serveurs sont concernées, il n'y a donc pas d'extension.
Commande par l'HDMI
À propos de la commande par l'HDMI
Un téléviseur ou un lecteur Blu-ray Disc Pioneer, compatible avec la fonction Control par l'HDMI, ou un composant d'une autre marque supporting la fonction Control par l'HDMI peut fonctionner de manière synchrone avec le recepteur s'ils sont reliés à l'aide d'un cable HDMI.
Le volume du récepteur peut être régé ou le son coupé par la télécommande du téléviseur.
L'entrée du récepteur change automatiquement lorsque l'entrée du télévisuer est changé ou un composant compatible avec la fonction Control par l'HDMI est lu.
- Dans ce cas, le récepteur est mis en voille en même temps que le téléviseur.

Important
- Sur les apparèils Pioneer, la fonction Control par l'HDMI est appelée "KURO LINK".
- Vous ne pouvez pas utiliser cette fonction si vos composants ne sont pas compatibles avec la fonction Control par l'HDMI.
-
Nous garantissons le fonctionnement de ce récepteur seulement avec les composants Pioneer compatibles avec la fonction Control par l'HDMI ou les composants d'une autre marque compatibles avec la fonction Control par l'HDMI. Toutefois, nous ne pouvons pas garantir que toutes les opérations synchrones fonctionneront avec les composants d'autres marques disposant de la fonction Control par l'HDMI.
Utilisez un cable HDMI haute vitesse si vous pouvez utiliser la fonction Control par l'HDMI. La fonction Control par l'HDMI peut ne pas agir correctement si un另一种 type de cable HDMI est utilisé.
-
Pour de plus amples informations sur les diverses opérations, les réglages, etc., reportez-vous au mode d'emploi de chaque composant.
Raccordements pour la Commande par l'HDMI
Vou pouve agir de maniere synchronize sur un téléviseur et un maximum de 7 autres composants raccordés à cet apparéil.
- Veiliez à raccarder le cable audio du téléviseur à l'entrée audio de cet apparéil. Lorsque le téléviseur et le récepteur sont raccardés par des liaisons HDMI, le son du téléviseur est transmis au récepteur par la prise HDMI OUT, et chaque cable audio n'est nécessaire, dans la mesure où le téléviseur présente le ARC (Canal de return audio) comme fonction HDMI. Dans ce cas, Reglez TV Audio dans HDMI Setup sur via HDMI (consultez la section Réglage de l'HDMI à la page 47).
Pour plus d'informations, consultez la section Raccordement d'un téléviseur ou de lecteurs à la page 19.

Important
- Avant de relier les composants du système ou de changer les liaisons, voirlez à couper l'alimentation et à débrancher tous les cordons d'alimentation de la prise murale. Lorsque tous les apparèils sont raccordés, branchez les cordons d'alimentation sur la prise murale.
- Lorsque ce récepteur est relié à une prise secteur, un processus d'initialisation de l'HDMI de 2 à 10 secondes commence. Durant celui-ci il n'est pas possible d'effectuer d'autres opérations. Le témoin HDMI clignote sur l'afficheur du panneau
avant pendant l'initialisation, et vous pouvezmettre le recepteur sous tension lorsque leclignotement a cession. L'initialisation ne serapas effectuee si la fonction Control par leur sous tension lorsque le clignotemeHDMI estreglee sur OFF. Pour plus d'informations surla fonction Control par I'HDMI, consultez lasection Commande par I'HDMI à la page 47 .
- Pour tirer le meilleur part de cette fonction, il est conseilé de raccorder le composant HDMI directement à la prise HDMI de ce récepteur et non pas au téléviseur.
- La fonction Control par l'HDMI peut être utilisée avec un téléviseur raccordé par la prise HDMI OUT 1, mais pas avec un téléviseur raccordé par la prise HDMI OUT 2.
Réglage de l'HDMI
Voudevezeffectuerdesreglagessurce récep-.
teur de même que sur les composants compatibles avec la fonction Control par l'HDMI raccordés au récepteur pour pouvoir utiliser la fonctionControlpar l'HDMI.Pour plus d'informations,consultezle mode d'emploi de chaque composant.
1 Appuyez sur RECEIVER de la télécommande, puis sur HOME MENU.
2 Sélectionnez 'System Setup', puis appuyez sur ENTER.
3 Sélectionnez 'HDMI Setup', puis appuyez sur ENTER.
4 Sélectionnez le réglage 'Control' souhaïte.
Precisez si la fonction Control par l'HDMI de cet apparéil doit être régée sur ON ou OFF.
Vous doivent la régler sur ON pour pouvoir utiliser la fonction Control par l'HDMI.
Si vous utilisez un composant ne prénant pas en charge la fonction Control par l'HDMI, réglez-la sur OFF.
- ON - Active la fonction Control par l'HDMI. Lorsque cet apparéil est étèint et une source compatible est reproductive alors que la fonction Control par l'HDMI est utilisé, les signaux audio et video provenant de la prise HDMI sont restitués par le téléviseur.
- OFF - Désactive la fonction Control par l'HDMI. Les opérations ne peuvent pas être synchronisées. Lorsque cet apparéil est étant, les signaux audio et video des sources raccordées par une liaison HDMI ne sont transmis.
5 Sélectionnez le réglage 'Control Mode' souhaïte.
Spcifiez si I'HDMI doit etre activee pour toutes les fonctions en relation ou pour la fonction PQLS seulement. Toutefois, l'extinction de I'afficheur activera les reglages specifiés à I'etape 6 ci-dessous.
- ALL - Activée pour toutes les fonctions en relation.
- PQLS - Activée seulement pour la fonction PQLS. Lorsque PQLS est sélectionné, les fonctions en relation à part la fonction PQLS peuvent ne pas fonctionner correctement. Si vous voulez utiliser toutes les fonctions en relation, sélectionnez ALL.
6 Sélectionnez le réglage 'Display Power Off' souhaité.
Si le téléviseur est eteint lorsque la fonction Control par I'HDMI est utilisée,le recepteur s'eteindra également (mise hors tension complete).Cette fonction peut etre désactivere.
-
YES - Met la fonction de mise hors tension complète en service. Le récepteur et le télévisueur se mettent hors tension en même temps. Cette fonction n'agit que lorsque l'entrée d'un composant raccordé au récepteur par la liaison HDMI est sélectionnée ou lorsque vous regardez la télévision.
-
NO - Met la fonction de mise hors tension complète hors service. Le récepteur et le télévisueur ne se mettent pas hors tension en même temps.
7 Sélectionnez le réglage 'Standby Through' souhaité.
Lorsque Control est ON, les signaux de la source ou du téléviseur raccordé au recepteur peuvent être transmis même lorsque le recepteur est en voille (Mode Standby Through). La consommation dans le mode Standby Through peut être réglée pour économiser l'énergie.
- Normal - Mode normal. Le temps de remise en marche depuis le mode Standby Through est court.
- Eco - La consommation en mode Standby Through est réduite. Le temps de remise en marche depuis le mode Standby Through est plus long.
8 Sélectionnez le réglage 'TV Audio' souhaïte.
Lorsqu'un téléviseur prenatal en charge la fonction ARC (Canal de retour audio) de l'HDMI est raccordé au récepteur, le son du téléviseur peut être transmis par la prise HDMI OUT.
Normal-Le son du téléviseur provient d'autres prises d'entrée audio que les prises d'entrée HDMI.
- via HDMI – Le son du téléviseur est transmis via la prise HDMI. Ce réglage ne peut être sélectionné que lorsque Control est réglier sur ON.
9 Sélectionnez le réglage '12V Trigger' souhaïte.
Le composant raccordé à la prise 12 V TRIGGER peut être allumé et être int en commutant HDMI OUT. HDMI OUT 1, HDMI OUT 2 ou OFF peut être sélectionné. Sélectionnez OFF si vous pouze que le composant soit commute en même temps que la fonction d'entrée.
Avant la synchronisation
Lorsque tous les composants ont ete raccordes et les reglages efectués, vous nevez :
1 Mettre tous les composant en veille.
2 Allumer tous les composants en prénantsoon d'allumer le téléviseur en dernier.
3 Choisir l'entrée HDMI par laquelle le télévisuer est relié à ce récepteur et vous assurer que le signal de sortie video des composants raccordés est indiqué correctement à l'écran.
4 Vérifier si les composants raccordés aux entrées HDMI sont correctement indiqués.
À propos des opérations synchronisées
L'appareil compatible avec la fonction Control par l'HDMI raccordé au récepteur fonctionne de manière synchrone de la façon suivante.
- Sur le menu du téléviseur compatible avec la fonction Control par l'HDMI, réglez le son devant être restitué par le récepteur, et le récepteur se mettra en mode d'amp synchronisé.
- Dans ce mode, vous pouvez régler le volume du récepteur ou couper le son par la télécommande du télévisuer.
-
Lorsque le mode amp synchronisé est en service, il est annulé lorsque le récepteur est étant. Pour remettre en service le mode amp synchronisé, réglez le son devant être restitué par le récepteur sur le menu du téléviseur, etc. Le récepteur s'allume et se met en mode amp synchronisé.
-
Lorsque le mode amp synchronisé est annulé, le récepteur s'eteint si vous regardiez une source HDMI ou une émission de télévision sur le télévisuer.
- En mode amp synchronisé, ce mode est annulé si une opération activant le son du téléviseur est effectue sur le menu du téléviseur, etc.
- Le récepteur est mis en vue en même temps que le téléviseur. (Seulement lorsque l'entrée d'un composant raccordé au récepteur par la liaison HDMI est sélectionnée ou lorsque vous regardez la télévision.)
- L'entrée du récepteur change automatiquement lorsqu'un composant compatible avec la fonction Control par l'HDMI est mis en mode de lecture.
- L'entrée du récepteur change automatiquement lorsque l'entrée du télévisuer est changée.
- Le mode amp synchronisé reste valide même si vous commutez l'entrée de ce récepteur sur un autre composant que celui raccordé par une liaison HDMI.
Les opérations suivantes peuvent aussi être effectuees sur un téléviseur Pioneer compatible avec la fonction Control par I'HDMI.
Lorsque le volume du récepteur est régé ou le son coupé, le niveau du volume est indiquésur l'écran du téléviseur.
- Lorsque la langue de l'affichage sur écran est changée sur le téléviseur, la langue du menu du récepteur change en conséquence.
À propos des raccordements à un produit d'une autre marque, prénant en charge la fonction Commande par l'HDMI
Les opérations suivantes peuvent être effectues lorsque ce récepteur, compatible avec la fonction Control par l'HDMI, est raccordé à un télévisur d'une autre marque que Pioneer
compatible également avec la fonction Control par l'HDMI. (Selon le téléviseur, certaines fonctions Control par l'HDMI peuvent ne pas agir.)
- Le récepteur est mis en vue en même temps que le téléviseur. (Seulement lorsque l'entrée d'un composant raccordé au récepteur par la liaison HDMI est seLECTIONnée ou lorsque vous regardez la télévision)
- Le son des émissions de télévision ou d'un composant raccord au téléviseur peut aussi être restitué par les enceintes reliées au récepteur. (Si le téléviseur ne prend pas en charge la fonction HDMI de ARC (Canal dekowski, un cable numérique optique, etc. devra être raccordé en plus du cable HDMI.)
Les opérations suivantes peuvent être effectues lorsque ce récepteur, compatible avec la fonction Control par l'HDMI, est raccordé à un lecteur ou enregistrure d'une autre marque que Pioneer compatible également avec la fonction Control par l'HDMI.
- Lorsque la lecture démarre sur le lecteur ou l'enregistreur, l'entrée du récepteur se règle sur l'entrée HDMI à laquelle ce composant est raccordé.
Consultez le site Pioneer pour les toutes dernières informations sur les modèles d'une autre marque que Pioneer et les produits prenatal en charge la fonction Control par l'HDMI.
Réglage de la fonction PQLS
Le PQLS (Système de verrouillage au quartz de grande précision) est une technologie de régulation du transfert des signaux audio numériques utilisant la fonction Control par l'HDMI. Ce système offre une lecture audio de grande qualité en régulant les signaux audio envoyés par le récepteur à un lecteur compatible PQLS, etc. Ceci permet d'éliminer la distorsion qui se produit au cours de la transmission et a un effet négatif sur la qualité du son.
- Sur les lecteurs compatibles avec le PQLS Bit-stream, le PQLS fonctionne pour toutes les sources.
- Sur les lecteurs compatibles avec le PQLS Multi Surround, le PQLS fonctionne pour toutes les sources. Réglez la sortie audio du lecteur sur le son PCM linéaire.
- Sur les lecteurs compatibles avec le PQLS 2 ch Audio, le PQLS fonctionne seulement pour les CD.
Veuillez vous reporter au mode d'emploi du lecteur pour plus d'informations à ce sujet. Cette fonction est activée lorsque Control est régle sur ON.
- Si un autre mode d'écoute que le mode AUTO SURROUND, ALC, DIRECT, PURE DIRECT, OPTIMUM SURR ou STEREO est sélectionné lorsquel l'effect PQLS est activé, l'effect PQLS sera désactivé.
- Lorsque ce récepteur est raccordé à l'aide d'un cable HDMI à un lecteur Pioneer compatible avec la fonction PQLS par une liaison HDMI et qu'une nouvelle authentication HDMI est effectuee (le témoin HDMI clignote), I'effect PQLS est activé et le mode d'écoute devient AUTO SURROUND si autre chose que AUTO SURROUND, ALC, DIRECT, PURE DIRECT, OPTIMUM SURR ou STEREO est sélectionné.
- Appuyez sur RECEIVER de la télécommande, puis appuyez sur PQLS pour sélectionner le réglage PQLS.
Le réglage apparait sur l'afficheur du panneau avant.
- PQLS AUTO - Effet PQLS activé. Ce récepteur intègre un régulateur au quartz, de grande précision, qui élimine la distorsion due aux erreurs de synchronisation (gique) et garantit de ce fait la meilleure conversion possible des signaux numériques des CD audio en signaux analogiques lorsque l'interface HDMI est utilisée. Ceci est une fonction des fonctions HDMI des lecteurs compatibles PQLS.
PQLS OFF - Effet PQLS désacté.
Précautions concernant la fonction Commande par l'HDMI
- Raccordez le téléviseur directement à ce récepteur. L'interruption d'une liaison directe avec d'autres amplificateurs ou un convertisseur AV (par exemple un commutateur HDMI) peut entraîner des problèmes de fonctionnement.
- Ne raccordez que les composants (lecteur Bluray Disc, etc.) que vous pouze utiliser comme source à l'entrée HDMI de ce récepteur. L'interruption d'une liaison directe avec d'autres amplificateurs ou un convertisseur AV (par exemple un commutateur HDMI) peut entraîner des problèmes de fonctionnement.
Lorsque Control est regle sur ON, HDMI Input dans Le menu Input Setup à la page 29 se règle automatiquement sur OFF.
- Si la fonction Control du récepteur est régée sur ON, les signaux audio et video d'un lecteur peuvent être retransmis par la liaison HDMI au téléviseur, même si le récepteur est en voille, mais le récepteur n'émettra pas le son; ceci n'est toute fois possible que si un téléviseur et un composant (lecteur Blu-ray Disc, etc.) compatibles avec la fonction Control par l'HDMI sont raccordés. Dans ce cas, le récepteur se met sous tension et les témoin d'alimentation et HDMI s'allument.
Utilisation d'autres fonctions
Réglage des options audio
Vou puez effectuer des reglages supplémentaires pour le son sur le menu des AUDIO PARAMETER. Les reglages par défaut, s'ils ne sont pas précisés, sont indiqués en gras.

Important
- Notez que les réglages qui ne sont pas disponibles en raison de la source Sélectionnée, des réglages et de l'etat actuel du récepteur n'apparaissent pas sur le menu AUDIO PARAMETER.
1 Appuyez sur RECEIVER pour selectionner le mode de fonctionnement du récepteur, puis appuyez sur AUDIO PARAMETER.
2 Utilisez / pour sélectionner le réglage que vous souhaiter ajuster.
En fonction de l'etat/du mode actuel du récepteur, certaines options peuvent ne pas être sélectionnées. Consultez le tableau ci-dessous pour obtenir des remarques à ce sujet.
3 Utilisez / pour ajuster le réglage si nécessaire.
Consultez le tableau ci-dessous pour connaître les options disponibles pour chaque réglage.
4 Appuyez sur RETURN pour confirmer et quitter le menu.
Menu de paramètres audio
| Réglage | Action | Option(s) |
| MCACC(Préréglage MCACC) | Sélectionne la mémoire de préréglage MCACC souhai-tée lorsque plusieurs préréglages ont été sauvégardés. Si vous aviez donné un nom à cette mémoire, le nom est indiqué. | « M1. MEMORY 1 àM6. MEMORY 6 »Réglage par défaut :M1. MEMORY 1 |
| EQ(Egaliseur du calibrageacoustique) | Met en ou hors service les effets de l'égaliseur profes-sionnel. | ONOFF |
| S-WAVE(Ondes stationnaires) | Met en ou hors service les effets du contrôle des ondes stationnaires. | ONOFF |
| Phase C+(Contrôle de phase Plus) | Pour les disques créés avec d'autres normes que le contrôle de phase, le canal LFE est retardé lors de l'enregistrement au tout début. Cette fonction corrige le décalage de phase sur ces disques. | « 0 à 16 (ms) »Réglage par défaut : 6ms |
| DELAY(Retard du son) | Certain écrans ont un léger retard lorsqu'ils affichentde la video ; la bande sonore et l'image sont alors légèrement désynchronisées. En ajoutant un peu de retard,vous pouvez ajuster le son pour le faire correspondre àla video. | « 0.0 à 10.0 (images) »1 seconde = 25 images(PAL)Réglage par défaut : 0.0 |
| Réglage | Action | Option(s) |
| TONE (Réglage de tonalité) | Applique les contrôlles de tonalités graves et aigués à une source ou les contourne complètement. | BYPASS |
| ON |
| BASS <a> | Ajuste les sons graves. | < -6 à +6 (dB) Réglage par défaut : 0 (dB) |
| TREBLE <a> | Ajuste les sons aiguus. | < -6 à +6 (dB) Réglage par défaut : 0 (dB) |
| S.RTRV (Correction automatique du son) <b> | Lorsque la correction automatique du son est en service, le traitement DSP est utilisé pour compenser la perte de données audio due à la compression de manière à améliorer la sensation de densité et de modulation des sons. Lorsque ON est sélectionné, la correction du son est optimisée selon le débit binaire du son transmis à la mémoire USB et à HOME MEDIA GALLERY (entrecé audio numérique seulement) pour obtenir le meilleur son possible. | OFF |
| ON |
| DNR (Réduction numérique du bruit) | Activée, cette fonction permet d'améliorer la qualité du son d'une source bruyante ( comme une cassette matérielmente possant beaucoup de bruits de fond). Il n'agit que sur les signaux à 2 canaux. | OFF |
| ON |
| DIALOG E (Optimisation des dialogues) <c> | Localise les dialogues dans le canal central pour le faire resortir des bruits de fond dans une bande sonore de télévision ou de film. En déplaçant UP1 vers UP2, UP3 et UP4 vous pouvez donner l'impression que le son change de position. | OFF/FLAT/UP1/UP2/UP3/UP4 Réglage par défaut : OFF |
| DUAL (Double mono) | Indique comment les bandes sonores Dolby Digital codées en double mono doivent être lues. Le double mono n'est pas très utilisé, mais il est parfait nécessaire lorsque deux langues doivent être envoyées sur des canaux séparés. | CH1 – Seul le canal 1 est restitué |
| CH2 – Seul le canal 2 est restitué |
| CH1 CH2 – Les deux canaux sont restitués par les enceintes avant |
| Fixed PCM | Cette option est utile si vous constatéz un certain retard avant que la fonction OFF ne reconnaissse le signal PCM d'un CD, par exemple. Si vous selectionnez ON, du bruit peut être émis au cours de la lecture de sources non-PCM. Si cela pose problème, selectionnez un autre signal d'entrée. | OFF |
| ON |
| DRC (Réglage de la plage dynamique) <d> | Ajuste le niveau de la plage dynamique pour les pistes son de films optimisées pour les Dolby Digital, DTS, Dolby Digital Plus, Dolby TrueHD, DTS-HD et DTS-HD Master Audio (vous pouvez avoir besoin de cette fonction pour l'écoute du son surround à faible volume). | AUTO |
| MAX |
| MID |
| OFF |
| LFE(Atténuation LFE) | Certaines sources audio contiennent des tonalités basses ultra-graves. Réglez l'attenuateur LFE pour empêcher que les tonalités basses ultra-graves ne déforment le son à la sortie des enceintes.Les signaux LFE ne sont pas limités lorsque 0 dB, la valeur recommendée, est spécifique. Lorsque -5 dB, -10 dB, -15 dB ou -20 dB est spécifique, les signaux LFE sont limités au niveau correspondant. Lorsque OFF est selec-tionné, aucun son n'est transmis par le canal LFE. | OFF/ -20dB/ -15dB/ -10dB/ -5dB/ 0dB▶Réglage par défaut: 0dB |
| SACD GAIN<e> | Fait ressortir les détails des SACD en optimisant la plage dynamique (pendant le traitement numérique). | 0dB+6dB |
| HDMI(Audio HDMI)<f> | Indique l'acheminement du signal audio HDMI à la sortie de ce récepteur (amp) ou via un téléviseur.Lorsque THROUGH est sélectionné, aucun son ne sort de ce récepteur. | AMPTHROUGH |
| A DELAY(Retard automatique)<g> | Cette fonction corrige automatiquement le retard entre le son et l'image des composants raccordés par un cable HDMI. La durée du retard audio est réglée en fonction du mode de fonctionnement de l'écran raccordé par un cable HDMI. La durée du retard video s'ajuste automatiquement en fonction de la durée du retard audio. | OFFON |
| C.WIDTH(Largeur centrale)(Applicable unique-ment si l'on utilise une enceinte centrale)<h> | Permet une meilleure fusion des enceintes avant enétendant le canal central sur les enceintes avant droite et.gauche, ce qui élarguit (réglages plus élevés) ou rétrécit (réglages moins élevés) le son. | 0 à 7▶Réglage par défaut: 3 |
| DIMENSION<h> | Ajuste la profondeur de l'équilibre du son surround de l'avant vers l'arrière, ce qui rend le son plus distant (réglages négatifs) ou plus proche (réglages positifs). | -3 à +3▶Réglage par défaut: 0 |
| PANorama<h> | Étend l'image stéroye avant pour inclure les enceintes surround afin d'offrir un effet 'enveloppant'. | OFFON |
| C. IMAGE(Image centrale)(Applicable unique-ment si l'on utilise une enceinte centrale)<i> | Ajuste l'image centrale pour créé un effet stéroye plus large avec les voix. Ajustez l'effet de 0 (le canal cen-tral est intégralement envoyé aux enceintes droite et.gauche) à 10 (le canal central est envoyé à l'enceinte centrale uniquement). | 0 à 10▶Réglage par défaut: Neo:6 MUSIC: 3Neo:6 CINEMA: 10 |
| EFFECT | Définit le niveau d'effet pour le mode Advanced Surround ou le mode ALC actuellément sélectionné (chaque mode peut être réglé séparationm). | 10 à 90▶Réglage par défaut: EXT.STEREO: 90Autres: 50 |
| Réglage | Action | Option(s) |
| H.GAIN
(Gain Haut) | Ajuste le son de l'enceinte avant en position haute pendant l'écoute en mode Pro Logic IIz HEIGHT. Si le réglage est HIGH, le son venant du haut est plus accentué. | LOW |
| MID |
| HIGH |
| V.SB
(Surround arrière virtuel) | Si vous n'utilise pas d'enceintes surround arrêté, la sélection de ce mode permet à vos enceintes surround d'émettre un canal surround arrêté virtuel. Vous pouvez désir d'éçouter des sources sans les informations du canal surround arrêté. | OFF |
| ON |
| V高血压
(Virtuel Haut) | Si vous n'utilise pas d'enceintes avant en position haute, la sélection de ce mode permet à vos enceintes avant d'émettre un canal avant virtuel du haut. | OFF |
| ON |
| V.DEPTH
(Profondeur virtuelle) | Lorsque ce mode est sélectionné, le champ sonore s'élargit virtuellément jusqu'à l'arrêté de l'écran de manière à produit une profondeur adaptée à l'image 3D et intensifier la sensation de présence. | OFF |
| MIN |
| MID |
| MAX |
a Ce réglage ne peut être effectué que lorsque TONE est régèle sur ON.
b Avec la fonction d'entrée iPod/USB, HOME MEDIA GALLERY ou ADAPTER PORT, ON est spécifique par défaut pour S.RTRV.
c UP1 à UP4 ne peuvent être sélectionnés que lorsque les enceintes avant en position haute sont raccordées. La présence ou l'absence d'effets dépend du mode d'écoute.
d Le réglage AUTO sélectionné par défaut n'est disponible que dans le cas de signaux Dolby TrueHD. Sélectionnez MAX ou MID pour les autres signaux que Dolby TrueHD.
e Vous ne devriez avoir aucun problème avec ce réglage pour la plupart des disques SACD, mais si le son présente de la distorsion, il sera préférende revenir à un gain de 0dB.
f - Le réglage HDMI Audio ne peut pas être changé pendant l'emploi du mode amp synchronisé.
- Le mode amp synchrise doit etre en service pour que les signaux audio et video HDMI transmis au recep-. teur par le televiseur puissant etre lus quand le recepteur est en veille. Consultez la section A propos des operations synchronises a la page 48.
g Ce tion n est disponble que si l'ecran raccorde prend en charge la synchronisation audio/vidoe automatique ('lipsync') du HDMI. Si la durée specifie automatique ne vous parait pas appropriée, reglez A DELAY sur OFF et reglez la durée du retard manuellement. Pour de plus amples informations sur la fonction lipsync de votre écran, adressé-vous directement au fabricant.
h Seulement pendant I'ecoute de sources à 2 canaux en mode Dolby Pro Logic IIx Music/Dolby Pro Logic II Music.
i Disponible uniquement pour écouter des sources 2 canaux en mode Neo:6 MUSIC/CINEMA.
j - Vous ne pouvez pas utiliser le mode surround arrêté virtuel lorsqu'un casque est raccordé à ce récepteur ou lorsque le mode stéreo, surround avant évolué, correction sonore Air ou flux direct est sélectionné.
- Vous pouvez utiliser le mode surround arrêté virtuel uniquement lorsque les enceintes surround fonctionnement et lorsque le paramètre SB est régé sur NO ou si Front Bi-Amp ou ZONE 2 est sélectionné dans Speaker System. Il peut aussi être utilisé lorsque Speaker B est sélectionné dans Speaker System et SP:▶A+B ON est sélectionné avec la touche SPEAKERS.
k - Vous ne pouvez pas utiliser le mode virtuel haut lorsqu'un casque est raccordé à ce récepteur ou lorsque le mode stéreo, surround avant évolué, correction sonore Air ou flux direct est sélectionné.
- Vous ne pouce utiliser le mode Virtuel Haut que si les enceintes surround sont en service et le paramètre FH est réglé sur NO. Il ne peut pas non plus être utilisé pendant la lecture de signaux contenant des informations pour le canal avant haut réel.
I - Ce mode est optimal pour les contenus dont la fréquence d'échantillonnage ne dépasse pas 48 kHz.
- Vous ne pouvez pas utiliser le mode Profondeur virtuelle lorsqu'un casque est raccordé à ce récepteur ou lorsque le mode stéreo, surround avant évolué, correction sonore Air ou flux direct est sélectionné.
- Vous ne pouvez utiliser le mode Profondeur virtuelle que si les enceintes surround sont en service.
Réglages des options video
Vou puez effectuer des reglages supplémentaires pour l'image sur le menu
VIDEO PARAMETER. Les reglages par défaut, s'ils ne sont pas précises, sont indiqués en gras.

Important
- Notez que les options qui ne sont pas disponibles en raison de la source, des réglages et de l'état actuels du récepteur n'apparaissent pas sur le menu VIDEO PARAMETER.
- Tous les paramètres peuvent être régliés pour chaque fonction d'entrée.
- Les paramètres autres que V.CONV ne peuvent être sélectionnés que si V.CONV a pour réglage ON.
1 Appuyez sur RECEIVER pour selectionner le mode de fonctionnement du recepteur, puis appuyez sur VIDEO PARAMETER.
2 Utilisez / pour sélectionner le réglage que vous souhaiter ajuster.
En fonction de l'etat/du mode actuel du récepteur, certaines options peuvent ne pas être sélectionnées. Consultez le tableau ci-dessous pour obtenir des remarques à ce sujeit.
3 Utilisez / pour ajuster le réglage si nécessaire.
Consultez le tableau ci-dessous pour connaître les options disponibles pour chaque réglage.
4 Appuyez sur RETURN pour confirmer et quitter le menu.
Menu de paramètres video
| Réglage | Action | Option(s) |
| V.CONV(Convertisseur videoo numérique)<a> | Convertit les signaux videoo avant de les transmettre aux prises MONITOR OUT (prise HDMI OUT comprise) pour tous les types de videoo (voir page 17). | ONOFF |
| RES(Résolution)<b> | Spécifie la résolution à la sortie du signal videoo (si les signaux d'entrée videoo proviennent de la prise HDMI OUT, sélectionnez la résolution en fonction de la résolution de votre monieur et des images que vous souhaitez voir). ("576p" désigne le réglage de résolution 480p/576p.) | AUTOPURE576p720p1080i1080p1080/24p |
| PCINEMA(PureCinema)<c,e> | Ce réglage optimise le circuit du balayage progressif lors de la lecture de films. Spécifiez normalement AUTO. Si l'image ne semble pas naturelle, basculez ce réglage sur ON ou OFF. | AUTOONOFF |
| P.MOTION(Animé progressif)<c,e> | Ajuste la qualité des images animées et fixes lorsque la sortie videoo est réglée sur le signal progressif. | <4 à +4>Réglage par défaut : 0 |
| STREAM(Flux plus régulier)<e> | Améliore les parasites qui réduisent la qualité de l'image,surout perceptibles sur les contenus transitant par lesréseaux, comme les bruits parasites et mosaïque. | OFF |
| ON |
| V.ADJ(Réglage videoévolué) | Spécifie la meilleure qualité d'image possible pour le typede monitreur raccordé. Sélectionnez PDP pour les écransplasma, LCD pour les moniteurs à cristaux liquides, FPJ pourles projecteurs avant, PRO pour les moniteurs professionnels. Si vous foulez personnelier les réglages de la qualitéd'image, sélectionnez MEMORY. | PDPLCDFPJPROMEMORY |
| YNR<d,e> | Réduit le bruit sur le signal de luminance (Y). | <0 à +8>Réglage par défaut: 0 |
| CNR<d,e> | Réduit le bruit sur le signal couleur (C) de l'entrée. | <0 à +8>Réglage par défaut: 0 |
| BNR<d,e> | Réduit le bruit mosaïque (distorsion en forme de mosaïqueproduce par la compression MPEG) sur l'image. | <0 à +8>Réglage par défaut: 0 |
| MNR<d,e> | Réduit le bruit moustique (distorsion apparaissant sur lescontours de l'image, produit par la compression en MPEG)sur l'image. | <0 à +8>Réglage par défaut: 0 |
| DETAIL<d,e> | Ajuste le contraste des contours. | <4 à +4>Réglage par défaut: 0 |
| BRIGHT(Luminosite)<d,e> | Ajuste la luminosité générale. | <6 à +6>Réglage par défaut: 0 |
| CONTRAST<d,e> | Ajuste le contraste entre clair et foncé. | <6 à +6>Réglage par défaut: 0 |
| HUE<d,e> | Ajuste l'équilibre rouge/vert. | <6 à +6>Réglage par défaut: 0 |
| CHROMAN(Niveau de chroma)<d,e> | Ajuste la saturation entre terre et brillant. | <6 à +6>Réglage par défaut: 0 |
| BLK SETUP(Configuration Noir)<f> | Spécifie le niveau du noir selon le signal d'entrée videoo.Sélectionnez normalement 0. Si le niveau du noir est troplumineux avec le monitreur raccordé, sélectionnez 7.5. | 0 |
| 7.5 |
| ASP(Format)<g> | Spécifie le format des signaux d'entrée restitués par la prisede sortie HDMI. Effectez les réglages souhaités en vérifiantl'image obtenue sur l'écran (si l'image ne correspond pasà votre écran, des parties seront tronquées ou des bandesnoires apparaitront). | THROUGH |
| NORMAL |
a Si l'image video est moins bonne lorsque ce paramètre a pour réglage ON, spécifiez OFF.
b Si la résolution spécifiée n'est pas compatible avec le téléviseur (moniteur), aucune image n'aparaitra. L'absence d'image peut etre due dans certains cas aux signaux de protection anticopie. Il faut alors changer de réglage.
- Lorsque AUTO est sélectionné, la résolution se régèle automatiquement selon la capacité du téléviseur (moniteur) raccordé par une liaison HDMI. Lorsque PURE est sélectionné, les signaux ont la même résolution en entree et sortie (consultez À propos du convertisseur video à la page 17).
- Si ce paramètre est régé sur autre chose que AUTO, PURE et que des signaux analogiques 480i/576i sont transmis, signaux 480p/576p dessortiront par les prises de sortie à composantes.
c Ce réglage est valide pour les sorties à composantes et la sortie HDMI.
P.MOTION est désacté quand PCINEMA est régé sur ON.
- Ce réglage n'agit que sur les images enregistrées dans le format de balayage entrelacé (signaux 480i/576i ou 1080i).
d Ce réglage n'est possible que si V.ADJ (Réglage videoé évoúe) est régèle sur MEMORY.
e - Ce réglage n'apparait que lorsque les signaux videou suivants sont reçus :
Signaux video analogiques 480i, 576i, 480p, 576p, 720p, 1080i
Signaux video HDMI 480i, 576i, 480p, 576p, 720p, 1080i, 1080p, 1080p24
f Ce réglage n'est possible que si les prises videoe composites transmettent des signaux 480i.
g - Si l'image n'est pas adaptée à votre type de moniteur, réglez le format sur l'appareil source ou sur le moniteur.
- Ce réglage n'apparait que lorsque des signaux video 480i/p ou 576i/p sont reçus.
Commutation du bornes d'enceintes
Si vous ave selectionné Normal(SB/FH), Normal(SB/FW) ou Speaker B dans Reglage du système d'enceintes à la page 72, vous pourrez changer d'enceintes avec la touche SPEAKERS. Si vous ave selectionné Front Bi-Amp ou ZONE 2, la touche met simplement le système d'enceintes principal sous tension ou hors tension.
Utilisez SPEAKERS sur le panneau avant pour selectionner un réglage de système d'enceintes.
Comme indiqué plus haut, si vous avez selec-tionné Front Bi-Amp ou ZONE 2, la touche ne servira qu'a activer ou désactiver les bornes d'enceintes principales (A).
Appuyez plusieurs fois sur cette touche pourCHOISIR une option de bornes d'enceintes:Lorsque vous selectionnez Normal(SB/FH),vous avez lechioix entre :
- SP: SB/FH ON - Les canaux surround arrêté ou avant haut sont ajoutés aux canaux avant, centre et surround (maximum 5 canaux) et un maximum de 7 canaux sont restitués. Les canaux surround arrêté et avant haut sont automatiquement commutés selon le signal d'entrée audio.
- SP: SB ON - Les canaux surround arrêtere sont ajoutés aux canaux avant, centre et surround (maximum 5 canaux) et un maximum de 7 canaux sont restitués.
- SP: FH ON - Les canaux avant haut sont ajoutés aux canaux avant, centre et surround (maximum 5 canaux) et un maximum de 7 canaux sont restitués.
- SP: OFF - Aucun son ne sort des enceintes.
Lorsque vous sélectionnez Normal(SB/FW), vous avez lechioix entre :
- SP: SB/FW ON - Les canaux surround arrête ou avant large sont ajoutés aux canaux avant, centre et surround (maximum 5 canaux) et
un maximum de 7 canaux sont restitués. Les canaux surround arrête et avant large sont automatiquement commutés selon le signal d'entrée audio.
- SP: SB ON - Les canaux surround arrête sont ajoutés aux canaux avant, centre et surround (maximum 5 canaux) et un maximum de 7 canaux sont restitués.
- SP: FW ON - Les canaux avant large sont ajoutés aux canaux avant, centre et surround (maximum 5 canaux) et un maximum de 7 canaux sont restitués.
- SP: OFF - Aucun son ne sort des enceintes.
Lorsque vous sélectionnez Speaker B, vous avec le besoin entre :
- SP: A ON - Le son provient des bornes d'enceintes A (jusqu'à 7 canaux (y compris les canaux surround arrêté), selon la source).
- SP: B ON - Le son provient des deux enceintes raccordées aux bornes d'enceintes B. Les sources multicanaux ne sont pas restituées.
- SP: A+B ON - Le son provient des bornes d'enceintes A (jusqu'à 5 canaux, selon la source), les deux enceintes raccordées aux bornes d'enceintes B et le caisson de grave. Le son provenant des bornes d'enceintes B est le même que celui provenant des bornes d'enceintes A (les sources multicaniaux sont remixées en 2 canaux).
- SP: OFF - Aucun son ne sort des enceintes.

Remarque
- La sortie du caisson de grave dépend des réglages effectuels à la section Configuration manuelle des enceintes à la page 72. Cependant, si SP: B ON est sélectionné cédessus, le caisson de grave n'émettra aucun son (le canal LFE n'est pas remixé).
- Tous les systèmes d'enceintes (à l'exception des liaisons Speaker B) sont désactivés lorsqu'un casque est branché.
Utilisation des commandes MULTI-ZONE
Les commandes du panneau avant du recepteur sont utilisées ci-dessous pour régler le volume de la zone secondaire et pour selectionner les sources. Consultez la section Touches de télécommande MULTI-ZONE à la page 54.
1 Appuyez sur MULTI-ZONE ON/OFF du panneau avant.
Chaque pression selectionne une option MULTI-ZONE:
- ZONE 2 ON - Sélectionne votre première zone secondaire (ZONE 2)
- ZONE 2&3 ON - Sélectionne les deux zones secondaires
- ZONE 3 ON - Sélectionne votre seconde zone secondaire (ZONE 3)
- MULTI ZONE OFF - Désactive la fonction MULTI-ZONE
L'indicateur MULTI-ZONE s'allume lorsque la commande MULTI-ZONE a ete activee.
2 Appuyez sur MULTI-ZONE CONTROL sur le panneau avant pour selectionner la (les) zone(s) secondaire(s) souhaitee(s).
Si vous avec selectionné ZONE 2&3 ON ci-dessus, vous pourrez basculer entre la ZONE 2 et la ZONE 3.
- Lorsque le récepteur est allumé, Veiliez à effectuer toutes les opérations destinées à la zone secondaire pendant que ZONE et la(les) zones secondaire(s) selectionnées sont indiquées. Sinon, les commandes du panneau avant n'agissant que sur la zone principale.
Si le récepteur est en veille, l'écran s'obscurcit et ZONE, suivi de la (des) zone(s) seconde(s) sélectionnée(s), reste affché.
Par exemple, ZONE 2 DVD transmet la source reliée aux entrées DVD à la première pièce secondaire (ZONE 2).
- Si vous sélectionnez TUNER, vous pourrez utiliser les commandes du synthétiseur pour sélectionner une station préréglée (consultez la section Sauvegarde des stations préréglées à la page 34 si vous ne savez pas comment procédé). Le tuner ne peut pas être régé sur plus d'une station à la fois. Donc, si vous changez de station dans une zone, elle changera automatiquement dans l'autre zone. Veillez donc à ne pas changer de station lorsque vous enregistrez une émission radio.
4 Lorsque Speaker System est reglé sur la ZONE 2, utilisez la molette MASTER VOLUME pour régler le volume de la zone secondaire.
5 Lorsque vous avez terminé, appuyez une nouvelle fois sur MULTI-ZONE CONTROL pour revenir aux commandes de la zone principale.
Vous pouvez aussi appuyer sur MULTI-ZONE ON/OFF du panneau avant pour couper tous les signaux en direction de la zone secondaire.
- Vous ne pouvez eteindre la zone principale qu'après avoir mis hors service la commande MULTI-ZONE.
- Si vous n'envisagez pas d'utiliser la fonction MULTI-ZONE pendant un certain temps, coupez l'alimentation dans les deux pieces pourmettrele récepteur en veille.
Touches de télécommande MULTI-ZONE
Appuyez sur ZONE 2 ou ZONE 3 de la télécommande pour agir sur la zone correspondante.
Les touches utilisées pour commande à distance MULTI-ZONE sont indiquées dans le tableau suivant :
| Touches(s) | Action |
| ∅ | Coupe/rétablit l'alimentation dans la zone secondaire. |
| INPUT SELECT | Utilisez cette touche pour sélectionner la fonction d'entrée dans la zone secondaire. |
| Touches de fonction d'entrée | Utilisez cette touche pour sélectionner directement la fonction d'entrée dans la zone secondaire (peut ne pas agir avec certaines fonctions). |
| MASTER VOLUME +/- <a> | Utilisez cette touche pour régler le volume dans la zone secondaire. |
| MUTE <a> | Sert à couper le son ou à le rétablir s'il a été coupé (le réglage du volume rétablit également le son). |
a Vous ne pouvez utiliser cette touche que lorsque Speaker System est reglé sur la ZONE 2.
Réalisation d'un enregistrement audio ou video
Voussouspoucezrealiser un enregistrement audio ou videoa partir d'un tuner integre ou d'une sourceaudio ou videoaccardedéurerécepteur ( comme un lecteur CD ou un télévisueur). Sachez que vous ne pouvez pas faire d'enregistrement numérique a partir d'une source analogique et inversement. Assurez-vous donc que les composants a partir desquels/vers lesquels you faites un enregistrement sont raccordés de la même maniere (consultez la section Raccordement de votre équipement à la page 12 pour plus d'informations sur les raccordements).
- Le volume du récepteur, les paramètres audio (par exemple, les commandes de réglage du
son) et les effets surround n'agissant pas sur le signal enregistré.
- Certaines sources numériques sont protégées contre la copie et ne peuvent être enregistrées qu'en analogue.
- Certains sources video sont protégées contre la copie. Elles ne peuvent pas être enregistrées.
Comme le convertisseur video n'est pas disponible lors d'enregistrements (des prises video OUT), voirlez à utiliser le même type de cable video pour relier l'enregistreur que celui que vous avez utilisé pour relier la source video (elle que vous voulez enregistrer) à ce recepteur. Par exemple, vous devrez relier l'enregistreur avec un cable video à composantes si la source est aussi reliée par un cable video à composantes.
1 Sélectionnez la source que vous souhaitez enregistrer.
Utilisez les touches de fonction d'entrée (ou INPUT SELECT).
2 Préparez la source que vous souhaitez enregistrer.
Réglez la station radio, chargez le CD, la video, le DVD, etc.
3 Sélectionnez le signal d'entrée selon le signal qui doit être enregistré.
Utilisez la touche SIGNAL SEL de la télécommande.
4 Préparez l'enregistreur.
Insérez une cassette, un MD, une cassette video vierge, etc. dans l'enregistreur et réglez les niveaux d'enregistrement. Consultez les instructions fournies avec l'enregistreur si vous doutez de la façon de proceder. La plupart des enregistreurs video réglent automatiquement le niveau d'enregistrement audio; consultez le mode d'emploi du composant en cas de doute.
5Lancez I'enregistrement,puis lancez la lecture de la source.
Réduction du niveau d'un signal analogique
L'attenuateur d'entrée réduit le niveau d'entrée d'un signal analogue si celui-ci est trop puisant. Vous pouvez l'utiliser si vous pensez que l'indicateur OVER s'éCLAIRE souvent ou que le son est déformé.
L'attenuateur n'est pas disponible pour les sources numériques ou avec les modes à flux direct (ANALOG DIRECT).
- Appuyez sur RECEIVER pour sélectionner le mode de fonctionnement du récepteur, puis appuyez sur A.ATT pour activer et désactiver l'attenuateur.
Utilisation de la minuterie someday
La minuterie sommeil met le récepteur en veille après un certain temps, de sorte que vous pouvez vous endormir sans vous soucier que le récepteur reste allumé toute la nuit. Utilisez la télécommande pour régler la minuterie sommeil.
- Appuyez sur RECEIVER pour sélectionner le mode de fonctionnement du récepteur, puis appuyez plusieurs fois de suite sur SLEEP pour spécifique le temps.

- Vous pouvez vérifier le temps restant avant la mise en vue à n'importe quel moment en appuyant une fois sur SLEEP. Vous faites défiler les différents temps en appuyant plusieurs fois sur la touche.
- La minuterie sommeil fonctionne pour toutes les zones. Si une zone est active, la minuterie sommeil continue de fonctionner.
Régler la luminosité de l'afficheur
Vou puez可以选择 quatre niveaux de luminosite pour l'afficheur du panneau avant. Notez que I'afficheur s'éclaircit automatiquement pendant quelques secondes lors de la seLECTION de sources.
- Appuyez sur RECEIVER pour sélectionner le mode de fonctionnement du récepteur, puis appuyez plusieurs fois de suite sur DIMMER pour changer la luminosité de l'affichage sur le panneau avant.
- Vous pouze aussi désir d'eteindre l'afficheur. Dans ce cas, l'indicateur FL OFF s'éclaire.
Commutation de la sortie HDMI
Precisezquelle prise doit être utilisée pour transmettre les signaux video et audio provenant des prises de sortie HDMI.
La prise HDMI OUT 1 est compatible avec la fonction Control par l'HDMI.
- Appuyez sur RECEIVER pour sélectionner le mode de fonctionnement du récepteur, puis appuyez sur HDMI OUT.
Veuillez attendre tant que Please wait ... reste affché.
Chaque fais que vous appuyez sur la touche, la sortie change entre HDMI OUT ALL.
HDMI OUT 1 et HDMI OUT 2.
- Le mode amp synchronisé est annulé lorsqu'la sortie HDMI est commutée. Si vous souhaitez utiliser le mode amp synchronisé, Sélectionnez HDMI OUT 1, puis Sélectionné le mode amp synchronisé sur le téléviseur avec la télécommande de ce téléviseur.
Vérification des réglages de votre système
Utilisez la page d'affichage de l'etat afin de vérifier vos réglages actuels pour des fonctions comme le traitement du canal surround arrêté et le prépréglage MCACC actuel.
1 Appuyez sur RECEIVER pour sélectionner le mode de fonctionnement du récepteur, puis appuyez sur STATUS pour vérifier les réglages système.
L'afficheur du panneau avant indique chacun des réglages suivants pendant trois secondes
Source d'entrée Fréquence d'échantillonnage Préréglage MCACC Entrée ZONE 2 Entrée ZONE 3 HDMI OUT.
2 Lorsque vous avez terminé, appuyez à nouveau sur STATUS pour fermer cette page.
Réinitialisation du système
Procedez de la façon suivante pour réinitialiser tous les réglages du récepteur à leurs valeurs par défaut. Pour ce faire, utilisez les commandes du panneau avant. Réglez MULTI-ZONE sur MULTI ZONE OFF.
- Débranche d'abord l'iPod et le dispositif USB du récepteur.
- Spécifiez OFF pour le paramètre Control par l'HDMI (consultez la section Réglage de l'HDMI à la page 47).
1 Mettez le récepteur en veille.
2 Tout en tenant ENTER enforcée sur le panneau avant, appuyez sur © STANDBY/ON.
L'écran affiche RESET NO
3 Sélectionnez 'RESET' avec PRESET / , puis appuyez sur ENTER sur le panneau avant.
L'écran affiche RESET? OK.
4 Appuyez sur ENTER pour confirmer.
OK apparait dans l'afficheur pour indiquer que le recepteur a ete reinitialise a ses parametes d'usine par defaut.
- Notez que tous les réglages sont enregistrés même si le recepteur est débranché.
Paramètres du système par défaut
| Réglage | Réglage par défaut |
| Convertisseur contrôle numérique | ON |
| SPEAKERS | SB/FH |
| Système d'enceintes | Normal (SB/FH) |
| Réglage des enceintes | Avant | SMALL |
| Centrale | SMALL |
| FH/FW | SMALL |
| Surr | SMALL |
| SB | SMALLx2 |
| SW | YES |
| Position surround | IN REAR |
| Transition | 80 Hz |
| Courbe X | OFF |
| DIMMER | Moyennement lumineux |
Entrées
Consultez la section Reglages possibles et par défaut de la fonction d'entrée à la page 29.
HDMI
| Audio HDMI | Amp |
| Sortie HDMI | HDMI OUT ALL |
| Commande | ON |
| Mode de commande | ALL |
| Extinction de l'afficheur | YES |
| Lecture audio |
| Niveau du volume à la mise sous tension | LAST |
| Volume limite | OFF |
| Réglage | Réglage par défaut |
| Niveau sourdine | | FULL |
| Contrôle de phase | | ON |
| Correction auto-matique du son | Fonction d'en-trée iPod/USB, HOME MEDIA GALLERY, ADAPTER PORT | ON |
| Autres fonctions d'entrée | OFF |
| Retard du son | | 0.0 frame |
| Double mono | | CH1 |
| DRC | | AUTO |
| Gain SACD | | 0 dB |
| Atténuation LFE | | 0 dB |
| Retard automatique | | OFF |
| Sécurité numérique | | OFF |
| Niveau d'effet | ExtendedStereo | 90 |
| Autres modes | 50 |
| Options ☐ PL II Music | Largeur centrale | 3 |
| Dimension | 0 |
| Panorama | OFF |
| Options Neo:6 | Image centrale | Neo:6CINEMA : 10Neo:6 MUSIC: 3 |
| Options ☐ PL Ilz | Gain Haut | MID |
| Toutes les entrées | Mode d'écoute(2 canaux/multicanaux) | AUTOSURROUND |
| Mode d'écoute(Casque) | STEREO |
| Consultez également la section Réglage des options audio à la page 50 pour d'autres régages DSP par défaut. |
| MCACC |
| Mémoire de position MCACC | M1:MEMORY 1 |
| Niveau de canal (M1 à M6) | 0.0 dB |
| Réglage | Réglage par défaut |
| Distances des enceintes (M1 à M6) | 3.00 m |
| Ondes station-naires (M1 à M6) | ATT de tous les canaux/filtres | 0.0 dB |
| Ampleur du canal des extrêmes graves | 0.0 dB |
| Données de l'égalisation (M1 à M6) | Tous les canaux/toutes les bandes | 0.0 dB |
| Ampleur de l'égalisation | 0.0 dB |
Commander le reste de votre système
À propos du menu de configuration de la télécommande
Le mode de configuration de la télécommande seLECTIONne en appuyant sur la touche numérique tout en tenant RCU SETUP enfoncée. Les différents paramètres du menu de configuration de la télécommande sont les suivants. Pour effectuer les réglages, reportez-vous aux explications concernant chaque paramètre.
| Réglage | Action |
| Rappel préré-glages | Permet de spécifique des codes de préréglage pour les différentes entrées. Les codes de commande d'un certain nombre d'appareils (y compris les produits d'autres marques) sont préréglés dans la télécommande, ce qui permet d'agir sur ces appleils. Consultez la section Sélection directe des codes de préréglage à la page 58 . |
| Appren-tissage de code | Si les opérations souhaitées ne peuvent pas été effectuées sur un appareil après la sélection des codes de préréglage, les signaux de commande de cet appleil peuvent être appris directement. Consultez la section Pro-grammation de signaux depuis d'autres télécommandes à la page 58 . |
| Série d'opéra-tions | Permet de programmer une série de commandes aussi bien pour l'écoute que pour le visionnage. Les codes de commande multiples peuvent être spécifiés pour les différentes entrées. Consultez la section Série d'opérations et Extinction automatique de la chaîne à la page 59 . |
Réglage Action
| Extinction automatique de la chaine | Cette fonction permet d'éteindre automatiquement les composants raccordés au récepteur. Les codes de commande multiples peuvent être spécifiés selon les besoins. Consultez la section Série d'opérations et Extinction automatique de la chaine à la page 59. |
| Fonction directe | Ce paramètre permet de changer l'écran de fonctionnement de la télé-commande sans changer l'entrée du récepteur lorsque les touches d'entrée de la télécommande sont pressées. Il est pratique lorsqu'on peut utiliser la télécommande pour des apparueils qui ne sont pas raccordés au récepteur. Consultez la section Fonction directe à la page 59. |
| Effacement des codes appris | Cette fonction permet d'effacer les codes de commande appris. Les codes appris peuvent être effacés individuellement pour chaque entrée. Consultez la section Effacement de la programmation d'une touche de la télécommande à la page 59. |
| Rétroé-clairage | Un des quatre modes de rétroéclairage peut être sélectionné selon la situation et pour préserver la durée de service de la pile. Consultez la section Réglage du mode d'éclairage à la page 59. |
| Réinitiali-sation | Cette fonction permet de réinitialiser les codes de préréglage spécifique. Il est possible de réinitialiser chaque entrée individuellement. Consultez la section Effacement de tous les réglages appris pour une fonction d'entree à la page 59. |
Réglage
Action
Réinitialisation completé
Cette fonction permet de rétablier les valeurs par défaut, c'est-à-dire les réglages usine, de tous les paramétres de la télécommande. Consultez la section Réinitialisation des réglages de la télécommande à la page 60.
Changement mode RC
Si vous possédez plusieurs récepteurs, amplificateurs, etc. Pioneer, ce paramètre peut être utilisé pour évier d'agir sur d'autres appeareils lorsque vous utilisez la télécommande. Consultez la section Exploitation de plusieurs récepteurs à la page 57.

Remarque
- Vous pouvez annuler ou quitter n'importe chaque étape en appuyant sur RCU SETUP.
- Àprous une minute d'inactivité, la télécommande sort automatiquement du mode de réglage.
Exploitation de plusieurs récepteurs
En tout quatre récepteurs de même méthode que celui-ci peuvent être pilotés par la télécommande du récepteur quand plusieurs récepteurs sont utilisés. La télécommande doit être programmée pour l'appareil par un code de prépréglage.
- Spécificiez les modes de télécommande sur les récepteurs avant d'effectuer la programmation (consultez la section Réglage du mode de la télécommande à la page 78).
1 Appuyez sur RCU SETUP et maintenez le doigt, puis appuyez trois secondes sur '4'.
Relâchez la touche lorsque la DEL clignote une fois. La DEL continue de clignoter.
- Pour annuler le mode de programmation, appuyez sur RCU SETUP.
2 Appuyez sur la touche numérique correspondant au récepteur ("Receiver 1" à "Receiver 4") que vous pouze utiliser.
Par exemple, pout utiliser le "Receiver 2", appuyez sur '2'.
Le réglage a été effectué correctement si la DEL reste une seconde allumée puis continue de clignoter.
Si le réglage a échoué, la DEL clignote trois fois lorsque le code de préréglage est saisi.
Réglage de la télécommande pour la commande d'autres composants
La plupart des composants peuvent etre affectes à l'une des touches de fonction d'entreee (como DVD ou CD) en utilisant le code de préreglage du fabricant du composant, enregistrerdans la telecommande.
Toutefois, dans certains cas, seules quelques fonctions peuvent etre controlles après l'afetation du code de preréglage adequat ou bien les codes fabricant enregistrres dans la télécommande ne fonctionnent pas pour le modele utilisé.
Si vous ne trouvez pas le code de préRéglage correspondant au composant que vous souhaitez commander, vous pouze toujours programme les différentes commandes depuis une autre télécommande (consultez la section Programmation de signaux depuis d'autres télécommandes à la page 58).
-
En général il est conseilé d'affector le télévisueur raccordé à la prise MONITOR OUT à la touche TV CTRL et le récepteur satellite/cable ou le décodeur raccordé à la prise d'entrée TV/SAT à la touche d'entrée TV/SAT. Si un seul dispositif est raccordé aux deux prises, ce dispositif devrait être affecté aux deux touches d'entrée TV CTRL et TV/SAT.
-
Les dispositifs peuvent être affectés aux touches de fonction d'entrée suivantes.

Sélection directe des codes de préréglage
1 Appuyez sur RCU SETUP et maintenance le doigt, puis appuyez trois secondes sur '1'.
Relâchez la touche lorsque la DEL clignote une fois. La DEL continue de clignoter.
- Pour annuler le mode de programmation, appuyez sur RCU SETUP.
2 Appuyez sur la touche de fonction d'entrée correspondant au composant que vous pouze utiliser.
Pour affercter des codes de preréglage à TV CONTROL, appuyez ici sur TV CTRL.
La DEL s'éclaire une fois puis clignote en continu.
3 Utilisez les touches numériques pour introduire le code de préRéglage à 4 chiffres.
Consultez la section Listedes codes preregles a la page 101.
Le réglage a été effectué correctement si la DEL reste une seconde allumée puis continue de clignoter.
Si le réglage a échoué, la DEL clignote trois fois après la saisie du code de préRéglage. Dans ce cas, saisissez une nouvelle fois le code de préRéglage à 4 chiffres.
4 Répétez les étapes 2 à 3 pour les autres composants que vous pouze utiliser.
Pour essayer la télécommande, mettez le composant sous tension ou hors tension (en veille) en appuyant sur SOURCE. Si ce code semble ne pas fonctionner, selectionnez le suivant dans la liste (s'il y en a un).
5 Appuyez sur RCU SETUP pour sortir du mode de programmation.
Programmation designaux depuis d'autres télécommandes
Si le code de préréglage pour votre composant n'est pas disponible ou si les codes de préréglage disponibles ne fonctionnent pas correctement, vous pouvez programmer des signaux
depuis la télécommande d'un autre composant.
Cette procédure peut également être utilisée pour programmer d'autres opérations (touches non couvertes par les prérégliages) après l'affetation d'un code de prépréglage.
La télécommande peut stocker environ 120 codes de préréglage (ceci a uniquement été testé avec les codes de format Pioneer).
Certaines touches représentent des opérations ne pouvant être apprises depuis d'autres télécommandes. Les touches suivantes sont disponibles :

1 Appuyez sur RCU SETUP et maintenance le doigt, puis appuyez trois secondes sur '2'.
Relâchez la touche lorsque la DEL clignote une fois. La DEL continue de clignoter.
- Pour annuler le mode de programmation, appuyez sur RCU SETUP.
2 Appuyez sur la touche de fonction d'entrée correspondant au composant que vous pouze utiliser.
La DEL s'éclaire une fois puis clignote en continu.
3 Orientez les deux télécommandes l'une vers l'autre, puis appuyez sur la touche à programmer sur la télécommande du récepteur.
La DEL clignote une fois, puis cette de clignoter et reste allumée.
- Les télécommandes doivent être à 3 cm l'une de l'autre.

4 Appuyez sur la touche correspondante sur la télécommande qui envoie (enseigne) le signal à la télécommande de ce récepteur.
Le réglage a été effectué correctement si la DEL reste une seconde allumée puis continue de clignoter.
- Si la DEL clignote cinq secondes, esta signifie que la mémoire est pleine. Consultez la section Effacement de tous les réglages appris pour une fonction d'entrée à la page 59 pour effacer une touche programmée non utilisée afin de libérer de la mémoire (notez que certains signaux peuvent utiliser plus de mémoire que d'autres).
- Notez que les téléviseurs et autres apparèils peuvent parfois créé des interférences : la télécommande apprend alors un signal erroné.
- Certaines commandes provenant d'autres télécommandes ne peuvent pas etre programmées, mais dans la plupart des cas, il suffit de rapprocher ou d'éloigner les télécommandes l'une de l'autre.
5 Pour programmer d'autres signaux pour le composant actuel, repêtez les étapes 3 et 4.
Pour programmer des signaux pour un autre composant, quitterze le menu et repeteze les étapes 2 à 4.
6 Appuyez sur RCU SETUP pour partager du mode de programmation.
Effacement de la programmation d'une touche de la télécommande
Cette fonction permet d'effacer l'une des touches programmées et de restaurer son paramétrage d'usine par défaut.
1 Appuyez sur RCU SETUP et maintenez le doigt, puis appuyez trois secondes sur '7'.
Relâchez la touche lorsque la DEL clignote une fois. La DEL continue de clignoter.
- Pour annuler le mode de programmation, appuyez sur RCU SETUP.
2 Appuyez sur la touche de fonction d'entrée correspondant à la commande à effacer, puis appuyez sur ENTER.
La DEL clignote une fois.
3 Appuyez sur la touche à effacer et maintenez-la trois secondes enforcée.
L'effacement a ete effectue correctement si la DEL reste allumee une seconde.
4 Repetez l'etape 3 pour effacer d'autres touches.
5 Appuyez sur RCU SETUP poursorting du mode d'effacement.
Effacement de tous les réglages appris pour une fonction d'entrée
Cette opération permet d'effacer tous les réglages fonctionnels d'autres dispositifs programmés sur une seule fonction d'entrée et de rétablier les réglages par défaut.
Cette fonction permet d'effacer rapidement toutes les données programmeses pour des dispositifs qui ne sont plus utilisés.
1 Appuyez sur RCU SETUP et maintenez le doigt, puis appuyez trois secondes sur '9'.
Relâchez la touche lorsqu'la DEL clignote une fois. La DEL continue de clignoter.
- Pour annuler le mode de programmation, appuyez sur RCU SETUP.
2 Appuyez trois secondes sur la touche de fonction d'entrée correspondant à la commande à effacer.
L'effacement a ete effectue correctement si la DEL reste allumee une seconde.
Fonction directe
Vous pouvez utiliser la fonction source directe pour agir sur un composant par la télécommande tout en utilisant le récepteur pour la lecture sur un autre composant. Vous pouvez par exemple utiliser la télécommande pour configurer et écouter un CD sur le récepteur, puis pour rembobiner une cassette dans votre magnétoscope tout en poursuivissant l'écoute de votre CD.
Lorsque la fonction source directe est activée, tout composant sélectionné (à l'aide des touches de fonction d'entrée) le sera à la fois par le récepteur et par la télécommande. Lorsque vous désactivez la fonction source directe, vous pouvez utiliser la télécommande sans affecter le récepteur.
1 Appuyez sur RCU SETUP et maintenez le doigt, puis appuyez trois secondes sur '5'.
Relâchez la touche lorsqu'la DEL clignote une fois. La DEL continue de clignoter.
- Pour annuler le mode de programmation, appuyez sur RCU SETUP.
2 Appuyez sur la touche de fonction d'entrée correspondant au composant que vous pouze utiliser.
3 Appuyez sur '1' (On) ou '0' (Off) pour activer/désactiver la fonction.
Le réglage a été effectué correctement si la DEL reste une seconde allumée puis continue de clignoter.
Le réglage a échoué si la DEL clignote trois fois.
4 Appuyez sur RCU SETUP pour sorting de la programmation.
Réglage du mode d'éclairage
- Réglage par défaut: 1 (mode normal)
Un des quatre modes de rétroéclairage peut être sélectionné selon la situation et pour préserver la durée de service de la pile.
1 Appuyez sur RCU SETUP et maintenez le doigt, puis appuyez trois secondes sur '6'.
Relâchez la touche lorsque la DEL clignote une fois. La DEL continue de clignoter.
- Pour annuler le mode de programmation, appuyez sur RCU SETUP.
2 Appuyez sur la touche numérique correspondant au mode de rétroéclairage que vous poulez utiliser.
- '1' (mode normal) - Le rétroéclairage est allumé et étant par la touche d'éclairage. Lorsqu'il est éclaire, il s'éteint automatiquement si aucune opération n'est effectué pendant 10 secondes.
- '2' (mode d'éclairage liéquent) - Le rétroéclairage séclaire lorsqu'une touche\
quelconque de la télécommande est pressée. Il s'esteint par la touche d'éclairage. Lorsqu'il est éclairé, il s'esteint automatiquement si\
aucune opération n'est effectuee pendant 10\
seconds.
3' (mode eco) - Le retroéclairage est allumé et étant par la touche d'éclairage. Lorsqu'il est éclairé, il s'est automatiquement si
aucune opération n'est effectuee pendant 5 secondes.
- '4' (mode désacté) - Le rétroéclairage ne s'éclaire pas même par une pression sur la touche d'éclairage.
Le réglage a été effectué correctement si la DEL reste une seconde allumée puis continue de clignoter.
Le réglage a échoué si la DEL clignote trois fois.
3 Appuyez sur RCU SETUP pour sorting de la programmation.
Série d'opérations et Extinction automatique de la chaine
La fonction Série d'opérations vous permet de programmermer jusqu'à 5 commandes pour les composants de votre système.
Veillez a rappeler les codes de preréglage des dispositifs ou de programmer les signaux d'autres télécommandes avant d'effectuer la programmation pour la série d'opérations (page 58).
La fonction Série d'opérations permet d'effectuer les opérations suivantes en appuyant simplement sur deux touches.
Appuyez sur MULTI OPERATION puis sur la touche de fonction d'entrée DVD pour :
-
Allumer ce récepteur.
-
Commuter l'entrée du récepteur sur DVD.
-
Transmettre une série de cinq commandes programmesées au maximum.
Comme pour la série d'opérations, l'extinction automatique de la chaîne permet d'arrêter et d'éteindre en même temps toute une série de composants de votre chaîne à l'aide de deux touches. Une seule série d'opérations peut être programmée pour l'extinction automatique de la chaîne.
Appuyez sur MULTI OPERATION puis sur SOURCE pour:
- Transmettre une série de cinq commandes programmées au maximum.
- Éteindre tous les dispositifs Pioneer y compris ce récepteur (sauf les enregistrleurs DVD et les magnétoscopes).
Il est également pratique de programmerce récepteur pour la lecture et la mise sous/hors tension de dispositifs d'une autre marque que Pioneer. (Les signaux des dispositifs Pioneer décrits ci-dessus sont indépendants de la programmation de dispositifs d'une autre marque que Pioneer.)
Les touches pouvant etre programmeses pour une série d'opérations et l'extinction automatique de la chaîne sont les mêmes touches que celles qui peuvent etre programmeses pour d'autres télécommandes (consultez la section Programmation de signaux depuis d'autres télécommandes à la page 58).

Remarque
- Pour que la série d'opérations et l'extinction automatique de la chaîne fonctionnent correctement, vous doivent configurer votre télécommande afin qu'elle interagisse avec vosures téléviseurs et les autres composants (consultez la section Réglage de la télécommande pour la commande d'autres composants à la page 57 pour plus d'informations).
- Certains appeareils peuvent être un peu longs à démarrer, auquel cas l'execution de la série d'opérations peut être impossible.
- Les commandes permettant d'allumer et d'eteindre ne fonctionnement qu'avac des composants disposant d'un mode veille.
- Certaines télécommandes de dispositifs dautres marques utilisent les mêmes signaux pour la mise sous et hors tension. Dans certains cas, même si le récepteur est programmé pour ces commandes, les dispositifs d'une autre marque que Pioneer
peuvent ne pas semettre sous et hors tension correctement. Programmez le recepteur pour effectuer ces commandes si le dispositif d'une autre marque que Pioneer utilise d'autres signaux pour la mise sous et hors tension.
Programmation d'une série d'opérations ou d'une série d'arrêt
1 Appuyez sur RCU SETUP et maintenance le doigt, puis appuyez trois secondes sur '3'.
Relâchez la touche lorsqu'la DEL clignote une fois. La DEL continue de clignoter.
- Pour annuler le mode de programmation, appuyez sur RCU SETUP.
2 Appuyez sur la touche de fonction d'entrée (ou la touche SOURCE).
Pour exécuter une série d'opérations, appuyez sur la fonction d'entrée que vous souhaitez programmer (par exemple, si vous pouze exécuter la série en allumant le lecteur DVD, appuyez sur DVD).
- Les réglages HDMI et TV CTRL ne peuvent pas être effectuels avec une série d'opérations. Pour les autres fonctions d'entrée pouvant être réglées, consultez la section Réglage de la télécommande pour la commande d'autres composants à la page 57.
Pour l'extinction automatique de la chaîne, appuyez sur la touche SOURCE.
La DEL s'éclaire deux fois puis clignote en permanence.
3 Si besoin, appuyez sur la touche de fonction d'entrée pour le composant dont vous souhaitez entra r la commande.
Cette opération n'est nécessaire que si la commande est destinée à un nouveau composant (fonction d'entrée).
4 Sélectionnez la touche correspondant à la commande que vous souhaitez spécifique.
La DEL s'éclaire une fois puis clignote en continu.
- Vous n'avez pas besoin de programmer la mise sous ou hors tension du récepteur.
C'est automatique.
Pour la mise hors tension de composants Pioneer, vous n'avez pas besoin de programmer une série d'arrêt (sauf pour les enregistreurs DVD).
5 Repetez les étapes 3 à 4 pour programmer une série de cinq commandes au maximum.
Si vous appuyez sur RCU SETUP avant de terminer la programmation, les commandes programmées jusqu'à là seront méorisées.
6 Appuyez sur RCU SETUP pour partager du mode de programmation.
Utilisation d'une série d'opérations
1 Appuyez sur MULTI OPERATION.
Relâchez la touche lorsque la DEL clignote une fois. La DEL continue de clignoter.
2 En l'espace de cinq secondes, appuyez sur une touche de fonction d'entrée programmée pour une série d'opérations.
Le récepteur s'allume (s'il était en veille) et la série d'opérations programmesse s'exécute automatiquement.
Utilisation de l'Extinction automatique de la chaine
1 Appuyez sur MULTI OPERATION.
Relâchez la touche lorsque la DEL clignote une fois. La DEL continue de clignoter.
2 En l'espace de cinq secondes, appuyez sur SOURCE.
La série de commandes programmée est exécutée, puis tous les composants Pioneer s'éteignent, et en dernier ce récepteur (mise hors tension des apparèils de toutes les zones).
- Afin d'éviter d'eteindre accidentellement un enregistrur de DVD en cours d'enregistrement, notamment code d'arrêt pour enregistrur de DVD n'est envoyé.
Effacement des réglages effectuels pour la série d'opérations
Cette opération efface tous les réglages programmes sur la télécommande pour executer une série d'opérations.
1 Appuyez sur RCU SETUP et maintenez le doigt, puis appuyez trois secondes sur '8'.
Relâchez la touche lorsque la DEL clignote une fois. La DEL continue de clignoter.
- Pour annuler le mode de programmation, appuyez sur RCU SETUP.
2 Appuyez trois secondes sur la touche de fonction d'entrée contenant le programme que vous pouze annuler ou sur la touche SOURCE.
L'effacement a ete effectue correctement si la DEL reste allumee une seconde.
Réinitialisation des réglages de la télécommande
Cette fonction permet de rétablit tous les réglages par défaut de la télécommande.
- Lorsque les codes de prééglage sont réinitialisés, tous les signaux programmes sur les touches de fonction d'entrée sont effacés. Cette fonction est pratique si vous pouze réinitialiser un certain nombre seulement des touches de fonction d'entrée.
1 Appuyez sur RCU SETUP et maintenance le doigt, puis appuyez trois secondes sur '0'.
Relâchez la touche lorsque la DEL clignote une fois. La DEL continue de clignoter.
2 Appuyez sur la touche ENTER et maintenez-la trois secondes enforcée.
L'effacement a ete effectue correctement si la DEL reste allumee une seconde.
Codes de préréglage par défaut
| Touché de fonction d'entrée | Code de préréglage |
| DVD | 2246 |
| BD | 2248 |
| DVR/BDR | 2238 |
| HDMI | 2247 |
| TV/SAT | 0186 |
| CD | 5066 |
| VIDEO | 1077 |
| TV CTRL | 0186 |
Commande des composants
Cette télécommande peut contrôler des composants après saïse des bons codes (consultez la section Réglage de la télécommande pour la commande d'autres composants à la page 57 pour plus d'informations). Utilisez les touches de fonction d'entrée pour Sélectionner le composant.
- Les touches TV CONTROL de la télécommande sont destinées à commander le téléviseur affecté à la touche TV CTRL. Si vous avez deux téléviseurs, affectez le téléviseur principal à la touche TV CTRL.

Téléviseur et apparecs audio/vidéo
| Touches(s) | Téléviseur | TV(Moniteur) | BD/DVD | HDD/BDR/DVR | Magnétoscope | SAT/CATV |
| SOURCE | POWER ON/OFF | POWER ON/OFF | POWER ON/OFF | POWER ON/OFF | POWER ON/OFF | POWER ON/OFF |
| Touches numériques | numériques | numériques | numériques | numériques | numériques | numériques |
| * /CLR | ● (point) | KURO LINK | CLEAR | + | — | * |
| ENTER (CLASS) | CH ENTER | CH ENTER | ENTER | ENTER | — | ENTER |
| × | EXIT/INFO | EXIT | TOP MENU | TOP MENU | — | LIST |
| ♀ | TOOLS/Guide/EPG | USER MENU | TOOLS<a> | GUIDE | — | GUIDE |
| ↑/↓/←/→ | ↑/↓/←/→ | ↑/↓/←/→ | ↑/↓/←/→ | ↑/↓/←/→ | — | ↑/↓/←/→ |
| ENTER | ENTER | ENTER | ENTER | ENTER | — | ENTER |
| ♂ | HOME MENU | HOME MENU | HOME MENU | HOME MENU | — | HOME MENU |
| ◇ | RETURN | RETURN | RETURN | RETURN | — | RETURN |
| HDD (Rouge) | Rouge | Rouge | — | HDD | — | Rouge |
| DVD (Vert) | Vert | Vert | — | DVD | — | Vert |
| ♀(Jaune) | Jaune | Jaune | — | Magnétoscope | — | Jaune |
| × (Bleu) | Bleu | Bleu | MENU | MENU | — | Bleu |
| ▲ | — | — | ▲ | ▲ | ▲ | ▲ |
| II | — | AUTO SETUP | II | II | II | II |
| ■ | — | FREEZE | ■ | ■ | ■ | ■ |
| ▲ | — | — | ▲▲ | ▲▲ | ▲▲ | ▲▲ |
| ▲ | — | — | ▲▲ | ▲▲ | ▲▲ | ▲▲ |
| I▲ | TV/DTV | AV SELECTION | I▲ | I▲ | — | I▲ |
| ▲ | — | SCREEN SIZE | ▲▲ | ▲▲ | — | ▲▲ |
| AUDIO | AUDIO | AUDIO | AUDIO | AUDIO | AUDIO | AUDIO |
| DISP | DISPLAY | DISPLAY | DISPLAY | DISPLAY | — | DISPLAY/INFO |
| CH +/- | CH +/- | CH +/- | OUTPUT RESOLUTION+/-<a> | CH +/- | CH +/- | CH +/- |
a Commandes de BD.
Appareils audio/vidente
| Touche(s) | LD | CD/CD-R/SACD | MD/DAT | TAPE |
| SOURCE | POWER ON/OFF | POWER ON/OFF | POWER ON/OFF | POWER ON/OFF |
| Touches numériques | numériques | numériques | numériques | — |
| •/CLR | +10 | >10/CLEAR | CLEAR | CLEAR |
| ENTER (CLASS) | ENTER | DISC/ENTER | OPEN/CLOSE | ENTER |
| X | TOP MENU | — | — | MS← |
| f | — | LEGATO LINK | — | MS→ |
| ↑/↓/←/→ | ↑/↓/←/→ | — | — | II/III/IAI/AI/AI |
| ENTER | ENTER | — | — | — |
| — | SACD SETUP | — | — |
| RETURN | — | — | — |
| | | | |
| II | II | II | II | II |
| ■ | ■ | ■ | ■ | ■ |
| | | | |
| | | | |
| | | | |
| | | | |
| AUDIO | AUDIO | PURE AUDIO | — | — |
| DISP | DISPLAY/INFO | TIME | — | — |
a Commandes de MD.
b Commandes de SACD.
TV (Projecteur)
| Touches(s) | TV (Projecteur) |
| SOURCE | POWER ON |
| 1 | MOVIE |
| 2 | STANDARD |
| 3 | DYNAMIC |
| 4 | USER1 |
| 5 | USER2 |
| 6 | USER3 |
| 7 | COLOR+ |
| 8 | SHARP+ |
| 9 | GAMMA |
| 0 | COLOR- |
| •/CLR | SHARP- |
| ENTER (CLASS) | COLOR TEMP |
| × | EXIT |
| f | INFO |
| ↑/↓/←/→ | ↑/↓/←/→ |
| ENTER | ENTER |
| TEST |
| HIDE |
| × | MENU |
| ▲ | HDMI1 |
| HDMI2 |
| COMP. |
| ▲ | VIDEO |
| II | S-VIDEO |
| BRIGHT- |
| BRIGHT+ |
| AUDIO | POWER OFF |
| DISP | ASPECT |
| CH +/- | CONTRAST+/- |
Le système MCACC (Calibrage ACoustique Multi-Canaux) avancé a eté mis au point par les laboratoires Pioneer pour permettre aux utilisateurs d'effectuer chez eux des réglages de même niveau que dans un studio, de haute précision mais simples à réaliser. Les caractéristiques acoustiques de la salle d'écoute sont mesurées et la réponse en fréquence calibrée en conséquence pour creer un champ sonore se rapprochant le moyen possible de l'environnement d'un studio grâce à des mesures précises, une analyse automatique et un calibrage optimal. De plus, alors qu'il était difficile d'éliminer les ondes stationnaires sur les anciens modèles, il est désormais possible d'en effectuer une analyse acoustique et de réduire leur influence en une seule opération grâce au contrôle des ondes stationnaires dont est poursuvi ce récepteur.
Cette partie vous indique comment effectuer automatiquement un calibrage du champ sonore et comment ajuster manuellement les données du champ sonore de manière encore plus précise.
1 Appuyez sur RECEIVER pour allumer le récepteur et votre téléviseur.
Assurez-vous que l'entrée video du télévisueur est reglee sur ce recepteur.
2 Appuyez sur RECEIVER de la télécommande, puis sur HOME MENU.
Un écran à interface graphique (GUI) apparait sur votre téléviseur. Utilisez / / / et ENTER pour naviguer sur les pages et sélectionner les éléments de menu. Appuyez sur RETURN pour sorting du menu actuel.
- Appuyez sur HOME MENU à n'importe quel moment pour dégager la page Home Menu.
4 Sélectionnez le réglage que vous souhaitez ajuster.
Full Auto MCACC - Consultez la section Obtention automatique d'un réglage sonore optimal (Full Auto MCACC) à la page 27 pour une configuration surround automatique rapide et efficace.
- Auto MCACC - Consultez la section MCACC automatique (Expert) à la page 64 pour une configuration MCACC plus détaillée. De plus, le contrôle de phase pleine bande permet de calibrer les caractéristiques de fréquence-phase des enceintes raccordées.
- Manual MCACC - Affine les réglages des enceintes et personnalise l'égaliser du calibrage acoustique (consultez la section Configuration MCACC manuelle à la page 66).
- Demo – Aucun réglage n'est sauvégarde et aucune erreur ne se produit. Lorsque les enceintes sont raccordées à ce récepteur, la tonalité de test est émise à plusieurs reprises. Appuyez sur RETURN pour annuler la tonalité de test.
MCACC automatique (Expert)
Si vous configuration nécessite des réglages plus précis que ceux proposés à la section Obtention automatique d'un réglage sonore optimal (Full Auto MCACC) à la page 27, vous pouvez personnaliser vos options de configuration ci-dessous. Vous pouvez calibrer différemment votre système grâce aux six préréglages MCACC, utiles lorsque plusieurs positions d'écoute peuvent être prises selon la source
(par exemple, pour regarder un film dans un canapé ou pour journ aux yeux video pres du télévisueur).

Important
Assurez-vous que le microphone ou les enceintes ne sont pas déplacés pendant la configuration MCACC automatique.
L'économiseur d'écran s'active automatiquement après cinq minutes d'inactivité.

ATTENTION
- Les tonalités de test utilisées pour la configuration MCACC automatique sont à un volume élevé.
Si la page Advanced MCACC n'apparait pas, consultez la section Reglages du recepteur depuis le menu MCACC avancé à la page 64.
2 Sélectionné les paramètres que vous pouze régler.
Utilisez / pour sélectionner le réglage, puis utilisez / pour le valider.
- Auto MCACC - Réglage par défaut : ALL (recommandé) ; toute fois, vous pouvez si vous le souhaitez limiter le calibrage du système à un seul réglage (pour gagner du temps).
Lorsque des mesures sont effectuées (après la sélection de ALL ou Keep SP System), les données des caractéristiques de la réverbération (avant et après le calibrage) enregistrées dans le récepteur sont écrasées.
Lorsque la mesure est effectuee avec autre chose que SYMMETRY (apres la selection de ALL ou Keep SP System), les caractéristiques de la réverbération après le calibrage ne peuvent pas
etre calculées, et la courbe des
caracteristiques ("After") ne peut pas
s'afficher. Si vous devez afficher la
courbe des caractéristiques après le
calibrage ("After"),utilisez le menu
EQ Professional de la configuration
Manual MCACC (page 66) pour effectuer
les mesures.
La mesure EQ Pro & S-Wave est également prise lorsque ALL ou Keep SP System est sélectionné. Pour plus d'informations, consultez la section Égalisation du calibrage acoustique professionnel à la page 68.
L'effet de l'égaliser du calibrage acoustique professionnel et des ondes stationnaires peut être activé ou désactivé dans le préréglage MCACC correspondant. Pour plus d'informations, consultez la section Réglage des options audio à la page 50.
- EQ Type (disponible uniquement lorsque le menu Auto MCACC ci-dessus est.Reglé sur EQ Pro & S-Wave) - Déterminé le réglage de l'équilibre des fréquences.
Après un simple calibrage, chacune des trois courbes d'égalisation suivantes sont sauvegardees séparément dans la mémoire MCACC.
SYMMETRY effectue une correction symétrie sur chaque paire d'enceintes gauche et droite visant à égaliser les caractéristiques de l'amplitude des fréquences. ALL CH ADJ correspond à un réglage 'plat', c'est-à-dire que toutes les enceintes sont réglées individuellement sans pondération spéciale accordée àquelque canal que ce soit. FRONT ALIGN règle toutes les enceintes en fonction des réglages des enceintes avant (pas d'égalisation appliquée aux canaux avant gauche et droit). Si vous avez sélectionné ALL ou
Keep SP System comme menu Auto MCACC,
vous pouvez spécifique le prééglage MCACC
ou les réglages SYMMETRY, ALL CH ADJ et FRONT ALIGN doivent être sauvégardés.
- THX Speaker (disponible seulement lorsque le menu Auto MCACC ci-dessus est le menu ALL ou Speaker Setting) - Sélectionnez YES lorsque des enceintes THX sont utilisées (toutes les enceintes à part les enceintes avant sont régliées sur SMALL). Dans les autres cas, laissez sur NO.
- STAND.WAVE Multi-Point (disponible uniquement lorsque le menu Auto MCACC ci-dessus est EQ Pro & S-Wave) - Outre les mesures en position d'écoute, les tonalités de test peuvent être analysées et les ondes stationnaires réduites à deux autres points de référence. C'est utile si vous souhaitez obtenir un calibrage 'plat' équilibré pour différentes positions d'écoute dans votre zone d'écoute. Placez le microphone au point indiqué sur l'écran et notez que la dernière position du microphone représentera toute principale position d'écoute :

3 Raccordez le microphone à la prise MCACC SETUP MIC sur le panneau avant.
Veillez à ce qu'il n'y aitaucun obstacle entre les enceintes et le microphone.

Positionnez le microphone sur un trépied (si vous en ave un) pour qu'il se trouve à hauteur d'oreilles en position d'écoute normale. Sinon, utilisez autre chose pour poser le microphone.
- Il peut être impossible d'effectuer correctement les mesures si le microphone est posé sur une table, un sofa, etc.
4 Lorsque vous avez terminé de régler les options, Sélectionnez START puis appuyez sur ENTER.
5 Suivez les instructions affichées à l'écran.
6 Attendez que la configuration MCACC automatique ait fini d'émettre les tonalités de test.
Un rapport de progression s'affiche à l'écran tandis que le récepteur génére des tonalités de test pour déterminer les enceintes générées dans votre configuration. Essayez d'être aussi silencieux que possible pendant cette opération.
- En cas de messages d'erreur (du type Too much ambient noise! ou Check microphone.), Sélectionnez RETRY après avoir vérifié le bruit ambiant (consultez la section Problèmes lors de l'utilisation de la configuration MCACC automatique à la
page 29) et le branchement du microphone. Si vous ne constatez aucun problème, selectionnez simplement GO NEXT et continuez.
- Ne réglez pas le volume pendant les tonalités de test. Cela pourrait fausser les réglages des enceintes.
7 Si besoin, vérifie la configuration des enceintes sur l'écran GUI.
La configuration affichée à l'écran doit reflérer les enceintes physiques dont vous disposez. Si vous n'effectuez aucune opération pendant 10 secondes lorsque l'écran de verification de la configuration est affché, la configuration MCACC automatique se poursuit automatiquement. Dans ce cas, il est inutilde selectionner 'OK' et d'appuyer sur ENTER à l'étape 8.
- Si vous Voyez un message d'erreur ERR (ou si la configuration des enceintes indiquée est incorrecte), il se peut qu'il y ait un problème au niveau des liaisons des enceintes. Si vous ne parvenez pas à résoudre le problème en sélectionnant RETRY, fouze l'alimentation et vérifie les liaisons des enceintes. Si vous ne constaze aucin problème, utilisez simplement ↑/↓ pour sélectionner l'enceinte et ←/→ pour modifier le réglage, puis continuez.
- Si I'enceinte n'est pas orientee vers le microphone (position d'écoute) ou lorsque les enceintes sont affectees par la phase (enceintes dipôles, enceintes réfléchissantes, etc.), Reverse Phase peut s'afficher même si les enceintes sont bien raccordées.
Si Reverse Phase s'affiche, les fils du cordon d'enceinte (+ et-) ont peut-être été inversés. Vérifiez les liaisons des enceintes.
Si les liaisons ne sont pas bonnes, coupez l'alimentation, débranchez le cordon d'alimentation et raccordez les enceintes correctement. Ensuite, effectuez une nouvelle fois la
configuration MCACC automatique intégrale.
Si les liaisons sont bonnes, selectionnez GO NEXT et continuez.
8 Assurez-vous que 'OK' est sélectionné, puis appuyez sur ENTER.
Un rapport de progression s'affiche à l'écran tandis qu'un plus grand nombre de tonalités de test est émis pour permettre de déterminer les réglages optimaux du récepteur.
Une fois encore, essayez d'être aussi silencieux que possible pendant cette opération. Elle peut prendre 3 à 7 minutes.
- Si vous avez sélectionné une configuration STAND.WAVE Multi-Point (étape 2), vous étes invité à positionner le microphone aux points de référence 2 et 3, avant de le positionner dans votre principale position d'écoute.
Les réglages effectuels dans la configuration MCACC automatique permettent d'obtenir en原則 un excellent son surround de votre système, mais vous pouvez aussi effectuer yourselves ces réglages sur le menu de configuration Manual MCACC (débutant ci-dessous) ou Manual SP Setup (débutant à la page 72).
- En fonction des caractéristiques de votre piece, des enceintessemblables dotées d'un cône de 12 cm environ afficheront parfois des réglages de taille différents. Vous pouvez corriger ce réglage manuellement grâce à la section Configuration manuelle des enceintes à la page 72.
-
La valeur du réglage de la distance du caisson de grave peut être supérieure à la distance réelle de la position d'écoute. Ce réglage doit être précis (en tenant compte des caractéristiques de retard et de la pièce) et n'a généralement pas besoin d'être modifié.
-
Si les mesures obtenues par la configuration MCACC automatique ne sont pas correctes à cause d'une interaction des enceintes et de l'environnement, nous vous conseillons de faire vous-même les réglages.
Voupez également besoin de visualiser les réglages en sélectionnant les paramétres individuels sur la page MCACC Data Check (consultez la section Vérification des données MCACC à la page 69).
Appuyez sur RETURN après avoir vérifié chaque écran. Lorsque vous avez terminé, Sélectionnez RETURN pour revenir au Home Menu.
Lorsque la configuration MCACC automatique est terminée, n'oubliez pas de débrancher le microphone du récepteur.
Configuration MCACC manuelle
Vou puez utiliser les réglages du menu de configuration Manual MCACC pour réaliser des ajustements précis lorsque vous connaisssez moins votre système. Avant d'effectuer ces réglages, la procédure Obtention automatique d'un réglage sonore optimal (Full Auto MCACC) à la page 27 doit être déjà terminée.
Ces réglages ne doivent être effectuels qu'une seule fois (sauf si vous souhaitez modifier l'emplacement de votre système d'enceintes actuel ou ajouter de nouvelles enceintes).
ATTENTION
- Les tonalités de test utilisées pour la configuration Manual MCACC sont générées à un volume élevé.
Important
- Appuyez sur la touche MCACC lorsque les pages de configuration pertinentes apparaissent pour seLECTIONner les prérégliages MCACC.
- Pour certains réglages ci-dessous, vous devez brancher le microphone de configuration sur le panneau avant et le positionner à hauteur d'oreille en position d'écoute normale. Appuyez sur HOME MENU pour afficher le Home Menu avant de brancher le microphone sur le récepteur.
- Lisez les remarques de la section Problèmes lors de l'utilisation de la configuration MCACC automatique à la page 29 concernant les niveaux de bruit de fond élevés et autres interférences possibles.
- Si vous utilisez un caisson de grave, allumez le et montez le volume jusqu'en position mediane.
Consultez la section Reglages du recepteur depuis le menu MCACC avancé à la page 64 si vous n'avez pas encore atteint cet écran.
2 Sélectionnez le réglage que vous souhaitez ajuster.
Si vous effectuez cette opération pour la première fois, il se peut que vous préfériez effectuer ces réglages dans l'ordre.
- Fine Channel Level - Permet des ajustements précis de l'équilibre général du système d'enceintes (consultez la section Réglage précis du niveau de canal à la page 66).
- Fine SP Distance - Permet des réglages de retard précis pour le système d'enceintes (consultez la section Distance précise des enceintes à la page 67).
- Standing Wave - Contrôle les basses fréquences résonnantes dans la pièce d'écoute (consultez la section Ondes stationnaires à la page 67).
Les deux derniers réglages ont été spécialement concus pour la personnalisation des paramètres expliqués à la section Réglage de l'égaliseur du calibrage acoustique à la page 67 :
- EQ Adjust - Ajustez manuellement l'équilibre des fréquences de votre système d'enceintes lors de l'écoute des tonalités de test (consultez la section Réglage de l'égaliser du calibrage acoustique à la page 67).
- EQ Professional - Calibrez votre système sur la base du son direct provenant des enceintes et réalisez les réglages détaillés en fonction des caractéristiques de la réverbération de votre piece (consultez la section Égalisation du calibrage acoustique professionnel à la page 68).
Réglage précis du niveau de canal
- Réglage par défaut: 0.0dB (tous les canaux)
Voussoupiezobtenuronsurrounddemeilleure qualite enajustantcorrectementI'équilibre généraldevorsystème d'enceintes.Vouspouvazajustereliveau du signalde chaque enceinte par incréments de 0,5 dB.Le réglage suivant peut vous permettre d'effectuer des ajustements précis,impossibles àobtenir en suivant la procédure Configurationmanuelle des enceintesàla page 72.
Le volume augmente pour atteindre le niveau de reference 0.0 dB.
2 Ajustez le niveau du canal gauche.
Il représenté le niveau d'enceinte de référence. Mieux vaut donc régler ce niveau à plus ou moins 0.0dB afin d'avoir une marge comfortable pour ajuster le niveau des autres enceintes.
- Àprous avoir appuyé sur ENTER, des tonalités de test sont générées.
3 Sélectionnez tour à tour chaque canal et ajustez les niveaux (+/-12,0 dB) si besoin.
Utilisez / pour régler le volume de l'enceinte sélectionné pour qu'il corresponde à celui de l'enceinte de référence. Lorsque les deux tonalités semble afficher le même volume, appuyez sur ↓ pour confirmer et passer au canal suivant.
- À des fins de comparaison, l'enceinte de référence change en fonction de l'enceinte sélectionnée.
- Si vous souhaitez revenir en arrêtère pour ajuster un canal, utilisez ↑/↓ pour le sélectionner.
4 Lorsque vous avez terminé, appuyez sur RETURN.
Vous revenez alors au menu de configuration Manual MCACC.
Distance précise des enceintes
- Réglage par défaut : 3.00m (toutes les enceintes)
Pour que le son de votre système affiche une belle profondeur et une séparation ideale, il convient d'ajouter un léger retard à certaines enceintes de sorte que tous lessons atteignent la position d'écoute en même temps. Vous pouvez ajuster la distance de chaque enceinte par incréements de 1 cm. Le réglage suivant peut vous permettre d'effectuer des ajustements précis, impossibles à Obtérer en suivant la procédure Configuration manuelle des enceintes à la page 72.
1 Sélectionnez 'Fine SP Distance' sur le menu de configuration Manual MCACC.
2 Ajustez la distance du canal gauche à partir de la position d'écoute.
3 Sélectionnez tour à tour chaque canal et ajustez la distance si besoin.
Utilisez / pour regler la distance de l'enceinte selectionnee pour qu'elle corresponde a celle de I'enceinte de reference.
Écoutez le canal de référence et utilisez-le pour mesurer le canal cible. À partir de la position d'écoute, faites face aux deux enceintes, les bras tendus vers chaque enceinte. Essayez de régler les deux tonalités pour qu'elles atteignent en même temps un point légersement devant vous, situé entre vos bras.
- Si vous n'y parveze pas en ajustant le réglage de la distance, essayez de modifier très légèrement l'orientation de vos enceintes.
- La tonalité de test du caisson de grave est différente de celle des autres canaux. Réglez la de sorte que le son du caisson de grave puisse être entendu distinctement. Il faut savoir que, lorsque vous réglez le caisson de grave, selon la réponse des graves de vos enceintes le changement peut être à peine perceptible, que le son soit augmente
ou diminué, et même lorsque la position des enceintes est changée. Notez qu'il peut être difficile de comparer cette tonalité avec les autres enceintes générées dans votre configuration (cela dépend de la réponse en BASSE fréquence de l'enceinte de reference).

Lorsque les réglages du retard semblent correspond, appuyez sur ↓ pour confirmer et passer au canal suivant.
- À des fins de comparaison, l'enceinte de référence change en fonction de l'enceinte sélectionnée.
- Si vous souhaitez revenir en arrêtre pour ajuster un canal, utilisez ↑/↓ pour le sélectionner.
4 Lorsque vous avez terminé, appuyez sur RETURN.
Vous revenez alors au menu de configuration Manual MCACC.
Ondes stationnaires
- Réglage par défaut : ON/ATT 0.0dB (tous les filtrres)
Les ondes stationnaires acoustiques apparaissant lorsque, dans certaines situations, les ondes sonores provenant de votre système d'enceintes résonnant avec les ondes sonores se refléchissant contre les murs de leur zone d'écoute. Ceci peut avoir un effet négatif sur le son global, spécialement dans certaines basses fréquences. En fonction de la position de l'enceinte, de votre position d'écoute, et enfin de la forme de votre pièce, le son produit est 'exploisif' et excessivement résonnant. Le contrôle des ondes stationnaires utilise des filtres pour réduire l'effet dessons trop résonnants dans
la zone d'écoute. Au cours de la lecture d'une source, vous pouvez personnelier les filtres permettant le contrôle des ondes stationnaires pour chacun de vos préréglages MCACC.
- Les réglages du filtré de contrôle des ondes stationnaires ne peuvent pas été modifiés pendant la lecture de sources avec la connexion HDMI.
1 Sélectionnez 'Standing Wave' sur le menu de configuration Manual MCACC.
2 Ajustez les paramètres de contrôle des ondes stationnaires.
- Filter Channel - Sélectionnez le canal auquel vous appliquerez le(s) filtré(s): MAIN (tous sauf le canal central et le caisson de grave), Center ou SW (caisson de grave).
- TRIM (disponible uniquement si le canal du filtré ci-dessus est SW) - Ajustez le niveau du canal du caisson de grave (pour compenser la différence dans le post-filtre de sortie).
- Freq/Q/ATT - Ce sont les paramétres du filtré: Freq représentée la fréquence visée et Q, la bande passante (plus Q est élevé, plus la bande passante ou la portée est restreinte) de l'atténuation (ATT représentée la réduction de la fréquence visée).
3 Lorsque vous avez terminé, appuyez sur RETURN.
Vous revenez alors au menu de configuration Manual MCACC.
Réglage de l'égaliseur du calibrage acoustique
- Réglage par défaut: ON/0.0dB (tous les canaux/toutes les bandes)
L'égaliseur du calibrage acoustique est un sort de correcteur visant à adapter les enceintes (sauf le caisson de grave) à la pièce d'écoute. Il fonctionne en mesurant les caractéristiques acoustiques de la pièce et en neutralisant les
caracteristiques ambiantes pouvant colorer la source d'origine (en établissant une courbe 'plate'). Si le réglage proposé dans la section Obtention automatique d'un réglage sonore optimal (Full Auto MCACC) à la page 27 ou MCACC automatique (Expert) à la page 64 ne vous satisfait pas, vous pouvez également ajuster manuellement ces paramétres afin d'obtenir un équilibre des fréquences vous convenant.
1 Sélectionnez 'EQ Adjust' sur le menu de configuration Manual MCACC.
2 Sélectionnez le(s) canal(canaux) souhaité(s) et ajustez-les à votre convenance.
Utilisez / pour selectionner le canal.
Utilisez / pour sélectionner la fréquence et ↑/↓ pour accentuer ou couper l'égaliserur. Lorsque vous avez terminé, allez au haut de la page et appuyez sur pour revenir à Ch, puis utilisez ↑/↓ pour sélectionner le canal.
L'indicateur OVER! s'affiche à l'écran si l'ajustement de la fréquence est trop strict et qu'il risque d'entrainer des déformations. Dans ce cas, baissez le niveau jusqu'à ce que OVER! disparaisse de l'écran.
3 Lorsque vous avez terminé, appuyez sur RETURN.
Vourevenuesalorau menu de configuration Manual MCACC.

Remarque
- Une modification trop stricte de la courbe de fréquence d'un canal affecte l'équilibre général. Si l'équilibre des enceintes ne semble pas régulier, vous pouvez augmenter ou réduire les niveaux de canal en utilisant les tonalités de test, grâce à la fonction TRIM. Utilisez / pour sélectionner TRIM, puis ↑/↓ pour augmenter ou réduire le niveau de canal pour l'enceinte en cours.
Égalisation du calibrage acoustique professionnel
Cette configuration minimise les effets indésirables de la réverbération de la pièce en vous permettant de calibrer votre système sur la base du son direct provenant des enceintes. L'égalisation du calibrage acoustique professionnel agit efficacement lorsque les graves sont trop réverbérants dans votre salle d'écoute (ils sont 'cavernoux'), comme indiqué dans le Type A ci-dessous, ou lorsque différents canaux ont des courbes de réverbération différentes comme dans le Type B.
- Type A: Réverbération des hauteurs par rapport aux basses fréquences

- Type B: Caracteristiques de la réverbération sur les différents canaux

Utilisation de l'égaliser du calibrage acoustique professionnel
1 Sélectionnez 'EQ Professional', puis appuyez sur ENTER.
2 Sélectionnez une option et appuyez sur ENTER.
- Reverb Measurement - Utilisez cette option pour mesurer les caractéristiques de la réverbération avant et après le calibrage.
- Reverb View - Permet de vérifier les mesures de réverbération réalisées pour des gamas de fréquences spécifiées dans chaque canal.
Si la procédure Reverb View est effectue après le Obtention automatique d'un réglage sonore optimal (Full Auto MCACC) à la page 27 ou la
Reverb Measurement, des différences peuvent apparaitre sur le graphique de la réverbération, selon le réglage du contrôle des ondes stationnaires. Lors de la configuration Auto MCACC, les réverbérations sont mesurées après le contrôle des ondes stationnaires, de sorte que le graphique des caractéristiques de la réverbération montre les courbes obtenues après l'élimination de l'effect des ondes stationnaires. Par contre, la fonction Reverb Measurement mesure les réverbérations sans agir sur les ondes stationnaires, de sorte que le graphique des caractéristiques de la réverbération montre les courbes obtenues sans réduction des ondes stationnaires. Si vous pouze vérifier les caractéristiques de la piece proprement dite (avec les ondes stationnaires), nous vous conseillons d'utiliser la fonction
Reverb Measurement.
- Advanced EQ Setup - Permet de sélectionner le temps d'ajustement et de calibrage des fréquences, sur la base de la mesure de la réverbération de la zone d'écoute. Notez que l'utilisation de cette configuration pour personneliser le calibrage du système modifie les réglages effectués à la section Obtention automatique d'un réglage sonore optimal (Full Auto MCACC) à la page 27 ou MCACC automatique (Expert) à la page 64 et qu'il n'est pas nécessaire de l'appliquer si ces réglages vous convenennent.
3 Si vous avez selectionné 'Reverb Measurement', selectionnez EQ ON ou EQ OFF, puis START.
Les options suivantes déterminant la façon dont les caractéristiques de la réverbération de votre salle d'écoute sont indiquées dans
Reverb View:
- EQ OFF - Vous visualisiez les caractéristiques de la réverbération de votre salle d'écoute sans l'égalisation réalisée par ce récepteur (avant calibrage).
- EQ ON - Vous visualisiez les caractéristiques de la réverbération votre salle d'écoute avec l'égalisation réalisée par ce récepteur (après calibrage). Notez que la courbe de l'égaliseur peut ne pas être entièrement plate du fait des ajustements nécessaires pour votre salle d'écoute.
— Si vous sélectionnez EQ ON, le calibrage correspondant au préréglage MCACC en cours est utilisé. Pour utiliser un autre préréglage MCACC, appuyez sur MCACC pour selectionner la mémoire MCACC souhaïée.
—Après un calibrage automatique avec EQ Type : SYMMETRY
(Full Auto MCACC, etc.) le graphique des caractéristiques de la réverbération présumée peut être affiché en selectionnant Reverb View. Pour afficher les caractéristiques de la réverbération réalisément mesurée après le calibrage par l'égaliseur, mesurez-les en utilisant le réglage EQ ON.
Lorsque la mesure de la réverbération est terminée, vous pouvez sélectionner Reverb View pour visualiser les résultats à l'écran. Consultez la section Graphique de l'égaliseur du calibrage professionnel à la page 83 pour obtenir des informations de dépannage.
4 Si vous avez selectionné 'Reverb View', vous pouvez vérifier les caractéristiques de la réverbération de chaque canal. Appuyez sur RETURN lorsque vous avez terminé.
Les caractéristiques de la réverbération apparaissent lorsque des mesures
Full Auto MCACC ou Reverb Measurement sont effectuées.
Utilisez pour selectionner le canal, la fréquence et le réglage de calibrage que vous souhaitez vérifier. Utilisez ↑/↓ pour passer de l'un à l'autre entre les trois. Le graphique des caractéristiques de la réverbération avant et après le calibrage acoustique peut être affché en selectionnant Calibration: Before / After. Notez que l'axe vertical représentée les décibels, marqués par incréements de 2 dB.
5 Si 'Advanced EQ Setup' est sélectionné, spécifiez la mémoire MCACC appropriée, puis précisez la durée de calibrage souhaïette, et finalement sélectionnez START.
- Pour spécifique l'endetroit où le contenu de la mémoire MCACC doit être sauvégarde, appuyez sur MCACC pour sélectionner la mémoire MCACC appropriée.
Sur la base de la mesure de la réverbération ci-dessus, vous pouvez désirier le temps dédié à l'ajustement et au calibrage complets des fréquences. Meme si vous pouvez effectuer ce réglage sans mesure de la réverbération, mieux vaut utiliser les résultats des mesures comme référence pour le réglage du temps. Pour un calibrage optimal du système sur la base du son direct provenant des enceintes, nous conseillons d'utiliser le réglage 30-50ms. Utilisez / pour selectionner le réglage. Utilisez / pour passer de l'un à l'autre. Sélectionné le réglage parmi les temps suivants (en millisecond) : 0-20ms, 10-30ms, 20-40ms, 30-50ms, 40-60ms, 50-70ms et
60-80ms. Ce réglage s'applique à tous les canaux pendant le calibrage.
Lorsque you ave terminé, sélectionnez
START. Le calibrage peut prendre 2 à 4 minutes environ.
Une fois l'égalisation du calibrage acquistique effectuee, vous avez la possibilité de vérifier les réglages à l'écran.
Vérification des données MCACC
Lors de la procédure de Obtention automatique d'un réglage sonore optimal (Full Auto MCACC) à la page 27, celle de MCACC automatique (Expert) à la page 64 ou après le réglage fin dans Configuration MCACC manuelle à la page 66, vous pouvez vérifier les réglages obtenus après le calibrage sur l'écran GUI.
1 Appuyez sur RECEIVER de la télécommande, puis sur HOME MENU.
Un écran à interface graphique (GUI) apparait sur votre téléviseur. Utilisez ↑/↓/←/→ et ENTER pour naviguer sur les pages et sélectionner les éléments de menu. Appuyez sur RETURN pour sorting du menu actuel.
3 Sélectionnéz le réglage que vous voulez vérifier.
- Speaker Setting - Sert à vérifier les réglages des systèmes d'enceintes. Pour plus d'informations, consultez la section Réglage des enceintes à la page 69.
- Channel Level - Sert à vérifier le niveau sonore des différentes enceintes. Pour plus d'informations, consultez la section Niveau de canal à la page 69.
- Speaker Distance - Sert à vérifier la distance jusqu'àux différentes enceintes. Pour plus d'informations, consultez la section Distance des enceintes à la page 69.
- Standing Wave - Sert à vérifier les réglages du filtrage des ondes stationnaires. Pour plus d'informations, consultez la section Ondes stationnaires à la page 69.
-
Acoustic Cal EQ - Sert à vérifier les valeurs du calibrage de la réponse en fréquence de la salle d'écoute. Pour plus d'informations, consultez la section Égaliseur du calibrage acoustique à la page 70.
-
Group Delay - Sert à vérifier le retard de groupe des enceintes (avant et après le calibrage). Pour plus d'informations, consultez la section Retard de groupe à la page 70.
5 Lorsque vous avez terminé, appuyez sur RETURN.
Vous revenez alors au Home Menu.
Réglage des enceintes
Ce paramètre sert à afficher la taille des enceintes et le nombre d'enceintes. Pour plus d'informations, consultez la section Réglage des enceintes à la page 73.
2 Sélectionnez le canal que vous voulez vérifier.
Utilisez / pour selectionner le canal. Le canal correspondant sur le schema est sur ligné.
Niveau de canal
Ce paramètre sert à afficher le niveau des différents canaux. Pour plus d'informations, consultez la section Niveau de canal à la page 74.
2 Lorsque 'MCACC' est surligné, utilisez pour selectionner le préréglage MCACC que vous voulez vérifier.
Le niveau des différents canaux spécifique pour le préréglage MCACC sélectionné est indiqué. ---appeaït pour les canaux sans connexion.
Distance des enceintes
Sert à indiquer la distance entre les différents canaux et la position d'écoute. Pour plus d'informations, consultez la section Distance des enceintes à la page 74.
2 Lorsque 'MCACC' est surligné, utilisez / pour selectionner le preréglage MCACC que vous foulez vérifier.
La distance des différents canaux consignés dans le prépréglage MCACC sélectionné est indiqué. '---' apparait pour les canaux sans connexion.
Ondes stationnaires
Sert à afficher les valeurs des réglages effectués sur les ondes stationnaires pour les différentes mémoires MCACC. Pour plus d'informations, consultez la section Ondes stationnaires à la page 67.
1 Sélectionnez 'Standing Wave' sur le menu MCACC Data Check.
2 Lorsque 'Filter Channel' est surligné, utilisez ↑/↓ pour sélectionner le canal pour lequel vous pouvez vérifie le contrôle des ondes stationnaires.
La valeur de calibrage afferente aux ondes stationnaires obtenue pour le canal selectionné consigné dans le préreglage MCACC selectionné et son graphique sont affichés.
3 Appuyez sur pour surligner 'MCACC', puis utilisez / pour selectionner le preréglage MCACC que vous voulez vérifier.
Égaliseur du calibrage acoustique
Sert à afficher les valeurs de calibrage obtenues pour la réponse en fréquence des différents canaux consignés dans les différents prépréglages MCACC. Pour plus d'informations, consultez la section Réglage de l'égaliser du calibrage acoustique à la page 67.
1 Sélectionnez 'Acoustic Cal EQ' sur le menu MCACC Data Check.
2 Lorsque 'Ch' est surligné, utilisez ↑/↓ pour sélectionner le canal.
La valeur de calibrage obtenue pour la réponse en fréquence du canal sélectionné consigné dans le prêrglage MCACC sélectionné et son graphique sont affichés.
3 Appuyez sur pour surligner 'MCACC', puis utilisez / pour selectionner le preréglage MCACC que vous voulez vérifier.
Retard de groupe
Sert à afficher les résultats obtenus lors du calibrage des enceintes pour le retard de groupe. Pour plus d'informations, consultez la section Amélioration du son avec le contrôle de phase et le contrôle de phase pleine bande à la page 41.
1 Sélectionnez 'Group Delay' sur le menu MCACC Data Check.
2 Lorsque 'Channel' est surligné, utilisez pour selectionner le canal que vous voulez vérifier.
Le résultat du calibrage du retard de groupe est indiqué pour le canal sélectionné. Lorsque des mesures ont été effectuees quand Full Auto MCACC est sélectionné dans Advanced MCACC ou quand ALL ou Full Band Phase Ctrl est sélectionné après la seLECTION de Auto MCACC, le graphique obtenu avant le calibrage du retard de groupe est également affchéé.
Lorsque After est sélectionné dans
Calibration, le retard de groupe obtenu après le calibrage est indiqué. Si l'on compare les résultats obtenus lorsque Before est sélectionné et lorsque After est sélectionné, on s'apercoit que dans ce dernier cas la différence de retard est inférieure entre les bandes de fréquences et que le retard de groupe entre les différents canaux estUniforme, ce qui permet de vérifier I'effet du contrôle de phase pleine bande.
No Data s'affiche si le retard de groupe sélectionné n'a pas été mesure.
Gestion des données
Ce système vous permet de stocker jusqu'à six prérogliages MCACC, vous offrant ainsi la possibilité de calibrer votre système pour différentes positions d'écoute (ou différents ajustements de fréquence pour la même position d'écoute). Cela s'avéré utile pour changer de réglages en fonction du type de source écoutee et de votre position (par exemple, sur un canapé pour regarder un film ou pres du téléviseur pour jouer des yeux video).
Dans ce menu, vous pouvez copier les données d'un préréglage à l'autre, nommer les préréglages pour les identifier plus facilement et supprimer ceux dont vous n'avez plus besoin.
- Vous pouvezmettre cette fonction en oeuvre à la sectionObtention automatique d'un réglage sonore optimal (Full Auto MCACC) à la page 27 ou MCACC automatique (Expert) à la page 64 , selon notre progression.
1 Appuyez sur RECEIVER de la télécommande, puis sur HOME MENU.
Un écran à interface graphique (GUI) apparait sur votre téléviseur. Utilisez / / / et ENTER pour naviguer sur les pages et sélectionner les éléments de menu. Appuyez sur RETURN pour sorting du menu actuel.
2 Sélectionnez 'Data Management' sur le Home Menu.
3 Sélectionnez le réglage que vous souhaitez ajuster.
- Memory Rename - Nommez vos prérégliages MCACC pour les identifier facilement (consultez la section Renommer les prérégliages MCACC à la page 70).
- MCACC Memory Copy - Copiez les réglages d'un prépréglage MCACC vers un autre (consultez la section Copie des données de prépréglage MCACC à la page 70).
- MCACC Memory Clear - Supprimez les prêrglages MCACC inutiles (consultez la section Suppression des prêrglages MCACC à la page 71).
Renommer les préroglages MCACC
Si vous utilisez plusieurs prérégliages MCACC, il se peut que vous souhaitiez les renommer pour les identifier plus facilement.
1 Sélectionnez 'Memory Rename' sur le menu de configuration Data Management.
2 Sélectionnez le préréglage MCACC à renomer, puis choisissez un nom de préréglage approprié.
Utilisez / pour selectionner le preréglage, puis / pour selectionner un nom de preréglage.
3 Repetez l'opération pour chaque préréglage MCACC à renomer, puis appuyez sur RETURN lorsque vous avez terminé.
Vous revenez alors au menu de configuration Data Management.
Copie des données de préroglage MCACC
Si vous souhaitez ajuster manuellement l'égaliseur du calibrage acoustique (consultez la section Configuration MCACC manuelle à la page 66), nous vous conseillons de copier vos réglages actuels vers un préréglage MCACC non utilisé. Vous obtenez alors un point de reférence d'ou partir, au lieu d'une courbe d'égalisation plate.
- Réglages effectuels à la section Obtention automatique d'un réglage sonore optimal (Full Auto MCACC) à la page 27 ou MCACC automatique (Expert) à la page 64.
1 Sélectionnez 'MCACC Memory Copy' sur le menu de configuration Data Management.
2 Sélectionnez le réglage que vous souhaitez copier.
- All Data - Copie tous les réglages de la mémoire de prépréglage MCACC sélectionnée.
- Level & Distance - Copie seulement les réglages de niveaux des canaux et de distances des enceintes de la mémoire de prépréglage MCACC sélectionnée.
3 Sélectionnez le préréglage MCACC dont vous allez copier les réglages 'From', puis précise où vous souhaitez les copier ('To').
Assurez-vous de ne pas effacer et replacer un préréglage MCACC en cours d'utilisation (annulation impossible).
4 Sélectionnez 'OK' pour confirmer la copie des réglages.
Lorsque MCACC Memory Copy? est affché, sélectionnez YES. Si NO est sélectionné, les réglages ne sont pas copés.
Completed! s'affiche sur l'écran GUI pour confirmer la copie du préréglage MCACC. Puis vous revenez automatiquement au menu de configuration Data Management.
Suppression des préroglages MCACC
Si vous n'utilisez plus l'un des préréglages MCACC enregistrres en mémoire, vous pouvez supprimer les réglages de ce préréglage.
1 Sélectionnez 'MCACC Memory Clear' sur le menu de configuration Data Management.
2 Sélectionnez le préréglage MCACC que vous pouze supprimer.
Assurez-vous de ne pas supprimer un préfé glage MCACC en cours d'utilisation (annulation impossible).
3 Sélectionnez 'OK' pour confirmer la suppression du prééglage.
Lorsque MCACC Memory Clear? est affché, selectionnez YES. Si NO est selectionné, le prêrglage n'est pas supprimé.
Completed! s'affiche sur l'écran GUI pour confirmer la suppression du prééglage MCACC, puis vous revenez automatiquement au menu de configuration Data Management.
La section suivante décrit les changements manuels des réglages d'enceintes ainsi que d'autres réglages (seLECTION de l'entrée, selec-tion de la langue de l'affichage sur écran, etc.).
1 Appuyez sur RECEIVER pour allumer le récepteur et votre téléviseur.
Assurez-vous que l'entrée video du télévisueur est reglee sur ce recepteur.
2 Appuyez sur RECEIVER de la télécommande, puis sur HOME MENU.
Un écran à interface graphique (GUI) apparait sur votre téléviseur. Utilisez / / / et ENTER pour naviguer sur les pages et sélectionner les éléments de menu. Appuyez sur RETURN pour sorting du menu actuel.
- Appuyez sur HOME MENU à n'importe quel moment pour dégager la page Home Menu.
4 Sélectionnez le réglage que vous souhaitez ajuster.
- Manual SP Setup - Permet de spécifique le type de liaison appliqué aux bornes surround arrêté ainsi que la talle, le nombre, la distance et l'équilibre général des enceintes raccordées (consultez la section Configuration manuelle des enceintes à la page 72).
- Input Setup - Permet de spécifique les composants raccordés aux entrées numériques, HDMI et video à composantes
(consultez la section Le menu Input Setup à la page 29).
- OSD Language - Permet de changer la langue de l'affichage sur l'écran GUI (consultez la section Changement de la langue de l'affichage sur écran (OSD Language) à la page 27).
Network Setup - Permet d'effectuer la configuration nécessaire pour racorder cet apparéil au réseau (consultez la section Menu de configuration du réseau à la page 75).
- HDMI Setup - Permet de synchroniser ce récepteur et votre composant Pioneer compatible avec la Control par l'HDMI (page 47).
- Other Setup - Permet de personneliser les réglages selon la façon dont vous pouze utiliser votre récepteur (consultez la section Menu Autre configuration à la page 77).
Configuration manuelle des enceintes
Ce récepteur permet d'effectuer des réglages précis pour optimiser l'impact du son surround. Ces réglages ne doivent être effectuels qu'une seule fois (sauf si vous souhaitez modifier l'emplacement de votre système d'enceintes actuel ou ajouter de nouvelles enceintes).
Ils vous permettent de personnaliser vosystème, mais vous n'ètes pas obligé de lesappliquer si vous étes satisfait des réglageseffectues à la section Obtention automatiqued'un réglage sonore optimal (Full Auto MCACC)à la page 27.

ATTENTION
- Les tonalités de test utilisées pour Manual SP Setup sont générées à un volume élevé.
1 Sélectionnez 'Manual SP Setup', puis appuyez sur ENTER.
Consultez la section Régliages du récepteur depuis le menu de Configuration du système à la page 72 si vous n'avez pas encore atteint cet écran.
2 Sélectionnez le réglage que vous souhaitez ajuster.
Si vous effectuez cette opération pour la première fois, il se peut que vous préfériez ajuster ces réglages dans l'ordre :
- Speaker System - Indique dequelle façon vous utilisez les bornes d'enceintes surround arrêté et les bornes d'enceintes B (page 72).
- Speaker Setting - Permet de préciser la taille et le nombre d'enceintes raccordées (page 73).
- Channel Level - Permit d'ajuster l'équilibre général de votre système d'enceintes (page 74).
- Speaker Distance - Permit de préciser la distance de vos enceintes par rapport à la position d'écoute (page 74).
X-Curve - Permet d'ajuster l'équilibre tonal de votre système d'enceintes pour les bandes sonores de films (page 74).
- THX Audio Setting - Permet de préciser si vous utilisez une configuration d'enceintes THX (page 74).
3 Effectuez les ajustements nécessaires pour chaque réglage, en appuyant sur RETURN pour confirmer après chaque écran.
Réglage du système d'enceintes
- Réglage par défaut : Normal(SB/FH) Les bornes d'enceintes de ce récepteur peuvent être utilisées de différentes façon. Outre une configuration home kinéma classique, où elles sont utilisées pour les enceintes avant en position haute ou en position large, ces bornes peuvent être utilisées pour la double amplification des enceintes avant ou pour un système d'enceintes indépendant dans une autre piece.
Consultez la section Reglages du recepteur depuis le menu de Configuration du système à la page 72 si vous n'avez pas encore atteint cet écran.
2 Sélectionnez le système d'enceintes.
- Normal(SB/FH) - Sélectionnéz ce réglage pour une utilisation home cinema classique avec les enceintes avant en position haute de votre configuration principale (systeme d'enceintes A).
- Normal(SB/FW) - Sélectionné ce réglage pour une utilisation home cinema classique avec les enceintes avant en position large de votre configuration principale (système d'enceintes A).
- Speaker B - Sélectionné ce réglage pour utiliser les bornes d'enceinte B afin d'écouter en stéreo dans une autre piece (consultez la section Commutation du bornes d'enceintes à la page 53).
- Front Bi-Amp - Sélectionnez ce réglage si vous réalisEZ une double amplification des enceintes avant (consultez la section Double amplification des enceintes à la page 16).
- ZONE 2 - Sélectionné ce réglage pour utiliser les bornés d'enceintes surround arrrière pour écouter le son dans une autre zone (consultez la section Utilisation des commandes MULTI-ZONE à la page 54).
3 Si vous avez selectionné Normal(SB/FH), Normal(SB/FW) ou Speaker B à l' étape 2, selectionnez l'emplacement des enceintes surround.
Dans un système surround à 7.1 canaux dont les enceintes surround sont placées directement sur les côtés de la position d'écoute, le son surround des sources importante 5.1 canaux sont restituées par les côtés. Cette fonction mélange le son des enceintes surround avec le son des enceintes surround arrêté de sorte que le son surround est restitué en diagonale, de l'avant à l'arrière, comme il devrait l'être normalement.
Selon les positions des enceintes et la source sonore, il ne sera pas toujours possible d'obtenir de bons résultats. Si c'est le cas, reglez la fonction sur ON SIDE ou IN REAR.
- ON SIDE - Sélectionnez ce réglage lorsque les enceintes surround juste à votre gauche et droite.
- IN REAR - Sélectionnez ce réglage lorsque les enceintes surround sont en diagonale derrière vous.
4 Lorsque 'Setting Change?' est affché, seLECTIONnez Yes.
Si No est selectionné, le réglage ne change pas.
Vous revenez alors au menu Manual SP Setup.
Réglage des enceintes
Utilisez ce réglage pour préciser la configuration de vos enceintes (taillie, nombre d'enceintes et fréquence de transition). Assurez-vous que les réglages effectuels à la section Obtention automatique d'un réglage sonore optimal (Full Auto MCACC) à la page 27 sont corrects. Notez que ce réglage s'applique à tous les prérégliées MCACC et qu'il ne peut être configuré indépendamment.
- Si vous utilisez une configuration d'enceintes THX, réglez toutes les enceintes sur SMALL.
1 Sélectionnez 'Speaker Setting' sur le menu Manual SP Setup.
2 Choisissez le groupe d'enceintes que vous souhaitez régler, puis Sélectionnez une taille d'enceinte.
Utilisez / pour selectionner la taille (et le nombre) des enceintes suivantes :
- Front - Sélectionnez LARGE si vous enceintes avant reproduisent fidèlement les basses fréquences ou si vous n'avez pas raccordé de caisson de grave. Sélectionnez SMALL pour envoyer les basses fréquences au caisson de grave.
- Center - Sélectionnez LARGE si vous enceinte centrale reproduit fidèlement les basses fréquences ou SMALL pour envoyer les basses fréquences aux autres enceintes ou au caisson de grave. Si vous n'avez pas raccordé d'enceinte centrale, choisissez NO (le canal central est envoyé aux enceintes avant).
- FH - Sélectionnez LARGE si vos enceintes avant en position haute reproduisent bien les basses fréquences, ou SMALL pour envoyer les basses fréquences aux autres enceintes ou au caisson de grave. Si vous n'avez pas raccordé d'enceintes avant en position haute, Sélectionnez NO (le canal avant haut est envoyé aux enceintes avant).
— Vous ne pouvez ajuster ce paramètre que lorsque Speaker System est régé sur Normal(SB/FH).
Si les enceintes surround sont régles sur NO, ce paramètre se réglera automatiquement sur NO.
- FW - Sélectionnez LARGE si vos enceintes avant en position large reproduisent bien les basses fréquences, ou SMALL pour envoyer les basses fréquences aux autres enceintes ou au caisson de grave. Si vous n'avez pas raccordé d'enceintes avant en position large, Sélectionnez NO (le canal avant large est envoyé aux enceintes avant).
— Vous ne pouvez ajuster ce paramètre que lorsque Speaker System est.Reglé sur Normal(SB/FW).
Si les enceintes surround sont régles sur NO, ce paramètre se réglera automatiquement sur NO.
- Surr - Sélectionnez LARGE si vos enceintes surround reproduisent fidèlement les basses féquences. Sélectionnez SMALL pour envoyer les basses féquences aux autres enceintes ou au caisson de grave. Si vous n'avez pas racordé d'enceintes surround, choisissez NO (le son des canaux surround est envoyé aux enceintes avant ou à un caisson de grave).
-
SB - Sélectionnez le nombre d'enceintes surround arrêté dont vous disposez (une, deux ou aucune). Sélectionnez LARGEx2 ou LARGEx1 si vos enceintes surround arrêté reproduisent bien les basses fréquences. Sélectionnez SMALLx2 ou SMALLx1 pour envoyer les basses fréquences aux autres enceintes ou au caisson de grave. Si vous n'avez pas raccordé d'enceintes surround arrêté, choisissez NO.
Si vous ave selectionné ZONE 2 ou Front Bi-Amp (section Réglage du système d'enceintes à la page 72), vous ne pouvez pas ajuster les régliages surround arrêté.
Si les enceintes surround sont reglées sur NO, les enceintes surround arrêté se réglent automatiquement sur NO.
-
SW - Les signaux LFE et les basses fréquences des canaux régles sur SMALL sont restitués par le caisson de grave lorsque YES est sélectionné. Choisissez le réglage PLUS si vous souhaitez que le caisson de grave restitue les basses en permanence ou si vous souhaitez des basses plus profundes (les basses fréquences normalement émises par les enceintes avant et centrale sont également acheminées vers le caisson de grave). Si vous n'avez pas raccordé de
caisson de grave,CHOISSEZ NO les basses fréquences sont restituées par d'autres enceintes).
- Si vous avez un caisson de grave et que vous aimez que les basses ressortent, il peut paraitre logique de selectionner LARGE pour vos enceintes avant et PLUS pour le caisson de grave. Toutefois, ce choix peut ne pas donner des résultats optimaux. En fonction de la position des enceintes dans la piece, vous pouvez en effet constater une diminution des basses à cause de l'annulation de basses fréquences. Dans ce cas, essayez de modifier la position ou l'orientation des enceintes. Si les résultats ne vous satisfont pas, écoutez la réponse aux basses en réglant sur PLUS et YES ou en réglant alternatively les enceintes avant sur LARGE et SMALL, et laissez-vous guider par votre ouïe. Si vous rencontres des difficultés, l'option la plus simple consiste à envoyer toutes les basses au caisson de grave en selectionnant SMALL pour les enceintes avant.
Si vous sélectionnez NO pour le caisson de grave, les enceintes avant se régleront automatiquement sur LARGE. De plus, si les enceintes avant sont régliées sur SMALL, les enceintes centrale, surround, surround arrêté et avant en position haute et en position large ne peuvent pas être régliées sur LARGE. Dans ce cas, toutes les basses fréquences sont envoyées au caisson de grave.
3 Sélectionnez 'X. OVER' et réglez la fréquence de transition.
Les fréquences inférieures au point de transition sont envoyées au caisson de grave (ou aux enceintes LARGE).
- Ce réglage détermine la fréquence de transition entre les basses restituees par les enceintes régliées sur LARGE, ou par le
caisson de grave, et les basses restituees par les enceintes reglées sur SMALL. Il détermine également la fréquence de transition pour les basses du canal LFE.
- Avec la configuration Full Auto MCACC ou la configuration Auto MCACC (ALL ou Speaker Setting), ce réglage n'est pas appliqué et la fréquence de transition est spécifique automatiquement. La fréquence de transition est une fréquence qui se règle de manière à offrir un son optimal compte tenu de la capacité des enceintes à restituer les basses et des caractéristiques auditives de l'homme.
- Si vous utilisez une configuration d'enceintes THX, la fréquence de transition doit être régée sur 80Hz.
4 Lorsque vous avez terminé, appuyez sur RETURN.
Vous revenez alors au menu Manual SP Setup.
Niveau de canal
En utilisant les réglages du niveau de canal, vous pouvez ajuster l'équilibre général de votre système d'enceintes, facteur essentiel à la configuration d'un système home cinema.
Les tonalités d'essai sont émises.
2 Ajustez le niveau de chaque canal en utilisant .
Utilizez / pour commuter les enceintes.
Ajustez le niveau de chaque enceinte lorsque la tonalité de test est émise.
- Si vous utilisez un indicateur de pression sonore (SPL), effectuez les mesures depuis votre position d'écoute principale et ajustez le niveau de chaque enceinte à 75 dB SPL (Pondération C/ent).
3 Lorsque vous avez terminé, appuyez sur RETURN.
Vous revenez alors au menu Manual SP Setup.

Remarque
- Vous pouvez changer les niveaux des canaux en appuyant sur RECEIVER pour sélectionner le mode de fonctionnement du récepteur, puis sur CH LEVEL, et en utilisant / de la télécommande.
Distance des enceintes
Pour que votre système affiche une belle profondeur et une séparation ideale, vous devez préciser la distance séparant les enceintes et votre position d'écoute. Le récepteur peut alors ajouter le retard nécessaire pour obtenir un son surround correct.
2 Ajustez la distance de chaque enceinte en utilisant / .
Vou pouvez ajuster la distance de chaque enceinte par incréments de 0,01 m.
3 Lorsque vous avez terminé, appuyez sur RETURN.
Vous revenez alors au menu Manual SP Setup.

Remarque
- Pour un son surround de qualité, assurez-vous que les enceintes surround arrêté se trouvent à la même distance de la position d'écoute.
Courbe X
La plupart des bandes sonores mixées pour le cinema sont trop aigués lorsqu'elles sont émises dans de grandes pieces. Le réglage de la courbe X agit comme une nouvelle égalisation pour l'écoute sur un système home cinema : il restaque l'équilibre tonal des bandes sonores de films.
Bien que le principe soit le même, la courbe X ne s'applique pas lors de l'utilisation des modes surround Home THX, Pure Direct ou Optimum.
2 Choisissez le réglage de courbe X souhaïte.
Utilisez / pour ajuster le réglage. La courbe X est définié comme une ligne oblique descendante en décibels par octave, débutant à 2 kHz. Au fur et à mesure que la ligne oblique monte, le son perd en aigus (jusqu'à -3.0dB/oct au maximum). Utilisez les lignes directrices suivantes pour régler la courbe X en fonction de la taillie de votre piece :
| Taille de la pièce (m2) | ≤36 | ≤48 | ≤60 | ≤72 | ≤300 | ≤1000 |
| Courbe X(dB/oct) | -0.5 | -1.0 | -1.5 | -2.0 | -2.5 | -3.0 |
- Si vous sélectionnez OFF, la courbe des fréquences est plate et la courbe X reste sans effet.
3 Lorsque vous avez terminé, appuyez sur RETURN.
Réglage audio THX
Ce menu permet à l'utiliser d'ajuster diverses caractéristiques du THX, comme Loudness Plus, SBch processing, THX Select2 Subwoofer (marche/arrêt) et Boundary Gain Control. Veuillez you reporter à page 93 pour de plus amples informations sur ces caractéristiques du THX.
2 Sélectionnez soit ON soit OFF pour le paramètre THX Loudness Plus.
3 Precisez si le traitement SBch Processing doit être AUTO ou MANUAL.
-
AUTO - Lorsque des enceintes surround arrêtre sont raccordées, les signaux Dolby Digital EX Presents dans les signaux audio entrant sont automatiquement détectés et le mode surround THX approprié appliqué.
-
MANUAL - Que les signaux audio entrant contiennent ou non des signaux pour le canal surround arrêté, le mode surround THX approprié peut être sélectionné.
4 Precisez si votre caisson de grave est certifié Select2 ou non.
Si vous caisson de grave n'est pas certifié THX Select2, mais si vous voulez toujours corriger le gain, Sélectionnez YES ici, mais l'effet risque de ne pas être audible.
5 Sélectionnez soit ON soit OFF pour le paramètre Boundary Gain Compensation.
6 Lorsque vous avez terminé, appuyez sur RETURN.
Vous revenez alors au menu Manual SP Setup
Effectuez les réglages nécessaires pour connecter le récepteur à Internet et utiliser les fonctions réseau.
1 Appuyez sur RECEIVER de la télécommande, puis sur HOME MENU.
Un écran à interface graphique (GUI) apparait sur votre téléviseur. Utilisez ↑/↓/←/→ et ENTER pour naviguer sur les pages et sélectionner les éléments de menu. Appuyez sur RETURN pour sortir du menu actuel.
2 Sélectionnez 'System Setup' sur le Home Menu.
3 Sélectionnez 'Network Setup' sur le menu System Setup.
4 Sélectionnez le réglage que vous souhaitez ajuster.
Si vous effectuez cette opération pour la première fois, il se peut que vous préfériez ajuster ces réglages dans l'ordre :
- IP Address, Proxy - Permet de préciser l'adresse IP/le Proxy de ce récepteur (page 75).
Network Standby - Permet d'utiliser la fonction AVNavigator ou iControlAV2 meme lorsque le recepteur est en veille (page 75).
- Friendly Name - Le nom du récepteur indiqué sur l'ordinateur ou le dispositif connecté au réseau peut être changé (page 75).
- Parental Lock - Restreint l'emploi des fonctions réseau (page 76).
- Port Number Setting - Precise les numérodes ports recevant les signaux de laCommande IP (page 76).
- Wireless LAN Converter - Sert à faire les réglages du point d'accès et de l'adresse IP du convertisseur LAN sans fil (page 76).
Réglage d'adresse IP/Proxy
Si le routeur relié à la prise LAN de ce récepteur est un routeur à large bande (avec serveur DHCP), mettez simplement la fonction du serveur DHCP en service, et le paramétrage manuel du réseau sera superflu. Vous devez paramétrer le réseau de la façon suivante seulement si le récepteur est connecté à un routeur à large bande sans serveur DHCP. Avant de paramétrer le réseau, besoin conseil à votre fournisseur Internet ou à votre gestionnaire de réseau qui vous indiquera les réglages nécessaires. Il est consillé de se référer aussi au mode d'emploi fourni avec le composant en réseau.
- Si vous changez les réglages réseau sans serveur DHCP, effectuez les changements correspondants dans les réglages réseau de ce récepteur.
IP Address
L'adresse IP saisie doit correspondre aux définitions suivantes. Si l'adresse IP ne correspond à ces définitions, vous ne pourrez pas dire les fichiers audio enregistrés sur les composants du réseau ni écouter les stations radio Internet. Classe A:10.0.0.1 à 10.255.255.254
Classe B:172.16.0.1 à 172.31.255.254
Classe C:192.168.0.1a 192.168.255.254
Subnet Mask
Si le modem xDSL ou l'adaptateur de terminal est directement relié à ce récepteur, désignez le masque de sous-reseau fourni par courrier par votre fournisseur Internet. Dans la plupart des cas, il faut saisir 255.255.255.0.
Default Gateway
Si une passerelle (routeur) est reliée à ce récep-teur, désignez l'adresse IP correspondante.
Si une seule adressé DNS vous a été fournie par courrier par votre fournisseur Internet, saisissez-la dans le champ 'Primary DNS Server'.
Si plus de deux adresses de serveur DNS sont indiquées, saisissez 'Secondary DNS Server' dans l'autre champ d'adresse de serveur DNS.
Proxy Hostname/Proxy Port
Ce réglage est nécessaire si vous raccordez ce récepteur à Internet par un serveur proxy. Saisissez l'adresse IP de votre serveur proxy dans le champ 'Proxy Hostname'. Saisissez aussi le numéro de port de votre serveur proxy dans le champ 'Proxy Port'.
1 Sélectionnez 'IP Address, Proxy' sur le menu Network Setup.
2 Sélectionnez le réglage DHCP souhaité. Lorsque vous sélectionnez ON, le réseau est automatiquement paramétré, et vous n'avez pas besoin d'effectuer l'étape 3. Passez à l'étape 4.
S'il n'y a pas de serveur DHCP sur le réseau et si vous selectionnez ON, ce recepteur utilisera la fonction IP Auto pour déterminer automatique l'adresse IP.
L'adresse IP déterminée par la fonction IP Auto est 169.254.X.X. Vous ne pouvez pas écouter de station radio Internet si l'adresse IP est déterminée par la fonction IP Auto.
3 Saisissez les IP Address, Subnet Mask, Default Gateway, Primary DNS Server et Secondary DNS Server.
Appuyez sur ↑/↓ pour sélectionner un numéro et sur ←/→ pour déplacer le curseur.
4 Sélectionnez 'OFF' ou 'ON' pour le réglage Enable Proxy Server pour désactiver ou activer le serveur proxy.
Si vous sélectionnez 'OFF', passez à l'objet 7.
Si vous sélectionnez 'ON' par contre, passerez à l'objet 5.
5 Désignez l'adresse de votre serveur proxy ou le nom de Domaine.
Utilisez / pour selectionner un caractère,
/ pour spécifique la position et ENTER pour valider votre sélection.
6 Désignez le numéro de port de votre serveur proxy.
Utilizez / pour selectionner un caractère, / pour spécifier la position et ENTER pour valider votre selection.
7 Sélectionnez 'OK' pour valider le réglage de l'adresse IP/Proxy.
Veille réseau
Ce réglage permet d'utiliser la fonction AVNavigator ou iControlAV2 pour contrôler le récepteur depuis un ordinateur raccordé au même réseau LAN que le récepteur même lorsque celui-ci est en voilie.
1 Sélectionnez 'Network Standby' sur le menu Network Setup.
2 Precisez si le traitement Network Standby doit etre ON ou OFF.
- ON - Permet d'utiliser la fonction AVNavigator ou iControlAV2 même lorsque le recepteur est en veille.
- OFF - La fonction AVNavigator ou iControlAV2 ne peut pas etre utiliser que le recepteur est en veille (Ceci permet de réduire la consommation en veille).
Surnom
1 Sélectionnez 'Friendly Name' sur le menu Network Setup.
2 Sélectionnez 'Edit Name', puis 'Rename'.
Si, après avoir changé le nom, vous pouze rétablir le nom par défaut, Sélectionnez Default.
3 Saisissez le nom souhaite.
Utilisez ↑/↓ pour sélectionner un caractère,
/ pour spécifique la position et ENTER pour valider votre sélection.
Verrouillage parental
Vous pouvez restreindre l'usage des services Internet. Pour ce faire vous devez spécifier un mot de passer.
- En Usine, le mot de passer "0000" a été spécifique.

Important
Lorsque l'entrée HOME MEDIA GALLERY est seLECTIONnée, le verrouillage parental n'est pas disponible. Sélectionnez une autre entrée que HOME MEDIA GALLERY avant d'effectuer ces réglages.
2 Saisissez le mot de passer.
Utilisez ↑/↓ pour sélectionner un caractère,
/ pour spécifique la position et ENTER pour valider votre sélection.
3 Precisez si Parental Lock doit être activé ou désactivé.
4 Si vous voulez changer le mot de passer, Sélectionnez Change Password.
Dans ce cas, vous revenez à l' étape 2.
Réglage des numérios de ports
Sur ce récepteur, un maximum de 5 numérodesports peuvent receivevoir des signaux.Und'entre eux,le port numéro8102 qui estutilisepour la communication avec iControlAV2,nepeut pasetre changé,mais le numéro souhaitepeutetre spécifié pourles4autresports.
1 Sélectionnez 'Port Number Setting' sur le menu Network Setup.
2 Sélectionnez le numéro de port que vous poulez changer.
3 Saisissez le numero de port.
Utilisez / pour selectionner un caractere, / pour specifier la position et ENTER pour valider votre selection.
- Il n'est pas possible de désifier plusieurs fois le même numéro de port.
4 Si vous voulez changer d'autres numeros de port, repêze les étapes 2 et 3.
Remarque
- Lorsque le convertisseur LAN sans fil (AS-WL300) est raccordé, le numéro de port 3 ne peut pas être spécifique.
- Il est conseilé de spécifique le numéro de port sur 23 ou entre 49152 et 65535.
- Lorsque le numéro de port a changé, les communications réseau entre le récepteur et l'AVNavigator ne sont plus possibles. Dans ce cas, cliquez sur Settings sur le menu de fonctions de l'AVNavigator, Sélectionnez l'onglet de l'adresse IP et saississe un des nombres de ports spécifique sur le récepteur pour activer la communication avec l'AVNavigator.
Convertisseur LAN sans fil
Ce réglage est nécessaire lorsqu'on peut raccorder un convertisseur LAN sans fil au receptein et utiliser les fonctions du réseau sans fil. Utilisez l'AS-WL300 comme convertisseur LAN sans fil.
- Le convertisseur LAN sans fil (AS-WL300) est fourni avec le VSX-LX55, vendu séparément avec le VSX-2021.
Réglage du point d'accès
Effectuez les réglages de connexion pour le convertisseur LAN sans fil raccordé au récepteur et le point d'accès. Raccordez le convertisseur LAN sans fil au récepteur et réglez tout d'abord le DHCP sur le menu de réglages "IP Address, Proxy" (page 75). Les réglages de connexion au point d'accès peuvent s'effectuer de quatre façon, comme indiqué ci-dessous.
- WPS (PBC) - Les réglages de connexion s'effectuent automatiquement simplement à l'aide des boutons WPS sur le point d'accès et le convertisseur LAN sans fil, selon les instructions qui apparaissent à l'écran du récepteur. C'est la façon la plus simple de faire ces réglages, et ce n'est possible que lorsque le point d'accès et le convertisseur LAN sans fil sont poursuves de boutons WPS. Les réglages de connexion réseau durable environ 2 minutes à compter du moment où les boutons WPS sont pressés. Attendez que les réglages soient terminés.
- WPS (PIN) - Affichez la liste des SSID des points d'accès disponibles et Sélectionné le point d'accès auquel vous voulez vous connecter. Les réglages de connexion s'effectuent en saississant le code PIN à 8 chiffres qui s'affiche sur l'écran du récepteur pour le point d'accès auquel vous voulez vous connecter.
- Search for Access Point - Affichez la liste des SSID des points d'accès disponibles et Sélectionné le point d'accès auquel vous poulez vous connecter. Les réglages de connexion au point d'accès s'effectuent en précisant le protocole de sécurité du point d'accès, la clé de sécurité et la clé WEP par défaut (seulément lorsque le protocole de sécurité du point d'accès est WEP).
- Manual Setting - Les réglages de connexion s'effectuent en saississant manuellement le SSID, le protocole de sécurité, la clé de sécurité et la clé WEP par défaut du point d'accès auquel vous pouzeyzes vous connecter.

Remarque
- La connexion LAN sans fil ne sera pas possible même après les réglages du convertisseur LAN sans fil s'il y a un " ; " (point virgule) dans le SSID ou la clé de sécurité du point d'accès. Changez le réglage du SSID ou de la clé de sécurité du point d'accès en excluant le "; " (point virgule).
- S'il n'est pas possible de se connecter au point d'accès avec les réglages de connexion WPS (PBC) ou WPS (PIN), il est conseilé d'effectuer les réglages de connexion avec Search for Access Point ou Manual Setting
Adresse WLAN IP
Si I'aresse IP d'un dispositif raccordé à un autre réseau LAN que le convertisseur LAN sans fil est reglee sur "192.168.XXX.249", I'aresse IP du convertisseur LAN sans fil sera redondante et la connexion au point d'accès impossible. Dans ce cas, utilisez ce réglage pour spécifique une adresse IP propre au convertisseur LAN sans fil.
2 Effectuez les réglages nécessaires pour le convertisseur LAN sans fil.
Lorsque vous effectuez les réglages de connexion du convertisseur LAN sans fil et du point d'accès, Sélectionnez
"Access Point Setting" et suivez les instructions qui apparaissent à l'écran.
Si vous voulez spécifique l'adresse IP du convertisseur LAN sans fil, Sélectionnez
"WLAN IP Address" et saisissez l'adresse IP.
L'etat des réglages des éléments suivants, liés au réseau, peuvent être vérifiés.
- IP Address - Verification de l'adresse IP de ce récepteur.
- MAC Address - Verification de l'adresse MAC de ce récepteur.
- Friendly Name - Surnom à la page 75.
- SSID - Vérification du SSID du point d'accès raccordé au convertisseur LAN sans fil (seulément lorsqu'un convertisseur LAN sans fil est raccordé).
1 Appuyez sur RECEIVER de la télécommande, puis sur HOME MENU.
Un écran à interface graphique (GUI) apparait sur votre téléviseur. Utilisez ↑/↓/←/→ et ENTER pour naviguer sur les pages et sélectionner les éléments de menu. Appuyez sur RETURN pour sortir du menu actuel.
Affichez l'etat des réglages des éléments liés au réseau.
Le menu Other Setup yous permit de réaliser des réglages personnalisés qui reflètent votre utilisation du récepteur.
1 Appuyez sur RECEIVER de la télécommande, puis sur HOME MENU.
Un écran à interface graphique (GUI) apparait sur votre téléviseur. Utilisez ↑/↓/←/→ et ENTER pour naviguer sur les pages et sélectionner les éléments de menu. Appuyez sur RETURN pour sorting du menu actuel.
3 Sélectionnez 'Other Setup', puis appuyez sur ENTER.
4 Sélectionnez le réglage que vous souhaitez ajuster.
Si vous effectuez cette opération pour la première fois, il se peut que vous préfériez ajuster ces réglages dans l'ordre :
- Auto Power Down - Permet l'extinction automatique du récepteur lorsqu'il n'est pas utilisé.
Volume Setup - Permet de régler les fonctions dépendant du volume de ce récepteur (page 77).
Remote Control Mode Setup - Permet de spécifier le mode de la télécommande du récepteur (page 78).
- Flicker Reduction Setup - Ajuste l'aspect de l'écran GUI (page 78).
- EXTENSION Setup - Permet d'utiliser la CU-RF100 même lorsque le recepteur est en voille (page 78).
- Software Update - Permet de partager à jour le logiciel du récepteur et d'en vérifier la version.
- Pairing Bluetooth Setup - Permet de jumeler un ADAPTATEUR Bluetooth et un dispositif sans fil Bluetooth (page 36).
5 Effectuez les ajustements nécessaires pour chaque réglage, en appuyant sur RETURN pour confirmer après chaque écran.
Extinction automatique
Le récepteur peut-être régle de manière à s'éteindre automatiquement si aucune opération n'est effectuée pendant un certain laps de temps et en l'absence de tout signal audio ou video. Lorsque la ZONE 2 ou ZONE 3 est utilisée, l'appareil de la ZONE 2 ou ZONE 3 peut aussi être régle de manière à s'éteindre, mais dans ce cas il s'éteindra automatiquement après écoulement du temps spécifique ici, même si des signaux sont reçus ou des opérations ont été effectuees.
Des temps différents peuvent être spécifiés pour la zone principale, la ZONE 2 et la ZONE 3.
2 Sélectionnéz la zone que vous foulez spécifique ainsi que le lié d'extinction.
- MAIN - Vous avez le choix entre "15 min", "30 min", "60 min" et "OFF". L'appareil s'éteint si aucun signal n'est reçu et aucune opération effectuee pendant le temps sélectionné.
- ZONE 2 - Vous avez lechioix entre "30 min", "1 hour", "3 hours", "6 hours", "9 hours" et "OFF". L'appareil s'esteint après écoulement du temps sélectionné.
- ZONE 3 - Vous avez lechioix entre "30 min", "1 hour", "3 hours", "6 hours", "9 hours" et "OFF". L'appareil s'esteint après ecoulement du temps selectionné.

Remarque
- Selon les apparèils raccordés, l'extinction automatique peut ne pas agir correctement à cause de parasites excessifs ou d'autres raisons.
Réglage du volume
Vou pouvez régler le volume maximale de ce récepteur ou spécifique le niveau sonore à sa mise sous tension.
2 Sélectionnez le réglage Power ON Level souhaïte.
Le volume peut être régle pour être toujours au même niveau lorsqu'elle récepteur est mis sous tension.
LAST (défaut) - Lorsque vous mettez le récepteur sous tension, le volume est le même qu'à la première mise hors tension.
- "----" - Lorsque vous mettez le récepteur sous tension, le volume est au niveau minimal.
- 80.0dB à +12.0dB - Spécifiez le volume du récepteur à sa mise sous tension par incréments de 0,5 dB.
Il n'est pas possible de spécifique un niveau sonore supérieur à la valeur spécifique dans le réglage du volume limite (voir ci-dessous).
3 Sélectionnez le réglage Volume Limit souhaïte.
Utilisez cette fonction pour limiter le volume maximal. Le volume ne peut pas etre augmente au-delà de cette limite, meme avec la touche MASTER VOLUME (ou la molette sur le panneau avant).
- OFF (défaut) - Le volume maximal n'est pas limité.
- 20.0dB/-10.0dB/0.0dB - Le volumemaximal est limite a la valeur specifie ici.
4 Sélectionnez le réglage Mute Level souhaité.
Ce réglage précise de combien le volume doit être réduit lorsque vous appuyez sur MUTE.
FULL (défaut) - Pas de son.
- 40.0dB/-20.0dB - Le volume est réduit au niveau spécifique.
5 Lorsque vous avez terminé, appuyez sur RETURN.
Vous revenez alors au menu Other Setup.
Réglage du mode de la télécommande
Réglage par défaut : 1
Ce réglage permet d'éviter les opérations erratiques possibles lorsque plusieurs récepteurs sont utilisés.
1 Sélectionnez 'Remote Control Mode Setup' sur le menu Other Setup.
2 Sélectionnéz le réglage
Remote Control Mode souhaite.
3 Sélectionnez 'OK' pour changer le mode de commande à distance.
4 Suivez les instructions apparaissant à l'écran pour changer les réglages de la télécommande.
Consultez la section Exploitation de plusieurs récepteurs à la page 57.
5 Lorsque vous avez terminé, appuyez sur RETURN.
Vous revenez alors au menu Other Setup.
Réglage de la réduction du scintillagement
Réglage par défaut: OFF
La résolution de l'écran GUI peut être améliorée. Si l'écran GUI vous semble pas très visible, essayez de changer ce réglage. Notez que le changement de résolution par ce réglage n'agit que sur l'écran GUI, il n'a aucune incidence sur la sortie video.
1 Sélectionnez 'Flicker Reduction Setup' sur le menu Other Setup.
2 Sélectionnez le réglage Flicker Reduction souhaité.
3 Lorsque vous avez terminé, appuyez sur RETURN.
Vous revenez alors au menu Other Setup.
Configuration de EXTENSION
- Réglage par défaut: OFF
La CU-RF100 vendue séparément peut être utilisée pour faire fonctionner le récepteur par les radiofréquences. Pour se faire, reglez le paramètre EXTENSION sur ON. Lorsque ON est régle ici, le récepteur est opérationnel même lorsqu'il est en veille.
1 Sélectionnez 'EXTENSION Setup' sur le menu Other Setup.
2 Sélectionnez le réglage EXTENSION souhaité.
3 Lorsque vous avez terminé, appuyez sur RETURN.
Vous revenez alors au menu Other Setup.
Mise à jour du logiciel
Procedez de la façon suivante pourmettre a jour le logiciel du recepteur et vérifier sa version.La mise a jour peut s'effectuer de deux manieres:par Internet et par le dispositif USB. La mise a jour par Internet s'effectue en accedant au serveur du recepteur et en tléchargeant le fichier correspondant.Ceci n'est possible que si le recepteur est connecte a Internet. La mise a jour par le dispositif USB s'effectue en tléchargeant le fichier de mise a jour d'un ordinateur, sauvegardant ce fichier sur un dispositif USB puis insérant le dispositif USB dans le port USB du panneau avant du recepteur.Dans ce cas,le dispositif USB contenant le fichier de mise a jour doit d'abord etre inséré dans le port USB du panneau avant du recepteur.
- Si un fichier de mise à jour est disponible sur le site Pioneer, téléchargez-le sur votre ordinateur. Le fichier de mise à jour télécharge
du site Pioneer sur votre ordinaire est compressé dans le format ZIP. Il doit être décompressé avant d'être sauvégarde sur le dispositif USB. Si le dispositif USB contient des fichiers téléchargés anciens ou des fichiers téléchargés pour d'autres modèles, supprimez-les.

Important
- NE débranche PAS le cordon d'alimentation pendant la mise à jour.
- Lorsque vous effectuez la mise à jour par Internet, ne débranchez pas le cable LAN. Lorsque vous effectuez la mise à jour par le dispositif USB, ne débranchez pas le dispositif USB.
1 Sélectionnez 'Software Update' sur le menu Other Setup.
2 Sélectionnez la mise à jour.
- Update via Internet - Le récepteur vérifie si une mise à jour est disponible par Internet.
- Update via USB Memory - Le récepteur vérifie si le dispositif USB inséré dans le port USB du panneau avant du récepteur contient une mise à jour.
"Accessing" s'affiche et le fichier de mise à jour est vérifié. Attendez un instant.
3 Vérifiez sur l'écran si un fichier de mise à jour a été trouve.
Si "New version found." s'affiche, le fichier de mise à jour a été trouve. Le numéro de version et la durée de la mise à jour sont indiqués.
Si "This is the latest version. There is no need to update." s'affiche,�除c hichier demise a jour n'a ete trovve.
4 Pour faire la mise à jour, Sélectionnez OK.
L'écran de mise à jour apparait et la mise à jour est executée.
L'alimentation est automatiquement coupée lorsquela mise a jour est terminée.
Messages de mise à jour du logiciel
| Mentions d'état | Descriptions |
| NO UPDATE FILE | Aucun fichier de mise à jour trouvésur le dispositif USB. Sauvegardezle fichier dans le répertoire principaldu dispositif USB. |
| FILE ERROR | Essayez de débrancher puis derebrancher le dispositif USB ou desauvegarder une nouvelle fois lefichier de mise à jour. Si l'erreur esttoujours présente, essayez d'utiliserun autre dispositif USB. |
| UPDATEERROR 1à UPDATEERROR 7 | Éteignez le récepteur puis rallu-mez-le et essayez de remettre à jourle logiciel. |
| Update viaUSB | La mise à jour a échoué si ce mes-sage clignote. Faïtes la mise à jourpar un dispositif USB. Mettez lefichier de mise à jour sur un dispos-itif USB et branchez le dispositifsur le port USB. Lorsque le fichierest trouvé, la mise à jour du logicielcommence automatiquement. |
| UE11 | La mise à jour a échoué. Refaîtes lamise à jour de la même façon. |
| UE22 |
| UE33 |
Guide de dépannage 1
Souvent, les opérations incorrectes sont interprétiées comme des problèmes et des dysfonctionnements. Si vous estimez que cet apparéil ne fonctionne pas correctement, vérifie les points ci-dessous. Parfois, le problème peut provenir d'un autre composant. Examinez les autres composants et les apparéils électriques utilisés. Si le problème ne peut être résolu malgré les indications ci-dessous, consultez votre service après-venture Pioneer le plus proche pour faire réparer le composant.
- Si l'appareil ne fonctionne pas normalement en raison d'effets extérieurs comme l'électricité statique, débranchez la fiche d'alimentation de la prise de courant et rebranchez-la pour revenir aux conditions normales de fonctionnement.
Si les solutions mentionnées ci-dessus ne permettent pas de résoudre le problème, si l'écran se fige subitement ou si les touches de la télécommande ou du panneau avant cesser complètement de fonctionner, effectuez les opérations suivantes:
- Appuyez sur ① STANDBY/ON sur le panneau avant pourmettre le récepteur hors tension, puis le remetre sous tension.
- Si le récepteur ne peut pas être mis hors tension, appuyez 10 secondes sur STANDBY/ON sur le panneau avant. L'alimentation sera coupée. (Dans ce cas, les différents régles effectués sur le récepteur seront supprimés.)
Alimentation
| Symptôme | Solution |
| Impossibhe demettre l'appareil sous tension. | Assurez-vous que le cordon d'alimentation est branché sur une prise élec-trique. |
| Essayez de débrancher l'appareil, puis de le rebrancher. |
| Impossibè du mettre l'appareil hors tension.(ZONE 2 ON ou ZONE 3 ON est affché.) | Appuyez sur ZONE 2 ou ZONE 3 de la télécommande, puis appuyez sur °RECEIVER pour désactiver la zone secondaire. |
| Le récepteur s'éteint subi-temment ou l'indicateur iPod iPhone iPad clignote. | Vérifie qu'aucun brin des fils des enceintes ne touche le panneau arrêté ou un autre groupe de câbles. Si c'est le cas, rattachez les fils des enceintes et assurez-vous qu'aucun brin ne trait. |
| Le récepteur peut connaître un grave problème. Débranchez-le et contactez le service après-vente Pioneer. |
| Symptôme | Solution |
| Pendant une lecture à un niveau sonore élevé, l'alimentation se coupe subitement. | Baissez le volume. |
| Baissez les niveaux d'égalisation 63 Hz et 125 Hz, comme indiqué à la section Configuration MCACC manuelle à la page 66. |
| Mettlez la sécurité numérique en service. Tout en tenant ENTER enforcée sur le panneau avant, appuyez sur Ⓞ STANDBY/ON pourmettre le récepteur en veille. Utilisez TUNE ↑/↓ pour sélectionner D.SAFETY ⇌OFF▶, puis utilisez PRESET ←/→ pour sélectionner 1 ou 2 (déjectionnez D.SAFETY ⇌OFF▶ pourmettre la fonction hors service). Si l'alimentation se coupe alors que 2 est activé, baisseze le volume. Lorsque 1 ou 2 est en service, certaines fonctions peuvent ne pas être disponibles. |
| L'appareil ne répond pas lorsque j'appuie sur les touches. | Éteignez le récepteur,uis rallumez-le. |
| Essayez de débrancher le cordon d'alimentation,uis de le rebrancher. |
| AMP ERR clignote à l'écran, puis l'appareil s'estient automatique. L'indicateur ADVANCED MCACC clignote et l'appareil ne s'allume pas. | Le récepteur peut connaître un grave problème. N'essayez pas de le mettre sous tension. Débranchez le récepteur et contactez le service après-vente Pioneer. |
| AMP OVERHEAT clignote sur l'afficheur et le témoin d'FL OFF clignotent et le récep-teur s'éteint. | Laissez refroidir l'appareil dans un endroit bien ventilé,uis rallumez-le (consultez la section Installation du récepteur à la page 6). |
| Attendez au moins 1 minute,uis rallumez l'appareil. |
| La température à l'intérieur du l'appareil est supérieure à la valeur autorisée. |
| Baissez le volume. |
| Le récepteur s'éteint subite-ment ou ADVANCED MCACC clignote. | Le bloc d'alimentation est endommagé. Débranchez le récepteur et contactez le service après-vente Pioneer. |
| 12V TRG ERR clignote sur l'afficheur. | Une erreur s'est produit aux prises de déclencheur 12 V. Rebranchez correc-tempent les cables et remettez le récepteur sous tension. |
Pas de son
| Symptôme | Solution |
| Aucun son n'est émis lorsqu'une fonction d'entrée est sélectionnée. Aucun son ne sort des enceintes avant. | Vérifiez le volume, le réglage de sourdine (appuyez sur MUTE) et le réglage des enceintes (appuyez sur SPEAKERS). |
| Vérifiez si la fonction d'entrée adéquate est sélectionnée. |
| Vérifiez que le microphone de configuration MCACC est débranché. |
| Assurez-vous d'avoir sélectionné le signal d'entrée adéquat (appuyez sur SIGNAL SEL). |
| Notez que lorsque Fixed PCM ON est sélectionné, vous ne pouvez pas entendre les signaux enregistrées dans d'autres formats (consultez la section Réglage des options audio à la page 50). |
| Vérifiez que le composant source est correctement raccordé (consultez la section Raccordement de votre équipement à la page 12). |
| Vérifiez que les enceintes sont correctement raccordées (consultez la section Raccordement des enceintes à la page 14). |
| Aucun son ne sort des enceintes surround ou centrale. | Assurez-vous que le mode d'écoute en stéreo ou le mode surround avant évoluè n'a pas été sélectionné ; sélectionnez un des modes d'écoute sur-round (consultez la section Écoute de sources variees grâce aux divers modes d'écoute à la page 38). |
| Vérifiez que les enceintes surround/centrale ne sont pas régliées sur NO (consultez la section Réglage des enceintes à la page 73). |
| Vérifiez les régliages du niveau de canal (consultez la section Niveau de canal à la page 74). |
| Vérifiez les raccordements des enceintes (consultez la section Raccordement des enceintes à la page 14). |
| Aucun son ne sort des enceintes surround arrêté. | Assurez-vous que les enceintes surround arrêté sont bien régliées sur LARGE ou SMALL et les enceintes surround ne sont pas régliées sur NO (consultez la section Réglage des enceintes à la page 73). |
| Vérifiez les raccordements des enceintes (consultez la section Raccordement des enceintes à la page 14). Si une seule enceinte surround arrêté est raccordée, vérifiez si elle est reliée à la borne d'enceinte du canal gauche. |
| Le son n'est pas restitué par les enceintes surround arrêté lorsque le Speaker System est réglé sur Speaker B mais par les enceintes B. |
| Lorsque Speaker System est réglé sur Normal(SB/FH) ou Normal(SB/FW) et SP: FH ON ou SP: FW ON est sélectionné avec la touche SPEAKERS, les enceintes surround arrêté n'émettent aucun son. SéLECTIONNZP: SB/FH ON, SP: SB/FW ON ou SP: SB ON (consultez la section Commutation du bornes d'enceintes à la page 53). |
| Symptôme | Solution |
| Aucun son émis par les enceintes avant en position haute ou large. | Assurez-vous que les enceintes avant en position haute ou large sont bien régliées sur LARGE ou SMALL et les enceintes surround ne sont pas régliées sur NO (consultez la section Réglage des enceintes à la page 73). |
| Lorsque Speaker System est régle sur Normal(SB/FH) ou Normal(SB/FW) et SP: SB ON est sélectionné avec la touche SPEAKERS, les enceintes avant en position haute et avant en position large n'émettent aucun son. Sélectionnez SP: SB/FH ON, SP: SB/FW ON, SP: FH ON ou SP: FW ON (consultez la section Commutation du bornes d'enceintes à la page 53). |
| Vérifiez les raccordements des enceintes (consultez la section Raccordement des enceintes à la page 14). |
| Aucun son ne sort du caisson de grave. | Vérifiez que le caisson de grave est correctement raccordé, qu'il est allumé et que le volume est suffisant. |
| Si le caisson de grave est doté d'une fonction sommeil, assurez-vous qu'elle est désactivée. |
| Vérifiez que le caisson de grave est régle sur YES ou PLUS (consultez la section Réglage des enceintes à la page 73). |
| La fréquence de transition peut être réglée sur un niveau trop bas ; réglez-la sur un niveau plus élevé pour qu'elle corresponde aux caractéristiques des autres enceintes (consultez la section Réglage des enceintes à la page 73). |
| S'il y a très peu d'informations sur les basses fréquences dans le matériel source, modifier les régliages de vos enceintes et sélectionnez Avant : SMALL / Caisson de grave : YES ou Avant : LARGE / Caisson de grave : PLUS (consultez la section Réglage des enceintes à la page 73). |
| Vérifiez que le canal LFE n'est pas régle sur OFF ou sur une valeur très faible (consultez la section Réglage des options audio à la page 50). |
| Vérifiez les régliages du niveau des enceintes (consultez la section Niveau de canal à la page 74). |
| Aucun son ne sort d'une enceinte. | Vérifiez les raccordements des enceintes (consultez la section Raccordement des enceintes à la page 14). |
| Vérifiez les régliages du niveau des enceintes (consultez la section Niveau de canal à la page 74). |
| Assurez-vous que l'enceinte n'est pas réglée sur NO (consultez la section Réglage des enceintes à la page 73). |
| Il se peut que le canal ne soit pas enregistré dans la source. En utilisant l'un des modes d'écoute avec effet avancé, vous pouvez créé le canal man-quant (consultez la section Écoute de sources variées grâce aux divers modes d'écoute à la page 38). |
| Les composants analogiques produits du son, mais pas les composants numériques (DVD, LD, CD, etc.). | Vérifiez que le type de signal d'entrée est réglé sur DIGITAL (consultez la section Choix du signal d'entrée à la page 40). |
| Assurez-vous que l'entrée numérique est correctement affectée à la prise d'entrée auquel le composant est raccordé (consultez la section Le menu Input Setup à la page 29). |
| Vérifiez les régliages de sortie numérique sur le composant source. |
| Si le composant source possède une commande de volume numérique, assurez-vous qu'elle n'est pas réglée à un niveau trop bas. |
| Aucun son n'est émis ou un bruit est général lors de la lecture d'une gravure Dolby Digital/DTS. | Assurez-vous que votre lecteur BD ou DVD est compatible avec les disques Dolby Digital/DTS. |
| Vérifiez les régliages de la sortie numérique ou les régliages de la sortie audio HDMI de votre lecteur BD ou DVD. Assurez-vous que la sortie du signal DTS est réglée sur On. |
| Si le composant source possède une commande de volume numérique, assurez-vous qu'elle n'est pas réglée à un niveau trop bas. |
| Aucun son n'est émis lorsque la page Home Menu est utilisé. | Si la fonction d'entrée HDMI est sélectionnée, le son reste coupé jusqu'à ce que vous quittiez la page Home Menu. |
Autres problèmes audio
| Symptôme | Solution |
| Un son de commutation d'enceintes (un clic) est émis par le récepteur pendant la lecture. | Selon le mode d'écoute, les enceintes avant en position haute (ou avant en position large) et arrêté surround peuvent être commutées automatiquement quand les signaux audio présents en entrée changent. Un son de commuta-tion d'enceintes (un clic) est émis par le récepteur à ce moment. Si ce son vous dérange, vous pouvez spécifique d'autres prise d'enceintes (consultez la section Commutation du bornes d'enceintes à la page 53). |
| Les stations radio ne peuvent être sélectionnées automati-quement ou il y a beaucoup de bruit dans les émissions radio. | Étendez complètement l'antenna fil FM, positionnez-la pour assurer la meilleure réception possible et fixez-la à un mur, par exemple.Pour une meilleure réception, utilisez une antenna extérieure (voir page 22).Réglez la position et l'orientation de l'antenne AM.Des interférences provenant d'autres équipement, comme une lampe fluores-centre ou un moteur, peuvent provoquer du bruit. Éteignez ou déplacez l'appa-reil en cause, ou déplacez l'antenne AM. |
| Il y a du bruit lors du balayage d'un CD DTS. | Il ne s'agit pas d'un dysfonctionnement du récepteur. La fonction balayage de votre lecteur altrè des informations numériques, les rendant illisibles, ce qui génére du bruit. Baissez le volume pendant le balayage. |
| Lors de la lecture d'un LD au format DTS, on entend du bruit sur la bande sonore. | Assurez-vous que le type de signal d'entrée est régle sur DIGITAL (consultez la section Choix du signal d'entrée à la page 40). |
| Symptôme | Solution |
| Impossibla d'enregistrer du son. | Vous ne pouvez effectuer un enregistrement numérique qu'à partir d'une source numérique et un enregistrement analogique qu'à partir d'une source analogique. |
| Pour les sources numériques, assurez-vous que les données enregistrées ne sont pas protégées contre la copie. |
| La sortie du caisson de grave est très faible. | Pour envoyer plus de signaux au caisson de grave, réglez-le sur PLUS ou réglez les enceintes avant sur SMALL (consultez la section Réglage des enceintes à la page 73). |
| Tout semble être configuré correctement, mais le son est étrange lors de la lecture. | Les enceintes ne sont peut-être pas en phase. Vérifiez que les bornes positives/négatives des enceintes sur le récepteur sont reliées aux bornes correspondantes sur les enceintes (consultez la section Raccordement des enceintes à la page 14). |
| La fonction Phase Control semble n'avoir aucun effet audible. | Le cas échéant, vérifie que le filtre passée-bas de votre caisson de grave est désactivé, ou que le blocage du passé-bas est réglé sur la fréquence la plus élevé. S'il existe un réglage de PHASE sur votre caisson de grave, réglez-le sur 0° (ou, en fonction du caisson de grave, sur le réglage qui vous semble avoir le meilleur effet global sur le son). |
| Assurez-vous que le réglage de la distance est correct pour toutes les enceintes (consultez la section Distance des enceintes à la page 74). |
| Le contrôle de phase pleine bande ne peut pas être sélectionné. | Effectuez les mesures avec la configuration MCACC automatique intégrale (consultez la section Obtention automatique d'un réglage sonore optimal (Full Auto MCACC) à la page 27). Le contrôle de phase pleine bande se met en service dés que les mesures sont terminées. |
| Du bruit ou des ronflements sont perceptibles, même lorsqu'il n'y a aucune d'entrée de son. | Vérifiez que les ordinateurs ou autres composants numériques raccordés à la même source d'alimentation ne provoquent pas d'interférences. |
| Impossible de sélectionner certaines fonctions d'entree par la touche INPUT SELECTOR sur le panneau avant ou la touche INPUT SELECT sur la télécommande. | Vérifiez les régliages de Input Skip dans le menu Input Setup (consultez la section Le menu Input Setup à la page 29). |
| Vérifiez l'afetuation de HDMI Input dans le menu de Input Setup, puis essayez avec OFF (consultez la section Le menu Input Setup à la page 29). |
| Il semble qu'il y ait un déca-lage entre les enceintes et la sortie du caisson de grave. | Consultez la section Obtention automatique d'un réglage sonore optimal (Full Auto MCACC) à la page 27 pour reconfigérer votre système en utilisant MCACC (pour compenser automatiquement le retard de la sortie du caisson de grave). |
| Le volume maximum dispos-nible (indiqué sur l'affchage du panneau avant) est inférieur au maximum de +12dB. | Vérifiez si OFF est spécifique pour le Volume Limit (consultez la section Réglage du volume à la page 77). |
| Certains modes d'écoute ou paramètres de HOME MENU ne peuvent pas été sélecçioniennes. | Lorsque Operation Mode est réglié sur Basic, les réglages recommendés par Pioneer sont effectuels et certaines fonctions ne peuvent pas être utilisées.Pour utiliser toutes les fonctions sans restriction, règlez Operation Mode sur Expert (consultez la section Configuration du mode de fonctionnement à la page 30). |
Prise ADAPTER PORT
| Symptôme | Solution |
| Le dispositif sans fil Bluetooth ne peut pas se connecter ou fonctionner. Le son du dispositif sans fil Bluetooth n'est pas émis ou le son est interrompu. | Assurez-vous qu'aucun objet émettant des ondes electromagnétiques sur la bande de 2,4 GHz (four à micro-ondes, dispositif sans fil LAN ou Bluetooth) ne se trouve à proximé de l'appareil. Le cas échéant, éloignez-le de cet apparéil. Ou bien, n'utilise pas l'objet émettant les ondes electromagnétiques. |
| Assurez-vous que le dispositif sans fil Bluetooth ne se trouve pas trop éloigné de cet apparéil et que rien ne fait obstruction entre le dispositif sans fil Bluetooth et cet apparéil. Installez le dispositif sans fil Bluetooth et cet apparéil à moins de 10 m l'un de l'autre et enlevez tout objet pouvant faire obstruction. |
| Assurez-vous que l'ADAPTATEUR Bluetooth est raccordé correctement à ADAPTER PORT sur cet apparéil. |
| Le dispositif sans fil Bluetooth n'est peut-être pas réglé sur le mode de communication correspondant au système sans fil Bluetooth. Vérifielez le réglage du dispositif sans fil Bluetooth. |
| Assurez-vous que le jumelage a été effectué correctement. Le réglage du jumelage a été effacé de cet apparéil ou du dispositif sans fil Bluetooth. Reju-melez les deux apparéils. |
| Assurez-vous que le profil est correct. Utilisez un dispositif sans fil Bluetooth prénant en charge les profils A2DP et AVRCP. |
Vidéo
| Symptôme | Solution |
| Aucune image ne s'affiche lorsqu'une entrée est selec-tionnée. | Vérifiez les liaisons video du composant source. |
| Pour le HDMI, ou lorsque la conversion video numérique est réglée sur OFF et qu'un téléviseur et un autre composant sont raccordés avec des cables diffé-rents (dans Régles des options video à la page 52), vous devez relier votre téléviseur à ce récepteur avec le même type de cables video que le composant video. |
| Assurez-vous que les entrées attribuées correspondant aux composants raccordés par les cables video à composantes ou HDMI (consultez la section Le menu Input Setup à la page 29). |
| Vérifiez les réglages de sortie video du composant source. |
| Vérifiez que l'entrée video sélectionnée sur votre téléviseur est adaptée. |
| Sur certains composants ( comme les consoles deieux video), la conversion des résolutions est impossible. S'il n'est pas possible d'ajuster le réglage résolution de ce récepteur ( dans Régles des options video à la page 52 ) et / ou si les réglages de résolution de votre composant ou écran n'agissant pas, essayez de régler la conversion du signal video numérique sur OFF ( dans Régles des options video à la page 52 ). |
| Impossible d'enregistrer de la video. | Vérifiez que la source n'est pas protégée contre la copie. |
| Le convertisseur video n'est pas disponible lors de la réalisation d'enregistrements. Vérifiez que le même type de cable video est utilisé pour raccorder l'enregistrer et la source video (celle que vous souhaitez enregistrer) à ce récepteur. |
| Image parasitée, intermittente ou déformée. | Parfois, une platine video peut produit un signal video bruyant (lors du balayage, par exemple) ou la video peut être de qualité moyenne (avec cer-taines consoles deieux video, par exemple). La qualité de l'image peut égal-ment dépendre, entre autres, des réglages de votre écran. Éteignez le converter-tisseur video et rebranchez la source et l'écran en utilisant le même type de liaison (composantes ou composite), puis reprenze la lecture. |
| Les signaux video ne sont pas restitués par la prise à composantes. | Lorsqu'un moniteur compatible seulement avec les résolutions de 480i est raccordé à la prise à composantes et qu'un autre moniteur est raccordé à la prise HDMI, les signaux video peuvent ne pas être restitués par le moniteur raccordé à la prise à composantes. Dans ce cas, prenez les mesures sui-vantes :Éteignez le moniteur raccordé à la prise HDMI.Changez le réglage VIDEO PARAMETER du menu RES (consultez la section Régles des options video à la page 52).Les signaux video provenant de la prise HDMI ne peuvent pas être transmis aux prises à composantes. Transmettez les signaux video du lecteur ou d'une autre source aux prises à composantes ou composites. Lorsque la prise à composantes est utilisée, affectez celle-ci dans Input Setup (consultez la section Le menu Input Setup à la page 29). |
| Le mouvement de l'image n'est pas naturel. | Lorsque Résolution dans VIDEO PARAMETER est régé sur 1080/24p, l'image peut ne pas s'afficher correctement pour certaines sources. Dans ce cas, réglez la résolution sur une autre valeur que 1080/24p (page 52). |
Réglages
| Symptôme | Solution |
| La configuration MCACC automatique présente toujours une erreur. | Le niveau de bruit ambient de la pièce peut être trop élevé. Maintenze le bruit à un niveau aussi bas que possible (consultez également la section Problèmes lors de l'utilisation de la configuration MCACC automatique à la page 29). Si le bruit ne peut être maintainu à un niveau suffisamment bas, vous devrez config-gurer manuellement le son surround (page 72). |
| Si vous utilisez une seule enceinte surround arrêté, raccordez-la aux bornes SURROUND BACK L (Single). |
| Pour utiliser un ensemble d'enceintes à 5.1 canaux, utilisez les enceintes surround pour le canal surround, mais pas pour le canal surround arrêté. |
| Veillez à ce qu'il n'y ait aucun obstacle entre les enceintes et le microphone. |
| Si Reverse Phase s'affiche, essayez ceci :
— Les fils du cordon d'enceinte (+ et -) ont peut-être été inversés. Vérifiez les liaisons des enceintes.
— Selon le type d'enceintes et les conditions dans lesquelles elles ont été installées, Reverse Phase peut s'afficher même si les enceintes sont bien raccordées. Dans ce cas, sélectionnez GO NEXT et continuez.
— Si l'enceinte n'est pas orientée vers le microphone (position d'écoute) ou lorsque les enceintes sont affectées par la phase (enceintes dipôles, enceintes réfléchissantes, etc.), il peut être impossible d'identifier correctement la polarité. |
| Après l'utilisation de la confi-guration MCACC automatique, la taille d'enceinte est incor-recte. | Des bruits basses fréquences provenant, par exemple, d'un climatiseur ou d'un moteur dans la pièce peuvent avoir été émis. Éteignez tous les apparciels situés dans la pièce et reliacez la configuration MCACC automatique. |
| Cela peut se produit dans certains cas, en fonction d'un certain nombre de facteurs (capacité des enceintes à restituer les basses, taillie de la pièce, position de l'enceinte, etc.). Si ce problème persististe, modifier manually la configuration des enceintes dans Réglage des enceintes à la page 73 et utilissez l'options ALL (Keep SP System) pour le menu Auto MCACC dans MCACC automatique (Expert) à la page 64. |
| Impossible d'ajuster correc-tement le réglage précis de la distance des enceintes. | Vérifiez que les enceintes sont toutes en phase (assurez-vous que la corre-spondance des bornes positive (+) et négative (-) est correcte). |
| L'écran affiche KEY LOCK ON lorsque vous essayez d'effec-tuer des régliages. | Lorsque le récepteur est en veille, appuyez environ 10 secondes sur ♂ STANDBY/ON tout en tenant SPEAKERS enfonnée pour désactiver le ver-rouillage des touches. |
| Symptôme | Solution |
| Les derniers régles ont été effacés. | Le cordon d'alimentation était débranché lorsque vous avez effectué ce réglage. |
| Les régles ne sont enregistrées que si toutes les zones sont hors service. Mettez toutes les zones secondaires hors service avant de débrancher le cordon d'alimentation. |
| Les divers régles du système ne sont pas enregistrrés. | Ne débranchez pas le cordon d'alimentation pendant ces régles. (Les régles sont sauvégardés lorsque les apparciels de la zone principale et de la zone secondaire sont éteints. Éteignez les apparciels de toutes les zones avant de débrancher le cordon d'alimentation.) |
| Certains modes d'écoute ou paramètres de HOME MENU ne peuvent pas être sélectionnés. | Lorsque Operation Mode est réalisé sur Basic, les régles recommendés par Pioneer sont effectués et certaines fonctions ne peuvent pas être utilisées. Pour utiliser toutes les fonctions sans restriction, règlez Operation Mode sur Expert (consultez la section Configuration du mode de fonctionnement à la page 30). |
Graphique de l'égaliseur du calibrage professionnel
| Symptôme | Solution |
| La courbe des caractéristiques de la réverbération après le calibrage EQ n'apparait pas totalement plane. | Dans certains cas, par exemple si des régliages ont été réalisés pour compenser les caractéristiques de la pièce pour obtenir un meilleur son, la courbe n'apparaître pas plate (meme si vous Sélectionnez ALL CH ADJ dans la confi-guration MCACC automatique). |
| Certaines parties du graphique peuventPTRaire identiques (avant et après le calibrage) si le réglage à effectuer est faible voir nul. |
| Le graphique peut sembler s'être décalé verticalément si l'on compare les mesures avant et après le calibrage. |
| Les régliages de l'égaliseur réalisés avec la Configuration MCACC manuelle ne semble pas modifier la courbe des caractéristiques de la réverbération après le calibrage EQ. | Il se peut que les régliages effectués n'apparaissent pas sur la courbe des caractéristiques de la réverbération après le calibrage EQ parque que les filtres utilisés pour l'analyse ne le permettent pas. Ces régliages sont toute fois pris en compte par les filtres utilisés pour le calibrage global du système. |
| Les courbes de réponses des fréquences les plus bassessemblant ne pas avoir été calibrées pour les enceintes SMALL. | Les basses fréquences utilisées dans le traitement des graves (canal du cais-son de grave) ne changeront pas pour des enceintes configurées sur SMALL, ou bien les enceintes ne rendent pas ces basses fréquences. |
| Le calibrage est réalisé, mais les limites des basses fréquences de vos enceintes ne permettent pas l'affichage d'un son mesurable. |
Afficheur
| Symptôme | Solution |
| L'afficheur estASFOS ouéteint. | Appuyez plusieurs fois de suite sur la touche DIMMER pour sélectionner uneluminosité différente. |
| DIGITAL ne s'affiche pas lorsque vous appuyez sur SIGNAL SEL. | Vérifiez les liaisons numériques et assurez-vous que les entrées numériques sont correctement affectées (consultez la sectionLe menu Input Setup à la page 29). |
| DIGITAL ou DTS ne s'éclairepas pendant la lecture d'unlogiciel Dolby/DTS. | Ces indicateurs ne s'allument pas si la lecture est en pause.Vérifiez les réglages de lecture du composant source, notamment la sortienumérique. |
| Lors de la lecture de sourcesDolby Digital ou DTS, les indi-cateurs de format du récepteurne s'allument pas. | Vérifiez que le lecteur est connecté à l'aide d'une connexion numérique.Assurez-vous que le récepteur est régélé sur AUTO ou DIGITAL (consultez la section Choix du signal d'entrée à la page 40).Vérifiez que le lecteur n'est pas configuré pour convertir les sources Dolby Digital et DTS en PCM.Vérifiez que Dolby Digital ou DTS est sélectionné si le disque comporte plu-sieurs pistes audio. |
| Lors de la lecture de certainsdisques, aucun indicateurde format ne s'allume sur lerécepteur. | Le disque ne contient peut-être pas de gravure 5.1/6.1 canaux. Consultezl'emballage du disque pour plus d'informations sur les pistes audio enregis-trées sur le disque. |
| Lors de la lecture d'une disqueen mode Auto Surroundou ALC, DIGITAL Pro Logic II ouDTS Neo:6 apparait sur lerécepteur. | Assurez-vous que le récepteur est régélé sur AUTO ou DIGITAL (consultez lasection Choix du signal d'entrée à la page 40).Si une bande sonore deux canaux est en cours de lecture (y compris unsource codée Dolby Surround), il ne s'agit pas d'un dysfonctionnement.Consultez l'emballage du disque pour connaître les formats audio dispos-nibles. |
| Lors de la lecture d'un DVD-Audio, l'écran affiche PCM. | Ceci se produit si vous lisez un DVD-Audio avec la connexion HDMI. Il nésagit pas d'un dysfonctionnement. |
| Le récepteur s'éteint automatiquement et un témoin clignoteou un témoin clignote est lerécepteur ne s'allume pas. | Consultez la sectionAlimentation (page 79). |
Télécommande
| Symptôme | Solution |
| Pas de contrôle à distance. | Réglez le mode de commande de la télécommande sur le mode correspondant au réglage effectué sur l'appareil principal (consultez la section Exploitation de plusieurs récepteurs à la page 57). |
| Vérifiez si le mode de commande de la télécommande du récepteur est réglié correctement (consultez la section Réglage du mode de la télécommande à la page 78). |
| Remplacez les piles de la télécommande (consultez la section Mise en place des piles à la page 6). |
| Veillez à vous trouver à moins de 7 m du capteur de la télécommande sur le panneau avant et à former un angle de 30° avec celui-ci (consultez la section Portée de la télécommande à la page 7). |
| Vérifiez l'absence d'obstacle entre le récepteur et la télécommande. |
| Vérifiez que le capteur de la télécommande n'est pas exposé à une lumière fluorescente ou intense. |
| Vérifiez les raccordements des prises CONTROL IN (consultez la section Fonctionnement d'autres composants Pioneer avec le capteur de cette unité à la page 25). |
| D'autres composants ne fonctionnent pas avec la télécommande du système. | Si les piles sont déchargées, les codes de préréglage ont peut-être été effacés. Entrez une nouvelle fois les codes de préréglage. |
| Les codes de préréglage sont peut-être incorrects. Reprogrammez mes codes de préréglage. |
| Les commandes des télécommandes d'autres apparciels enregistrées par apprentice passage peuvent parfois être mal apprises. Dans ce cas, enregistrez une nouvelle fois les commandes avec la fonction d'apprentissage (consultez la section page 58). Si les commandes n'agissant toujours pas, elles peuvent avoir un format spécifique que cette télécommande est incapable de prendre en compte. Utilisez une autre télécommande pour cet apparieil. |
HDMI
| Symptôme | Solution |
| L'indicateur HDMI clignote en permanence. | Vérifiez les points ci-dessous. |
| Pas d'image ou de son. | Ce récepteur est compatible HDCP. Vérifiez si les composants raccordés sont également compatibles HDCP. Si ce n'est pas le cas, raccordez-les par les prises video à composantes ou video composites. |
| Selon le composant source raccordé, il peut ne pas fonctionner avec ce récepteur (meme s'il est compatible HDCP). Dans ce cas, raccordez le composant et le récepteur à l'aide des prises video à composantes ou composites. |
| Si le problème persististe lorsque vous raccordez votre composant HDMI directement à votre moniteur, veuillez consulter le manuel du composant ou du moniteur, ou contactez le fabricant pour obtenir de l'aide. |
| Si les images video n'apparaissent pas sur toute télévisuer, essayez d'ajuster le réglage de la résolution, de Deep Color ou d'autres paramètres de votre composant. |
| Si les signaux video analogiques sont transmis par la prise HDMI, utilisez une autre liaison pour la sortie audio. |
| Pour obtenir des signaux Deep Color, utilisez un cable HDMI (cable HDMI haute vitesse) pour relier ce récepteur à un composant ou à un télévisuer représentant la fonction Deep Color. |
| Pas d'image. | Essayez de changer le réglage de résolution (dans Réglages des options video à la page 52). |
| Pas de son ou arrêt soudain du son. | Assurez-vous que le paramètre audio HDMI est réglé sur AMP (Réglage des options audio à la page 50). |
| Si le composant est un apparéil DVI, utilisez une liaison distincte pour le son. |
| Si les signaux video analogiques proviennent de la prise HDMI, utilisez une liaison distincte pour le son. |
| Vérifiez les réglages de sortie audio du composant source. |
| Les transmissions de son numérique sous forme HDMI ne sont pas immédia-tement reconnues. C'est pourquoi, une coupure de son peut se produit au moment où l'on change de format audio ou lance la lecture. |
| La mise sous/hors tension du dispositif raccordé à la prise HDMI OUT de cet apparéil pendant la lecture, ou le débranchement/branchement du cable HDMI pendant la lecture, peut occasionner du bruit ou des coupures de son. |
| Image bruyante ou déformée. | Parfois, une platine videooput produit un signal videobruvant (lors du balayage, par exemple) ou la videooput être de qualité moyenne (avec certainsines condes deiaux videoo, par exemple). La qualité de l'image peut égalment dépendre, entre autres, des réglages de votre écran. Étéignez le conver-tisseur videooet rebranchez la source et l'écran en utilisant le même type de liaison (composantes ou composite), puis reprisez la lecture. |
| Si le problème persististe lorsque vous raccordez votre composant HDMI directement à votre moniteur, veuillez consulter le manuel du composant ou du moniteur, ou contactez le fabricant pour obtenir de l'aide. |
| Symptôme | Solution |
| HDCP ERROR apparait sur l'afficheur. | Vérifiez si le composant raccordé est compatible HDCP. Si ce n'est pas le cas, utilisez un另一种 type de liaison (composantes ou composite) pour raccorder l'appareil. Avec certains composants compatibles HDCP, ce message s'affiche aussi, mais dans la mesure où l'image est normale, il n'y a pas lieu de s'inquiétér. |
| Quand la Control par l'HDMI est réglée sur ON, l'affection de HDMI Input pour l'entrée TV/SAT est annulée. | Meme lorsque Control par l'HDMI est réglé sur ON, l'entrée HDMI est affectée pour les entrées BD, DVD, DVR/BDR et VIDEO quel que soit le réglage de Control par l'HDMI, et c'est pourquoi ces prises doivent être utilisées. |
| Fonctionnement synchrone impossible avec la fonction Control par l'HDMI. | Vérifiez les liaisons HDMI. |
| Le cable est peut-être endommagé. |
| Sélectionnez ON pour le paramètre Control par l'HDMI (consultez la section Réglage de l'HDMI à la page 47). |
| Sélectionnez ALL pour le paramètre Control Mode par l'HDMI (consultez la section Réglage de l'HDMI à la page 47). |
| Mettez le téléviseur sous tension avant demettre ce récepteur sous tension. |
| Mettez la commande par l'HDMI en service du côté téléviseur (consultez le mode d'emploi du téléviseur). |
| Raccordez le téléviseur à la prise HDMI OUT 1 et réglez la sortie HDMI sur HDMI OUT 1. Mettez d'abord le téléviseur sous tension puis ce récepteur. |
Guide de dépannage 2
AVNavigator
| Symptôme | Causes | Solution |
| L'AVNavigator n'agit pas correctement sur le récepteur. | Le récepteur n'est pas allumé. | Allumez le récepteur. (Attendez environ 60 secondes après avoir allumé le récepteur pour que les fonctions du réseau s'activent.)
Ensuite, appuyez sur Detection dans l'AVNavigator pour redétector le récepteur. |
| Le récepteur ou l'ordinateur n'est pas connecté au réseau LAN. | Raccordez un cable LAN au récepteur ou à l'ordinateur (page 23).
Ensuite, appuyez sur Detection dans l'AVNavigator pour redétector le récepteur. |
| Le routeur est étant. | Allumez le routeur.
Quand le routeur a真正做到 démarré, appuyez sur Detection dans l'AVNavigator pour redétector le récepteur. |
| Les régliages de réseau de l'AVNavigator ne sont pas corrects. | Si vous routeur ne prend pas en charge le DHCP, l'adresse IP du récepteur devra être spécifiée dans l'AVNavigator. Spécifiez d'abord l'adresse IP sur le récepteur, puis la même adresse dans l'AVNavigator (page 75).
Ensuite, appuyez sur Detection dans l'AVNavigator pour redétector le récepteur. |
| Le réglage du numéro de port du récepteur a été changé. | Cliquez sur Settings sur le menu de fonctions de l'AVNavigator, sélectionnez l'onglet de l'adresse IP et saississez le numéro de port changé (un des numérodes de ports spécifique sur le récepteur) (page 76).
Ensuite, appuyez sur Detection dans l'AVNavigator pour redétector le récepteur. |
| Les connexions réseau n ont pas pu être restreintes à cause des régliages réseau, des régliages de sécurité, etc. de l'ordinateur. | Vérifiez les régliages réseau, les régliages de sécurité, etc. de l'ordinateur.
Ensuite, appuyez sur Detection dans l'AVNavigator pour redétector le récepteur. |
| Lorsque le mode interactif du mode d'emploi est changé, les régliages peuvent ne pas être transférés au navigateur, et dans ce cas l'AVNavigator cesse d'interagir. | Rafraîchissez l'affichage de la page en appuyant sur le bouton de rafraîchissement du navigateur ou bien afficher une autre page du lien pour que le réglage soit transféré. |
| Symptôme | Causes | Solution |
| Lorsque le Wiring Navi, Interactive Manual, Glossary ou Software Update est lancé, un averissée au sujet de la sécurité apparaît sur le navigateur. | Il s'agit d'une fonction sécurité du navigateur. | Il ne s'agit pas d'un dysfonctionnement. Effectuez l'opération nécessaire pour autoriser le contenu bloqué. |
| L'AVNavigator ne peut pas être installé. | Un message d'erreur peut appraître si les ressources système sont insuffisantes. | Redémarrez l'ordinateur, puis démarrez l'installateur (AVNV_XXX_xxx.exe) sans autre application ouverte. |
| L'installation de l'AVNavigator peut échouer en raison de son incompatibilité avec d'autres applications. | Prenez les mesures suivantes, dans l'ordre indiqué.1. Si certaines applications sont ouvertes, fermez-les et essayez de redémarrer l'installateur (AVNV_XXX_xxx.exe).2. Si cela ne fonctionne pas, essayez de redémarrer votre ordinateur et démarrez l'installateur (AVNV_XXX_xxx.exe) sans aucune application ouverte. |
| La mise à jour du logiciel ne s'effectue pas très bien. | Le problème vient peut-être du réseau de votre fournisseur de service Internet. | Contactez votre fournisseur. |
Interface USB
| Symptômes | Causes | Solutions |
| Les dossiers/fichiers enregistrés dans un dispositif USB ne peuvent pas être lus. | Les dossiers/fichiers sont actuellément stockés à un autre endroit que la FAT (File Allocation Table). | Stockez les dossiers/fichiers dans la FAT. |
| Il y a plus de 8 niveaux dans un dossier. | Un dossier peut containir un maximum de 8 niveaux (page 32). |
| Il y a plus de 30 000 dossiers/fichiers dans un appleil USB. | Un appleil USB peut containir au maximum 30 000 dossiers/fichiers (page 32). |
| Les fichiers audio sont pro-tégés. | Les fichiers audio protégés stockés dans un dispositif USB ne peuvent pas être lus (page 32). |
| Un dispositif USB ne peut pas être reconnectu. | Le dispositif USB n'est pas compatible avec les spécifications de la classe de stockage de masse. | Essayez d'utiliser un dispositif USB compatible avec les spécifications de la classe de stockage de masse. Il existe des cas où les fichiers audio stockés dans un dispositif USB compatible avec les spécifications de la classe de stockage de masse ne peuvent pas être lus sur ce récepteur (page 32). |
| Raccordez un dispositif USB et mettez ce récepteur sous tension (page 24). |
| Un concentrateur USB est actuellément utilisé. | Ce récepteur ne peut pas être raccordé par un concentrateur USB (page 32). |
| Ce récepteur reconnaît le dispos-itif USB comme effraction. | Mettez hors puis de nouveau sous tension ce récepteur. |
| Un dispositif USB est raccordé et indiqué, mais les fichiers audio qu'il contient ne peu-vent pas être lus. | Certains formats de dispositifs USB, dont le FAT 12, NTFS et HFS ne peuvent pas être lus par ce récepteur. | Vérifiez si le format de votre dispositif USB est FAT 16 ou FAT 32. Notez bien que les formats FAT 12, NTFS et HFS ne peuvent pas être lus par ce récep-teur (page 32). |
| Le format de fichier ne peut pas être lu correctement par ce récepteur. | Reportez-vous à la liste des formats de fichiers pouvant être lus par ce récepteur (page 33). |
| Le clavier USB ne peut pas être déprétaè. | Le clavier USB est raccordé par un concentrateur USB. | Le récepteur n'est pas compatible avec les concentratesurs USB. Branchez le clavier directement sur le récepteur. |
| Un clavier PS2 est raccordé par un connecteur PS2/USB. | Les claviers PS2 ne peuvent pas être utilisés avec ce récepteur, même s'ils sont raccordés par un connecteur PS2/USB. Utilisez un clavier USB. |
| Le clavier n'est pas un dispositif de classe USB HID. | Certains dispositifs ne pourront pas être dépréts. Utilisez un clavier de classe USB HID. |
| Impossible de saisir le texte correct avec le clavier USB. | Le clavier n'est pas un clavier Qwerty US International. | Utilisez un clavier Qwerty US International. NB : Certains caractères ne peuvent pas être saisisis. |
HOME MEDIA GALLERY
| Symptômes | Causes | Solutions |
| Impossibè d'accédé au réseau. | Le cable LAN n'est pas bien raccordé. | Enforcez bien la fiche du cable LAN dans la prise (page 23). |
| Le routeur n'est pas sous tension. | Mettez le routeur sous tension. |
| Un logiciel antivirus est actuélément installé sur le composant raccordé. | Dans certains cas, il n'est pas possible d'accédé à un composant sur lequel un logiciel antivirus a été installé. |
| Le composant audio en réseau qui a été mis hors tension est mis sous tension. | Mettez le composant audio en réseau sous tension avant le récepteur. |
| Symptômes | Causes | Solutions |
| La lecture ne démarre pas alors que “Connecting...” reste affché. | Le composant est actuellément débranché du récepteur ou de la source d'alimentation. | Vérifiez si le composant est correctement raccordé à ce récepteur ou à la source d'alimentation. |
| L'ordinateur ou la radio Internet ne fonctionne pas correctement. | L'adresse IP n'a pas été désignée correctement. | Mettez en service la fonction de serveur DHCP de votre routeur, ou paramétrrez le réseau manuelle-ment pour votre environnement réseau (page 75). |
| L'adresse IP est désignée automatiquement. | Le paramétrage automatique prend un certain temps. Veuillez attendre. |
| Les fichiers audio enregistrés sur les composants en réseau, par exemple sur un ordinateur, ne peuvent pas être lus. | Windows Media Player 11 ou Windows Media Player 12 n'est pas actuellement installé sur votre ordinateur. | Installez Windows Media Player 11 ou Windows Media Player 12 sur votre ordinateur (page 42). |
| Des fichiers audio ont été enregistrés dans d'autres formats que MP3, WAV (LPCM seulement), MPEG-4 AAC, FLAC et WMA. | Lisez des fichiers audio enregistrés dans les for-mats MP3, WAV (LPCM seulement), MPEG-4 AAC, FLAC et WMA. Il se peut toute fois que certains fichiers audio enregistrés dans ces formats ne puisent pas être lus sur ce récepteur. |
| Les fichiers audio enregistrés en MPEG-4 AAC ou FLAC sont lus avec Windows Media Player 11 ou Windows Media Player 12. | Les fichiers audio enregistrés en MPEG-4 AAC ou FLAC ne peuvent pas être lus avec Windows Media Player 11 ou Windows Media Player 12. Essayez un autre serveur. Reportez-vous au mode d'emploi fourni avec votre serveur. |
| Le composant raccordé au réseau ne fonctionne pas correctement. | Vérifiez si le composant est affecté par quelques chose ou s'il est en veille. Essayez de remettre le composant en marche, si nécessaire. |
| Le composant raccordé au réseau ne permet pas le partage de fichiers. | Essayez de changer les régages du composant raccordé au réseau. |
| Le dossier enregistré sur le composant raccordé au réseau a été supprimé ou endommagé. | Vérifiez le dossier enregistré sur le composant raccordé au réseau. |
| Les connexions réseau n'ont pas pu être restreintes à cause des régages réseau, des régages de sécurité, etc. de l'ordinateur. | Vérifiez les régages réseau, les régages de sécurité, etc. de l'ordinateur. |
| Impossibè d'accéder au composant raccordé au réseau. | Le composant raccordé au réseau n'est pas réglié correc-tement. | Si le l'autorisation est automatique, vous devez saisir de nouveau les informations appropriées.Vérifièz si la connexion n'est pas régliée sur “Do not authorize” (Ne pas autoriser). |
| Il n'y a aucun fichier audio lisible sur le composant raccordé au réseau. | Vérifièz les fichiers audio enregistrés sur le compos- sant raccordé au réseau. |
| La lecture audio s'ar- rête ou est perturbée. | Le fichier audio actuellément en cours de lecture n'a pas été enregistré dans un format lisible par ce récepteur. | Vérifièz si le fichier audio a été enregistré dans un format pris en charge par ce récepteur.Vérifièz si le dossier a été endommagé ou détruit. Il se peut que dans certains cas des fichiers audio ne puisent pas été lus ou affichés bien qu'ils soient compatibles avec ce récepteur (page 46). |
| Le cable LAN est actuellément débranché. | Raccordez le cable LAN correctement (page 23). |
| Le traffic est très important sur le réseau auquel vous avez accès par Internet. | Utilisez une liaison 100BASE-TX pour accéder aux composants en réseau. |
| En mode DMR, selon le contrôleur externe utilisé, la lecture peut être interrompue au moment où le volume est réglié sur le contrôleur. | Dans ce cas, ajustez le volume sur le récepteur ou la télécommande. |
| Il y a une connexion passant par un réseau LAN sans fil sur le même réseau. | La disponibilité sur la bande de 2,4 GHz utilisée par le réseau LAN sans fil est peut-être insuffisante.N'effectuez pas les connexions réseau par le réseau LAN sans fil.Installez l'appareil à l'écart des apparciels émettant des ondes électromagnétiques sur la bande de 2,4 GHz (fours à micro-ondes, consoles de jeu, etc.). Si le problème n'est pas pour autant résolu, arrêtez les apparciels émettant des ondes électromagnétiques. |
| Impossible d'accéder à Windows Media Player 11 ou Windows Media Player 12. | Dans le cas de Windows Media Player 11 : Vous étés actuelle-ment connecté au domaine par un ordinateur sur lequel Windows XP ou Windows Vista est installé.Dans le cas de Windows Media Player 12 : Vous étés actuelle-ment connecté au domaine par un ordinateur sur lequel Windows 7 est installé. | Au lieu de vous connecter au domaine, connectez-vous sur la machine locale (page 43). |
| Symptômes | Causes | Solutions |
| Impossibè d'éçouter des stations radio Internet. | Les réglages de pare-feu des composants en réseau agissant actuellement. | Vérifiéz les réglages de pare-feu des composants en réseau. |
| Vous étés actuellément décon-necté d'Internet. | Vérifiéz les réglages de connexion des composants en réseau et adressez-vous à votre fournisseur de réseau, si nécessaire (page 75). |
| Les émissions d'une station radio Internet ont été arrêtées ou interrompues. | Il existe des cas où il est impossible d'éçouter des stations radio Internet bien qu'elle figurent dans la liste des stations radio Internet pouvant être écou-tées avec ce récepteur (page 43). |
| Les touches de la télécommande ne peuvent pas été utilisées pour la fonction Home Media Gallery. | La télécommande n'est pas régliée sur le mode Home Media Gallery. | Appuyez sur HMG pour régler la télécommande sur le mode Home Media Gallery (page 43). |
Guide de dépannage du réseau LAN sans fil
Pas d'accès au réseau par le réseau LAN sans fil.
Le convertisseur LAN sans fil n'est pas allumé. (Les tímoins "Power", "WPS" et "Wireless" du convertisseur LAN sans fil ne sont pas allumés.)
- Verifie si le cable USB reliant le convertisseur LAN sans fil à la prise DC OUTPUT for WIRELESS LAN du récepteur est branché correctement.
WLAN POW ERR apparait dans l'afficheur du recepteur.
- Il y a un problème au niveau de l'alimentation du convertisseur LAN sans fil. Éteignez le récepteur, puis débranchez le cable USB, rebranchez le cable USB et rallumez le récepteur.
- Si WLAN POW ERR apparait encore après que les opérations précédentes ont eté répetées plusieurs fois, le problème se situe au niveau du récepteur ou du cable USB. Débranchez le récepteur de la prise murale et contactez un service après-vente agrée Pioneer.
Le cable LAN n'est pas bien raccordé.
- Enoncez bien la fiche du cable LAN dans la prise (page 24).
Le convertisseur LAN sans fil et la base (routeur LAN sans fil, etc.) sont trop éloignés ou il y a un obstacle entre eux.
- Rapproche le convertisseur LAN sans fil et la base, etc. pour améliorer la réception LAN sans fil.
Un four à micro-ondes ou un apparéil produit des ondes électromagnétiques interfère avec le réseau LAN sans fil.
- Utilisez le système à l'ecart d'un four à micro-ondes ou d'un apparéil produitant des ondes électromagnétiques.
- Dans la mesure du possible, évitez d'utiliser des dispositifs produitant des ondes electromagnétiques lorsque le système fonctionne avec le réseau LAN sans fil.
Plusieurs convertisseurs LAN sans fil sont connectés au routeur LAN sans fil.
- Lorsque plusieurs convertisseurs LAN sans fil sont connectés, leurs adresses IP doivent être changées. Par exemple, si I'aresse IP du routeur LAN sans fil est "192.168.1.1", réglez l'aresse IP du premier convertisseur LAN sans fil sur "192.168.1.249", la seconde adresse IP du convertisseur LAN sans fil sur "192.168.1.248", en utilisant des valeurs entre 2 et 249 (par exemple "249" et "248") qui ne sont pas déjà attribuées à d'autres convertisseurs LAN sans fil ou d'autres dispositifs.
Des connexions LAN sans fil ne peuvent pas etre établies entre le convertisseur LAN sans fil et la base (routeur LAN sans fil, etc.).
- Le convertisseur LAN sans fil doit être régé pour que des connexions LAN sans fil puissant être établies. Consultez la section Convertisseur LAN sans fil à la page 76.
Le convertisseur LAN sans fil est bien raccordé au récepteur et les témoin du convertisseur LAN sans fil sont allumés, mais le convertisseur LAN sans fil ne peut pas être régle depuis le récepteur (l'écran des réglages ne s'affiche pas).
- Si DHCP dans les réglages IP du récepteur est régle sur OFF et l'adresse IP a été spécifiée manuellement, l'adresse IP spécifiée dans le convertisseur LAN sans fil sont peut-être différentes.
Dans les réglages IP du récepteur, réglez DHCP sur ON. Lorsque le réglage est terminé, éteignez le récepteur. Ensuite, rallumez le récepteur et vérifie si les réglages du convertisseur LAN sans fil peuvent être affichés sur le récepteur.
Si les réglages apparaissent, changez les réglages d'adresse IP du récepteur et du convertisseur LAN sans fil, si nécessaire.
Les réglages d'adresse IP du récepteur et du convertisseur LAN sans fil ne correspondent pas aux réglages du routeur LAN sans fil, etc.
- Vérifiez les réglages d'adresse IP du récepteur et du convertisseur LAN sans fil (y compris le réglage DHCP).
Si le réglage DHCP du récepteur est "ON", éteignez le récepteur puis rallumez-le.
Assurez-vous que les adresses IP du récepteur et du convertisseur LAN sans fil correspondant aux réglages du routeur LAN sans fil, etc.
Si le réglage DHCP du récepteur est "OFF", spécifie l'adresse IP correspondant au réseau de la base (routeur LAN sans fil, etc.).
Par exemple, si I'adresse IP du routeur LAN sans fil est "192.168.1.1", réglez l'adresse IP du récepteur sur "192.168.1.XXX" (*1), le masque de sous-réseau sur "255.255.255.0", la passerelle et le DNS sur "192.168.1.1".
Ensuite, réglez l'adresse IP du convertisseur LAN sans fil sur "192.168.1.249" (*2).
(1) Spécifiez pour "XXX" dans "192.168.1.XXX" un nombre entre 2 et 248, non attribué à d'autres dispositifs.
(2) Spécífiez pour “249” dans “192.168.1.249” un nombre entre 2 et 249, non attribué à d'autres dispositifs.
Essayez de faire les réglages détaillés du convertisseur LAN sans fil.
- Le convertisseur LAN sans fil peut être connecté à un ordinateur pour les réglages détaillés du réseau LAN sans fil. Pour le détail, consultez le CD-ROM fourni avec le convertisseur LAN sans fil. Vérifie les réglages du routeur LAN sans fil, etc., puis changez les réglages du convertisseur LAN sans fil.
Notez, toute fois que les réglages détaillés du réseau LAN sans fil n'amélioreront pas nécessairement la réception LAN sans fil. Faites attention lorsque vous changez les réglages.
Le point d'accès est régle de manière à masquer le SSID.
- Dans ce cas, le SSD peut ne pas apparaître dans la liste des points d'accès. Dans ce cas, réglez le SSD, etc. en effectuant manuellement les réglages du convertisseur LAN sans fil sur le récepteur.
Les réglages de sécurité du point d'accès utilisent une clé WEP de 152 bits ou une authentarication par clé partagée.
Le récepteur n'adopte pas la clé WEP de 152 bits ou l'authentication par clé partagée.
Des connexions réseau ne peuvent pas être établies même si les mesures précédentes sont prises.
- Réinitialisez le convertisseur LAN sans fil. Ensuite, refaites les réglages du convertisseur LAN sans fil.
À propos de la réinitialisation
- Assurez-vous que le convertisseur LAN sans fil est allumé.
- Appuyez sur le bouton de réinitialisation du convertisseur LAN sans fil au moins 3 secondes.
- Relâchéz le bouton de réinitialisation.
Lorsque le convertisseur LAN sans fil redemarre, la reinitialisation est terminée.
À propos des messages d'etat
Reportez-vous aux informations suivantes lorsqu'une mention d'etat apparait pendant l'utilisation de Home Media Gallery.
| Mentions d'état | Descriptions |
| STARTING H.M.G. | Un composant en réseau, ordinateur compris, est actuellément en cours de connexion. Attendez un instant. |
| Connection Down | Impossible d'avoir accès à la catégorie sélectionnée ou à la station radio Internet. |
| File Format Error | Lecture impossibly pour une raison quelconque. |
| Track Not Found | Le morceau sélectionné n'a pas pu être localisé sur le réseau. |
| Server Error | Impossible d'accéder au serveur sélectionné. |
| Server Disconnected | Le serveur a été débranché. |
| empty | Aucun fichier stocké dans le dossier sélectionné. |
| Preset Not Stored | La station radio Internet sélectionnée n'est pas actuellément consignée et sauvégardée. |
| Out of Range | La valeur désignée comme réglage réseau est hors de la plage autorisée. |
| License Error | La licence du contenu devant être lu est invalide. |
| Item Already exists | Cette mention s'affiche lorsque le fichier que vous essayez de consigner dans le dossier Favorites a déjà été consigné. |
| Favorite List Full | Cette mention s'affiche lorsque vous essayez de consigner un fichier dans le dossier Favorites alors que celui-ci est déjà plein. |
Réglage des enceintes
Pour obtenir un meilleur effet surround, il est important de positionner précisément les enceintes et d'unifier leur volume et caractéristiques sonores de même que d'ajuster finement le son multicanaux.
Les trois points principaux à prendre en considération lors du positionnement des enceintes sont la distance, l'angle et l'orientation (c'est-à-dire la direction où sont orientées les enceintes).
Distance: La distance de toutes les enceintes doit être identique.
Angle: Les enceintes doivent être horizontally-ment symétriques.
Orientation: L'orientation doit être horizontally-lement symétrique.
Dans la plupart des cas, il est toutefois impossible de respecter ces conditions. Sur ce recep-. teur, la distance des enceintes peut etre corrigee automatiquement a 1 cm pres en executant la configuration MCACC automatique integrale (page 27).
Quant au volume et à la qualité sonore, il est possible d'obtenir une ambiance sonore ideale en corrigeant le champ sonore à l'aide de l'égaliseur et les caractéristiques de phase des enceintes à l'aide du contrôle de phase pleine bande (page 41).
Étape 1: Disposition des enceintes et réglage de la distance
Utilisez par exemple des pieds d'enceintes pour stabiliser les enceintes, et laissez au moins 10 cm entre les murs et les enceintes. Positionnez avec précision les enceintes de sorte que les enceintes gauche et droite soient aux mêmes angles par rapport à la position d'écoute (centre des réglages). (Nous vous conseillons d'utiliser des cordes, etc. pour ajuster les positions.)
Toutes les enceintes devraient etre a eigale distance de la position d'ecoute.

Remarque
- Si les enceintes ne peuvent pas etre placees a eigale distance (sur un cercle), corrigez artificiellement leurs distances par la configuration MCACC automatique et I'ajustement fin des enceintes.
Étape 2:Réglage de la hauteur des enceintes
Ajustez les hauteurs (angles) des différentes enceintes.
Ajustez-les de sorte que les enceintes avant reproduisant les moyennes et hautes fréquences soient à peu pres à hauteur d'oreilles. Si l'enceinte centrale ne peut pas être installée à la même hauteur que les enceintes avant, réglez son angle d'élevation de sorte où soit dirigée vers la position d'écoute.
Installez l'enceinte surround 1 de sorte qu'elle soit au moins à hauteur d'oreilles.
Étape 3:Réglage de l'orientation des enceintes
Si les enceintes gauche et droite ne sont pas orientées dans la même direction, le son ne sera pas le même sur la droite et la gauche, et le champ sonore ne sera pas produit correctement. Toutefois, si toutes les enceintes sont orientées vers la position d'écoute, le champ sonore semblera réduit. Les tests effectuels par le groupe de recherche multicanaux de Pioneer ont montré qu'il était possible d'atteindre un bon positionnement du son en orientant toutes les enceintes vers une zone située entre 30 cm et 80 cm derrière la position d'écoute (entre les enceintes surround et la position d'écoute). Toutefois, en fonction de l'état de la pièce et des enceintes utilisées, la sensation de positionnement du son peut être différente. En particulier, dans les petites salles (lorsque les enceintes avant sont près de la position d'écoute), les enceintes seront trop orientées vers l'intérieur si elles sont installées selon cette méthode.
Utilisez cet exemple à titre de référence, mais essayez aussi d'autres méthodes d'installation.
Étape 4 : Positionnement et réglage du caisson de grave
En plaçant le caisson de grave entre les enceintes centrale et avant, il est possible d'obtenir un son plus naturel même pour les sources musicales (si vous possédez un seul caisson de grave, il pourra être placé à droite ou à gauche). Le son grave émis par le caisson de grave n'est pas directionnel, il n'est donc pas nécessaire d'ajuster sa hauteur. Normalement le caisson de grave peut être placé sur le sol. Placez-le à un endroit où il n'annulera pas les sons graves émis par les autres enceintes. Notez aussi que s'il est placé pres d'un mur, des vibrations sympathiques amplifiant le grave peuvent se propagated dans le bâtiment.
Si le caisson de grave doit être installé pres d'un mur, tournez-le un peu de sorte qu'il ne soit pas parallèle à la surface du mur. Les vibrations sympathiques seront réduites, mais selon la configuration de la salle, des ondes stationnaires peuvent se produit. Mais même si des ondes stationnaires seroduisent, leur incidence sur la qualité du son pourra être réduite si vous utilisez le contrôle des ondes stationnaires du MCACC automatique (page 67).
Étape 5 : Reglages par défaut avec la configuration MCACC automatique (correction automatique de champ sonore)
Il est plus efficace d'effectuer la configuration MCACC automatique intégrale (page 27) lorsque les ajustements précédents sont terminés.

Remarque
- La distance du caisson de grave peut être légèrement supérieure à la distance mesurée avec un mètre, etc. car elle est corrigée par le retard électricque et ne pose pas de problème.
Position des enceintes par rapport au moniteur
Position des enceintes avant et du moniteur
Dans la mesure du possible, les enceintes avant doivent etre a egale distance du moniteur.

Position de l'enceinte centrale et du moniteur
Comme la plupart des dialogues sont restitués par l'enceinte centrale, il faut placer l'enceinte centrale le plus pres possible du moniteur pour obtenir un son plus naturel dans son ensemble. Pour les téléviseurs à tubes Braun, toutes, si l'enceinte centrale est posée sur le sol, réglez son angle d'élevation de sorte qu'elle soit dirigeé vers la position d'écoute.

Installation au sol

(Schéma vue latérale)
- Si l'enceinte centrale n'est pas de type blindée, éloignez-la du téléviseur.
- Si vous installez l'enceinte centrale sur le monitueur, inclinez-la légèrement vers la position d'écoute.
Dans certains cas, il se peut que les signaux HDMI ne puisent pas transiter par ce récepteur (ceci dépend du composant HDMI rac-cordé-ériviez auprès du fabricant dans qu'elle mesure l'appareil est compatible). Si vous receivez correctement les signaux HDM de votre composant par ce récepteur, essayez une des configurations suivantes comme liaison.
Configuration A
Reliez la sortie video de votre composant HDMI à l'entrée video à composantes du récepteur avec des cables video à composantes. Le récepteur pourrait alors convertir le signal video à composantes analogique en signal numérique HDMI avant de l'afficher. Pour ce faire, utilisez la liaison la plus pratique (une liaison numérique est recommendée) pour envoyer le signal audio au récepteur. Reportez-vous au mode d'emploi pour de plus amples informations sur les liaisons audio.

Remarque
- La qualité de l'image change légèrement à la suite de la conversion.
Configuration B
Raccordez votre composant HDMI directement à l'écran par un cable HDMI. Utilisez ensuite la liaison la plus pratique (une liaison numérique est recommendée) pour envoyer le signal audio au récepteur. Reportez-vous au mode d'emploi pour de plus amples informations sur les liaisons audio. Réglez le volume de l'écran au minimum lorsque vous utilise cette configuration.

Remarque
- Si vous écran ne possède qu'une borne HDMI, vous ne pourrez recevoir le signal video HDMI que du composant raccordé.
- Selon celui-ci, la sortie audio peut être limitée au nombre de canaux disponibles sur l'écran raccordé (par exemple, le signal audio sera réduit à 2 canaux si l'écran ne présente qu'un son stéreo).
- Si vous voulez changer de fonction d'entrée, vous devrez changer de fonction sur le récepteur et sur l'écran.
- Comme le son est coupé sur l'écran lors d'une liaison HDMI, vous devrez régler le volume sur l'écran chaque fois que vous changerez de fonctions d'entrée.
Nettoyage de l'appareil
Utilisez un chiffon doux et sec pour essuyer la poussiere et la saleté.
- Lorsque la surface est sale, essuyez-la avec un chiffon doux bien essore, préalablement trempe dans un détergent neutre dilué dans cinq ou six volumes d'eau, puis essuyez de nouveau avec un chiffon sec. N'utilisez pas de cire ou de produit nettoyant pour meubles.
N'utilisez jamais de diluant, de benzène, d'aerosols insecticides ou d'autres produits chimiques sur ou a proximite de cet apparéil, sous peine d'abîmer sa surface.
VSX-LX55 uniqueness
Manufacturer:
PIONEER CORPORATION
1-1, Shin-ogura, Saiwai-ku,
Kawasaki-shi, Kanagawa
212-0031, Japan
Utiliser à l'intérieur seulement
English:
Par la presente Pioneer déclare que l'appareil VSX-LX55 est conforme aux exigences essentielles et aux autres dispositions pertinentes de la directive 1999/5/CE
Svenska:
Vous trouvez ci-dessous une brève description des principaux formats de son surround disponibles pour les BD, DVD, les émissions satellite, câblées ou terrestres et les cassettes video.
Dolby
Les technologies Dolby sont expliquées ci-dessous. Voir http://www.dolby.com pour de plus amples informations.

TRUE:ID
PRO LOGIC IIz
Fabrique sous licence de Dolby Laboratories. Les termes « Dolby», « Pro Logic » et « Surround EX», ainsi que le sigle double D sont des marques commerciales de Dolby Laboratories.
DTS
Les technologies DTS sont expliquées ci-dessous. Voir http://www.dts.com pour de plus amples informations.

dhts-HD
Master Audio

dtts
Neural Surround
Fabrique sous licence sous couvert des brevets U.S. N^ : 5,451,942; 5,956,674; 5,974,380; 5,978,762; 6,226,616; 6,487,535; 7,212,872; 7,333,929; 7,392,195; 7,272,567 et d'autres brevets U.S. et mondiaux, émis et en cours d'enregistrement. DTS et le symbole sont des marques déposées, et DTS-HD, DTS-HD Master Audio et les logos DTS sont des marques commerciales de DTS, Inc. Logiciel inclus dans ce produit. © DTS, Inc. Tous droits réservés.
À propos de THX
Les technologies THX sont expliquées ci-dessous.
Consultez the site http://www.thx.com pour obtenir des informations plus détaillées.

SELECT 2*PLUS
SURROUND EX
THX, le logo THX et Select2 Plus sont des marques commerciales de THX Ltd., qui sont déposées sous certaines juridictions. Tous droits réservés. Toutes les marques commerciales appartiennent à leurs détenteurs respectifs.
Le traitement THX Cinema
THX est un ensemble de normes et de technologies mises au point par THX Ltd. THX est né duouchait personnel de George Lucas que les bandes sonores de films, au cinema ou chez vous, reflèdent le plus fidèlement possible l'intention du réalisateur. Les bandes sonores de films sont mixées dans des cinémas spéciaux, appelés plateaux d'enregistrement, et sont conçues pour être projétées dans des cinémas représentant des équipements et des conditions similaires. Cette même bande
sonore est ensuite transférée directement sur disque laser, cassette VHS, DVD, etc., sans être modifiée pour la lecture dans un petit environnement home cinema. Les ingénieurs THX ont mis au point des technologies brevetées pour transmettre fidèlement le son des salles de cinéma chez vous, en corrigeant les erreurs tonales et spatiales qui apparaissent. Sur ce produit, lorsqu'l'indicateur THX est allumé, les fonctions THX sont automatiquement ajoutées dans les modes Cinéma (ex.: THX Cinema, THX Surround EX).
Re-Equalization
L'équilibre tonal d'une bande sonore de film semblera trop aigu et dur lorsqu'il est produit sur une équipement audio domestique, car les bandes sonores des films sont conçues pour être projetées dans de grands cinémas, en utilisant un équipement professionnel très différent. La fonction Re-Equalization restaque le bon équilibre tonal pour pouvoir profiter de la bande sonore d'un film chez soi.
Timbre Matching
L'oreille humaine modifie notre perception d'un son en fonction de la direction d'ou provient ce dernier. Dans un cinema se trouve une série d'enceintes surround disposées de sorte que le son surround vous entoure. Dans un homécinéma, vous n'utilise que deux enceintes situées sur les côtés. La fonction Timbre Matching fille les informations transmises aux enceintes surround afin qu'elles correspondent le plus précisément possible aux caractéristiques tonales du son venant des enceintes avant. Cela assure une circulation uniforme du son entre les enceintes avant et surround.
Dans un cinema, un grand nombre d'enceintes surround vous permettent de profiter d'un son
surround enveloppant, alors qu'un système home cinema ne comporte généralement que deux enceintes. Le son des enceintes surround peut alors ressembler au son d'un casque, manuant d'espace et d'enveloppement. Par ailleurs, lessons surround se retrouveront dans l'enceinte la plus proche si vous vous eloignez de la position d'écoute centrale. La fonction Adaptive Décorrelation modifie légèrement le rapport temps-phase d'un canal surround par rapport à l'autre canal surround. Cela élargit la position d'écoute et cree, avec deux enceintes seulement, le même son surround dans l'espace que dans un cinema.
THX Select2 Plus
Avant qu'un composant home cinema puisse ettre certificé THX Select2 Plus, il doit integrer toutes les fonctions décrites ci-dessus et passera une série de tests rigoureux tant du point de vue de la qualite que des performances. Ce n'est qu'à cette condition qu'un produit peut arborer le logo THX Select2 Plus, qui vous garantit que vos produits Home Cinéma vous offriront des performances optimales pendant de nombreuses années. Les exigences THX Select2 Plus couvent tous les aspects du produit, y compris les performances et le fonctionnement du préamplificateur et de I'amplificateur de puissance, et des centaines d'autres paramètres relevant des domains numérique et analogique.
THX Surround EX
THX Surround EX - Dolby Digital Surround EX est le fruit de la collaboration de Dolby Laboratories et THX Ltd. Dans un cinema, les bandes sonores codées avec la technologie Dolby Digital Surround EX peuvent reproductive un canal supplémentaire, ajoute lors du mixage du programme. Ce canal, appelé surround arrêtre, ajoute dessons derrière la personne qui
écoute aux canaux avant gauche, avant centre, avant droit, surround droit, surround gauche et du caisson de grave. Ce canal supplémentaire permet d'obtenir une imagerie plus détaillée derrière la personne qui écoute et offre ainsi une profondeur, une impression d'espace et une localisation du son inégalées. Les films utilisant la technologie Dolby Digital Surround EX arborent le nom de cette technologie sur leur emballage lorsqu'ils sont diffusés dans le commerce. Vous trouvez une liste des films utilisant cette technologie sur le site Internet de Dolby, à l'adresse http://www.dolby.com. Seuls les amplificateurs et les contrôleurs arborant le logo THX Surround EX reproduisent fidèlement cette nouvelle technologie dans une installation home cinéma, lorsqu'ils fonctionnement en mode THX Surround EX. Ce produit peut également présenter le mode "THX Surround EX" pendant la lecture de matériel 5.1 canaux qui n'est pas codé en Dolby Digital Surround EX. Dans ce cas, les informations transmises au canal surround arrêté dépendront du programme et pourrait être très agreables ou non, en fonction de la bande sonore et des goûts de l'auditeur.
Selon la position de l'auditeur et du caisson de grave, I'effet de basse peutARAtre excessif. Cette fonction minimise I'effet caverneux reSENTi par I'auditeur placé trop pres du mur arrriere. Elle fonctionne a condition qu'un subwoofer certifié THX Select2TM soit utilisé.
Description de THX Loudness Plus
THX Loudness Plus est un nouveau type de réglage de volume, utilisé dans les amplifieurs certifiés THX Ultra2 Plus™ et THX Select2 Plus™. Avec THX Loudness Plus, il est possible de percevoir dans un environnement home cinéma tous les détails d'une gravure
surround à tous les niveaux sonores. En général, lorsqu'on réduit le volume au-dessous du niveau de référence, certains éléments du son sont perdus ou perçus différemment par l'auditeur. THX Loudness Plus agit de manière à compenser les décalages tonal et spatial, qui se produit lorsque le volume est réduit, en réajustant de manière appropriée les niveaux des canaux surround et de la ↔response en ↓quence. Ceci permet à l'auditeur de bénéficier du ↑veritable impact des pistes son qu'on soit le réglage de volume. THX Loudness Plus est automatiquement appliqué lors de l'écoute en mode THX. Les nouveaux modes THX Cinema, THX Music et THX Games sont consç pour appliquer les réglages THX Loudness Plus convenant à chaque type de contenu.
À propos de l'iPod
Made for

d iPhone
iPad

"Made for iPod," "Made for iPhone," and "Made for iPad" désignent des accessoires électroniques conçus pour être raccordés à un iPod, iPhone ou iPad, respectivement, et que le développement a certifié qu'il replissait les exigences imposées par Apple en matière de performance. Apple n'est pas responsable du fonctionnement de cet apparéil ou de sa compatibilité avec les normes réglementaires et
de sécurité. Veuillez notes que l'emploi de cet accessoire avec un iPod, iPhone ou iPad peut affecter la connexion sans fil.
Apple, AirPlay, le AirPlay logo, iPad, iPhone, iPod, iPod shuffle, iPod nano, iPod classic, iPod touch, iTunes et Mac sont des marques commerciales de Apple Inc., enregistrées aux États-Unis et dans d'autres pays.
À propos de FLAC
Décodeur FLAC
La redistribution et l'emploi sous formes source et binaire, avec ou sans modification, sont autorisés à condition que :
- La redistribution du code source retienne l'avis de copyright ci-dessus, la liste des conditions et l'avis de non-responsabilité suivant.
- Les redistributions sous forme binaire reproduisent l'avis de copyright ci-dessus, la liste des conditions et l'avis de non-responsabilité suivant dans la documentation et/ou les matérieliaux qui accompagnent la distribution.
- Le nom de Xiph.org Foundation et les noms de ses collaborateurs ne doivent enaucun cas etre utilisés pour endosser ou promouvoir des produits dérivés de ce logiciel sans permission préalable écrite.
THIS SOFTWARE IS PROVIDED BY THE
COPYRIGHT HOLDERS AND COLNTRIBUTORS "AS IS" AND ANY EXPRESS OR IMplied
WARRANTIES, INCLUDING, BUT NOT
LIMITED TO, THE IMPLIED WARRANTY OF
MERCHANTABILITY AND FITNESS FOR A
PARTICULAR PURPOSE ARE DISCLAIMED. IN NO EVENT SHALL THE FOUNDATION OR COLNTRIBUTORS BE LIABLE FOR ANY DIRECT, INDIRECT, INCIDENTAL, SPECIAL, EXEMPLARY, OR CONSEQUENTIAL
DAMAGES (INCLUDING, BUT NOT LIMITED TO, PROCEDUREM OF SUBSTITUTE GOODS OR SERVICES; LOSS OF USE, DATA, OR PROFITS; OR BUSINESS INTERRUPTION)
HOWEVER CAUSED AND ON ANY THEORY OF LIABILITY, WHETHER IN CONTRACT, STRICT LIABILITY, OR TORT (INCLUDING NEGLIGENCE OR OTHERWISE) ARISING IN ANY WAY OUT OF THE USE OF THIS SOFTWARE, EVEN IF ADVISED OF THE POSSIBILITY OF SUCH DAMAGE.
Les tableaux ci-dessous indiquent ce que vous allez entendre avec différents formats de signal d'entrée, en fonction du mode à flux direct sélectionné (consultez la section Utilisation des modes Stream Direct à la page 39).
Formats de signal stéreo (2 canaux)
| Format du signal d'entrée | Surround automatique / ALC / DIRECT | PURE DIRECT |
| Enceinte(s) surround arrêté : Raccordée(s) |
| Dolby Digital Surround | Pro Logic IIx MOVIE | Pro Logic IIx MOVIE |
| DTS Surround | Neo:6 CINEMA | Neo:6 CINEMA |
| Autres sources stéréo | Lecture stéréo | Lecture stéréo |
| Sources analogiques | Comme ci-dessus | ANALOG DIRECT (stéréo) |
| Sources PCM | Comme ci-dessus | PCM DIRECT |
| Sources DVD-A | Comme ci-dessus | Comme ci-dessus |
| Sources SACD | Comme ci-dessus | Lecture stéréo |
| Enceinte(s) surround arrêté : Non raccordée(s) |
| Dolby Digital Surround | Pro Logic II MOVIE | Pro Logic II MOVIE |
| DTS Surround | Neo:6 CINEMA | Neo:6 CINEMA |
| Autres sources stéréo | Lecture stéréo | Lecture stéréo |
| Sources analogiques | Comme ci-dessus | ANALOG DIRECT (stéréo) |
| Sources PCM | Comme ci-dessus | PCM DIRECT |
| Sources DVD-A | Comme ci-dessus | Comme ci dessus |
| Sources SACD | Comme ci-dessus | Lecture stéréo |
Formats de signaux multicanaux
| Format du signal d'entrée | Surround automatique / ALC | PURE DIRECT / DIRECT |
| Enceinte(s) surround arrêté : Raccordée(s) |
| Dolby Digital EX (Canal 6.1 signalé) Dolby TrueHD EX (6.1 canaux signalés) | Dolby Digital EX ☐ Pro Logic IIx MOVIE <a> | Dolby Digital EX ☐ Pro Logic IIx MOVIE <a> |
| DTS-HD Master Audio ES (6.1 canaux signalés) | DTS-ES (Matrice) | DTS-ES (Matrice) |
| DTS-ES (Sources canal 6.1/Canal 6.1 signalé) | DTS-ES (Matrice/Discritète) | DTS-ES (Matrice/Discritète) |
| Sources DTS (Codage canal 5.1) | Décodage linéaire | Décodage linéaire |
| Sources DTS-HD | Comme ci-dessus | Comme ci-dessus |
| Autres sources 5.1/6.1/7.1 canaux | Comme ci-dessus | Comme ci-dessus |
| Enceinte(s) surround arrêté : Non raccordée(s) |
| Sources DVD-A/Multi-ch PCM | Décodage linéaire | Décodage linéaire |
| Sources SACD (Codage canal 5.1) | Comme ci-dessus | Comme ci-dessus |
| Autres sources 5.1/6.1/7.1 canaux | Comme ci-dessus | Comme ci-dessus |
a Non disponible si une seule enceinte arrête surround est raccordée.
Glossaire
Dolby
Les technologies Dolby sont expliquées ci-dessous. Voir http://www.dolby.com pour de plus amples informations.
Dolby Digital
Dolby Digital est un format sonore numérique multicanaux couramment utilisé dans les cinémas et chez soi pour la restitution des pistes sonores des DVD et des émissions numériques.
Dolby TrueHD
Dolby TrueHD est un format sonore de nouvelle génération sans perte, développé pour les disques optique haute définition.
Dolby Digital Plus
Dolby Digital Plus est le format sonore utilisé pour la programmation et les médias haute définition. Il associe l'efficacité désormais exigée à la puissance et à la flexibilité et permet d'offrir le potentiel sonore que l'on est en droit d'attendre des émissions haute définition futures.
Dolby Digital Surround EX
Dolby Digital Surround EX (EX est l'abréviation d'EXTended) est une extension du format Dolby Digital avec un canal surround arrêté inclus dans les canaux surround gauche/droit pour la reproduction de 6.1 canaux. Ceci permet le décodage des signaux Dolby Digital 5.1 canaux ainsi que le décodage dans le format Dolby Digital EX.
Dolby Pro Logic IIx et Dolby Surround
Dolby Pro Logic IIx est une version améliorée du format Dolby Pro Logic II (et Dolby Pro Logic). Le Dolby Surround est un format qui inclut des informations sonores surround dans une piste stéreo, ce qui permet d'améliorer l'écoute en surround et de mistrés faire dessortir les détails
sonores quand un décodeur Dolby Pro Logic est utilisé.
Dolby Pro Logic IIz
L'adjonction d'une paire d'enceintes au-dessus des enceintes avant gauche et droite ajoute de l'expressivité dans le sens vertical au champ sonore antérieur orienté horizontally. Le canal haut renforce la sensation de tridimensionnalité et d'espace du champ sonore, résultat en une meilleure présence et spatialisation.
DTS
Les technologies DTS sont expliquées ci-dessous. Voir http://www.dts.com pour de plus amples informations.
DTS Digital Surround est un format audio 5.1 canaux de DTS Inc. courament utilisé pour les DVD-Video, DVD-Audio, disques de musique 5.1, émissions numériques etieux videoe.
DTS-HD Master Audio
DTS-HD Master Audio est un format qui restitue les sources sonores masterisées dans les studios professionnels sans perte de données et préserve par conséquent la qualité du son.
DTS-HD High Resolution Audio
Format sonore haute définition grâce auquel les signaux peuvent transiter par des cables HDMI.
DTS-ES
DTS-ES (ES est l'abréviation d'Extended Surround) est un décodeur capable de décoder les sources enregistrées en DTS-ES Discrete 6.1 et DTS-ES Matrix 6.1.
DTS Neo:6
DTS Neo:6 peut reproduce un son surround 7.1 canaux à partir de n'importe qu'elle source sté réo matricée ( comme une video ou la télévision) et de sources 5.1 canaux.
DTS Neural Surround
DTS Neural Surround peut reproduire un son surround 7.1 canaux à partir de n'importe
quelle source stéreo matricée ( comme une video ou la télévision).
THX
Les technologies THX sont expliquées ci-dessous.
Consultez the site http://www.thx.com pour obtenir des informations plus détaillées.
THX Cinema
Mode permettant de reproductive chez soi les pistes son de films enregistrées et conçues pour les grandes salles comme les cinémas.
THX Music
Mode adapté principalement à l'écoute de musique dont la conception sonore est bien supérieure aux pistes son des films.
THX Games
Mode adapté à l'écoute du son des yeux et rendant fidèlement la sensation d'espace. Le son est mixé en grande partie comme pour les films, mais ce mode est destiné aux petites salles只不过 qu'aux grandes salles de cinéma.
THX Surround EX
Mode utilisant la technologie mise au point par Dolby Laboratories et THX visant à creator un champion sonore à l'arrière des auditeurs.
THX Loudness Plus
Mode créé un champ sonore surroundiche et subtile grace au calibrage optimal du volume et de la reponse en fréquence de chaque canal en fonction du niveau sonore.
Décodage
Technologie permettant de convertir les signaux numériques compressés lors de l'enregistrement par un circuit de traitement numérique du signal numérique, etc. en signaux originaux. Le terme "décodage"(ou "matricage") est également utilisé pour un format qui convertit les sources sonores incluant 2 canaux en plusieurs canaux ou élargissant les signaux incluant 5.1 canaux en signaux de 6.1 ou 7.1 canaux.
Calibrage du champ sonore/ Amélioration de la qualité sonore
Contrôle de phase
Le contrôle de phase inclus dans ce récepteur permet une restitution sonore uniforme grâce à l'utilisation de la concordance de phase, offrant ainsi une image sonore parfaite à la position d'écoute.
Contrôle de phase pleine bande
Le contrôle de phase pleine bande permet de calibrer les caractéristiques de fréquence-phase des enceintes raccordées.
Surround arrière virtuel
Si vous n'utilise pas d'enceintes surround arrêté, la sélection de ce mode permet à vos enceintes surround d'émettre un canal surround arrêté virtuel. Vous pouvez désir d'écouter des sources sans les informations du canal surround arrêté.
Virtuel Haut
Si vous n'utilise pas d'enceintes avant en position haute, la seLECTION de ce mode permet à vos enceintes avant d'émettre un canal avant virtuel du haut.
Profondeur virtuelle
Lorsque ce mode est selectionné, le champ sonore s'élargit virtuellément jusqu'à l'arrière de l'écran de manière à produit une profondeur adaptée à l'image 3D et intensifier la sensation de présence.
Correction automatique du son
La correction automatique du sonemploi une technologie DSP pour rétablier la pression sonore et égaliser les irrégularités resultant de la compression.
Avec certains signaux audio, la correction du son est optimisée selon le débit binaire du son reçu ce qui permet d'obtenir le meilleur son possible.
Correction sonore Air
La fonction Sound Retriever Air corrige la diminution de qualite sonore due à la compression des signaux lors d'un transfert Bluetooth.
PQLS
Le raccordement d'un lecteur compatible PQLS par une liaison HDMI permet une lecture de grande qualite et sans fluctuation.
ALC (Contrôle automatique des niveaux)
Dans le mode de contrôle automatique des niveaux (ALC), le récepteur égalise les niveaux du son lors de la lecture.
En outre, lessons des graves et des aigus,les dialogues,les effets surround,etc.,qui ne sont pas reallyment perceptiblesa faible volume, sont reajustes de manierea etre bien percus a ce niveau sonore. Ce mode est optimal pour I'ecoute de nuit.
Surround avant évolué
La fonction Surroundant avant évolué permet de reproductive des effets sonores surround uniformes et naturels seulement à partir des enceintes avant, sans dépréciation de la qualité du son original.
MCACC
La configuration MCACC automatique garantit une configuration rapide et précise du son surround. Celle-ci inclut les fonctions avances de l'égaliser du calibrage acoustique professionnel.
HDMI
Commande par l'HDMI
Un téléviseur ou un lecteur Blu-ray Disc
Pioneer, compatible avec la fonction Control
par l'HDMI, ou un composant d'une autre
marque supporting la fonction Control par
l'HDMI peut fonctionner de manière synchrone
avec le récepteur s'ils sont reliés à l'aide d'un
câble HDMI.
Le volume du récepteur peut être régé ou le son coupé par la télécommande du téléviseur.
- L'entrée du récepteur change automatiquement lorsquel l'entrée du télévisuer est changé ou un composant compatible avec la fonction Control par l'HDMI est lu.
- Dans ce cas, le récepteur est mis en voir en même temps que le téléviseur.
ARC (Canal de retour audio)
Lorsqu'un téléviseur prenatal en charge la fonction ARC (Canal de retour audio) de l'HDMI est raccordé au récepteur, le son du téléviseur peut être transmis par la prise HDMI OUT.
Le son du téléviseur peut être transmis par la prise HDMI OUT du récepteur, si bien qu'un seul cable HDMI suffit pour le raccordement au téléviseur.
FonctionRéseau
AirPlay
Ce récepteur prend en charge la diffusion en flux audio AirPlay depuis iPod touch (généra-tions 2, 3 et 4), iPhone 4, iPhone 3GS, iPad iOS 4.2 ou ultérieure, et iTunes 10.1 (Mac et PC) ou ultérieure.
Pour plus d'informations, reportez-vous au site Apple (http://www.apple.com).
DLNA
La DLNA (Digital Living Network Alliance) est une alliance transindustrielle des sociétés de production d'appareils électroniques grand public, d'ordinateurs et de périphériques mobiles. Digital Living permet aux consommateurs de partirager aisément les médias numériques par leurs réseaux avec ou sans fil.
vTuner
vTuner est un service de base de données en ligne, permettant d'écouter des émissions de radio et de télévision sur Internet. vTuner regroupe des milliers de stations dans plus de 100 pays au monde. Pour plus d'informations sur vTuner, consultez le site web suivant: http://www-radio-pioneer.com
"Ce produit est protégé par certains droits de propriété intellectuelle de NEMS et BridgeCo. L'emploi ou la distribution d'une telle technologie hors de ce produit sans licence NEMS et BridgeCo, ou d'une filiale autorisée, sont interdits."
aacPlus
Le décodeur AAC emploie le aes plus mis au point par Coding Technologies. (www.codingtechnologies.com)
coding V technologies

FLAC
FLAC (Free Lossless Audio Codec) est un codec de compression audio sans perte. Le son est compressé en FLAC sans perte de qualité. Pour plus d'informations sur le FLAC, consultez le site web suivant: http://flac.sourceforge.net/
Windows Media est un logiciel intégré multimédia de Microsoft Windows, concu pour creer et distribuer des média. Windows Media est soit une marque déposée soit une marque commerciale de Microsoft Corporation, enregistrée aux États-Unis et/ou dans d'autres pays. Utilisez une application autorisée par Microsoft Corporation pour creer, distribuer ou dire des contenus de format Windows Media. L'emploi d'une application non autorisée par Microsoft Corporation entraînera des erreurs de fonctionnement.
Windows Media Player est un logiciel permettant de transmettre à une chaîne stéreo ou à un téléviseur de la musique, des photos et des films enregistrés sur un ordinateur Microsoft Windows.
Avec ce logiciel, vous pouvez dire des fichiers enregistrres sur ordinateur avec divers péripériques à l'endetroit souhaite de la maison. Ce logiciel peut être télécharge du site Microsoft.
- Windows Media Player 11 (pour Windows XP ou Windows Vista)
- Windows Media Player 12 (pour Windows 7) Pour plus d'informations, consultez le site officiel Microsoft.
Windows Media DRM is un service DRM (Digital Rights Management) de la plateforme Windows Media. Il est destiné à assurer la sécurité de la distribution de contenus audio et/ou video par un réseau IP, à un ordinateur ou un périhérique de lecture, de manière à ce que le distributeur puisse s'assurer de la façon dont ce contenu est utilisé. Le contenu protégé par WMDRM ne peut être lu que sur un composant compatible avec le service WMDRM.
Routeur
Dispositif permettant de transférer sur un réseau des données circulant sur un autre réseau. En privé, les routeurs fonctionnent souvent comme serveurs DHCP. Les produits intégrant des points d'accès LAN sans fil sont appelés "routeurs LAN sans fil".
DHCP
Abréviation de Dynamic Host Configuration Protocol. Protocole permettant d'attribuer automatiquement l'adresse IP et d'autres informations de ce type pour les connexions réseau. Ce protocole est pratique parce que, lorsqu'il est activé, il permet d'utiliser les fonctions réseau en connectant simplement les dispositifs au réseau.
LAN/Wi-Fi sans fil
"Wi-Fi" (Wireless Fidelity) est le nom d'une marque commerciale donné par l'association commerciale Wi-Fi Alliance consacrée à favoriser la reconnaissance des réseaux LAN sans fil.
Vu la croissance récente du nombre de dispos- itifs connectés à des ordinateurs, le Wi-Fi offre l'avantage d'éliminer les raccordements complexes par cables. Pour assurer leur compatibilité, les produits qui ont subi des tests d'intero-pérabilité portent le logo "Wi-Fi Certified", une garantie pour les utilisateurs.
WPS
Abréviation de Wi-Fi Protected Setup. Norme établie par le groupe d'industries Wi-Fi Alliance visant à standardiser une fonction permettant des réglages pour l'interconnexion de dispositifs LAN sans fil compatibles WPS et la simplification du cryptage. Il existe un certain nombre de méthodes, par exemple la configuration par pression d'un bouton et la configuration par code PIN. Le recepteur AV permet la configura-tion par pression d'un bouton et la configura-tion par code PIN.
SSID
Abréviation of Service Set IDentifier. Identifient d'un point d'accès LAN sans fil. Peut comprendre jusqu'à 32 caractères alphanumerices.
Fonction Bluetooth
Technologie Bluetooth sans fil
Norme relatives aux communications sans fil de courte portée entre plusieurs dispositifs numériques. Les informations sont échangées par les ondes radio entre des dispositifs situés à quelques mêtres, voire quelques dizaines de mêtres. Les ondes radio utilisées se situent sur la bande de 2,4 GHz qui n'exige pas d'autorisation ni d'abonnement, car il s'agit en général d'échange d'informations numériques à vitesse relativement lente, comme c'est le cas avec les souris et claviers d'ordinateurs, les téléphones mobiles, les smartphones, les informations/texte et audio des assistants numériques personnels, etc.
Jumelage
Le "Jumelage" doit être effectué avant la lecture sur le dispositif sans fil Bluetooth via l'ADAPTA-TEUR Bluetooth. Veiliez à effectuer le jumelage la première fois que vous utilisez cette système et chaque fois que les données du jumelage ont été effacées. Le jumelage est nécessaire pour enregistrer le dispositif sans fil Bluetooth et permettre les communications Bluetooth. Pour le détaill à ce sujeit, consultez aussi le mode d'emploi de votre dispositif sans fil Bluetooth.
- Le jumelage est nécessaire la première fois que vous utilisez le dispositif sans fil Bluetooth et l'ADAPTATEUR Bluetooth.
- Pour permettre la communication Bluetooth, le jumelage doit etre effectue sur voite système et sur le dispositif sans fil Bluetooth.
Fonction du récepteur
Mode de fonctionnement
Ce récepteur présente un grand nombre de fonctions et réglages. Le mode de fonctionnement est destiné aux utilisateurs qui ont de la peine à maitriser toutes ces fonctions et tous ces réglages.
Index des fonctions
Mode de fonctionnement
Consultez la section Configuration du mode de fonctionnement à la page 30.
AVNavigator
Consultez la section À propos de l'AVNavigator (CD-ROM inclus) à la page 7.
MCACC automatique intégrale
Consultez la section Obtention automatique d'un réglage sonore optimal (Full Auto MCACC) à la page 27.
MCACC automatique (Expert)
Consultez la section MCACC automatique (Expert) à la page 64.
Configuration MCACC manuelle
Consultez la section Configuration MCACC manuelle à la page 66.
PQLS
Consultez la section Réglage de la fonction PQLS à la page 48.
Contrôle de phase
Consultez la section Contrôle de phase pour un son deILAmeille qualite à la page 40.
Contrôle de phase pleine bande
Consultez la section Amélioration du son avec le contrôle de phase et le contrôle de phase pleine bande à la page 41.
Ondes stationnaires
Consultez la section Réglage des options audio à la page 50.
Contrôle de phase Plus
Consultez la section Réglage des options audio à la page 50.
Correction automatique du son
Consultez la section Réglage des options audio à la page 50.
ALC (Contrôle automatique des niveaux)
Consultez la section Lecture automatique à la page 38.
Surround avant évolué
Consultez la section Écoute de sources variees grâce aux divers modes d'écoute à la page 38.
Correction sonore Air
Consultez la section Écoute de sources variees grâce aux divers modes d'écoute à la page 38.
Optimisation des dialogues
Consultez la section Réglage des options audio à la page 50.
Internet radio
Consultez la section Écoute des stations radio Internet à la page 43 .
vTuner
Consultez la section Écoute des stations radio Internet à la page 43 .
DLNA
Consultez la section À propos de la lecture en réseau à la page 44.
AirPlay
Consultez la section Utilisation d'AirPlay sur un iPod touch, iPhone, iPad et iTunes à la page 42 .
LAN sans fil
Consultez la section Raccordement à un réseau LAN sans fil à la page 24.
Lecture d'un fichier audio en haute définition
Consultez la section À propos des formats de fichiers lisibles à la page 46.
Diaporama
Consultez la section Lecture de fichiers photo enregistrés sur un dispositif USB à la page 33 .
ADAPTATEUR Bluetooth
Consultez la section ADAPTATEUR Bluetooth pour l'écoute de musique sans fil à la page 35.
ARC (Canal de(retouraudio)
Consultez la section Reglage de l'HDMI à la page 47.
Gain SACD
Consultez la section Réglage des options audio à la page 50.
Retard automatique
Consultez la section Réglage des options audio à la page 50.
Gain Hauteur (option Hauteur de Dolby Pro Logic IIz)
Consultez la section Réglage des options audio à la page 50.
Virtuel Haut
Consultez la section Réglage des options audio à la page 50.
Surround arrière virtuel
Consultez la section Réglage des options audio à la page 50.
Profondeur virtuelle
Consultez la section Réglage des options audio à la page 50.
Convertisseur videoe numérique
Consultez la section Reglages des options video à la page 52.
Cinéma pur
Consultez la section Reglages des options video à la page 52.
Anime progressif
Consultez la section Reglages des options video à la page 52.
Réglage videoévolué
Consultez la section Reglages des options video à la page 52.
Extinction automatique
Consultez la section Menu Autre configuration à la page 77.
Specifications
Section audio
Puisance de sortie nominale (1 kHz, 6Ω, 1%)
Avant. 150 W + 150 W
Centre 150 W
Puisance de sortie nominale
(20 Hz à 20 kHz, 8 Ω, 0.08 %)
Avant. 110 W + 110 W
Centre 110 W
Impédance d'enceintes garantie ....16 Ω à 8Ω, inférieure à 8 Ω à 6 Ω (réglage requis)
Rapport signal/bruit
(IHF, court-circuité, réseau A)
LINE 103 dB
Réponse en fréquence....5 Hz à 100 000 Hz ±³ dB (Mode Pur Direct)
Entrée (Sensibilité/Impédance)
LINE 350 mV/47 kΩ
Sortie (Niveau/Impedance)
REC. 335 mV/2.2 kΩ
Sectiontuner
Gamme de fréquences (FM)
87.5 MHz à 108 MHz
Entrée antenne (FM) 75Ω asymétriques
Gamme de fréquences
(AM)531 kHz à 1602 kHz
Antenne (AM)..... Antenne cadre (equilibrée)
Section video
Niveau des signaux
Védo composite 1 Vc-c (75 Ω)
Vidéo à composantes
Y:1,0 Vc-c (75Ω),
PB/PR:0,7 Vc-c (75Ω)
Résolution Tmaxale correspondante
Video à composantes 1080p (1125p)
(Conversion video desactivée)
Section Entree/Sortie numériques
Prise HDMI 19 broches (Non DVI)
Type de sortie HDMI. 5V,55mA
Prise USB ......... Ultrarapide USB2.0 (Type A)
Prise d'iPod USB et Video (Composite)
Prise ADAPTER PORT .5V,100mA
Prise WIRELESS LAN ADAPTER ....5 V, 600 mA
Section de commande intégrée
Prise de commande (SR)
Minifiche 3,5 (MONO)
Prise de commande (IR)
Minifiche 3,5 (MONO)
Signal IR. Actif Haut (Niveau Haut: 2,0 V)
Prise de déclencheur 12 V
Minifiche 3,5 (MONO)
Type de sortie déclencheur 12 V
12V,Total 150mA
Type de cable RS-232C
.9 broches, type croisé,
femelle-femelle
Nombre d'articles fournis
Microphone de configuration MCACC 1
Télécommande. 1
Piles sèches IEC R03 de taille AAA. 2
Cable pour iPod. 1
Antenne cadre AM. 1
Antenne fil FM. 1
Convertisseur LAN sans fil (AS-WL300)
Cordon d'alimentation
CD-ROM (AVNavigator)
Guide rapide

Remarque
- Les specifications suivantes sont valables lorsquel l'alimentation électrique est de 230V
- Les spécifications et la conception sont sujettes à de possibles modifications sans préavis, suite à des améliorations.
- Ce produit utilise les polices FontAvenue® sous licence de NEC Corporation. FontAvenue est une marque déposée de NEC Corporation.
Listedes codes preréglés
Vous devriez pouvoir utiliser sans problème un composant si vous trouvez son numero dans la liste mais, dans le cas de certains modèles, les codes de marques indiqués dans la liste peuvent ne pas être valides. Dans d'autres cas, seules certaines fonctions agiront bien que le code de préréglage approprié ait été saisi.

Important
- Nous ne pouvons pas garantir le fonctionnement de tous les apparciels des différentes marques figurant dans la liste. Un apparéil peut ne pas fonctionner même si son code de préréglage est valide. Si vous ne trouvez pas le code de préréglage correspondant au composant que vous souhaitez commander, vous pouvez toujours programmer les différentes commandes depuis une autre télécommande (consultez la section Programmation de signaux depuis d'autres télécommandes à la page 58).
Televiseur
Pioneer 0180,0185, 0186,0187,0189,0192, 0193,0198
A.R. Systems 0040
Acme 0026
Acura 0027, 0039
ADC 0025,
Admiral 0023, 0024, 0025, 0030, 0031
Adyson 0026, 0113, 0114
Agashi 0113, 0114
Agazi 0025
Aiko 0026,0027,0039, 0040,0113,0114
Aim 0040
Aiwa 0084
Akai 0027,0028,0034, 0037,0039,0040,0113, 0114
Akiba 0028, 0040
Akura 0025, 0028, 0039, 0040
Alaron 0113
Alba 0010,0026,0027, 0028,0032,0035,0037, 0039,0040,0075,0078, 0088,0113
Alcyon 0017
Allorgan 0114
Allstar 0034,0040
AMOi 0109
Amplivision 0010, 0026, 0041, 0114
Amstrad 0025,0027, 0028,0039,0040
Anam 0027
Anglo 0027, 0039
Anitech 0017,0025, 0027,0039,0040
Ansonic 0010, 0018, 0027, 0029, 0039, 004
Arcam 0113, 0114
Arcam Delta 0026
Aristona 0034, 003
0040
Arthur Martin 0041
ASA 0023, 0031
Asberg 0017, 0034, 0040
Astra 0027
Asuka 0025,0026,0028, 0113,0114
Atlantic 0026,0034, 0037,0040,0113
Atori 0027, 0039
Auchan 0041
Audiosonic 0010, 0026, 0027, 0028, 0034, 0037, 0040, 0114
AudioTon 0010,0026, 0114
Ausind 0017
Autovox 0017, 0023, 0025, 0026, 0114
Awa 0113, 0114
Baird 0114
Bang & Olufsen 0023, 0115
Basic Line 0027,0028, 0034,0039,0040,0114
Bastide 0026, 0114
Baur 0037, 0040
Bazin 0114
Beko 0010, 0035, 0040, 0060
Benq 0104
Beon 0034, 0037, 0040
Best 0010
Bestar 0010, 0034, 0040 Binatone 0026, 0114
Blue Sky 0028, 0040 Blue Star 0036
Boots 0026, 0114
BPL 0036, 0040
Brandt 0033,0038,0042, 0044
Brinkmann 0040
Brionvega 0023,0034, 0037,0040
Britannia 0026, 0113, 0114
Bruns 0023
BTC 0028
Bush 0027, 0028, 0030, 0032, 0034, 0036, 0037, 0039, 0040, 0065, 0078, 0114
Capsonic 0025
Carena 0040
Carrefour 0032
Cascade 0027, 0039, 0040
Casio 0106
Cathay 0034,0037,0040 CCE 0114
Centurion 0034,0037, 0040
Century 0023
CGE 0010,0017
Cimline 0027, 0039
City 0027, 0039
Clarivox 0037
Clatronic 0010, 0017, 0025, 0026, 0027, 0028, 0034, 0035, 0039, 0040, 0114
CMS 0113
CMS Hightec 0114
Concorde 0027, 0039
Condor 0010, 0026, 0034, 0035, 0039, 0040, 0113
Contec 0026,0027,0032, 0039,0113
Continental Edison 0033
Cosmel 0027, 0039
Crosley 0017, 0023
Crown 0010, 0017, 0027, 0034, 0035, 0037, 0039, 0040
CS Electronics 0026, 0028, 0113
CTC Clatronic 0029 Cybertron 0028
Daewoo 0013,0026, 0027,0034,0039,0040, 0054,0064,0091,0113, 0114
Dainichi 0028, 0113
Dansai 0025,0034,0037 0040,0113,0114
Dantax 0010, 0037
Dawa 0040
Daytron 0027, 0039
De Graaf 0030
Decca 0026,0034,0037, 0040,0114
Denver 0098, 0103
Desmet 0034, 0037, 0040
Diamant 0040 Diamond 0113
Dixi 0027,0034,0037, 0039,0040,0114
DTS 0027,0039
Dual 0026, 0040, 0114
Dual-Tec 0026, 0027
Dumont 0023,0026, 0029,0114
Dux 0037
Dynatron 0034, 0037, 0040
Elbe 0010, 0018, 0040, 0114
Elcit 0023
Electa 0036
ELECTRO TECH 0027
Elin 0026,0034,0037, 0039,0040,0113
Elite 0028, 0034, 0040
Elman 0029
Elta 0027, 0039, 0113
Emerson 0010, 0023, 0040
Epson 0101
Erres 0034, 0037, 0040
ESC 0114
Etron 0027
Eurofeel 0114, 0025
Euroline 0037
Euroman 0010,0025, 0026,0034,0040,0113, 0114
Europhon 0026, 0029, 0034, 0040, 0113, 0114
Expert 0041
Exquisit 0040
Fenner 0027, 0039
Ferguson 0033, 0037, 0038, 0042
Fidelity 0026,0030, 0040.0113
Filsai 0114
Finlandia 0030
Finlux 0017, 0023, 0026, 0029, 0034, 0037, 0040, 0114
Firstline 0026,0027, 0034,0039,0040,0113, 0114
Fisher 0010,0023,0026, 0032,0035,0114
Flint 0034, 0040
Formenti 0017, 0023, 0024, 0026, 0037, 0113
Formenti/Phoenix 0113
Fortress 0023, 0024
Fraba 0010, 0040
Friac 0010
Si la télécommande ne fonctionne pas avec les codes préréglés suivants, elle peut eventuellement fonctionner avec les codes préréglés pour les BD, DVR (BDR, HDR).
Pioneer 2246, 2215
AEG 2093
Aiwa 2054
Akai 2001
Akura 2091
Alba 2027, 2038, 2048
Amitech 2093
AMW 2094
Awa 2094
Bang & Olufsen 2096
Bellagio 2094
Best Buy 2090
Brainwave 2093
Brandt 2017, 2044
Bush 2027, 2048, 2082
2089
Cambridge Audio 2085
CAT 2087, 2088
Centrum 2088
CGV 2085, 2093
Cinetec 2094
Clatronic 2089
Coby 2095
Conia 2082
Continental Edison
2094
Crown 2093
C-Tech 2086
CyberHome 2008, 2037
Daenyx 2094
Daewoo 2035, 2059, 2093, 2094
Daewoo International 2094
Dalton 2092
Dansai 2084, 2093
Daytek 2010, 2033, 2094
Dayton 2094
DEC 2089
Decca 2093
Denon 2066, 2068
Denver 2069, 2089
2091, 2095
Denzel 2083
Diamond 2085, 2086
DK Digital 2034
Dmtech 2000
Dual 2083
DVX 2086
Easy Home 2090
Eclipse 2085
Electrohome 2093
Elin 2093
Elta 2047, 2093
Enzer 2083
Finlux 2085, 2093
Gericom 2050
Global Solutions 2086
Global Sphere 2086
Goodmans 2027, 2070, 2089
Graetz 2083
Grundig 2053
Grunkel 2093
H&B 2089
Haaz 2085, 2086
HiMAX 2090
Hitachi 2015, 2083, 2090
Innovation 2002
JVC 2024, 2041, 2057
Kansai 2095
Kennex 2093
Kenwood 2051
KeyPlug 2093
Kiiro 2093
Kingavon 2089
Kiss 2083
Koda 2089
KXD 2090
Lawson 2086
Lescon 2084
Lenco 2089, 2093
LG 2016, 2020, 2040
2043, 2065, 2076
Life 2002
Lifetec 2002
Limit 2086
Loewe 2056
LogicLab 2086
Magnavox 2089
Majestic 2095
Marantz 2062
Marquant 2093
Matsui 2044
Mecotec 2093
Medion 2002
MiCO 2085
Micromaxx 2002
Microstar 2002
Minoka 2093
Mizuda 2089, 2090
Monyka 2083
Mustek 2006
Mx Onda 2085
Naiko 2093
Neufunk 2083
Nevir 2093
NU-TEC 2082
Onkyo 2072
Optim 2084
Optimus 2004
Orava 2089
Orbit 2094
Orion 2061
P&B 2089
Pacific 2086
Si la télécommande ne fonctionne pas avec les codes prérogliés suivants, elle peut eventuellement fonctionner avec les codes prérogliés pour les DVD, DVR (BDR, HDR).
Pioneer 2247, 2248
Denon 2212, 2213, 2214
Hitachi 2209, 2210, 2211
JVC 2192, 2193, 2195.
2196, 2197, 2198
Kenwood 2109
LG 2188, 2189
Marantz 2204, 2205
Mitsubishi 2202, 2203
Onkyo 2191
Panasonic 2179, 2180
2181
Philips 2182
Samsung 2184
Sharp 2206, 2207, 2208
Sony 2185, 2186, 2187
2194
Toshiba 2190, 2164
Yamaha 2199, 2200,
2201
DVR (BDR, HDR)
Si la télécommande ne fonctionne pas avec les codes prérgélés suivants, elle peut eventuellement fonctionner avec les codes prérgélés pour les DVD, BD.
Pioneer 2238, 2239, Panasonic 2165, 2171
2240, 2241, 2242, 2243,
2244.2245
Panasonic 2165, 2171
Sharp 2169, 2177
Toshiba 2176
Sony 2170, 2173, 2174
2175, 2178
Toshiba 2176
Magnétoscope
Pioneer 1077
Adyson 1017
Aiwa 1000, 1001, 1002
Akai 1001
Akiba 1007, 1017
Akura 1001, 1007, 1017
Alba 1002, 1003, 1004,
1007, 1017, 1018
Ambassador 1004
Amstrad 1000, 1017,
1018
Anitech 1007, 1017
ASA 1005, 1006
Asuka 1000, 1005, 1006
1007.1017
Audiosonic 1018
Baird 1000, 1001, 1003.
1018
Bang & Olufsen 1019
Basic Line 1002, 1003
1004, 1007, 1017, 1018
Baur 1006
Bestar 1003, 1004, 1018
Black Panther Line
1003, 1018
Blaupunkt 1006
Bondstec 1004, 1017
Bush 1002, 1003, 1007
1017, 1018
Cathay 1018
Catron 1004
CGE 1000, 1001
Cimline 1002, 1007, 1017
Clatronic 1004, 1017
Condor 1003, 1004, 1018
Crown 1003, 1004, 1007, ESC 1003, 1018
1017, 1018 Etzuko 1007, 1017
Daewoo 1003, 1004
1018
Dansai 1007, 1017, 1018
Dantax 1002
Daytron 1003, 1018
De Graaf 1006
Decca 1000, 1001, 1006
Denko 1017
Dual 1001, 1027, 1018
Dumont 1000, 1006
Elbe 1018
Elcatech 1017
Elsay 1017
Elta 1007, 1017, 1018
Emerson 1017
ESC 1003, 1018
Etzuko 1007, 1017
Ferguson 1001
Fidelity 1000, 1017
Finlandia 1006
Finlux 1000, 1001, 1006
Firstline 1002, 1005
1007.1017
Flint 1002
Formenti/Phoenix 1006
Frontech 1004
Fujitsu 1000
Funai 1000
Galaxy 1000
GBC 1004, 1007
GEC 1006
Geloso 1007
General 1004
General Technic 1002
GoldHand 1007, 1017
Goldstar 1000, 1015
Goodmans 1000, 1003, 1004, 1005, 1007, 1017, 1018
Graetz 1001
Granada 1006
Grandin 1000, 1003, 1004, 1005, 1007, 1017, 1018
Grundig 1006,1007
Hanseatic 1005, 1006, 1018
Harwood 1017
HCM 1007, 1017
Hinari 1002, 1007, 1017, 1018
Hisawa 1002
Hitachi 1000, 1001, 1006, 1012
Hypson 1002, 1007, 1017, 1018
Impego 1004
Imperial 1000
Inno Hit 1003, 1004, 1006, 1007, 1017, 1018
Innovation 1002
Interbuy 1005, 1017
Interfunk 1006
Intervention 1000, 1018
Irradio 1005, 1007, 1017
ITT 1001
ITV 1003, 1005, 1018
JVC 1001, 1013
Kaisui 1007, 1017
Karcher 1006
Kendo 1002, 1003, 1004, 1017
Korpel 1007, 1017
Kyoto 1017
Lenco 1003
Leyco 1007, 1017
LG 1000, 1005, 1016
Lifetec 1002
Loewe Opta 1005, 1006
Logik 1007, 1017
Lumatron 1003, 1018
Luxor 1017
M Electronic 1000
Manesth 1007, 1017
Marantz 1006
Mark 1018
Matsui 1002, 1005
Matsushita 1000, 1006
Mediator 1006
Medion 1002
Memorex 1000, 1005
Memphis 1007, 1017
Micromaxx 1002
Microstar 1002
Migros 1000
Multitech 1000, 1004, 1006, 1007, 1017
Murphy 1000
NEC 1001
Neckermann 1001, 1006
NEI 1006
Nesco 1007, 1017
Nikkai 1004, 1017, 1018
Nokia 1001, 1018
Nordmende 1001
Oceanic 1000, 1001
Okano 1002, 1017, 1018
Orion 1002
Orson 1000
Osaki 1000, 1005, 1007, 1017
Otto Versand 1006
Palladium 1001, 1005, 1007, 1017
Panasonic 1010
Pathe Marconi 1001
Perdio 1000
Philco 1017
Philips 1006, 1012, 1019
Phonola 1006
Portland 1003, 1004, 1018
Prinz 1000
Prefex 1007
Proline 1000
Prosonic 1002, 1018
Pye 1006
Quelle 1000, 1006
Radialva 1017
Radiola 1006
Rex 1001
RFT 1004, 1006, 1017
Roadstar 1003, 1005, 1007, 1017, 1018
Royal 1017
Saba 1001
Saisho 1002, 1007
Samsung 1008
Samurai 1004, 1017
Sansui 1001
Saville 1018
SBR 1006
Schaub Lorenz 1000, 1001
Schneider 1000, 1002, 1003, 1004, 1005, 1006
1007, 1017, 1018
SEG 1007, 1017, 1018
SEI-Sinudyne 1006
Seleco 1001
Sentra 1004, 1017
Sentron 1007, 1017
Sharp 1009
Shintom 1007, 1017
Shivaki 1005
Siemens 1005
Silva 1005
Silver 1018
Sinudyne 1006
Solavox 1004
Sonneclair 1017
Sonoko 1003, 1018
Sontec 1005
Sony 1011
Standard 1003, 1018
Stern 1018
Sunkai 1002
Sunstar 1000
Suntronic 1000
Sunwood 1007, 1017
Symphonic 1017
Taisho 1002
Tandberg 1018
Tashiko 1000
Tatung 1000, 1001, 1006
TCM 1002
Teac 1018
Tec 1004, 1017, 1018
Teleavia 1001
Telefunken 1001
Teletech 1017, 1018
Tenosal 1007, 1017
Tensai 1000, 1005, 1007, 1017
Tevion 1002
Thomson 1001, 1015
Thorn 1001
Tokai 1005, 1007, 1017
Tonsai 1007
Toshiba 1001, 1006, 1014
Towada 1007, 1017
Towika 1007, 1017
TVA 1004
Uher 1005
Ultravox 1018
United Quick Star 1003, 1018
Universum 1000, 1005, 1006
Videon 1002
Weltblick 1005
Yamishi 1007, 1017
Yokan 1007, 1017
Yoko 1004, 1005, 1007, 1017
Décodeur satellite
Pioneer 6096, 6095, 6080, 6176, 0196
@sat 6127
@Sky 6114
ABsat 6056
Acoustic Solutions 6093
ADB 6050
Akai 6090
Akura 6104
Alba 6052, 6076, 6056, 6093
Allsat 6090
Alltech 6056
Allvision 6128, 6114, 6075
Amitronica 6056
Ampere 6132, 6137
Amstrad 6132, 6137, 6112, 6056, 6078, 6119
Anglo 6056
Ankaro 6056
Ansonic 6121
Anttron 6076
Apollo 6052
Apro 6108
Arcon 6068
Arcus 6069
Armstrong 6090
Arnion 6127
ASA 6106
Asat 6090
ASCI 6089,6114
ASLF 6056
AssCom 6096
Astra 6131, 6056
Astratec 6144, 6145
Astrell 6078
Astro 6053, 6112, 6131, 6076, 6122, 6091, 6098, 6119
Atlanta 6121
Atsat 6127
AtSky 6114
Audioline 6108
Audioton 6076
Austar 6050
Avalon 6137
Axil 6120, 6062, 6121
Axis 6143
Axitronic 6104
B.net 6108
B@ytronic 6106,6075
BELL 6191
Balmet 6062
Beko 6052
Belson 6121
Big Sat 6062
Black Diamond 6093
Blaupunkt 6053
Blue Sky 6056
Boca 6132, 6056, 6128
6061, 6133, 6113, 6063, 6064
Bodner & Mann 6070
Boshmann 6120, 6123
Boston 6103
Brainwave 6107, 6108
British Sky
Broadcasting 6086
Broco 6056
BskyB 6086
BT 6071
Bubu Sat 6056
Bush 6130, 6093, 6140, 6104, 6108, 6144, 6077, 6066, 6141, 6058
Cambridge 6112
Canal Digital 6096
CanalSatellite 6096, 6095,6154,6153
Canal+6096,6153
CGV 6120, 6059
Cherokee 6070
Chess 6089, 6056, 6114, 6104
CityCom 6105,6131, 6128,6055,6068,611
Clark 6076
Classic 6108
Clatronic 6120
Clayton 6104
Clemens Kamphus 6137
Cobra 6137
Colombia 6132
Columbia 6132
Comag 6132,6128,6061 6075,6120,6133,6113 6065,6135,6063,6064
Comsat 6120
Condor 6131, 6129
Connexions 6137
Conrad 6132,6112, 6083,6131
Coship 6062, 6108
Crown 6093
Cryptovision 6052
CS 6123
Cyfrowy Polsat 6096
Cyrus 6090
D-box 6151
Daewoo 6143, 6056, 6071, 6144, 6058
Dantax 6104
Deltasat 6068
Denver 6121
Digatron 6107
Digenius 6105, 6102
Décodeur satellite (Combé SAT/PVR)
@sat 6127
Allvision 6075
Atsat 6127
B@ytronic 6106, 6075
Boca 6063
BskyB 6086
Bush 6130
CanalSatellite6154
Comag 6075, 6063
Daewoo 6058
Digifusion 6145
Digihome 6094
DigiQuest 6127
Digital 6063
DMT 6068
Edition 6123
eMTech 6072
GbsAT 6072
Gecco 6075
Globo 6075
Goodmans 6130, 6094
Hirschmann 6106, 6075
Humax 6117, 6118
Huth 6068
Hyundai 6068
Kathrein 6148
LaSAT 6106
LG 6068
Luxor 6141
Maximum 6114
Mediacom 6074
MediaSat 6153
Medion 6106, 6075
Microstar 6068
Morgan's 6075
MySky 6087, 6088
NEOTION 6114
Nichimen 6130
Nokia 6082
Opentel 6075
Orbis 6075
Pace 6087, 6149
Skymaster 6068
Skypex 6106
Skyplus 6075, 6106, 6114
Stream System 6127
Sumin 6075
Sunny 6127
Targa 6067
TechniSat 6092, 6099
Technosonic 6130
Telestar 6092, 6099
Thomson 6086, 6141
TNT SAT 6134
Topfield 6074
Viasat 6149
Visiosat 6130, 6067
Wisi 6106
Xoro 6067
Xtreme 6127
Zehnder 6068, 6075,
6125
Panasonic 6054
Philips 6139, 6153
Pilotime 6154
Pixx 6067
Proscan 6110
Rebox 6072
Sagem 6134
Samsung 6149, 6074,
6073
Sat Control 6127
Schneider 6074
Schwaiger 6106, 6068, 6075, 6063
Sedea Electronique
6074
Serd 6075
Sharp 6094
SilverCrest 6063
SKY 6086, 6088, 6087
SKY Italia 6088
Sky XL 6075
Viasat 6149
Visiosat 6130, 6067
Wisi 6106
Xoro 6067
Xtreme 6127
6125
Décodeur cable
Pioneer 0197,6081
ABC6142
ADB 6051
Auna 6051
Austar 6152
Bell & Howell 6142
Birmingham Cable
Communications 6152
Cablecom 6146
Fosgate 6152
France Telecom 6136
Freebox 6150
General Instrument
6152, 6142
Humax 6100, 6124
Jerrold 6152, 6142
Kabel Deutschland
6100
Macab 6136
Madritel 6051
Magnavox 6142
Memorex 6116
Motorola 6152
Nokia 6084
Noos 6136
NTL 6152, 6097
Optus 6152
Orange 6136
Pace 6097
Panasonic 6116
Paragon 6116
Philips 6136, 6146
Pulsar 6116
Runco 6116
Sagem 6136
Salora 6116
Samsung 6097, 6116
Scientific Atlanta 6101
StarHub 6152
Supercable 6152
Telewest 6101
Thomson 6146, 6100
Toshiba 6116
UPC 6146
US Electronics 6152
Virgin Media 6097, 6101
Visiopass 6136
Zenith 6116
Ziggo 6084
Décodeur cable (Combiné Câble/PVR)
Freebox 6150
Humax 6124, 6100
Nokia 6084
Scientific Atlanta 6101
Telewest 6101
Thomson 6146
UPC 6146
Virgin Media 6101
CD (SACD)
Pioneer 5065, 5066
AKAI 5043
Asuka 5045
Denon 5019
Fisher 5048
Goldstar 5040
Hitachi 5042
Kenwood 5020, 5021,
5031
Luxman 5049
Marantz 5033
Onkyo 5017, 5018, 5030
5050
Panasonic 5036
Philips 5022, 5032, 5044
RCA 5013, 5029
Roadstar 5052
Sharp 5051
Sony 5012, 5023, 5026
5027, 5028, 5039
Platine à cassette numérique
Pioneer 5069
Décovrez les nombreux avantages offerts en enregistrant votre produit en ligne maintainant sur http://www.pioneer.fr (ou http://www.pioneer.eu).
PIONEER CORPORATION
1-1, Shin-ogura, Saiwai-ku, Kawasaki-shi, Kanagawa 212-0031, Japan
Tous droits de reproduction et de traduction réservés.