APOLLO-R - Platine vinyle REGA - Notice d'utilisation et mode d'emploi gratuit
Retrouvez gratuitement la notice de l'appareil APOLLO-R REGA au format PDF.
| Intitulé | Description |
|---|---|
| Type de produit | Lecteur CD haut de gamme |
| Caractéristiques techniques principales | Lecture de CD, compatibilité avec CD-R et CD-RW, sortie numérique optique et coaxiale |
| Alimentation électrique | 230V AC, 50Hz |
| Dimensions approximatives | 430 mm x 320 mm x 90 mm |
| Poids | 6 kg |
| Compatibilités | Compatible avec amplificateurs et systèmes audio REGA et autres marques |
| Fonctions principales | Lecture de CD, accès direct aux pistes, affichage des informations de piste |
| Entretien et nettoyage | Nettoyage régulier de la lentille et du châssis, éviter l'humidité |
| Pièces détachées et réparabilité | Disponibilité de pièces détachées auprès des distributeurs agréés |
| Sécurité | Utiliser sur une surface stable, éviter l'exposition à l'eau, respecter les consignes électriques |
| Informations générales | Produit fabriqué au Royaume-Uni, garantie de 2 ans, recommandé pour les audiophiles |
FOIRE AUX QUESTIONS - APOLLO-R REGA
Téléchargez la notice de votre Platine vinyle au format PDF gratuitement ! Retrouvez votre notice APOLLO-R - REGA et reprennez votre appareil électronique en main. Sur cette page sont publiés tous les documents nécessaires à l'utilisation de votre appareil APOLLO-R de la marque REGA.
MODE D'EMPLOI APOLLO-R REGA
Afin d'écarter le risque d'incendie ou de chic électrique, n'expose pas cet apparéil à l'humidité. N'ouvre pas le boîtier. Toutte intervention doit être effectuee par un agent Rega.
Le composant laser dans ce produit est capable d'émettre des rayons excédant les limites Classe 1


Cet apparéil est classé comme PRODUIT LASER CLASSE 1

Cette étiquette se trouve à l'intérieur de l'appareil.
INTRODUCTION
A notre connaissance il n'y a jamais eu que cinq sociétés multinationales possédant las technologies nécessaires au développement des logiciels incroyablement complexes qui seront les lecteurs CD. Le développement des logiciels et des microprocesseurs destinés aux lecteurs CD s'est ralenti d'une manière générale dans les années '90, les concepteurs préférent orienter leurs efforts vers les lecteurs DVD et d'autres formats avances.
Rega et bien d'autres fabricants spécialisés dans la HiFi dépendaient totalement de sociétés comme Sony et Phillips pour les mécaniques et leurs systèmes de gestion. En 2003, Sony a arrêté la fabrication déclenchant parmi les industriels de la HiFi des recherches frénétiques pour couver des solutions de remplacement. Beaucoup de fabricants se sont rabattus sur des fournisseurs en Extreme-Orient.
C'est après de longues recherches que Rega a trouve une société britannique de développement informatique qui était sur le point de se lancer dans la HiFi avec un système de gestion très avancé même lors de son enfance.
Rega est le seul fabricant à travailler sur ce nouveau système de gestion. Gracé à l'amélioration constante de la puissance des processeurs et de la capacité des mémoires, il a été possible de doter cet apparéil d'une mémoire élorme. Cela permet de respecter scrupuleusement le protocole du " Red Book" quant à la recupération des données sans compromètement les performances musicales. Tous les systèmes de gestion précédents se trouvaient pénalisés par leur mémoire et leur processeur limités.
Le nouveau processeur Rega de conception Britannique bénéficia d'une mémoire de plus de 20MB avec une capacité de traitement numérique de 32 bit. Rega a utilisé cette puissance informatique pour assurer deailles performances musicales.
Nous espérons que ce lecteur CD très spécial vous apporterera beaucoup de plaisir. Nous avons passé beaucoup de temps à le créé, utilisant toute notre expérience de fabricant d'appareils HiFi longue de presque 40 ans.
INNOVATIONS TECHNIQUES
L' Apollo-R est la dernière version du lecteur de CD Rega désormais incontournable.
Rega fut le dernier des grands constructeurs de matériel HiFi àsorting un lecteur CD. Nous avons profité de ce début pour observer l'évolution de ce support.
Nous avons donc decide de proposer notre propre produit inspiré par notre philosophie concernant la musicalité, la fiabilité et la rapport qualité/prix.
Le lecteur CD Apollo-R a une sonorité unique, en harmonie avec les autres produits de notre gamme, et en contraste avec celle de la majorité de ses concurrents.
L'Apollo-R conserve pour plusieurs raisons le système de chargement par le dessus désormais bien connu. Tout d'abord les tirôirs motorisés sont vulnérables à l'usure et par conséquent représentant une source de pannes. Ensuite l'emplacement choisi pour le système de transport permet aux ingénieurs d'acceder directement à la partie la plus sensible de tout lecteur CD, la diode laser.
INSTALLATION
Assurez-vous que la tension de votre Apolio-R (indiquée sur l'étiquette arrrière) correspond bien à celle du secteur dans cette région.
L'APollo-R fonctionnera bien posé sur la plupart des supports tels qu'étagère, table, meuble HiFi ou support mural.
L'emplacement de votre Apollo-R doit laisser libre accès au capot et au compartment de chargement, ici pour évier de rayer le disque en l'installant.
CORDONS DE MODULATION
Un cordon de modulation standard est tout à fait suffisant pour obtenir des performances correctes de votre Apollo-R.
Les audiophiles souhaiteront peut-être le remplacer ultérieurement par un cordon plus performant tel que le Rega "Couple".
CONNEXIONS DE SORTIE
Les connexions se font par connecteurs cinch (RCA) et par la connexion optique "Toslink". Les prises sur les apparèils Rega sont clairment indiquées en rouge, blanc et noir.
Line Out : (Sortie Ligne) sortie vers un amplificateur audio.
Right: (droite) rangée inférieure de prises, repère ROUGE.
Left: (gauche) rangée supérieure de prises, repère BLANC.
ATTENTION: LE CANAL GAUCHE SUR CERTAINS AMPLIS ET CORDONS DE MODULATION EST REPERE EN NOIR.
Digital Dut: Sortie numérique vers convertisseur, processeur, DAT, Mini-Disque, repere noir. (V érifiez que le cordon de connexion est compatible avec la norme coaxiale 44,1k S/PDIF)
Optical Out:Sortie optique Toslink vers convertisseur etc.
BRANCHEMENTS ARRIERES


UTILISATION COURANTE
MISE EN ROUTE
La mise en route s'effectue en appuyant sur le bouton situé à gauche de la façon. La diode rouge s'allume et l'écran d'affichage indique "APOLLO-R".
Si un disque est resté dans l'appareil, l'écran affichera "INITIALISING"
S'il n'y a pas de disque, la mention "NO DISC" est affichée.

CHARGEMENT D'UN DISQUE
Allumez l'appareil - avec capot fermé, "RPOLLO-R" s'affiche.
Duvrez le capot et placez le CD en le clipsant sur I'axe central.
Fermez le capot et attendez l'initialisation du disque (cette opération peut prendre jusqu'à 12 secondes). La machine vérifie le format (MP3, WMA, CDA ou WAV). L'Apollo-R interdit l'accès aux fonctions de la télécommande et des touches de la façade pendant cette opération jusqu'à l'affichage de "track I total time".
L'afficheur détaillé le contenu du disque.
Les CDA afficheront: nombre total des plages, durée totale du disque, symbole CD.
Les MP3 afficheront: nombre total des plages, nombre total des albums, symbole
Les WMA afficheront : nombre total des plages, nombre total des albums, symbole 'WIMR' suivi de Plage 1 Album 1 et zéro secondes.
Mélange de MP3 et WMA afficheront : nombre total de plages, nombre total des albums, symbole ‘TIX’ suivi de Plage 1 Album 1 et zéro secondes.
L'Apollo-R peut:gérer jusqu'à 999 plages et 99 albums en mode MP3 ou WMA. Il convient d'en tener compte lors du gravage de vos disque MP3 ou WMA. Le calendrier musical est actif en mode CDA (Red Book) mais ne I'est pas en mode WMA, MP3 et MIX.
LECTURE ET PAUSE
Après l'initialisation du disque, appuyez sur la touche PLAY sur la façon ou sur la télécommande. La lecture commence à partir de la plage n°1 du ler album sur le disque quel que soit son contenu.
L'ecran affichera:
Le symbole "Play" pour indiquer que la lecture a commencé.
Les CDA feront afficher le numero de plage et le compteur hora.
Les MP3 et WMA feront afficher le nom de la plage, son numero et le compteur hora. Le numero (index) de l'album sera également affiche.
enregistr
NB: Si vous utilisez des CDR, ils ne doivent pas etre
és à une vitesse excédant 8x. Au-delà, nous ne pouvons garantie tullidiblité.
Une fois le CD lancé, vous pouvez acceder à la fonction "Pause" en appuyant sur la touche PAUSE sur la télécommande ou en appuyant sur la touche PLAY/PAUSE sur la façon de l'appareil. La fonction "Pause" maintain le position sur la plage jusqu'à ce que l'on appuie sur la touche PLAY sur la télécommande ou sur l'appareil.
Lorsque la fonction "Play" est reactivée l'écran affiche à nouveau toutes les informations concernant la plage en cours et l'appareil se remet à dire à partir de l'endetroit où il s'était arrêté.
STOP
Une pression sur la touche STOP de la télécommande ou sur la façade du lecteur annule l'opération en cours et le fait revenir sur la plage I de l'album I.
En mode "Stop", toutes les autres fonctions sont interdites.
PLAGE PRÉCÉDENTE
Appuyez sur cette touche pendant la lecture pour redémarrer la plage en cours à partir du début. Une deuxième pression rapide enverra la lecture au début de la plage précédente.
PLAGE SUIVANTE
Appuyez sur cette touche pendant la lecture pour selectionner la plage suivante a partir du début. Une deuxième pression enverra la lecture une plage plus loin, etc.... Lorsque vous appuyez sur les touches "Plage" en mode Pause ou en mode Stop, vous pouvez selectionner une plage spécifique. Une pression sur "Play" lance cette plage a partir du début.
FUNCTIONS SUPPLEMENTAIRES
Sur télécommande uniquement

*Fonctions d' amplificateur
FONCTIONS DE LA TELECOMMANDE
La télécommande fournie avec cet apparéil est spécifique à ce modèle et indispensable pour acceder aux fonctions avances.
La télécommande universelle Rega "Solar" peut gérer toutes les fonctions de base de l'Apollo-R.
PLAY, PAUSE, STOP, PLAGE PRECEDENTE et PLAGE SUIVANTE
Les touches PLAY et PAUSE sur la télécommande correspondant à la touche PLAY/PAUSE sur la façon mais ont été séparées.
Les touches STOP, PLAGE PRECEDEDENTE, PLAGE SUIVANTE fonctionnement de la même façon que les touches correspondantes sur la façade. (Voir pages 8 et 9)
RECHERCHE AVANT, RECHERCHE ARRIERE
Une pression sur la touche RECHERCHE AVANT / RECHERCHE ARRIERE en mode lecture fait defiler le disque à haute vitesse (tout en coupant la sortie audio) permettant de tracer un endroit spécifique sur la plage.
Pour arreter la recherche, appuyez à nouveau sur le touche RECHERCHE AVANT / RECHERCHE ARRIERE.
ALBUM SUIVANT, ALBUM PRECEDENT
Appuyez sur ALBUM UP/ALBUM DOWN pour passer à l'album précédent ou suivant lorsque vous écoutez un disque MP3 ou WMA.
SHUFFLE (Mode aléatoire)
Pour lire les plages dans un ordre aléatoire, appuyez une fois sur la touche SHUFFLE suivi de PLAY.
Pour lire les plages dans un ordre aléatoire en mode "Play", appuyez une fois sur la touche SHUFFLE. La mention "RANDOM" s'affichera. Les plages sont alors lues dans un ordre géné par l'appareil.
Pour annuler, appuyez à nouveau sue la touche SHUFFLE. La lecture se poursuit dans l'ordre initial une fois la plage en cours terminée.
REPEAT (Rép étition)
Pour repeter le disque, appuyez sur REPEAT. La mention "REP RLL" apparait brievement et la mention REPEAT s'affiche.
Pour repeter une plage, appuyez deux fois sur REPEAT. La mention "REP TRACK" apparait brievement et la mention REPEAT 1 s'affiche.
Pour répéter un album (en format MP3 et WMA), appuyez trois fois sur REPEAT. La mention "REP RLBUIT" apparait brievement et la mention REPEAT s'affiche.
De nouvelles pressions sur la touche REPEAT fera basculer entre les différentes fonctions de répétition.
N.B. Il est très important de laisser à l'APOLLO-R le temps nécessaire à l'accompilissement de sa t âche lorsque vous sélectionnez une nouvelle ou différente fonction.
L'AFFICHAGE PENDANT LE PASSAGE D'UN DISQUE
Pendant la lecture d'un disque, l'écran affiche le symbole PLAY, le nombre de la plage en cours, le temps écoulé et le calendrier musical.
Les numeros contenus dans le calendrier musical disparaisent après la fin de la plage correspondante.
La touche TEXT de la télécommande sert à afficher des informations sur les fichiers WMA et MP3.


CALENDRIER MUSICAL
Le calendrier musical affiche le numéro de la plage en cours. Par exemple si la plage en cours est le n°1, le calendrier musical n'affiche que I. Le calendrier musical n'est actif que lors de la lecture des CDA.
POUR ETEINDRE L'AFFICHEUR
A chaque pression sur la touche DISPLAY, l'écran allumé s'éteint et l'écran éteint se rallume.
AFFICHAGE DU TEMPS RESTANT
Pour vérifier le temps restant de la plage en cours, appuyez sur la touche TIME pendant la lecture du CD. Appuyez à nouveau sur TIME pour revenir à l'affichage du temps écoulé.

N.B. La fonction TIME ne s'applique pas aux fichiers MP3 et WMA
CREATION D'UN PROGRAMME
Numero de memoire
02
01
PROGRAM

Numéro de plage programme

La fonction "Program" permet la lecture de jusqu'à 99 plages dans l'ordre choisi par l'opérateur.
1) Appuyez sur la touche PROGRAM de la télécommande pour creer votre liste. La mention "PROGRAM" s'affiche.
2) Lorsque le premier numero de mémoire s'affiche, entrez le numero de la plage souhaïée: vous pouvez continuer jusqu'à 99 fois.
3) Utilisez les touches TRACK NEXT et TRACK PREVIOUS pour entrer les numeros. Appuyez sur OK deux fois après chaque selection.
4) Si vous vous trompez de numero de plage, vous pouvez l'effacer à l'aide de la touche CLEAR. Cela annulera la derniere plage saisie.
5) Appuyez à nouveau sur PROGRAM pour terminer la création.
6) Lancez votre programme en appuyant sur PLAY. L'écran affiche le nombre de la première plage de votre programme.
7) Vous pouvez rajouter des plages en appuyant à nouveau sur PROGRAM. Cela est possible lorsque l'Apollo-R est en train d'executer votre programme ou s'il est à l'arrêt.
8) Pour effacer vos programmes, il faut que l'Apollo-R soit arrêté. Appuyez alors sur la touche CLEAR.
N.B. La fonction PROGRAM ne s'applique pas aux fichiers MP3, WMA et MIX.
MANIPULATION DES CD
Afin d'éviter l'encrassage de vos disques, ne touche qu'aux bords. Ne touche jamais leur surface; les huiles naturelles de la peau peuvent empêcher la lecture fidèle du disque par le laser.
N'exposez pas vos disques à la lumière directe du soleil, ni à des sources de chaleur telles que des apparèils électriques ou dans une voiture en stationnement. Une chaleur excessive peut boiler le disque.
N'utilsez aucun liquide de nettoyage ni bombe anti-statique. Ces derniers peuvent endommager et le disque et le lecteur.
Gardez vos disques dans leur étui lorsque vous ne les écoutez pas. Cela évitera les rayures.
VEUILLEZ NOTER
La trappe de ce lecteur CD possède une couche protectrice de verni afin d'augmenter la brillance et pour éviter les égratignures. Dans certains cas, il arrive que la trappe "transpire" à l'intérieur de son sachet en plastique, faisant des traces sur celle-ci. On peut facilement les gammer avec un torchon doux. On peut également utiliser un produit de nettoyage polyvalent destiné aux meubles pour polir.
ENTRETIEN DU LECTEUR
ATTENTION
Les difficult
ésultant de fausses manoeuvres ne sont pas couvertes par la garantie.
Ne touchez pas à la lentille ni aux parties électroniques à l'intérieur du lecteur. Il s'agit d'un apparéil optique très sensible et fragile. L'encrassage de la lentille peut également empêcher l' apparéil de fonctionner normalement.
Ne tentez pas de nettoyer la lentille ni de lubrifier votre lecteur. Les liquides et chiffons s'agmpd la lentille. Your revendeur Rega pourra intervenir pour ces op erations mais en utilisation normale yours Apolo-R n'aura besoin d'aucune intervention.
Ne laissiez pas le capot ouvert. La poussière pourrait alors pénétrer à l'intérieur jusqu'à la lentille.
N'introduisezaucunobjet à l'intérieur devotreclecteur.S'ilarrivaitqu'unobjet tombe dansl'appareil,eteignez-le,débranchez-le du secteur etappelez revendeur Rega. N'ouvre surtoutpas beoitier ni"repêchez"à l'intérieur àlaide d'un objet point!
Si l'appareil ne va pas etree utilise pendant quelque temps, nous vous recommendons de le débrancher. Pour ce faire, tirez sur la fiche, pas sur le cordon.
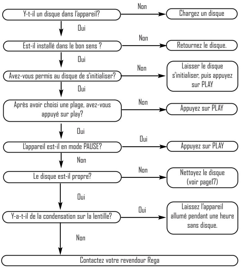
EN CAS DE PROBLEMES
(aucune alimentation, la diode sur la façade ne sallume pas)

EN CAS DE PROBLEMES
(appareil sous tension mais:aucun signal)

EN CAS DE PROBLEMES

(apparéil sous tension, la diode et l'écran s'allument mais aucun signal)
Apollo-R SPECIFICATIONS
Laser Laser semiconducteur
Longueur d'onde 780nm
Niveau de sortie maximal 2,15V sur impédance mini 10kR
Sortie numérique maxima 0.5V sur impedance mini 75R
Fr équence d'échantillonnage 44,1kHz
Consummation
13.5Watts à 230V (minimum 190V maximum 253V) 50/60Hz
13.5Watts à 115V (minimum 95V maximum 126,5V) 50/60Hz
Dimensions
220(L) x 90 (H) x 315 (P) mm
Volume requis pour installation
220 (L) x 180 (H) x 350 (P) mm
Fusible secteur
230V / 20MM / T250mA L
115V/20MM/T500mA L
Piles requisalegmmhabde
AAA (1.5V) x 2
ATTENTION: LES PILES NE SONT PAS RECHARGEABLES. NE LES BRULEZ PAS - NE LES
DISSEQUZ PAS. ELLES PEUVENT EXPLOSER OU FUIRE.
CARNET DU PROPRIÉTAIRE
(1)
Proprieteaire.
Date d'achat
Revendeur.
(2)
Proprietaire
Date d'achat
Revendeur.
(3)
Proprieteaire
Date d'achat
Revendeur.
(4)
Proprieteaire
Date d'achat
Revendeur.
(5)
Proprieteaire
Date d'achat
Revendeur.
Notice Facile