T4130 - Lave-linge professionnel ELECTROLUX LAUNDRY SYSTEMS - Notice d'utilisation et mode d'emploi gratuit
Retrouvez gratuitement la notice de l'appareil T4130 ELECTROLUX LAUNDRY SYSTEMS au format PDF.
| Type de produit | Sèche-linge professionnel |
| Capacité de charge | 13 kg |
| Dimensions approximatives | H 1 800 mm x L 1 000 mm x P 800 mm |
| Poids | 150 kg |
| Alimentation électrique | 380 V triphasé |
| Puissance | 6 kW |
| Fonctions principales | Séchage à haute efficacité, contrôle de la température, cycles programmables |
| Entretien et nettoyage | Nettoyage régulier du filtre à peluches, vérification des conduits d'évacuation |
| Pièces détachées et réparabilité | Disponibilité des pièces de rechange, manuel de réparation disponible |
| Sécurité | Système de sécurité contre la surchauffe, protection contre les surcharges électriques |
| Compatibilités | Compatible avec les systèmes de lavage Electrolux |
| Informations générales | Conçu pour un usage intensif dans les environnements commerciaux, garantie de 1 an |
FOIRE AUX QUESTIONS - T4130 ELECTROLUX LAUNDRY SYSTEMS
Questions des utilisateurs sur T4130 ELECTROLUX LAUNDRY SYSTEMS
0 question sur cet appareil. Repondez a celles que vous connaissez ou posez la votre.
Poser une nouvelle question sur cet appareil
Téléchargez la notice de votre Lave-linge professionnel au format PDF gratuitement ! Retrouvez votre notice T4130 - ELECTROLUX LAUNDRY SYSTEMS et reprennez votre appareil électronique en main. Sur cette page sont publiés tous les documents nécessaires à l'utilisation de votre appareil T4130 de la marque ELECTROLUX LAUNDRY SYSTEMS.
MODE D'EMPLOI T4130 ELECTROLUX LAUNDRY SYSTEMS
éristiques et points forts
- Panneau de commande Compass Control
- Sélection du programme et démarriage par bouton tournant
- Langage du panneau de contôle modifiable
- Affichage de grande dimension
- Contrôle de l'humidité résiduelle (RMC) pour un séchage précis et une faible consommation énergétique
- Inversion du sens de rotation pour limiter le froissement et l'emmèlement des pieces de linge
Tambour en acier inoxydable - Inversion possible du sens d'ouverture de la porte pour une plus grande ergonomie d'utilisation
- Grande facilité d'accès aux pieces vitales par le dessus et l'arrière pour une maintenance simple et rapide
- Mode de programmation permettant la personnalisation des paramètres tels que températures et refroidissements

Photo non contractuelle
Principales options
- Panneau avant en acier inoxydable
- Systèmes de paiement : système de paiement à pieces, lecteur de carte à puce, connexion paiement centralisé
- Cadre d'empilage pour le montage du T4130 sur le W455H
- Socle en acier inoxydable
- Système de condensation intégré
| Caractéristiques techniques principales | T4130 | T4130C | |
| Capacité, coefficient de remplissage 1:18 | kg/lb | 7.2/16 | 7.2/16 |
| coefficient de remplissage 1:25 | kg/lb | 5.2/12 | 5.2/12 |
| Volume du tambour | litre | 130 | 130 |
| Diamètre du tambour | mm | 575 | 575 |
| Possibilités de chauffageelectricité | kW | 5.1 | 3.0 |
| Consommation* | |||
| Temps total pleine charge | min | 34 | 59 |
| Consommation d'énergie pleine charge | kWh | 2.75 | 3 |
| Evaporation | g/min | 81 | 43 |
| Energie kWh/litre d'eau evaporée | kWh/l | 0.93 | 1.16 |
| * Pour une charge 100 % coton et une humidité initiale de 50 % séchée à 0 %. | |||
| Branchement électric* | T4130 | T4130C | |
| Chauffage Tension | |||
| 220-240V 3AC 50/60 Hz | kW(A) | 5.3 (16) | 3.4 (16) |
| 220-240V 1AC 50/60 Hz | kW(A) | 3.4 (16) | 3.4 (16) |
| 400-440V 3NAC 50/60 Hz | kW(A) | 5.3 (10) | 3.4 (10) |
| Raccordement de vapeur et de gaz | |||
| Sortie d'air | mm | ø 100 | - |
| Air évacué, él. | m³/h | 260 | - |
| Condensat | - | 1/2" | |
| Chute de pression | max. Pa | 50 | - |
| Niveau sonores | |||
| Niveau sonore aérien | dB(A) | <70 | <70 |
| Déperdition calorifique | |||
| % de la puissance installée, max | 15 | 15 | |
| Emballage | |||
| net, kg | 60 | 63 | |
| avec caisse, kg | 67 | 70 | |
| avec boîte, kg | 101 | 101 | |
| Volume emballé | avec caisse, m³ | 0.52 | 0.52 |
| avec boîte, m³ | 0.63 | 0.63 | |
| Accessoires | |||
| Cadre d'empilage pour le montage du T4130 sur le W455H | x | x | |
| Semelle en acier inoxydable | x | x | |
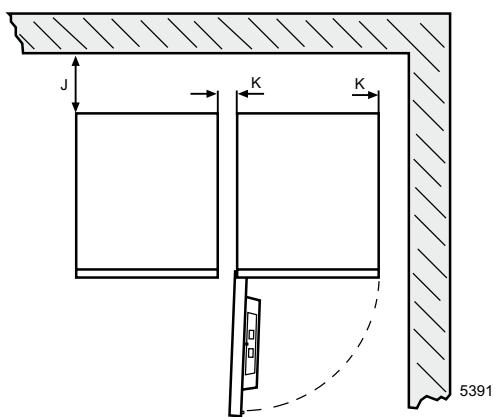
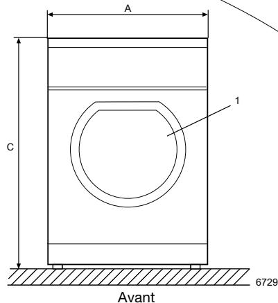
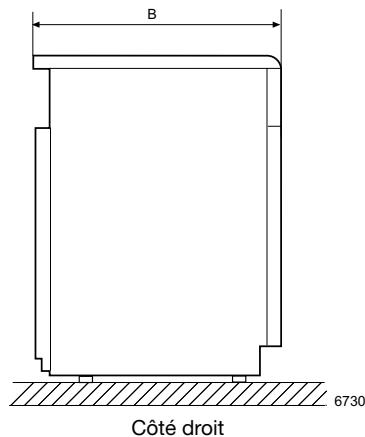
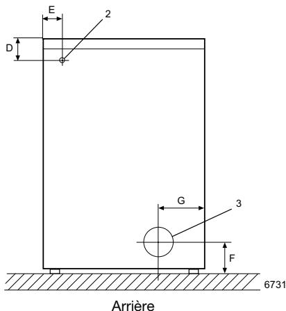
| Dimensions en mm | |||
| A Largeur | 595 | 595 | |
| B Profondeur | 735 | 735 | |
| C Hauteur | 850 | 850 | |
| D | 78 | 78 | 78 |
| E | 78 | 78 | 78 |
| F | 100 | 100 | 100 |
| G | 197 | 197 | 197 |
| H | 235 | 235 | 235 |
| I | 115 | 115 | 115 |
| J | 300 | 300 | 300 |
| K | 70 | 70 | 70 |
| 1 Ouverture de la porte ø 370 | 3 Raccord d'évacuation | ||
| 2 Raccordement électric | 4 Raccord du condensat | ||
- Autres tensions disponibles, voir manuel d'installation.





Notice Facile