COLOREDGE CG275W - Moniteur professionnel EIZO - Notice d'utilisation et mode d'emploi gratuit
Retrouvez gratuitement la notice de l'appareil COLOREDGE CG275W EIZO au format PDF.
| Type de produit | Moniteur professionnel EIZO ColorEdge CG275W |
| Taille de l'écran | 27 pouces |
| Résolution | 2560 x 1440 pixels (QHD) |
| Technologie d'affichage | IPS (In-Plane Switching) |
| Gamme de couleurs | 99% Adobe RGB, 100% sRGB |
| Luminosité | 300 cd/m² |
| Contraste | 1000:1 |
| Temps de réponse | 10 ms |
| Connectivité | DisplayPort, HDMI, DVI-D, USB |
| Alimentation électrique | AC 100-240V, 50/60 Hz |
| Dimensions approximatives | 614 x 571 x 267 mm (avec support) |
| Poids | 11,5 kg (avec support) |
| Fonctions principales | Calibration matérielle, gestion des couleurs, réglage de la luminosité |
| Entretien et nettoyage | Utiliser un chiffon doux et sec, éviter les produits chimiques agressifs |
| Pièces détachées et réparabilité | Disponibilité de pièces de rechange via le service après-vente EIZO |
| Sécurité | Certifications CE, TÜV Rheinland, RoHS |
| Informations générales | Idéal pour les professionnels de la photographie, du design graphique et de l'impression |
FOIRE AUX QUESTIONS - COLOREDGE CG275W EIZO
Questions des utilisateurs sur COLOREDGE CG275W EIZO
0 question sur cet appareil. Repondez a celles que vous connaissez ou posez la votre.
Poser une nouvelle question sur cet appareil
Téléchargez la notice de votre Moniteur professionnel au format PDF gratuitement ! Retrouvez votre notice COLOREDGE CG275W - EIZO et reprennez votre appareil électronique en main. Sur cette page sont publiés tous les documents nécessaires à l'utilisation de votre appareil COLOREDGE CG275W de la marque EIZO.
MODE D'EMPLOI COLOREDGE CG275W EIZO
Manuel d'utilisation
ColorEdge®
CG275W
Moniteur couleur LCD
Important
Veuillez lire attentivement les PRECAUTIONS, ce Manuel d'utilisation ainsi que le Guide d'instaration (tome séparé) afin de vous familiariser avec ce produit et de l'utiliser efficacement et en toute sécurité.
- Veuillez lire le Guide d'installation pour les informations de base, depuis la connexion du moniteur à l'ordinateur jusqu'à son utilisation.
- La dernière version du Manuel d'utilisation est à disposition pour téléchargement sur site web : http://www.eizo.com
Emplacements des étiquettes de sécurité


CAUTION
Hisque de choc échectique. Ne pas ouvrir.
ACHIUNG
Les caractéristiques techniques varient en fonction des régions de commercialisation. Vérifiez que les caractéristiques techniques sont rédigées dans la langue de la région d'achat de l'appareil.
Copyright © 2011 EIZO NANAO CORPORATION Tous droits réservés.
Aucune partie de ce manuel ne peut être reproductive, enregistrée dans un système documentaire ou transmise sous chaque forme et par quelles moyen que ce soit électronique, mécanique ou autre, sans l'autorisation écrite préalable de EIZO NANAO CORPORATION.
EIZO NANAO CORPORATION n'est tenu àaucun engagement de confidentialité sauf en cas d'accord préalable passé avant la réception de ces informations par EIZO NANAO CORPORATION. Malgré tous les efforts déployés pour garantir la mise à jour des informations contenues dans ce manuel, veuillez noter que les caractéristiques techniques du monitér EIZO sont sujettes à modification sans préavis.
Avertissement concernant le moniteur
| En plus de la création de documents, de la visualisation de contenu multimédia et autres usages polyvalents, ce produit est aussi prévu pour des applications telles que la création graphique, le traitement d'images numériques, pour lesquelles la reproduction précise des couleurs est une priorité. |
| Ce produit a été régle spécialément en usine en fonction de la région de destination prévue. Les performances du produit peuvent être différentes de celles indiquées dans les caractéristiques en cas d'utilisation dans une région différente de celle prévue à l'origine. |
| Ce produit peut ne pas être couvert par la garantie pour des usages autres que ceux décrits dans le présence manuel. |
| Les specifications décrites dans le présence manuel ne sont applicables que pour les cordons d'alimentation et les cables d'interface spécifique par nos soins. |
| Utilissez avec ce produit les produits optionnels fabriqués ou spécifiés par nos soins. |
| Dans la mesure où 30 minutes sont nécessaires à la stabilisation des performances des composants électriques, vous devez réglez le moniteur au moins 30 minutes après l'avoir mis en marche. |
| Pour éviter la variation de luminosité due à un usage prolongé comme pour assurer la stabilité de la luminosité, il est recommendé d'utiliser un réglage de luminosité aussi bas que possible. |
| Lorsque l'image de l'écran change après que la même image est restée affichée pendant une période prolongée, une image rémanente risque de s'afficher. Utilisez l'économiseur d'écran ou la fonction d'économie d'énergie pour éviter d'afficher la même image pendant une période prolongée. |
| Un nettoyage périodique est recommendé pour conserver son aspect neuf au moniteur et prolonger sa durée de vie (Référez-vous à « Nettoyage » (page 4)). |
| Le panneau LCD est fabriqué à l'aide d'une technologie de haute précision. Toutefois, il est possible que des pixels manquants ou des pixels allumés apparaisent sur l'écran LCD. Il ne s'agit pas d'un dysfonctionnement. Pourcentage de points effectifs : 99,9994 % ou supérieur. |
| La durée de vie du rétro-éclairage du panneau LCD est limitée. Si l'écran s'assombrit ou se met à scintiller, prenez contact avec votre revendeur. |
| N'appuyez pas violemment sur le panneau ou sur les bords, vous risqueriez d'endommager l'affichage en laissant du moirage, etc. Une pression continue sur le panneau peut le déterminer ou l'endommager. (Si des marques de pression restent sur le panneau, affichez un écran blanc ou noir sur le moniteur. Le problème peut être ainsi résolu.) |
| Ne rayez et n'appuyez pas sur le panneau avec des objets pointus, car cela pourrait endommager le panneau. Ne tentez jamais de le nettoyer à sec avec du tissu, au risque de le rayer. |
| Lorsque le moniteur est froid et déplace dans une autre piece ou lorsque la température de lapiece augmente rapidement, de la condensation peut se former à l'intérieur et à l'estérieur du moniteur. Dans ce cas, ne mettez pas le moniteur sous tension et attendé la disparition de la condensation. Sinon, le moniteur pourrait être endommaged. |
Attention
- N'utilise jamais de solvants ou produits chimiques, tels que du diluant, de la benzine, de la cire, de l'alcool et de la poudre abrasive, qui pourrait endommager la carrosserie ou le panneau.
Panneau
- Nettoyez le panneau à l'aide d'un chiffon doux tel qu'un chiffon en coton ou une pochette nettoyante pour les lunettes.
- Si nécessaire, vous pouvez enlever les taches résistantes en utilisant le chiffon ScreenScleaner fourni ou en humidifient partiellement un chiffon avec de l'eau pour améliorer son pouvoir nettoyant. Ensuite, nettoyez de nouveau le panneau à l'aide d'un chiffon sec pour une meilleure finition.
Carrosserie
- Nettoyez la carrosserie à l'aide d'un chiffon doux imbibé d'un peu de détergent doux.
Pour un comport d'utilisation du moniteur
- Un écran tropASFOTLUMINEUXpeabimerles yeux.Ajustez la luminosité du moniteur en fonction des conditions ambiantes.
- Regarder le moniteur trop longtemps entraine une fatigue oculaire. Faites des pauses de 10 minutes toutes les heures.
TABLE DES MATIERES
Couvercle 1
Avertissement concernant le moniteur 3
TABLE DES MATIERES 5
Chapitre 1 Introduction. 7
1-1. Caracteristiques 7
1-2. Commandes et fonctions 9
1-3. EIZO LCD Utility Disk 10
- Contenu du disque et presentation du logiciel 10
PourutiliserColorNavigator 10
1-4. Commandes de base et Fonctions 10
- Commandes de base du menu Ajustage......10
Affichage du Guide Touches 11
Fonctions 12
Chapitre 2 Ajustage des écrans 14
2-1. Résolutions compatibles 14
Entrée numérique (DVI-D : Single Link) 14
- Entrée numérique (DVI-D : Dual Link, DisplayPort, Mini DisplayPort) 14
2-2. Définir la résolution 15
Windows 7. 15
Windows Vista. 15
Windows XP 15
Mac OS X 15
2-3. Réglage de la couleur 16
Sélection du mode d'affichage (mode de couleur) 16
Réglages avancés 17
- Options de réglage pour chaque mode .....................17
Réglage de la luminosité « Luminosité » 18
Réglagedu contraste «Contraste » 18
Réglage de la température de couleur « Température » 19
Réglage de la valeur gamma « Gamma » ……19
Réglage de la nuance « Nuance » 20
Réglage de la saturation des couleurs « Saturation » 20
Pour accentuer le contour de l'image « Contour optimal » 20
Réglage de la valeur de gain « Gain »............21
Réglage du niveau de noir « Niveau de noir » 21
Pour régler six couleurs « 6 Couleurs »……… 22
2-4. Élargissement du Niveau du Signal de Sortie « Niveau réglages » 22
2-5. Sélection du réglage de l'écran 23
Pour modifier la taille de I'ecran « Taille » .... 23
2-6. Configurer la performance des images en mouvement « Overdrive » 23
Chapitre 3 Réglage du moniteur 24
3-1. Activation/Désactivation de la sélection du mode « Mode Préfé » 24
3-2. Réglage de la langue « Langue » 24
3-3. Réglage de l'orientation « Orientation ».. 25
3-4. Modification de la position d'affichage du menu Ajustage « Position du Menu » . 25
3-5. Réglage de l'affichage du logo EIZO « Logo » 25
3-6. Touches de verrouillage « Verrouillage » 26
3-7. Règla luminosité de l'indicateur « Indicateur » 26
3-8. Réglage des signaux d'entrée « Sélection signal » 27
Pour un branchement DVI (Single Link) 27
To connect DVI (Dual Link) 27
Pour un branchement DVI (affichagesimple d'un signal HDMI depuis unappareil photo numérique) 28
Pour un branchement DisplayPort / Mini DisplayPort 28
3-9. Pour désactiver le signal d'entrée « Ignorer l'entrée » 29
3-10. Retour au réglage par défaut 29
Restauration des valeurs de réglage de la couleur « Réinit. couleur » 29
Restauration de tous les paramètres par défaut « Tout réinit. » 29
Chapitre 4 SelfCalibration 30
4-1. Réglage des détails de calibrage « Réglage » 30
Réglage de la date et de l'heure du moniteur « Réglage horloge » 30
Réglage de la planification de calibrage « Planification » 31
Réglage du mode d'exécution de SelfCalibration « Sélection mode » 32
Réglage des cibles de calibrage « Cible ».... 33
4-2. Execution de SelfCalibration « Exécuter » 33
4-3. Vérification des résultats de calibrage « Résultat » 34
Chapitre 5 Fonctions economie d'energie.... 35
5-1. Réglage de la fonction d'économie d'énergie « Veille » 35
5-2. Réglage du mode d'économie d'énergie lorsqu'une personne s'éloigne du moniteur « EcoView Sense » 36
Chapitre 6 Dépannage 37
6-1. Aucune image 37
6-2. Problèmes d'imagerie 39
6-3. Autres problèmes 40
6-4. Problèmes liés au capteur de calibrage et à SelfCalibration 41
Tableau des codes d'erreur 41
Chapitre 7 Retefore 42
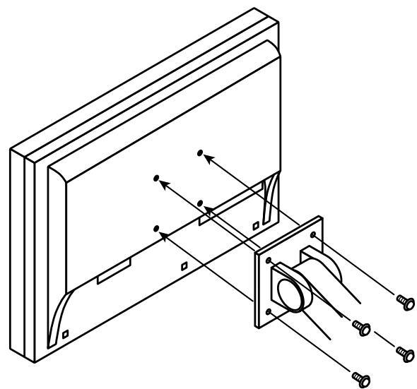
7-1. Comment fixer le bras optionnel 42
7-2. Branchement Raccordement de plusieurs PC 43
Commutation du signal d'entrée 44
Pour régler la sélection du signal d'entrée « Sélection entrée » 44
7-3. Utilisation du bus USB (Universal Serial Bus) 45
Environnement système requis 45
Procedure de connexion (Configuration de la fonction USB) 45
7-4. Affichage des informations sur le moniteur 46
Affichage des informations sur le signal «Infos Signal » 46
Affichage des informations relatives au moniteur «Infos Moniteur » 46
7-5. Specifications 47
7-6. Glossaire 50
Annexe 53
Hinweise zur Auswahldes richtigen Schwenkarms fur ihren Monitor 56
Hinweis zur Ergonomie: 56
GARANTIE LIMITÉE 57
Mesures chinoises pour conformité à la norme RoHS dans ChinaRoHS 66
Nous you remercions d'avoir fait l'acquisition d'un moniteur couleur LCD EIZO.
1-1. Caracteristiques
- Format large 27.0^ LCD
Large palette de couleurs, couvrant 97% de l'espace couleur Adobe RGB - Compatible avec la résolution 2560 × 1440 .
- Panneau IPS avec angles de visualisation horizontal et vertical de 89^
Mode de synchronisation d'images pris en charge (23,75-30,5 Hz, 47,5-61 Hz)
Applicable au DisplayPort / Mini DisplayPort (applicable à 8 ou 10 bits) - 3 terminaux d'entrée de signal (DVI-D × 1, DisplayPort × 1, Mini DisplayPort × 1)
-
Fonction Color Mode
-
Reproduit la palette de couleurs et la compatibilité gamma avec Adobe RGB, les standards d'émission « EBU/REC709/SMPTE-C » et les standards de cinéma numérique « DCI ». Voir « Sélection du mode d'affichage (mode de couleur) » (page 16).
L'étiquette « Certification du réglage » décrit les niveaux de gris et l'uniformité des caractéristiques individuelles du moniteur
L'affichage Portrait/Paysage est disponible (rotation de 90^ dans le sens des aiguilles d'une montre)
- Capot de protection pour écran intégré
- L'indicateur de fonction sous les boutons à l'avant s'allume afin d'améliorer l'utilisation dans les endroitssons.
Voir « 3-7. Règle la luminosité de l'indicateur « Indicateur » » (page 26).
- Ce produit est équipé d'un capteur de calibrage et prend en charge SelfCalibration avec lequel le monitér exécuté indépendamment le calibrage.
Voir « Chapitre 4 SelfCalibration » (page 30).
- Le logiciel de calibrage « ColorNavigator » vous permet de calibrer les paramétres du moniteur et de générer les profils des couleurs
Voir « 1-3. EIZO LCD Utility Disk » (page 10).
- Prend en charge le calcul de simulation de déficence de la vision de la couleur « UniColor Pro »
Ce calcul peut être relayéchéged sur notre site web (http://www.eizo.com). - Fonction d'économie d'énergie
La réduction de la consommation d'énergie permet de diminuer les émissions de CO_2 . Cet apparéil est doté d'une fonction d'économie d'énergie.
- Consommation d'énergie si le commutateur principal est désacté: 0 W
Equipe d'un commutateur d'alimentation principal.
Si vous désactevez le commutateur d'alimentation principal alors que le moniteur n'est pas utilisé, l'alimentation du moniteur est coupée.
- Fonction EcoView Sense
Le capteur situé sur la face avant du moniteur détecte les mouvements d'une personne. Lorsqu'une personne s'éloigne du moniteur, celui-ci entre automatiquement en mode d'économie d'énergie et aucune image n'est affichée à l'écran. Par conséquent, cette fonction permet de réduire la consommation électrique.
Voir « 5-2. Réglage du mode d'économie d'énergie lorsqu'une personne s'éloigne du moniteur « EcoView Sense » » (page 36).
Prétez attention aux points suivants lors de l'utilisation du capot de protection pour écran.

Ne transportez pas le moniteur avec le capot de protection.
Lorsque vous transportez le moniteur, le capot de protection peut tomber ou glisser et entrainer ainsi des blessures ou endommager l'appareil.

Ne posez pas d'objets sur le capot de protection.
Si le capot de protection tombe ou glisse ou que le moniteur tombe, cela peut entraîner des blessures ou endommager l'appareil.
Prétez attention aux points suivants lors de l'utilisation du capteur de calibrage.

Ne touchez pas le capteur de calibrage.
Cela pourrait réduire la précision des mesures du capteur de calibrage ou provoquer des blessures ou endommager l'appareil.
Attention
- Il est recommandé d'entreposer ou d'utiliser le moniteur dans une piece à une température inférieure à 30^ et à un taux d'humidité en dessous de 70% ; dans le cas contraire, la précision des mesures du capteur de calibrage peut être affectée. Evitez de stocker ou d'utiliser le capteur dans un endroit exposé à la lumière directe du soleil.
Remarque
- Ce moniteur prend en charge l'affichage portrait. Cette fonction permet de régler l'orientation du menu Ajustage lors de l'utilisation de l'écran du moniteur à la verticale (voir « 3-3. Réglage de l'orientation « Orientation » » (page 25)).
- Pour utiliser le moniteur en position « Portrait », la prise en charge de la carte video est requise. Lors de l'utilisation du moniteur en position « Portrait », il faut modifier les réglages de la carte video. Reportez-vous au manuel d'utilisation de la carte video pour plus d'informations.


| 1. Capteur de calibrage | Exécute le calibrage pour un moniteur indépendant. Fonction SelfCalibration (page 30) |
| 2. Capteur EcoView Sense | Déetecte les mouvements d'une personne se trouvant devant le moniteur. Fonction EcoView Sense (page 36). |
| 3. Capteur Eclair. d'ambiance | Mesure l'éclairage d'ambiance (page 34). |
| 4. Touche SIGNAL | Commute les signaux d'entrée de l'affichage (page 44). |
| 5. Touche MODE | Permet de changer le mode Couleur (page 16). |
| 6. Touche RETURN | Pour annuler le réglage/ajustage et quitter le menu Ajustage. |
| 7. Touche ▲▼ | • Permet de désir et d'augmenter/diminuer les réglages des ajustages avancés au moyen du menu Ajustage. • Affiche le menu Luminosité (page 18). |
| 8. Touche ENTER | Permet d'afficher le menu Ajustage, de sélectionner un élément de l'écran de menu et de sauvégarder les valeurs ajustées (page 10). |
| 9. Touche ⋅ | Pourmettre sous/hors tension. |
| 10. Témoin de fonctionnement | Indique l'état de fonctionnement du moniteur. Bleu: En fonctionnement Dans les cas suivants, cela indique qu'un nouveau calibrage est nécessaire. Bleu clignotant nécessaire. (2 fois chacun): • Lorsque la minuterie est définie dans ColorNavigator (mode CAL) • La planification de SelfCalibration est réglée. Orange: Mode économique d'énergie ARRÊT: Alimentation/Arrêt |
| 11. Commutateur d'alimentation principal | Permet de mettre le moniteur sous/hors tension. |
| 12. Connecteur d'alimentation | Permet de connecter le cordon d'alimentation. |
| 13. Connecteurs de signal d'entrée | Gauche: Connecteur DVI-D / Centre: Connecteur DisplayPort / Droite: Connecteur Mini DisplayPort |
| 14. Port USB (amont) | Permet de branchier un cable USB lors de l'utilisation du logiciel nécessitant une connexion USB ou lors de l'utilisation de la fonction de concentrateur USB (page 45). |
| 15. Port USB (aval) | Permet de branchier un périphérique USB. |
| 16. Pied² | Permet d'ajuster la hauteur et l'angle de l'écran du moniteur. |
| 17. Fente pour le verrouillage de sécurité | Compatible avec le système de sécurité MicroSaver de Kensington. |
| 18. Enveloppe de cables | Protège les cables du moniteur. |
1 Voir « 1-4. Commandes de base et Fonctions » (page 10) pour en savoir plus sur l'utilisation.
2 Un bras en option (ou un pied en option) peut être fixé en retardant le pied (voir « 7-1. Comment fixer le bras optionnel » (page 42)).
1-3. EIZO LCD Utility Disk
Un CD-ROM « EIZO LCD Utility Disk » est fourni avec le moniteur. Le tableau suivant présente le content du disque et l'ensemble des logiciels.
- Contenu du disque et presentation du logiciel
Le disque inclut des logiciels d'application pour les réglages et le Manuel d'utilisation. Reportez-vous au fichier « Readme.txt » ou « read me » inclus sur le disque pour connaître les procédures de démarrage des logiciels ou d'accès aux fichiers.
| Élement | Présentation | Windows | Macintosh |
| Fichier « Readme.txt » ou « read me » | ✓ | ✓ | |
| ColorNavigator | Un logiciel d'application permettant de calibrer les caractéristiques du moniter et de générer des profils ICC (pour Windows) et de Profil Apple ColorSync (pour Macintosh). (Un ordinateur doit être branché au moniter à l'aide du cable USB fourni.) | ✓ | ✓ |
| Utilitaire de réglage de l'écran* | Logiciel d'affichage de motifs du moniter utilisé lors du réglage manuel de l'image du signal d'entrée analogue. | ✓ | - |
| Fichiers de motifs de réglage d'écran* | Pour le réglage manuel de l'image d'entrée du signal analogue. Si l'Utilitaire de réglage de l'écran n'est pas compatible avec votre ordinateur, utilisez ce fichier pour régler l'image. | ✓ | - |
| Manuel d'utilisation du moniter (fichier PDF) | ✓ | ✓ | |
- Ce moniteur ne prend pas en charge l'entrée de signal analogique, de sorte que ces fichiers ne sont pas utilisés.
Pour utiliser ColorNavigator
Pour installer et utiliser le calculiel, reportez-vous au Manuel d'utilisation du calculiel correspondant sur le CD-ROM. Pour utiliser ce calculiel, vous devze branchier un ordinateur au moniteur à l'aide du cable USB fourni. Pour plus d'informations, voir « 7-3. Utilisation du bus USB (Universal Serial Bus) » (page 45).
1-4. Commandes de base et Fonctions
- Commandes de base du menu Ajustage
1. Affichage du menu Ajustage
- Appuyez sur ENTER. Le menu Ajustage apparait.

2. Ajustage/Réglage
- Sélectionnez un menu pour régler/configurer à l'aide des touches , , puis appuyez sur ENTER.

- Sélectionnez un élément pour régler/configurer à l'aide des touches , , puis appuyez sur ENTER.

- Reglez/configurez l'élément sélectionné à l'aide des touches , , puis appuyez sur ENTER.

3.Sortie
- Appuyez sur plusieurs fois sur RETURN. Le menu Ajustage disparaît.
- Affichage du Guide Touches
Appuyez sur les touches situées à l'avant (à l'exception de la touche ). Le Guide Touches apparaît au dessus de la touche.
(Si le monieur est en position « Portrait », le guide touches apparait à côté de la touche.)

Remarque
- Le guide touches s'affichera pendant que le menu Ajustage ou le menu Mode est montré.
- Le guide touche s'affiche différemment en fonction du menu ou de l'etat seLECTIONné.
- En mode CAL mode, bien que le Guide Touches soit affiché au dessus des touches et , la luminosité ne peut pas être régée.
- Fonctions
Le tableau ci-dessous résumé les menus de réglage et de paramètres du menu Ajustage.
| Menu principal | Réglage | Référence | |
| Couleur | Luminosité | « 2-3. Réglage de la couleur » (page 16) | |
| Contraste | |||
| Température | |||
| Gamma | |||
| Régles avances | Nuance | « 4-2. Exécution de SelfCalibration « Exéçuter » (page 33) | |
| Saturation | « 4-3. Vérification des résultats de calibrage « Résultat » (page 34) | ||
| Contour optimal | |||
| Gain | |||
| Niveau de noir | « 4-1. Réglage des détails de calibrage « Réglage » (page 30) | ||
| 6 Couleurs | |||
| Réinit. couleur | « 3-10. Retour au réglage par défaut » (page 29) | ||
| SelfCalibration | Exécuter | « 4-2. Exécution de SelfCalibration « Exéçuter » (page 33) | |
| Résultat | Résultat calibr. | « 4-3. Vérification des résultats de calibrage « Résultat » (page 34) | |
| Eclair. d'ambiance | |||
| Régles | Sélection mode | « 4-1. Réglage des détails de calibrage « Réglage » (page 30) | |
| Cible | |||
| Planification | |||
| Réglage horloge | |||
| Ecran | Taille | « 2-5. Sélection du réglage de l'écran » (page 23) | |
| Overdrive | « 2-6. Configurer la performance des images en mouvement « Overdrive » (page 23) | ||
| Niveau régles | « 2-4. Élargissement du Niveau du Signal de Sortie « Niveau régles » (page 22) | ||
| Power Manager | Veille | « 5-1. Réglage de la fonction d'économie d'énergie « Veille » (page 35) | |
| EcoView Sense | « 5-2. Réglage du mode d'économie d'énergie lorsqu'une personne s'éloigne du moniteur « EcoView Sense » (page 36) | ||
| Indicateur | « 3-7. Régle la luminosité de l'indicateur « Indicateur » (page 26) | ||
| Configurer OSD | Langue | « 3-2. Réglage de la langue « Langue » (page 24) | |
| Orientation | « 3-3. Réglage de l'orientation « Orientation » (page 25) | ||
| Position du Menu | « 3-4. Modification de la position d'affichage du menu Ajustage « Position du Menu » (page 25) | ||
| Outils | Sélection entrée | « Pour régler la sélection du signal d'entrée « Sélection entrée » (page 44) | |
| Importer l'entrée | « 3-9. Pour désactiver le signal d'entrée «Importer l'entrée » (page 29) | ||
| Mode Prédéf | « 3-1. Activation/Désactivation de la sélection du mode « Mode Prédéf » (page 24) | ||
| Infos Signal | « 7-4. Affichage des informations sur le moniteur » (page 46) | ||
| Infos Moniteur | |||
| Tout réinit. | « 3-10. Retour au règlage par défaut » (page 29) | ||
L'ajustage/les réglages disponibles dans « Couleur » dépendent du mode sélectionné (voir « 2-3. Réglage de la couleur » (page 16)).
Chapitre 2 Ajustage des écrans
2-1. Résolutions compatibles
Ce monitreur prend en charge les résolutions suivantes.
- Entrée numérique (DVI-D : Single Link)
| Résolution | Signaux compatibles | Fréquence de balayage vertical | Fréquence de point |
| 640 × 480 | VGA | 60 Hz | 162 MHz (Max.) |
| 720 × 400 | VGA TEXT | 70 Hz | |
| 800 × 600 | VESA | 60 Hz | |
| 1024 × 768 | VESA | 60 Hz | |
| 1280 × 960 | VESA | 60 Hz | |
| 1280 × 1024 | VESA | 60 Hz | |
| 1600 × 1200 | VESA | 60 Hz | |
| 1920 × 1080*1 | 1080p@50 | 50 Hz | |
| 1920 × 1080 | CEA-861 | 60 Hz | |
| 1920 × 1200 | VESA CVT RB | 60 Hz | |
| 2560 × 1440*2 | Single Link 10bits | 30 Hz |
- Entre numérique (DVI-D : Dual Link, DisplayPort, Mini DisplayPort)
| Résolution | Signaux compatibles | Fréquence de balayage vertical | Fréquence de point |
| 640 × 480 | VGA | 60 Hz | 242 MHz (Max.) |
| 720 × 400 | VGA TEXT | 70 Hz | |
| 800 × 600 | VESA | 60 Hz | |
| 1024 × 768 | VESA | 60 Hz | |
| 1280 × 960 | VESA | 60 Hz | |
| 1280 × 1024 | VESA | 60 Hz | |
| 1600 × 1200 | VESA | 60 Hz | |
| 1920 × 1080*1 | 1080p@50 | 50 Hz | |
| 1920 × 1080 | CEA-861 | 60 Hz | |
| 1920 × 1200 | VESA CVT | 60 Hz | |
| 2560 × 1440*3 | Dual Link | 60 Hz |
Une carte video conforme aux normes VESA et CEA-861 est requise.
1 Pour certains types de périphériques audio-video
2 La résolution prise en charge différent en fonction de votre carte video.
^*3 Résolution recommandée
Voir « 3-8. Réglage des signaux d'entrée « Sélection signal »» (page 27)
2-2. Définir la résolution
Si vous n'etes pas satisfait de la résolution après avoir raccardé le moniteur au PC ou si vous souhaitez modifier la résolution, conformez-vous à la procédure décrite ci après.
Windows 7
- A l'aide de la souris, réalisez un clic droit sur n'importequel point du bureau à l'exception des icones.
- Une fois le menu affiché, cliquez sur « Résolution d'écran »
- Sélectionnez le moniter dans la boîte de dialogue « Résolution d'écran »
- Cliquez sur « Résolution » pour sélectionner la résolution souhaïée.
- Cliquez sur le bouton « OK »
- Lorsque la boîte de dialogue de confirmation s'affiche, cliquez sur « Conserver les modifications »
Windows Vista
- A l'aide de la souris, réalisez un clic droit sur n'importequel point du bureau à l'exception des icones.
- Une fois le menu affiché, cliquez sur « Personneliser »
- Dans la fenêtre « Personnalisation », cliquez sur « Paramètres d'affichage »
- Dans la boîte de dialogue « Paramètres d'affichage », Sélectionnez l'onglet « Moniteur » et choisissez la résolution souhaïée dans le champ « Résolution »
- Cliquez sur le bouton « OK »
- Lorsque la boîte de dialogue de confirmation s'affiche, cliquez sur « Oui »
- Windows XP
- A l'aide de la souris, réalise un clic droit sur n'importe quel point du bureau à l'exception des iconônes.
- Une fois le menu affché, cliquez dans « Propriétés »
- Lorsque la boîte de dialogue « Propriétés d'affichage » s'affiche, cliquez sur l'onglet « Paramètres » et sélectionnez la résolution souhaïée pour « Résolution d'écran » dans « Affichage »
- Cliquez sur le bouton « OK » pour fermer la boîte de dialogue.
Mac OS X
- Sélectionnez « Préférences système » dans le menu Apple.
- Lorsque la boite de dialogue « Préférences système » s'affiche, cliquez sur « Affichages » pour « Matériel »
- Dans la boîte de dialogue figurant à l'écran, Sélectionnez l'onglet « Affichage » et sélectionnez la résolution souhaïée dans le champ « Résolutions »
- Notre selection s'affiche immédiatement. Lorsque vous étés satisfait de la résolution sélectionnée, fermez la fenêtre.
- Sélection du mode d'affichage (mode de couleur)
Cette fonction facilitite la selection d'un mode personalisé en fonction de l'application du moniteur.
Color Mode
| Mode | Fonction |
| 1-Custom | Permet de régler les paramètres de couleur en fonction de vos préférences personnelles. |
| 2-Adobe RGB | Adapté à la comparaison des couleurs des périhériques compatibles Adobe RGB. |
| 3-sRGB | Adapté à la comparaison des couleurs des périhériques compatibles sRGB. |
| 4-EBU | Valable pour reproductive la palette de couleurs et gamma selon les standards EBU (European Broadcasting Union). |
| 5-REC709 | Valable pour reproductive la palette de couleurs et gamma selon le standard ITU-R Rec. 709. |
| 6-SMPTE-C | Valable pour reproductive la palette de couleurs et gamma selon les standards SMPTE-C. |
| 7-DCI | Valable pour reproductive la palette de couleurs et gamma selon les standards DCI. |
| 8-CAL19-CAL210-CAL3 | Affiche l'écran ajusté par le logiciel de calibrage. |
Attention
- N'utilise aucune fonction du moniteur lors de l'utilisation de ColorNavigator.
Remarque
- Le mode CAL n'autorise de modification que par le logiciel d'étaconnage « ColorNavigator » et SelfCalibration (voir « Chapitre 4 SelfCalibration » (page 30)).
- Le mode CAL disponible diffère en fonction de chaque signal d'entrée (voir « Réglage du mode d'exécution de SelfCalibration « Sélection mode » » (page 32)).

Procedure
- Appuyez sur MODE.
Le menu mode s'affiche en bas à gauche de l'écran.
- Les modes de la liste sont mis en surbrillance les uns après les autres chaque fois que vous appuyez sur la touche MODE.
Vou puez modifier le mode à l'aide la touche ou lorsque le menu mode est affché.
Remarque
- Le menu Ajustage et le menu Mode ne peuvent pas etre affiches en meme temps.
- Vous pouze désactiver la sélection d'un mode spécifique. Pour plus d'informations, voir « 3-1. Activation/ Désactivation de la sélection du mode « Mode Préfé » » (page 24)
Réglages avancés
« Couleur » du menu Ajustage vous permet de configurer et d'enregistrer des paramètres couleur différents pour chaque mode.
Attention
- Il faut attendre environ 30 minutes pour que les composants électriques internes du moniteur se stabilisent. Attendez au moins 30 minutes après la mise sous tension du moniteur avant de commencer les réglages.
- La même image peut être visionnée dans différentes couleurs sur de multiples moniteurs, en raison des caractéristiques spécifiques des moniteurs. Effectuez manuellement des réglages précis de la couleur lorsque vous synchronisez les couleurs sur de multiples moniteurs.
Remarque
- Les valeurs indiquées en « % » ou en « K » ne sont disponibles qu'en tant que références.
- Options de réglage pour chaque mode
Les paramètres régibles dépendent du mode. (Il ne vous est pas possible de sélectionner des fonctions non-reglables.) Les ajustages/réglages définis pour chaque mode sont appliqués à tous les signaux d'entrée. √: Régable -: Non régable
| Icône | Fonction | Mode de Couleur | |||||||
| 1-Custom | 2-Adobe RGB | 3-sRGB | 4-EBU | 5-REC709 | 6-SMPTE-C | 7-DCI | 8-CAL1 9-CAL2 10-CAL3 | ||
| Luminosité | ✓ | ✓ | ✓ | ✓ | ✓ | ✓ | ✓ | - | |
| Contraste | ✓ | - | - | - | - | - | - | - | |
| Température | ✓ | ✓ | ✓ | ✓ | ✓ | ✓ | ✓ | - | |
| Gamma | ✓ | ✓ | ✓ | ✓ | ✓ | ✓ | ✓ | - | |
| Nuance | ✓ | - | - | - | - | - | - | - | |
| Saturation | ✓ | - | - | - | - | - | - | - | |
| Contour optimal | ✓ | ✓ | ✓ | ✓ | ✓ | ✓ | ✓ | - | |
| Gain | ✓ | - | - | - | - | - | - | - | |
| Niveau de noir | ✓ | ✓ | ✓ | ✓ | ✓ | ✓ | ✓ | - | |
| 6 Couleurs | ✓ | - | - | - | - | - | - | - | |
| Réinit. couleur | ✓ | ✓ | ✓ | ✓ | ✓ | ✓ | ✓ | - | |
- Réglage de la luminosité « Luminosité »
Voupez regler la luminosite de I'ecran en modifiant la luminosite du retroeclairage (Source de lumiere emanant de l'arriere du panneau LCD).
Plage de réglage
0 à 100%
Procedure
- Appuyez sur les touches ou . Le menu Luminosité s'affiche.
- Utilisez les touches ou pour effectuer le réglage.
- Appuyez sur ENTER pour quitter.
Remarque
- Si vous trouvez que la luminosité de l'image est élevé même si elle est réglée sur 0% , réglez le contraste.
- Vous pouze également utiliser « Luminosite » dans « Couleur » dans le menu Ajustage pour l'ajuster.
Réglage du contraste « Contraste »
You pouvez régler la luminance de l'écran en variant le niveau du signal video.
Plage de réglage
0 à 100%
Procedure
- Sélectionnez « Couleur » dans le menu Ajustage, puis appuyez sur ENTER.
- Sélectionnez « Contraste » dans « Couleur », puis appuyez sur ENTER.
Le « Contraste » s'affiche. - Utilisez les touches ou pour effectuer le réglage.
- Appuyez sur ENTER pour quitter.
Remarque
- Avec un contraste de 100% , toute la palette de couleurs est affichée.
- Lors du réglage du moniteur, il est conseilé d'effectuer le réglage de la luminosité, ce qui ne risquerait pas de faire perdre les caractéristiques de gradation, avant le réglage du contraste.
-
Effectuez le réglage du contraste dans les cas suivants.
-
Lorsque vous trouvez que l'image est trop claire, même si la luminosité est régée à 0% (Définissez un contraste inférieur à 100% .
Réglage de la température de couleur « Température »
You pouvez régler la température de couleur.
La température de couleur sert normalement à exprimer la nuance de « Blanc » et/ou « Noir » par une valeur numérique. La valeur est exprimée en degrés Kelvin (K).
L'écran devient rougeâtre lorsque la température de couleur est basse, et bleuâtre lorsqu'elle est élevé, comme la température d'une flamme. Les valeurs de gain prédéfinies sont régles pour chaque valeur de réglage de la température de couleur.
Plage de réglage
Natif, 4000 K-10000 K (specifiée tous les 100K ), Standard
Procedure
- Sélectionnez « Couleur » dans le menu Ajustage, puis appuyez sur ENTER.
- Sélectionnez « Température » dans « Couleur », puis appuyez sur ENTER.
- Utilisez les touches ou pour effectuer le réglage.
- Appuyez sur ENTER pour quitter.
Remarque
- « Gain » yours permut d'effectuer un réglage encore plus précis (voir « Réglage de la valeur de gain « Gain » » (page 21)).
- Si vous le reglez sur « Natif», l'image sera affichée dans la couleur prédéfinie du moniteur (Gain : 100% pour chaque RGB).
- Lorsque le gain est modifié, la température de couleur est basculée sur « Utilis. »
- Le réglage par défaut de chaque mode Adobe RGB/sRGB/EBU/REC709/SMPTE-C/DCI est régèle sur « Standard», qui correspond au température de chaque standard.
Réglage de la valeur gamma « Gamma »
Vous pouvez régler la valeur gamma. La luminosité du moniter varie selon le signal d'entrée. Toutefois, le taux de variation n'est pas proportionnel au signal d'entrée. La « Correction Gamma » permet de dévelopir l'équilibre entre le signal d'entrée et la luminosité du moniter.
Plage de réglage
1,6 à 2,7
Procedure
- Sélectionnez « Couleur » dans le menu Ajustage, puis appuyez sur ENTER.
- Sélectionnez « Gamma » dans « Couleur », puis appuyez sur ENTER.
- Utilisez les touches ou pour effectuer le réglage.
- Appuyez sur ENTER pour quitter.
Remarque
- Le réglage par défaut de chaque mode Adobe RGB/sRGB/EBU/REC709/SMPTE-C/DCI est régèle sur « Standard», qui correspond au gamma de chaque standard.
Réglage de la nuance « Nuance »
Cette fonction permet de régler la nuance.
Plage de réglage
-100 à 100
Procedure
- Sélectionnez « Couleur » dans le menu Ajustage, puis appuyez sur ENTER.
- Sélectionnez « Réglages avances » dans « Couleur », puis appuyez sur ENTER.
- Sélectionnez « Nuance », puis appuyez sur ENTER.
- Utilisez les touches ou pour effectuer le réglage.
- Appuyez sur ENTER pour quitter.
Attention
- L'utilisation de cette fonction pourrait rendre certaines palettes de couleurs indisponibles à l'affichage.
Réglage de la saturation des couleurs « Saturation »
Cette fonction permet de régler la saturation de la couleur.
Plage de réglage
-100 à 100
Procedure
- Sélectionnez « Couleur » dans le menu Ajustage, puis appuyez sur ENTER.
- Sélectionnez « Réglages avances » dans « Couleur », puis appuyez sur ENTER.
- Sélectionnez « Saturation », puis appuyez sur ENTER.
- Utilisez les touches ou pour effectuer le réglage.
- Appuyez sur ENTER pour quitter.
Attention
- L'utilisation de cette fonction pourrait rendre certaines palettes de couleurs indisponibles à l'affichage.
Remarque
- La valeur minimum (-100) fait passer l'écran en monochrome.
Pour accentuer le contour de l'image « Contour optimal »
La fonction Contour optimal permet d'accentuer les contours d'une image en faisant ressortir la différence de couleur des pixels qui compose l'image. Elle donne ainsi uneILA texture au materiaiu et renforce I'effet des images. Cette fonction permet également de graduer les contours pour reproduce des images plus nuances.
Procedure
- Sélectionnez « Couleur » dans le menu de réglage, puis appuyez sur ENTER.
- Sélectionnez « Réglages avances » dans « Couleur », puis appuyez sur ENTER.
- Sélectionnez « Contour optimal », puis appuyez sur ENTER.
- Sélectionnez un état d'affichage allant de -3 à 3 (d'uniforme à net) à l'aide de la touche ou selon vos préférences.
- Appuyez sur ENTER pour quitter.
Réglage de la valeur de gain « Gain »
La luminosité de chaque composant de la couleur (rouge, vert, et bleu) est appelée Gain. Il est possible de changer la nuance de « blanc » en ajustant le gain.
Plage de réglage
0 à 100%
Procedure
- Sélectionnez « Couleur » dans le menu Ajustage, puis appuyez sur ENTER.
- Sélectionnez « Réglages avances » dans « Couleur », puis appuyez sur ENTER.
- Sélectionnez « Gain », puis appuyez sur ENTER.
- Sélectionnez la couleur à ajuster parmi « Rouge », « Vert » et « Bleu », puis appuyez sur ENTER.
- Utilisez les touches ou pour effectuer le réglage.
- Appuyez sur ENTER pour quitter.
Remarque
- Le réglage « Température » désactive ce réglage.
- La valeur de gain change avec celle de la température de couleur.
- Lorsque le gain est modifié, la température de couleur est basculée sur « Utilis. »
Réglage du niveau de noir « Niveau de noir »
La luminosité du noir et la chromaticité peuvent être régées en fonction du niveau respectif de noir pour le rouge, le vert et le bleu. Réglez le niveau de noir en affichtant des images sur un fond d'écran noir.
Plage de réglage
0 à 100%
Procedure
- Sélectionnez « Couleur » dans le menu Ajustage, puis appuyez sur ENTER.
- Sélectionnez « Réglages avances » dans « Couleur », puis appuyez sur ENTER.
- Sélectionnez « Niveau de noir », puis appuyez sur ENTER.
- Sélectionnéz la couleur de réglage entre « Rouge », « Vert » et « Bleu », puis appuyez sur ENTER.
- Utilisez les touches ou pour effectuer le réglage.
- Appuyez sur ENTER pour quitter.
Remarque
- Pour augmenter le niveau de noir lorsque sa valeur est définie sur 0, diminuerez la valeur de la luminosité.
- La réduction de la valeur du contraste ne modifie pas la luminosité du niveau de noir.
Pour régler six couleurs « 6 Couleurs »
Il est possible de régler la nuance et la saturation pour chacune des six couleurs : Magenta, Rouge, Jaune, Vert, Cyan et Bleu.
Plage de réglage
-100 à 100
Procedure
- Sélectionnez « Couleur » dans le menu de réglage, puis appuyez sur ENTER.
- Sélectionnez « Réglages avances » dans « Couleur », puis appuyez sur ENTER.
- Sélectionnez « 6 Couleurs », puis appuyez sur ENTER.
- Sélectionnez la couleur de réglage entre « Magenta », « Rouge », « Jaune », « Vert », « Cyan », et « Bleu », puis appuyez sur ENTER.
- Sélectionnez « Nuance » ou « Saturation », puis appuyez sur ENTER.
- Utilisez les touches ou pour effectuer l'ajustage.
- Appuyez sur ENTER pour quitter.
2-4. Élargissement du Niveau du Signal de Sortie « Niveau réglages »
Etendez le signal d'entrée dont la gamme de gradation d'affichage va de 64/1023 à 1019/1023, et de 0/1023 à 1023/1023.
Procedure
- Sélectionnez « Ecran » dans le menu Ajustage, puis appuyez sur ENTER.
- Sélectionnéz « Niveau réglages » dans « Écran », puis appuyez sur ENTER.
- Sélectionnez « On » à l'aide de la touche ▲ ou ▼.
- Appuyez sur ENTER pour quitter.
Attention
- Les réglages ne peuvent pas être appliqués lorsqu'le mode CAL s'affiche.
2-5. Sélection du réglage de l'écran
Pour modifier la taille de I'écran « Taille »
L'imag dans une resolution differente de cette commande s'affiche automatique en plein ecran.
You pouvez modifier la taille de l'écran à l'aide de la fonction « Taille » de « Ecran »
| Réglage | Fonction |
| Plein | Affiche une image sur la totalité de l'écran. Dans certains cas, les images peuvent être déformées, car la fréquence du balayage vertical est différente de la fréquence du balayage horizontal. |
| Elargi | Affiche une image sur la totalité de l'écran. Dans certains cases, une bande noire verticale ou horizontalité apparait afin de compenser la différence entre la fréquence de balayage vertical et horizontal. |
| Normal | Affiche les images selon la résolution spécifique. |
Exemple : Taille de l'imagé 1280× 1024

Plein

Elargi

Normal
Procedure
- Sélectionnez « Ecran » dans le menu Ajustage, puis appuyez sur ENTER.
- Sélectionnez « Taille » dans « Ecran », puis appuyez sur ENTER.
- Sélectionnéz « Plein», « Elargi » ou « Normal » à l'aide des touches ▲ ou ▼
- Appuyez sur ENTER pour quitter.
Attention
- Le fait de sélectionner « Normal » pourrait rendre certaines palettes de couleurs indisponibles à l'affichage.
2-6. Configurer la performance des images en mouvement « Overdrive »
L'utilisation du réglage « Overdrive » permet d'atténuer le phénomène d'images rémanentes survenant lors des séquences d'images en mouvement rapide. Ce réglage est défini sur « On » par défaut. Toutefois, lorsque ce réglage est défini sur « On », du bruit et des images rémanentes peuvent être plus perceptibles. Dans ce cas, réglez « Overdrive » sur « Off »
Procedure
- Sélectionnez « Ecran » dans le menu de réglage, puis appuyez sur ENTER.
- Sélectionnez « Overdrive » dans « Ecran », puis appuyez sur ENTER.
- Sélectionnez « On » ou « Off » à l'aide de la touche ▲ ou ▼.
- Appuyez sur ENTER pour quitter.
Chapitre 3 Réglage du moniteur
3-1. Activation/Désactivation de la sélection du mode « Mode Prédéf »
Ce réglage vous permet de sélectionner uniquement les modes spécifiques.
Utilisez cette fonction lorsque tous les modes d'affichage ne sont pas disponibles ou lorsque vous ne modifie pas les réglages du mode d'affichage.
Procedure
- Sélectionnez « Outils » dans le menu Ajustage, puis appuyez sur ENTER.
- Sélectionnez « Mode Préfé » dans « Outils », puis appuyez sur ENTER.
- Utilisez les touches ou pour selectionner le mode à modifier, et appuyez sur la touche ENTER.
- Sélectionnez « On » ou « Off » à l'aide des touches ▲ ou ▼.
- Appuyez sur ENTER pour quitter.
Attention
- Tous les modes ne peuvent pas'être désactivés. Un des modes au moins doit être sur « On »
3-2. Réglage de la langue « Langue »
Cette fonction vous permet de selectionner la langue du menu Ajustage et des messages.
Langues pouvant etre selectionnées
Anglais/Alemand/Français/Espagnol/Italien/Suédois/Japonais/Chinois simplifié/Chinois traditionnel
Procedure
- Sélectionnez « Configurer OSD » dans le menu Ajustage, puis appuyez sur ENTER.
- Sélectionnez « Langue » dans « Configurer OSD », puis appuyez sur ENTER.
- Sélectionnez une longue à l'aide des touches ou .
- Appuyez sur ENTER pour quitter.
3-3. Réglage de l'orientation « Orientation »
Cette fonction permet de régler l'orientation du menu Ajustage lors de l'utilisation de l'écran du monitér à la verticale.
Procedure
- Sélectionnez « Configurer OSD » dans le menu Ajustage, puis appuyez sur ENTER.
- Sélectionnez « Orientation » dans « Configurer OSD », puis appuyez sur ENTER.
- Sélectionnez « Paysage » ou « Portrait » à l'aide des touches ▲ ou ▼.
- Appuyez sur ENTER pour quitter.
- Faites pivoter l'écran du moniteur de 90^ vers la droite si vous sélectionné « Portrait »
Attention
- Verifiez que les câbles sont correctement branchés.
- Avant de tourner l'écran du moniteur, assurez-vous que le pied est régle en position haute et que le réglage de l'écran est incliné vers le haut.
Remarque
- Pour utiliser le moniteur en position « Portrait », la prise en charge de la carte video est requise. Lors de l'utilisation du moniteur en position « Portrait », il faut modifier les réglages de la carte video. Reportez-vous au manuel d'utilisation de la carte video pour plus d'informations.
3-4. Modification de la position d'affichage du menu Ajustage « Position du Menu »
You pouez modifier la position d'affichage du menu Ajustage.
Procedure
- Sélectionnez « Configurer OSD » dans le menu Ajustage, puis appuyez sur ENTER.
- Sélectionnez « Position du Menu » dans « Configurer OSD », puis appuyez sur ENTER.
- Ajustez la position à l'aide des touches ▲ or ▼.
- Appuyez sur ENTER pour quitter.
3-5. Réglage de l'affichage du logo EIZO « Logo »
Cette fonction permet d'activer ou de désactiver l'affichage du logo EIZO.
Procedure
- Appuyez sur pourmettrele moniteur hors tension.
- En gardant MODE enfoncé, appuyez sur Ⓞ pendant au moins deux secondes pour allumer le moniteur. Le menu de « Réglages optionnels » apparait.
- Sélectionnez « Logo » dans « Réglages optionnels », puis appuyez sur ENTER.
- Sélectionnéz « On » ou « Off » à l'aide des touches ▲ ou ▼, et appuyez sur la touche ENTER.
- Sélectionnez « Terminer » à l'aide des touches ▲ ou ▼.
- Appuyez sur ENTER.
Le menu de « Réglages optionnels » apparait.
3-6. Touches de verrouillage « Verrouillage »
Cette fonction permet de verrouiller les touches afin d'éviter toute modification des réglages ou de l'état.
Procedure
- Appuyez sur pourmettrele moniteur hors tension.
- En gardant MODE enfoncé, appuyez sur Ⓒ pendant au moins deux secondes pour allumer le moniteur. Le menu de « Réglages optionnels » apparait.
- Sélectionnez « Verrouillage » dans « Réglages optionnels », puis appuyez sur ENTER.
- Sélectionnez « Off », « Menu » ou « Tout » à l'aide des touches ▲ ou ▼, puis appuyez sur ENTER.
| Réglages | Touches pouvant être verrouillées |
| Off (Réglage par défaut) | Aucune (toutes les touches sont activées) |
| Menu | ENTER Touche |
| Tout | Toutes les touches sauf Ⓞ |
- Sélectionnez « Terminer » à l'aide des touches ▲ ou ▼.
- Appuyez sur ENTER.
Le menu de « Réglages optionnels » apparait.
3-7. Regle la luminosité de l'indicateur « Indicateur »
La luminosité du tímoin de fonctionnement (bleu) et de l'indicateur de fonction sous les touches de fonction peut être réglée lorsque l'écran s'affiche. (Le tímoin de fonctionnement et de fonction sous les touches de fonction sont régés pour s'allumer quand l'alimentation est activée, ils sont régés sur 4 par défaut.)
Procedure
- Sélectionnez « PowerManager » dans le menu Ajustage, puis appuyez sur ENTER.
- Sélectionnez « Indicateur » dans « PowerManager », puis appuyez sur ENTER.
- Selon vos préférences, réglez l'indicateur de luminosité « Off » ou sur une plage de 1 à 7 à l'aide de la touche ▲ ou ▼.
- Appuyez sur ENTER pour quitter.
3-8. Réglage des signaux d'entrée « Sélection signal »
Les signaux peuvent être sélectionnés en fonction de l'environnement d'utilisation.
Attention
- Une carte video的前提在 charge l'affichage du signal est requise.
- Reportez-vous au manuel d'utilisation de la carte video.
- Pour un branchement DVI (Single Link)
Procedure
- Appuyez sur pourmettrele moniteur hors tension.
- En gardant MODE enfoncé, appuyez sur Ⓞ pendant au moins deux secondes pour allumer le moniteur. Le menu de « Réglages optionnels » apparait.
- Sélectionnez « Sélection signal » dans « Réglages optionnels », puis appuyez sur ENTER.
- Sélectionnez « DVI » à l'aide des touches ▲ ou ▼, puis appuyez sur ENTER.
- Sélectionnéz « Format Signal » à l'aide des touches ▲ ou ▼, puis appuyez sur ENTER.
- Sélectionnéz « Single Link » à l'aide des touches ▲ ou ▼, puis appuyez sur ENTER.
- Appuyez deux fois sur RETURN.
- Sélectionnez « Terminer » à l'aide des touches ▲ ou ▼.
- Appuyez sur ENTER.
Le menu de « Régliages optionnels » apparait.
- Appuyez sur pourmettrele moniteur hors tension.
- En gardant MODE enfoncé, appuyez sur Ⓞ pendant au moins deux secondes pour allumer le moniteur. Le menu de « Réglages optionnels » apparait.
- Sélectionnez « Sélection signal » dans « Réglages optionnels », puis appuyez sur ENTER.
- Sélectionnéz « DVI » à l'aide des touches ▲ ou ▼, puis appuyez sur ENTER.
- Sélectionnez « Format Signal » à l'aide des touches ▲ ou ▼, puis appuyez sur ENTER.
- Sélectionnez « Dual Link » à l'aide des touches ▲ ou ▼, puis appuyez sur ENTER.
- Sélectionnez « Larg. bande sign. » à l'aide des touches ▲ ou ▼, puis appuyez sur ENTER. Utilisez ▲ ou ▼ pour la sélection ou confirmez simplement le réglage de la bande passante pour une fréquence correspondant à votre carte video.
| Réglage | Fréquence de balayage horizontal (kHz) | Fréquence de balayage vertical (Hz) |
| Normal | 26 à 89 | 59 à 61 |
| Wide | 26 à 89 | 23,75 à 63 |
- Appuyez sur ENTER.
- Appuyez deux fois sur RETURN.
- Sélectionnéz « Terminer » à l'aide des touches ▲ ou ▼.
- Appuyez sur ENTER.
Le menu de « Réglages optionnels » apparait.
- Pour un branchement DVI (affichage simple d'un signal HDMI depuis un apparéil photo numérique)
Un signal HDMI en provenance d'un apparéil photo numérique peut être facilement affché en branchant ce produit et l' apparéil photo numérique à l'aide d'un cable de conversion DVI-HDMI.
Attention
- Pour afficher un signal d'ordinateur, « Single Link » ou « Dual Link » doit être régèle.
Procedure
- Appuyez sur pourmettrele moniteur hors tension.
- En gardant MODE enfoncé, appuyez sur Ⓒ pendant au moins deux secondes pour allumer le moniteur. Le menu de « Réglages optionnels » apparait.
- Sélectionnez « Sélection signal » dans « Réglages optionnels », puis appuyez sur ENTER.
- Sélectionnéz « DVI » à l'aide des touches ▲ ou ▼, puis appuyez sur ENTER.
- Sélectionnez « Format Signal » à l'aide des touches ▲ ou ▼, puis appuyez sur ENTER.
- Sélectionnez « HD Video » à l'aide des touches ▲ ou ▼, puis appuyez sur ENTER.
- Appuyez deux fois sur RETURN.
- Sélectionnez « Terminer » à l'aide des touches ▲ ou ▼.
- Appuyez sur ENTER.
Le menu de « Réglages optionnels » apparait.
- Pour un branchement DisplayPort / Mini DisplayPort
Procedure
- Appuyez sur pourmettrele moniteur hors tension.
- En gardant MODE enfoncé, appuyez sur Ⓒ pendant au moins deux secondes pour allumer le moniteur. Le menu de « Réglages optionnels » apparait.
- Sélectionnez « Sélection signal » dans « Réglages optionnels », puis appuyez sur ENTER.
- Sélectionnez « DisplayPort » à l'aide des touches ▲ ou ▼, puis appuyez sur ENTER.
- Sélectionnez « Larg. bande sign. » à l'aide des touches ▲ ou ▼, puis appuyez sur ENTER. Utilisez ▲ ou ▼ pour la sélection ou confirmez simplement le réglage de la bande passante pour une fréquence correspondant à votre carte video.
| Réglage | Fréquence de balayage horizontal (kHz) | Fréquence de balayage vertical (Hz) |
| Normal | 26 à 89 | 59 à 61 |
| Wide | 26 à 89 | 23,75 à 63 |
- Appuyez sur ENTER.
- Appuyez deux fois sur RETURN.
- Sélectionnez « Terminer » à l'aide des touches ▲ ou ▼.
- Appuyez sur ENTER.
Le menu de « Réglages optionnels » apparait.
3-9. Pour désactiver le signal d'entrée « Ignorer l'entrée »
Cette function permet d'ignoreer les signaux d'entrée configurés lorsque les signaux d'entrée sont actifs. Lorsque tous les signaux d'entrée ne s'affichent pas ou lorsque les signaux d'entrée ne changent pas, configurez « Ignorer l'entrée » sur « On » pour désactiver les signaux.
Procedure
- Choisissez « Outils » dans le menu Ajustage, puis appuyez sur ENTER.
- Choisissez « Ignorer l'entrée » dans « Outils », et appuyez sur ENTER.
- Choisissez le signal d'entrée à régler avec ou , et appuyez sur ENTER.
- Sélectionnez « On » ou « Off » à l'aide de la touche ▲ ou ▼.
- Appuyez sur ENTER pour quitter.
Attention
- Tous les signaux d'entrée ne peuvent pas etre désactives. Mettez au moins un signal d'entree sur « Off »
- Les paramètres créés s'appliquéreront à la prochaine permutation des signaux d'entrée.
3-10. Retour au réglage par défaut
Il existe deux types de restauration : Réinit. couleur ne restaure que les régages de couleur par rapport au réglage par défaut, tandis que Tout réinit. permet de ramener tous les paramètres à leurs valeurs par défaut.
Attention
Remarque
- Àprous une restauration, il est impossible d'annuler la manipulation.
- Pour plus d'informations sur les réglages par défaut, voir « Principaux réglages par défaut » (page 48).
- Restauration des valeurs de réglage de la couleur « Réinit. couleur »
Cette fonction ne permet de restaurer le réglage par défaut que pour la valeur de réglage de la couleur pour le mode en cours.
Procedure
- Sélectionnez « Couleur » dans le menu Ajustage, puis appuyez sur ENTER.
- Sélectionnez « Réinit. couleur » dans « Couleur », puis appuyez sur ENTER.
- Sélectionnez « Exécuter » à l'aide des touches ▲ ou ▼.
- Appuyez sur ENTER.
Les réglages de la couleur sont rétablis aux valeurs par défaut.
- Restauration de tous les paramètres par défaut « Tout réinit. »
Cette fonction permet de restaurer tous les régles par défaut (sauf « Réglage horloge » dans le menu « SelfCalibration » et dans le menu « Réglages optionnels »).
Procedure
- Sélectionnez « Outils » dans le menu Ajustage, puis appuyez sur ENTER.
- Sélectionnez « Tout réinit. » dans le menu « Outils », puis appuyez sur ENTER.
- Sélectionnez « Exécuter » à l'aide des touches ▲ ou ▼.
- Appuyez sur ENTER.
Tous les paramètres sauf « Réglage horloge » dans le menu « SelfCalibration » et dans le menu « Réglages optionnels » sont réinitialisés à leur réglage par défaut.
Chapitre 4 SelfCalibration
Ce produit est équipé d'un capteur intégré de calibrage. comme les cibles ou la planification du calibrage pour SelfCalibration sont définies à l'avance à l'aide de ColorNavigator, le capteur de calibrage exécute automatiquement un calibrage régulier. Le réglage du moniteur n'est pas nécessaire pour l'utilisation de ColorNavigator.
Si ColorNavigator ne peut pas'être exécuté en raison de l'environnement d'utilisation, SelfCalibration peut être exécuté pour un monitér indépendant (voir « 4-1. Réglage des détails de calibrage « Réglage » » (page 30) à « 4-3. Vérification des résultats de calibrage « Résultat » » (page 34)).
Remarque
- Lorsque vous comparez les résultats de mesure du capteur de calibrage aux résultats de votre instrument de mesure, utilisez Correlation Utility inclus dans ColorNavigator. Reportez-vous au Manuel d'utilisation de ColorNavigator sur le CD-ROM.
- SelfCalibration peut également être executé lorsqu'il n'y a aucune entrée de signal ordinateur.
4-1. Réglage des détails de calibrage « Réglage »
- Réglage de la date et de l'heure du moniteur « Réglage horloge »
Réglez la date et l'heure du moniteur.
Remarque
- Lorsque ColorNavigator est démarré, la date et l'heure sont automatiquement régées. Reportez-vous au Manuel d'utilisation de ColorNavigator sur le CD-ROM.
Procedure
- Sélectionnez « SelfCalibration » dans le menu Ajustage, puis appuyez sur ENTER.
- Sélectionnez « Réglage » dans « SelfCalibration », puis appuyez sur ENTER.
- Sélectionnez « Réglage horloge » dans « Réglages », puis appuyez sur ENTER. Le menu Réglage horloge apparait.
- Sélectionnez la date à l'aide de la touche ou , puis appuyez sur ENTER.
- Sélectionnez l'heure à l'aide de la touche ou , puis appuyez sur ENTER.
Attention
- Si le commutateur d'alimentation principal est déconnecté pendant une durée prolongée, il peut être nécessaire de réinitialiser l'horloge.
- Réglage de la planification de calibrage « Planification »
Réglez la planification de calibrage de SelfCalibration.
Attention
- Il est nécessaire de régler l'horloge afin d'utiliser SelfCalibration.
Procedure
- Sélectionnez « SelfCalibration » dans le menu Ajustage, puis appuyez sur ENTER.
- Sélectionnez « Réglages » dans « SelfCalibration », puis appuyez sur ENTER.
- Sélectionnez « Planification » dans « Réglages », puis appuyez sur ENTER.
Le menu de réglage de la planification apparait.
- Utilisez les touches ou pour selectionner le élément à modifier, et appuyez sur la touche ENTER.
| Élément de réglage | Réglage | ||
| Heure de début | Off | SelfCalibration n'est pas exécuté. | Réglez le minutage d'exécution de SelfCalibration. |
| Veille | Lorsque la période de temps définie dans la planification est écoulée, il est exécuté si le mode passe initialement en mode Veille, ou si l'alimentation s'éteint initialement. | ||
| Immédiat. | Lorsque la période de temps définie dans la planification est écoulée, il est immEDIatement exécuté. | ||
| Type de contrôle.* | Type1 | Une fois tous les quelques mois | Réglez selon la fréquence à laquelle SelfCalibration est exécuté. |
| Type2 | Une fois toutes les quelques semaines | ||
| Type3 | Une fois toutes les quelques heures (temps d'utilisation du moniteur) | ||
| Intervalle | Type1 | 1 - 12 mois | Réglez l'intervalle entre SelfCalibration terminé et la prochaine exécution. Les détails de réglage variant selon le type de « Type de contrôle. » spécifique. |
| Type2 | 1 - 5 semaines | ||
| Type3 | 50 - 500 heures | ||
| Semaine | 1ère semaine - 5e semaine | Définissez la semaine d'exécution de SelfCalibration pour le mois de l'exécution du calibrage. | |
| Jour | SUN/MON/TUE/WED/THU/FRI/SAT | Définissez le jour d'exécution de SelfCalibration pour la semaine de l'exécution du calibrage. | |
| Heure | 00:00 à 23:30 | Définissez l'heure d'exécution de SelfCalibration. | |
-
Les réglages utilisés féquement peuvent être prédéfinis.
-
Utilisez les touches ou pour effectuer le réglage.
- Appuyez sur ENTER pour quitter.
La planification du calibrage est reglee.
Remarque
- Lorsque l'heure de démarrage est « Immediat. » et que le type de réglage est « Type1 » ou « Type2», SelfCalibration est exécuté selon la planification, et ce, même si l'alimentation est éteinte en utilisant Ⓒ.
- Si l'heure de début est régée sur « Off», le menu SelfCalibration indique « Réglage incomplet ». Cependant, SelfCalibration peut être exécuté manuellement.
- Réglage du mode d'exécution de SelfCalibration « Sélection mode »
Réglez le mode pour executer SelfCalibration (CAL1/CAL2/CAL3).
Le signal d'entrée est spécifique pour chaque mode régle.
| Mode | Entrées de signaux |
| CAL1 | DVI |
| CAL2 | DisplayPort-1 |
| CAL3 | DisplayPort-2 (Mini DisplayPort) |
Procedure
- Sélectionnez « SelfCalibration » dans le menu Ajustage, puis appuyez sur ENTER.
- Sélectionnéz « Réglages » dans « SelfCalibration », puis appuyez sur ENTER.
- Sélectionnez « Sélection mode » dans « Réglages », puis appuyez sur ENTER.
- Utilisez les touches ou pour selectionner le mode à modifier, et appuyez sur la touche ENTER.
- Sélectionnez « On » ou « Off » à l'aide de la touche ▲ ou ▼.
- Appuyez sur ENTER pour quitter.
Remarque
- MODE vous permet de vérifier le mode actuellément disponible (CAL1/CAL2/CAL3).
-
Lorsque « Autres modes » est régól sur « On», la palette de reproduction de couleurs du moniteur est mise à jour et il est possible d'ajuster l'affichage dans chaque mode de couleur comme suit :
-
Pour tout autre mode que CAL, la température est ajustée afin d'être aussi proche que possible de la valeur spécifique.
- Dans les modes Adobe RGB/sRGB/EBU/REC709/SMPTE-C/DCI, les valeurs de la palette sont ajustées afin d'être aussi proches que possible de chaque valeur spécifique.
Réglage des cibles de calibrage « Cible »
Réglez les cibles de calibrage pour SelfCalibration.
Procedure
- Sélectionnez « SelfCalibration » dans le menu Ajustage, puis appuyez sur ENTER.
- Sélectionnez « Réglages » dans « SelfCalibration », puis appuyez sur ENTER.
- Sélectionnez « Cible » dans « Réglages », puis appuyez sur ENTER.
- Utilisez la touche ou pour selectionner le mode à modifier, et appuyez sur la touche ENTER. Le menu de réglage de la cible apparait.
- Utilisez la touche ou pour selectionner le élément à modifier, et appuyez sur la touche ENTER.
| Élément de réglage | Plage d'ajustage | Réglage | |
| Luminosité | 30-200 cd/m2 | Réglez la luminosité du monitre en utilisant la valeur de luminosité (cd/m2). | |
| Point blanc | Blanc (x) / Blanc(y) | 0,2400-0,4500*1 | Réglez le monitre Point blanc en utilisant les coordonnées de couleur ou Température. |
| Température | 4000-10000 K (unité de 100 K)*2 | ||
| Gamme de couleurs | Gamage de couleurs | Natif | Le calibrage de la palette de couleurs n'est pas effectué. |
| Utilis. | Le calibrage de la palette de couleurs est effectué. | ||
| Pour chacune des couleurs Rouge/Vert/Bleu | 0,0000-1,0000 | Pour calibrer la palette de reproduction de couleurs du monitre, réglez les coordonnées de couleur pour le rouge, le vert et le bleu. | |
| Gamma | 1,6-2,7 (unité de 0,1)*3 | Réglez les valeurs gamma du monitreur. | |
1 Lorsque les coordonnées de couleur sont régles, la température change en « Utilis. »
2 Lorsque la température est réglée, les coordonnées x et y du point blanc sont régées automatiquement.
*3 Elles deviennent « Fixe » lors du calibrage avec ColorNaivgator.
- Utilisez les touches ou pour effectuer le réglage.
- Appuyez sur ENTER pour quitter.
Les cibles de calibrage sont régliées.
Attention
- Reglez le calibrage de la palette de couleurs uniquement lorsque la plage de couleurs cible est connue de façon précise.
- Si ColorNavigator a été utilisé pour calibrer la balance de gris, ne changez pas les valeurs de réglage du gamma.
4-2. Execution de SelfCalibration « Exécuter »
Procedure
- Sélectionnez « SelfCalibration » dans le menu Ajustage, puis appuyez sur ENTER.
- Sélectionnez « Exécuter » dans « SelfCalibration », puis appuyez sur ENTER. Le capteur de calibrage est activé et SelfCalibration est executé.
Attention
- Pour executer SelfCalibration, il est nécessaire de régler les détails de calibrage. Pour plus d'informations, voir « 4-1. Réglage des détails de calibrage « Réglage » » (page 30).
- Àpres avoir sélectionné l'exécution, une mise en chauffe peut être exécutée avant l' apparition du capteur de calibrage.
4-3. Vérification des résultats de calibrage « Résultat »
Les résultats precedents de SelfCalibration peuvent être vérifiés.
Procedure
- Sélectionnez « SelfCalibration » dans le menu Ajustage, puis appuyez sur ENTER.
- Sélectionnez « Résultat » dans « SelfCalibration », puis appuyez sur ENTER.
- Sélectionnez le mode de votre choix pour vérifier les résultats à l'aide de la touche ou . Le menu Résultat apparait. La date et l'heure de la dernière execution de SelfCalibration et la durée totale d'utilisation du moniteur depuis le calibrage précédent sont affichées.
- Sélectionnez « Résultat calibr. » ou « Eclair. d'ambiance » à l'aide de la touche ▲ ou ▼.
Les résultats du calibrage précédents sont affichés.
Attention
- Les résultats de mesure du capteur d'éclairage d'ambiance permettent de mesurer la différence entre le niveau actuel d'éclairage environnant et le niveau d'éclairage d'ambiance lorsque SelfCalibration a été executé, et ne sont pas réveilés dans les résultats de SelfCalibration.
Remarque
- Si « Eclair. d'ambiance » est selectionné, la lumière environnante actuelle s'affiche également.
- Les valeurs numériques n'atteignant pas les valeurs cibles s'affichent en jaune.
- Si l'environnement d'utilisation du produit est extrémement différent de l'environnement précédent, les résultats de mesure de l'éclairage d'ambiance peuvent considérablement différer entre les calibrages précédents et les calibrages actuels.
Chapitre 5 Fonctions économique d'énergie
5-1. Réglage de la fonction d'économie d'énergie « Veille »
Cette fonction vous permet de régler le moniteur en mode d'économie d'énergie selon l'état de l'ordinateur. Une fois que le moniteur est entrez en mode d'économie d'énergie, aucune image ne s'affiche à l'écran.
Attention
- L'alimentation du moniteur est coupée lorsque vous débranchez le cordon d'alimentation ou lorsque vous désactivez le commutateur d'alimentation principal.
- Les péripériques branchés au port USB avant et au port USB avai continu de fonctionner lorsque le moniter est en mode d'économie d'énergie ou si la touche d'alimentation du moniter est réglée sur Off. Par conséquent, la consommation d'énergie du moniter varie selon les péripériques branchés, même si celui-ci est en mode d'économie d'énergie.
Cinq secondes avant de passer en mode d'économie d'énergie, le moniteur affiche un message préalable.
Procedure
- Sélectionnez « PowerManager » dans le menu Ajustage, puis appuyez sur ENTER
- Sélectionnez « Veille » dans « PowerManager », puis appuyez sur ENTER.
- Sélectionnez « On » ou « Off » à l'aide des touches ▲ ou ▼.
- Appuyez sur ENTER pour quitter.
Système d'économie d'énergie
À l'entrée de signal DVI
Ce moniteur est conforme à la norme « DVI DMPM »
À l'entrée de signal DisplayPort / Mini DisplayPort
Ce moniteur est conforme à la norme « DisplayPort V1.1a »
Le moniteur passe en mode economie d'énergie en cinq secondes, selon le réglage de votre ordinateur.
| PC | Moniteur | Témoin de fonctionnement |
| MARCHE | En fonctionnement | Bleu |
| Mode économique d'énergie | Mode économique d'énergie | Orange |
5-2. Réglage du mode d'économie d'énergie lorsqu'une personne s'éloigne du moniteur « EcoView Sense »
Le capteur situé sur la face avant du monitér déetecte les mouvements d'une personne en réglant une valeur de « Niveau-1 » à « Niveau-4 » de la fonction EcoView Sense. Lorsqu'une personne s'éloigne du moniteur, celui-ci entre automatiquement en mode d'économie d'énergie et aucune image n'est affichée à l'écran, ce qui permet de réduire la consommation d'énergie. Lorsqu'une personne se rapproche à nouveau du moniteur, celui-ci quitte le mode d'économie d'énergie et affiche de nouveaux les images. Le niveau de détction du capteur EcoView Sense peut être modifié en fonction de l'environnement d'utilisation.
Remarque
- Au moment du changement de mode d'économie d'énergie, le message qui indique ce changement s'affiche.
Attention
- Lorsque l'orientation du menu Ajustage est définie sur « Portrait » ou que « Veille » est reglee sur « Off», la fonction EcoView Sense est désactivée (voir « 3-3. Réglage de l'orientation « Orientation » » (page 25)).
- Avant de procéder à l'ajustage à l'aide du menu Réglage de couleur, SelfCalibration ou ColorNavigator, réglez le moniteur sur « Off » afin que ses composants électriques internes se stabilisent. (Réglage par défaut : Off)
Procedure
- Sélectionnez « PowerManager » dans le menu Ajustage, puis appuyez sur ENTER.
- Sélectionnez « EcoView Sense » dans « PowerManager », puis appuyez sur ENTER.
- Sélectionnez « Off » et « Niveau-1 », « Niveau-2 », « Niveau-3 » ou « Niveau-4 », (niveau de détention du capteur) à l'aide des touches ▲ ou ▼.
| Niveau | Zone de détention | Description |
| Niveau-1 | 120 cm (47,2 pouces) ou moins | Si l'utilisateur s'éloigne de la zone de détention, le moniteur passe en mode d'économie d'énergie. Des objets fixes se trouvant dans la zone de détention seront considérés comme un utiliser present. Ce réglage est recommendé si le moniteur passe frequently en économie d'énergie, même lorsque l'utilisateur se trouve en face de l'écran. |
| Niveau-2 | 90 cm (35,4 pouces) ou moins | |
| Niveau-3 | Réglage automatique (120 cm [47,2 pouces] ou moins) | La zone de détention est automatiquement définie par le mouvement de l'utilisateur. Si l'utilisateur s'éloigne de cette zone, le moniteur passe en mode d'économie d'énergie. Des objets fixes se trouvant dans la zone de détention seront ignorés. |
| Niveau-4 | Réglage automatique (90 cm [35,4 pouces] ou moins) |
- Appuyez sur ENTER pour quitter.
Chapitre 6 Dépannage
Si un problème persististe après application des corrections proposées, veuillez prendre contact avec votre revendeur local.
6-1. Aucune image
| Problème | Cause possible et solution |
| 1. Aucune image • Le tímein de fonctionnement ne s'allume pas. | • Vérifiéz que le cordon d'alimentation est correctement branché. • Coupez l'alimentation du moniteur, puis rétablissez-la quelques minutes plus tard. • Activez le commutateur d'alimentation principal. • Appuyez sur Ⓞ. |
| • Le tímein de fonctionnement s'allume en bleu. | • Augmentez les valeurs de « Luminosité », « Contraste », et/ou « Gain » dans le menu Ajustage (voir « Réglages avancés » (page 17)). |
| • Power indicator is lighting orange. | • Changez le signal d'entée en appuyant sur SIGNAL. • Appuyez sur une touche du clavier ou faites bouger la souris. • Vérifiéz si l'ordinateur est sous tension. • Lorsque le capteur EcoView Sense est configuré sur une valeur de « Niveau-1 » à « Niveau-4», il se peut que le moniteur entre en mode d'économie d'énergie. Approchez-vous du moniteur. |
| • Le tímein de fonctionnement clignote en orange et bleu. | • Le pérophérique qui utilise le branchement DisplayPort / Mini DisplayPort a rencontres un problème. Résolvez le problème, éteignez le moniteur, puis allumez-le de nouveau. Pour plus d'informations, reportez-vous au manuel d'utilisation du pérophérique qui utilise le branchement DisplayPort / Mini DisplayPort. |
| 2. Le message ci-dessous s'affiche. • Ce message s'affiche si aucun signal n'entre. Exemple : No Signal DisplayPort-1 fH: 0.0kHz fV: 0.0Hz Check the input signal. | Ce message s'affiche lorsque le signal n'entre pas correctement, même si le moniteur fonctionne correctement. • Le message illustré à gauche risque de s'afficher, étantdonné que certains ordinateurs n'émettent pas de signal d'es leur mise sous tension. • Vérifiéz si l'ordinateur est sous tension. • Vérifiéz que le cable de signal est correctement branché. • Changez le signal d'entée en appuyant sur SIGNAL. |
| • Le message indique que le signal d'entrée est en dehors de la bande de fréquence spécifique. (Cette fréquence de signal s'affiche en magenta.) Exemple : Signal Error DVI Digital fD: 100.0MHz fH: 100.0kHz fV: 70.0Hz Check the input signal. | • Vérifiez que l'ordinateur est configuré de façon à correspondre aux besoin du moniteur en matière de résolution et de fréquence de balayage vertical (voir « 2-1. Résolutions compatibles » (page 14)). • Redémarrez l'ordinateur. • SéLECTIONnez un mode d'affichage approprié à l'aide de l'utilitaire de la carte vidéo. Reportez-vous au manuel d'utilisation de la carte vidéo pour plus d'informations. |
| fD: Fréquence de point fH: Fréquence de balayage horizontal fV: Fréquence de balayage vertical |
6-2. Problèmes d'imagerie
| Problème | Cause possible et solution |
| 1. L'écran est trop lumineux ou trop nombre. | • Utilisez les fonctions « Luminosite » ou « Contraste » dans le menu Ajustage pour régler ce problème. (Le rétro-éclairage du monitreur LCD a une durée de vie limitée. Si l'écran s'assombrit ou scintille, prenez contact avec votre revendeur.) |
| 2. Les caractères sont flous. | • Vérifiez que l'ordinateur est configuré de façon à correspondre aux besoin du monitreur en matière de résolution et de fréquence de balayage vertical (voir « 2-1. Résolutions compatibles » (page 14)). • Utilisez la fonction « Contour optimal » du menu Ajustage pour régler ce problème (voir « Pour accentuer le contour de l'image « Contour optimal » » (page 20)). |
| 3. Des images rémanentes s'affichent. | • Les images rémanentes sont spécifiques aux moniteurs LCD. Evitez d'afficher la même image pendant trop longtemps. • Utilisez l'économiseur d'écran ou la fonction d'économie d'énergie pour éviter d'afficher la même image pendant des périodes prolongées. |
| 4. Des points verts/rouges/bleus/blancs ou des points défectueux restent affichés sur l'écran. | • C'est une caractéristique du panneau LCD et non un défaut. |
| 5. Un moirage ou des marques de pression restent sur l'écran. | • Affichez un écran blanc ou noir sur le moniteur. Le problème peut être ainsi résolu. |
| 6. Des parasites apparaissent sur l'écran. | • Dans le menu Ajustage, réglez « Overdrive » sur « Off » (voir « 2-6. Configurer la performance des images en mouvement « Overdrive » » (page 23)). • Lorsque les signaux du système HDCP sont entrés, il est possible que les images normales ne s'affichent pas immédiatement à l'écran. |
| 7. (Entrée DisplayPort-1(DisplayPort-2) La position d'affichage des fenêtres change. | • Lorsque l'alimentation sera activée, la position de la fenêtre sera modifiée. Ce problème peut être résolu en branchant le cable USB au moniteur et à un ordinateur. • Lorsque le signal permutera, la position de la fenêtre changera peut-être. Activez « DisplayPort-1 » ou « DisplayPort-2 » en utilisant « Ignorer l'entrée » dans le menu Ajustage, et ignorez les signaux inutiles (voir « 3-9. Pour désactiver le signal d'entrée « Ignorer l'entrée » » (page 29)). |
6-3. Autres problèmes
| Problème | Cause possible et solution |
| 1. Le menu Ajustage ne s'affiche pas. | Vérifiez si la fonction de verrouillage est activée (voir « 3-6. Touches de verrouillage « Verrouillage » » (page 26)). |
| 2. Aucun menu mode n'est affchéé. | Vérifiez si la fonction de verrouillage est activée (voir « 3-6. Touches de verrouillage « Verrouillage » » (page 26)). |
| 3. (Lors de l'utilisation du EcoView Sense) Les images restent à afficher lorsque vous éloignez du moniteur. / Les images ne s'affichent pas à nouveau lorsque vous给您 approchEZ. | Vérifiez l'environnement d'utilisation du moniteur. La fonction Capteur présence ne fonctionne pas correctement dans les environnements d'utilisation suivants. - Un objet reflechissant la lumière tel qu'un miroir ou du verre se situe devant le capteur. - Le moniteur est situé dans un endroit exposé aux rayons directs du soleil. - Un apparil infrarouge se situe à proximité du moniteur. - Il y a un obstacle devant le moniteur. Vérifiez la présence de saleté sur le capteur. Nettoyez-le à l'aide d'un chiffon doux. Vérifiez si vous vous trouvez devant le moniteur. Pour détecter une personne, le capteur émet des rayons infrarouges vers celle-ci sur un plan vertical. |
| 4. Le moniteur raccordé avec le cable USB n'est pas détecté. / Les pérophériques USB raccordés au moniteur ne fonctionnement pas. | Vérifiez que le cable USB est correctement branché (voir « 7-3. Utilisation du bus USB (Universal Serial Bus) » (page 45)). Branchez le cable sur un autre port USB. Si vous ordinateur ou les pérophériques fonctionnement correctement après avoir changé de port, contactez votre revendeur le plus proche. (Consultez le mode d'emploi de l'ordinateur pour plus d'informations.) Redémarrez l'ordinateur. Si les pérophériques fonctionnement correctement lorsque l'ordinateur et les pérophériques sont raccordés directement, contactez votre revendeur local. Assurez-vous que l'ordinateur et le système d'exploitation sont compatibles USB. (Pour toute information sur la compatibilité USB de pérophériques, consultez leur fabricant respectif.) Vérifiez le réglage du BIOS pour la connexion USB si votre ordinateur fonctionne sous Windows. (Consultez le manuel de l'ordinateur pour plus d'informations.) |
6-4. Problèmes liés au capteur de calibrage et à SelfCalibration
| Problème | Cause possible et solution |
| 1. Le capteur de calibrage sort automatique-ment lorsque le commutateur de l'alimentation principale est allumé. | Ceci n'est pas un dysfonctionnement. Le capteur de calibrage sort automatiquement lorsque l'alimentation est allumée pour vérifier le fonctionnement du capteur de calibrage. |
| 2. Le capteur de calibrage ne sort pas/reste à l'extérieur. | Coupez l'alimentation du moniteur, puis rétablissez-là quelques minutes plus tard. Si un problème persististe après application des corrections proposées, veuillez prendre contact avec votre revendeur local. |
| 3. Impossible d'exctuer SelfCalibration. | Vérifiez que l'heure et la date sont correctement régliées. Vérifiez que le mode est régle. Vérifiez que les cibles de calibrage sont correctement régliées. |
| 4. Échec de SelfCalibration. | Reportez-vous au tableau des codes d'erreur de SelfCalibration. Si un code d'erreur n'apparaissant pas dans le tableau des codes d'erreur de SelfCalibration s'affiche, veuillez prendre contact avec votre revendeur local. |
Tableau des codes d'erreur
| Code d'erreur | Description |
| 01** | • Erreurs survenues pendant SelfCalibration de CAL1 |
| 02** | • Erreurs survenues pendant SelfCalibration de CAL2 |
| 03** | • Erreurs survenues pendant SelfCalibration de CAL3 |
| 09** | • Erreurs survenues pendant SelfCalibration pour d'autres modes |
| 0*10 | • La luminosité maximale du produit peut être plus BASSE que la luminosité de la cible. • Baissez la luminosité de la cible. |
| 0*34 | • Le capteur de calibrage peut ne pas sortir pendant le calibrage, ou de la lumière peut avoir pénétré le capteur pendant le calibrage. • Coupez l'alimentation, puis rétablissez-la quelques minutes plus tard et exécutez SelfCalibration encore une fois. |
| 0*50 | • De la lumière peut avoir pénétré le capteur intégré pendant que le capteur était en cours d'initialisation. • Exécutez SelfCalibration encore une fois. |
7-1. Comment fixer le bras optionnel
Un bras en option (ou un pied en option) peut être fixé en retardant la section du pied. Pour le bras (ou le pied) disponible en option, veuilles consulter notre site Web. http://www.eizo.com
Attention
Fixez le bras ou pied conformément aux instructions de son manuel d'utilisation.
- Avant d'utiliser un bras ou un pied d'une autre marque, vérifie les points suivants et désissez un produit conforme à la norme VESA.
- Espacement entre les trous de vis: 100mm× 100mm
- Epaisseur de la plaque : 2,6 mm
- Suffisamment solide pour supporter le poids du moniteur (à l'exception du pied) et les accessoires tels que les câbles.
Utilisez les vis décrites ci-dessous.
- Vis utilisées pour fixer le pied sur le moniteur.
- Si vous utilisez un bras ou un pied, fixez-le selon les angles suivants d'inclinaison du moniter.
-Haut 45^ ,bas 45^
- Raccordez les cables après avoir fixé le bras ou pied.
- Une fois le pied retire, ne le manipulez pas vers le haut ou le bas. Vous risqueriez de vous blesser ou d'endommager l'appareil.
- Le moniteur et le bras ou pied sont lourds. Vous pourriez vous blesser ou endommager le matériel en les laissant tomber.
- Lors du réglage du moniteur en style portrait, tournez l'écran du moniteur de 90^ dans le sens des aiguilles d'une montre.
Procedure
- Posez le moniteur LCD sur un tissu doux étalé sur une surface stable avec la surface de l'écran tournée vers le bas.
- Enlevez le pied.
Préparez un tournevis. Desserrez les vis (quatre) fixant l'appareil et le pied à l'aide du tournevis.
- Fixez le bras ou le pied au moniteur.
Fixez le moniteur au bras ou pied à l'aide des vis spécifiées dans le manuel d'utilisation du bras ou pied.

7-2. Branchement Raccordement de plusieurs PC
Le produit possède plusieurs connexions vers des PC et vous permet de passer à l'une des connexions pour l'affichage.

Exemples de branchement
- Commutation du signal d'entrée
Le signal d'entrée change chaque fois que vous appuyez sur SIGNAL.
Lorsque le signal est commuté, le nom du port d'entrée actif s'affiche dans le coin supérieur droit de l'écran.

Remarque
- Vous pouvez ignorer un signal d'entrée spécifique. Pour plus d'informations, voir « 3-9. Pour désactiver le signal d'entrée « Ignorer l'entrée » » (page 29).
Pour régler la sélection du signal d'entrée « Sélection entrée »
| Réglage | Fonction |
| Auto | Le moniteur reconnaît le connecteur permettant l'entrée des signaux de l'ordinateur. Lorsqu'un PC est mis hors tension ou passée en mode d'économie d'énergie, le moniteur affiche automatiquement un autre signal. |
| Manuel | Le moniteur détecte uniquement les signaux du PC qui sont en train de s'afficher automatiquement. Sélectionnez un signal d'entrée actif à l'aide de SIGNAL. |
Procedure
- Sélectionnez « Outils » dans le menu Ajustage, puis appuyez sur ENTER.
- Sélectionnez « Sélection entrée » dans « Outils », puis appuyez sur ENTER.
- Sélectionnez « Auto » ou « Manuel » à l'aide des touches ▲ ou ▼.
- Appuyez sur ENTER pour quitter.
Remarque
- Lorsque « Auto » est régé sur « Sélection entrée», la fonction d'économie d'énergie du monitér n'est effectivement que si tous les PC sont en mode d'économie d'énergie.
7-3. Utilisation du bus USB (Universal Serial Bus)
Ce moniteur est équipé d'un concentrateur compatible USB. Raccordé à un ordinateur compatible USB ou à un autre concentrateur USB, il se comporte comme un concentrateur USB en permettant la connexion à des péripériques USB.
- Environnement système requis
- Un ordinateur équipé d'un port USB ou un autre concentrateur USB raccordé à un ordinateur compatible USB.
- Windows 2000/XP/Vista/7 ou Mac OS 9.2.2 et Mac OS X 10.2 ou version ultérieure
- Cable USB EIZO (MD-C93)
Attention
- Ce moniteur peut ne pas fonctionner correctement selon l'ordinateur, le système d'exploitation et les péripériques utilisés. Pour toute information sur la compatibilité USB de vos péripériques, contactez leurs fabricants.
- Les péripériques raccordés au port USB amont et aval continuant de fonctionner lorsque le moniter est en mode d'économie d'énergie ou si la touche d'alimentation du moniter est réalisée sur Off. Par conséquent, la consommation d'énergie du moniter varie selon les péripériques connectés, même si ceux-ci sont en mode d'économie d'énergie.
- Si le commutateur d'alimentation principal est regle sur Off, le pérophérique raccordé au port USB ne fonctionne pas.
- Procedure de connexion (Configuration de la fonction USB)
- Raccordez d'abord le moniteur à un ordinateur à l'aide du cable de signal, puis mettez l'ordinateur sous tension.
- Raccordez le cable USB fourni entre le port USB aval d'un ordinateur compatible USB (ou d'un concentrateur USB) et le port USB amont du moniteur.
La fonction de concentrateur USB est automatiquement configurée au moment de la connexion du cable USB.
- Permet de raccorder le péripérisque USB au port USB aval du moniteur.

7-4. Affichage des informations sur le moniteur
- Affichage des informations sur le signal «Infos Signal »
Cette fonction permet d'afficher les informations sur les signaux d'entrée affichés actuellement.
Procedure
- Sélectionnez « Outils » dans le menu Ajustage, puis appuyez sur ENTER.
- Sélectionnez «Infos Signal » dans «Outils », puis appuyez sur ENTER.
«Infos Signal» s'affiche.
(Example)

- Affichage des informations relatives au moniteur «Infos Moniteur »
Cette fonction permet d'afficher les informations sur le moniteur.
Procedure
- Sélectionnez « Outils » dans le menu Ajustage, puis appuyez sur ENTER.
- Sélectionnez «Infos Moniteur » dans le menu « Outils », puis appuyez sur ENTER.
«Infos Moniteur» s'affiche.
Cette fonction permet d'afficher le nom du modele, le numero de série, la version du micrologiciel et le temps d'utilisation.

Attention
- Le temps d'utilisation n'est pas toujours à « 0 » lorsque vous achetez le moniteur, en raison de contrôle en usine.
7-5. Specifications
| Panneau LCD | Taille | Ecran LCD couleur TFT 27,0 pouces (680 mm) | |
| Traitement de surface | Revêtement durci | ||
| Dureté de surface | 3H | ||
| Angles de visionnage | Horizontal 178°, vertical 178° (CR ≥ 10) | ||
| Pas de masque | 0,2331 mm | ||
| Temps de réponse | Noir-blanc-noir : Env. 12 ms | ||
| De gris à gris : Env. 6 ms | |||
| Fréquence de balayage horizontal | 26-89 kHz | ||
| Fréquence de balayage vertical | 23,75-63 Hz (non entrelacé) (VGA TEXT : 69-71 Hz) | ||
| Mode à trame synchrone | 23,75-30,5 Hz, 47,5-61 Hz | ||
| Résolution | 2560 points × 1440 lignes | ||
| Luminosité recommendée | 120cd/m2 ou moins (avec une « Température » de couleur comprise entre « 5000 K » et « 6500 K ») | ||
| Fréquence de point maximal | 242 MHz | ||
| Couleur affichable maximale | Environ 1073,74 millions de couleurs (pour l'entrée DisplayPort / Mini DisplayPort 10 bits, DVI 10 bits) | ||
| Zone d'affichage (H × V) | 596,74 mm × 335,66 mm (23,49 pouces × 13,21 pouces) | ||
| Alimentation | 100 à 120 Vac ±10%, 50/60 Hz 1,6 A 200 à 240 Vac ±10%, 50/60 Hz 0,8 A | ||
| Consommation électrique | Affichage à l'écran allumé | 160 W ou moins | |
| Mode économique d'énergie | 1,0 W ou moins (uniquement lorsque le connecteur du signal DVI est branché, qu'aucun pérophérique USB n'est branché et que « Sélection entrée » est réglée sur « Manuel ») | ||
| Hors tension | 0,8 W ou moins (lorsque aucun pérophérique USB n'est raccordé) | ||
| Alimentation principale coupée | 0 W | ||
| Connecteurs de signal d'entrée | Connecteur DVI-D (Compatible HDCP) | ||
| Connecteur DisplayPort (Norme V1.1a, applicable à HDCP) | |||
| Connecteur Mini DisplayPort (Norme V1.1a, applicable à HDCP) | |||
| Système de transmission de signal numérique (DVI) | TMDS (Single Link / Dual Link) | ||
| Plug & Play | Numérique (DVI-D) : VESA DDC 2B / Structure EDID 1.3 Numérique (DisplayPort / Mini DisplayPort) : VESA DisplayPort / EDID structure 1.4 | ||
| Dimensions (largeur) × (hauteur) × (profondeur) | Unité principale | 646 mm (25,4 pouces) × 425-576,5 mm (16,7-22,7 pouces) × 281,5 mm (11,1 pouces) | |
| Unité principale (sans pied) | 646 mm (25,4 pouces) × 402 mm (15,8 pouces) × 92 mm (3,6 pouces) | ||
| Avec capot de protection pour écran | Paysage | 653 mm (25,7 pouces) × 584 mm (23,0 pouces) × 379,5 mm (14,9 pouces) | |
| Portrait | 410,5 mm (16,2 pouces) × 712 mm (28,0 pouces) × 379,5 mm (14,9 pouces) | ||
| Poids | Unité principale | Env. 13,6 kg (30,0 lbs.) | |
| Unité principale (sans pied) | Env. 9,7 kg (21,8 lbs.) | ||
| Avec capot de protection pour écran | Env. 14,7 kg (32,4 lbs.) | ||
| Plage de déplacement | Inclinaison : Haut 25°, bas 0° | ||
| Pivotement : 172° vers la droite, 172° vers la gauche | |||
| Hauteur régiable : 190 mm (151,5 mm pour une inclinaison de 0°) | |||
| Rotation : 90° (vers la droite) | |||
| Conditions ambantes | Température | En fonctionnement : 0°C à 35°C (32°F à 95°F) |
| Stockage : -20°C à 60°C (-4°F à 140°F) | ||
| Humidité | En fonctionnement : 20% à 80% HR (sans condensation) | |
| Stockage : 10% à 90% HR (sans condensation) | ||
| Pression atmosphérique | En fonctionnement : 700 hPa à 1060 hPa | |
| Stockage : 200 hPa to 1060 hPa | ||
| USB | Norme | USB Specification Revision 2.0 |
| Port | Port amont × 1, Port aval × 2 | |
| Vitesse de transmission | 480 Mbps (haute), 12 Mbps (maxi), 1,5 Mbps (bas) | |
| Alimentation courante | Aval : 500 mA max./1 port |
Principaux réglages par défaut
| Color Mode | Custom |
| Contour optimal | 0 |
| Taille | Plein |
| Overdrive | On |
| Veille | On |
| EcoView Sense | Off |
| Langue | English |
| Position du Menu | Centre |
| Sélection entrée | Manuel |
Unité : mm (pouce)

Dimensions externes







7-6. Glossaire
Adobe RGB
Il s'agit de la définition de l'espace couleur fonctionnel RGB proposé par Adobe Systems en 1998. La gamme de reproduction des couleurs (palette de couleurs) est plus étendue que le sRGB et s'adapte parfaitement à des domaines tels que l'impression, etc.
Cette société a eté fondée par une association de studios cinématographiques américain et prend les décisions en ce qui concerne les caractéristiques du cinema numérique.
DisplayPort
VESA inclut une norme d'interface numérique pour le périphérique d'affichage numérique. DisplayPort peut transférer un signal video jusqu'à 16 bits pour chaque canal RGB ainsi qu'un signal audio.
DVI (Digital Visual Interface)
DVI est une norme d'interface numérique. L'interface DVI permet la transmission directe des données numériques du PC sans perte.
Ceci inclut le système de transmission TMDS et les connecteurs DVI. Il existe deux types de connecteurs DVI. Le premier est le connecteur DVI-D réservé à l'entrée de signaux numériques. L'autre est le connecteur DVI-I qui accepte des signaux numériques et analogiques.
DVI DMPM est une fonction d'économie d'énergie adaptée à l'interface numérique. Les états « monitreur allumé » (mode de fonctionnement normal) et « actif étent » (mode économique d'énergie) sont indispensablees pour le mode d'alimentation DVI DMPM du monitreur.
Cette organisation a également implanté des bureaux de diffusion en Europe et en Afrique du Nord, et a pour role de définir différentes normes techniques, etc.
Gain
Cette fonction est utilisé pour régler chaque paramètre de couleur pour le rouge, le vert et le bleu. Un moniteur LCD peut afficher des couleurs en faisant passer la lumière par le filtre coloré du panneau. Le rouge, le vert et le bleu sont les trois couleurs primaires. Toutes les couleurs affichées à l'écran sont une combinaison de ces trois couleurs. Le ton peut être modifié en réglient l'intensité de lumière (volume) traversant le filtre de chaque couleur.
Gamma
Généralement, la luminosité du moniteur varie de façon non linéaire selon le niveau du signal d'entrée; c'est ce qu'on appelle la « caractéristique Gamma ». Une valeur gamma faible générale une image peu contrastée alors qu'une valeur gamma élevée augmente le contraste de l'image.
Il s'agit d'un système de codage des signaux numériques, qui a été développé afin de protégger les contenus numériques (video, musique, etc.) contre la copie.
La technologie HDCP permet de sécuriser la transmission des contenus numériques en codant côté sortie le contenu envoyé via le connecteur DVI ou HDMI et en le decodant ensuite côté entrée.
Aucun contenu numérique ne peut être reproduit si les équipements cotsés sortie et entrée ne sont pas compatibles HDCP.
Overdrive
Cette technologie améliore la vitesse de réponse en augmentant la différence potentielle lors du mouvement de pixels à cristaux liquides. Elle est utilisé pour les écrans de télévisions à cristaux liquides et autres dispositifs similaires. Améliorant le temps de réponse des graduations intermédiaires souvent presents dans les images animées, elle permet un affichage net en trois dimensions avec peu d'images rémanente.
Rec709
Standards d'émission numérique (TVHD) définis par l'ITU-R (International Telecommunication Union, Radio Communication Sector, Union Internationale des Télocommunications, secteur des radiocommunications).
Résolution
Le panneau LCD est constitué d'un grand nombre de pixels d'une taille spécifiée qui s'allument pour former l'image affichée à l'écran. Le moniteur est constitué de 2560 pixels horizontally et de 1440 pixels verticaux. A une résolution de 2560 × 1440 , tous les pixels sont affichés en plein écran (1:1).
SMPTE-C
L'une des normes apportées par la SMPTE (Society of Motion Picture and Television Engineers: Société des Ingénieurs de la Cinématographie et de la télévision).
sRGB (Norme RGB)
Norme internationale pour la reproduction couleur et l'espace couleur sur des dispositifs péripériques (tels que moniteurs, imprimantes, apparèils photos numériques, scanners). C'est une forme simple d'harmonisation des couleurs sur Internet, qui permet d'afficher les couleurs en utilisant des tons proches de ceux des dispositifs de transmission et de réception.
Température
La température de couleur est une méthode de mesure de la tonalité du blanc, indiquée généralement en degrés Kelvin. L'écran devient rougeâtre à basse température et bleuâtre à température elevée, comme la température de la flamme.
5000K : blanc légrement rougeâtre
6500K : blanc appelé couleur en lumière naturelle
9300 K: blanc légrement bleuté
Méthode de transmission de signal pour l'interface numérique.
Marque commerciale
Les icônes DisplayPort et VESA sont des marques commerciales et des marques déposées de Video Electronics Standards Association aux États-Unis et dans d'autres pays.

Windows, Windows Vista, Windows Media et Xbox 360 sont des marques déposées de Microsoft Corporation aux États-Unis et dans d'autres pays.
Apple, Mac, Macintosh, iMac, eMac, Mac OS, MacBook, PowerBook, ColorSync, QuickTime et iBook sont des marques déposées de Apple Inc.
Acrobat, Adobe, Adobe AIR et Photoshop sont des marques déposées de Adobe Systems Incorporated aux Etats-Unis et dans d'autres pays.
PowerPC est une marque déposée de International Business Machines Corporation.
Pentium est unemarque déposée de Intel Corporation aux Etats-Unis et dans d'autres pays.
AMD Athlon et AMD Opteron sont des marques commerciales de Advanced Micro Devices, Inc.
GRACoL et IDEAlliance sont des marques déposées de International Digital Enterprise Alliance.
ColorVision, ColorVision Spyder2 sont des marques déposées de DataColor Holding AG.
Spyder3 est une marque commerciale de DataColor Holding AG.
Eye-One, colormunki et X-Rite sont des marques déposées ou des marques commerciales de X-Rite Incorporated.
TouchWare est une marque commerciale de 3M Touch Systems, Inc.
NextWindow est une marque déposée de NextWindow Ltd.
RealPlayer est une marque déposée de RealNetworks, Inc.
NEC est une marque déposée de NEC Corporation. PC-9801 et PC-9821 sont des marques commerciales de NEC Corporation.
PlayStation est une marque déposée de Sony Computer Entertainment Inc.
PSP et PS3 sont des marques commerciales de Sony Computer Entertainment Inc.
ENERGY STAR est une marque déposée de l'Agence américain de Protection de l'Environnement aux Etats-Unis et dans d'autres pays.
HDMI, le logo HDMI et High-Definition Multimedia Interface sont des marques commerciales ou des marques déposées de HDMI Licensing, LLC aux Etats-Unis et dans d'autres pays.
EIZO, le logo EIZO, ColorEdge, DuraVision, FlexScan, FORIS, RadiForce, RadiCS, RadiNET, Raptor et ScreenManager sont des marques déposées de EIZO NANAO CORPORATION au Japon et dans d'autres pays. ColorNavigator, EIZO EasyPIX, EcoView NET, EIZO ScreenSlicer, i·Sound, Screen Administrator et UniColor Pro sont des marques commerciales de EIZO NANAO CORPORATION.
Tous les autres noms de sociétés et de produits sont des marques commerciales ou des marques déposées de leurs propriétaires respectifs.
Licence
La police bitmap round gothic gras utilise pour les caractères affichés au dessus de ce produit est conque par Ricoh.

Congratulations!
EIZO NANAO CORPORATION (ci-après dénommé « EIZO ») et les distributeurs autorisés par EIZO (ci-après dénommés « Distributeurs »), sous réserve et conformément aux termes de cette garantie limitée (ci-après dénommée « Garantie »), garantissant à l'acheteur initial (ci-après dénommé « Acheteur initial ») du produit spécifique dans la presente (ci-après dénommé « Produit ») acheté auprès d'EIZO ou de Distributeurs agrées EIZO, que EIZO et ses Distributeurs auront pour option de répacker ou remplaner gratuitement le Produit si l'Acheuter initial constate, pendant la période de garantie (définie ci-dessous), (i) qu'il y a un dysfonctionnement ou que le Produit a subi un dommage dans le cadre d'une utilisation normale du Produit conformément à la description du mode d'emploi qui accompagne le Produit (ci-après dénommé « Manuel d'utilisateur »), ou (ii) que le panneau LCD et la luminosité du Produit ne peuvent pas maintainir la luminosité recommandée spécifiée dans le Manuel d'utilisation dans le cadre d'une utilisation normale du Produit, conformément à la description du Manuel d'utilisation.
La période de cette Garantie est limitée à cinq (5) ans à partir de la date d'achat du Produit sous réserve que sa durée d'utilisation soit inférieure ou égale à 30 000 heures (ci-après dénommée « Période de garantie »). La Période de garantie du panneau LCD est limitée à trois (3) ans à partir de la date d'achat du Produit. La luminosité du Produit ne sera garantie que si le Produit a été utilisé conformément à la luminosité recommendée dans le Manuel d'Utilisation et la Période de Garantie en matière de luminosité est limitée à trois (3) ans à compter de la date d'achat du Produit sous réserve que la durée d'utilisation soit inférieure ou égale à 10 000 heures. EIZO et ses Distributeurs déclinent toute responsabilité ou obligation concernant ce Produit face à l'Asceteur initial ou à toute autre personne à l'exception de celles stipulées dans la presente Garantie.
ElZO et ses Distributeurs cesseront de tener ou conserver en stock toute piece de ce Produit après l'expiration de la période de sept (7) ans suivant l'arrêt de la production de telles pieces. Pour réparer le moniteur, ElZO et ses distributeurs utiliseront des pieces de rechange conformes à nos normes de contrôle qualité.
La Garantie est valable uniquement dans les pays ou les territoires ou se trouvent les Distributeurs. La Garantie ne limite aucun des droits reconnus par la loi à l'Acheur initial.
Nonobstant toute autre clause de cette Garantie, EIZO et ses Distributeurs n'auront d'obligation dans le cadre de cette Garantie pour aucun des cas ennumérés ci-dessous:
(a) Tout défaut du Produit résultat de dommages occasionnés lors du transport, d'une modification, d'une altilation, d'un abus, d'une mauvaise utilisation, d'un accident, d'une installation incorrecte, d'un désastre, d'un entretien et/ ou d'une réparation incorrectly effectuels par une personne autre que EIZO ou ses Distributeurs;
(b) Toute incompatibilité du Produit résultat d'améliorations techniques et/ou réglementations possibles ;
(c) Toute déterioration du capteur ;
(d) Toute détérioration des performances d'affichage causée par la dépréciation des éléments consommables tels que le panneau LCD et/ou le rétroéclairage, etc. (par exemple, des changements de l'uniformité de la luminosité, des changements de couleur, des changements de l'uniformité des couleurs, des défectuosités de pixels, y compris des pixels brûlés, etc.) ;
(e) Toute déterioration du Produit causée par l'utilisation d'une luminosité plus élevé que la luminosité recommandaee, telle que désrite dans le Manuel d'utilisation ;
(f) Tout défaut du Produit causé par un appareil externe ;
(g) Tout défaut d'un Produit sur lequel le nombre de série original a été alteré ou supprimé ;
(h) Toute déterioration normale du Produit, particulièrement celle des consommables, des accessoires et/ou des pieces reliées au Produit (touches, éléments pivotants, cables, Manuel d'utilisation etc.), et
(i) Toute déformation, décoloration, et/ou gondolage de l'extérieur du Produkt, y compris celle de la surface du panneau LCD.
Pour bénéficier d'un service dans le cadre de cette Garantie, l'Acheteur initial doit renvoyer le Produit port payé, dans son emballage d'origine ou tout autre emballage approprié offrant un degré de protection équivalent, au Distributeur local, et assume la responsabilité des dommages et/ou perte possibles lors du transport. L'Acheteur initial doitprésenter une preuve d'achat du Produit complenant sa date d'achat pour bénéficier de ce service dans le cadre de la Garantie.
La Période de garantie pour tout Produit remplace et/ou réparé dans le cadre de cette Garantie expirera à la fin de la Période de garantie initiale.
EIZO OU SES DISTRIBUTeurs NE SAURAIENT ETRE TENUS RESPONSABLES DES DOMMAGES OU PERTES DE DONNÉES OU D'AUTRES INFORMATIONS STOCKÉES DANS UN MÉDA QUELCONQUE OU UNE AUTRE PARTIE DU PRODUIT RENVOYÉ À EIZO OU AUX DISTRIBUTeurs POUR RÉPARATION.
AUCUNE AUTRE GARANTIE, EXPLICITE OU TACITE, N'EST OFFERTE PAR EIZO ET SES DISTRIBUTEURS CONCERNANT LE PRODUIT ET SES QUALITÉS, PERFORMANCES, QUALITÉ MARCHANDE OU ADAPTATION À UN USAGE PARTICULIER. EN AUCUN CAS, EIZO OU SES DISTRIBUTEURS NE SERONT RESPONSABLES DES DOMMAGES FORTUITS, INDIRECTS, SPEÇIAUXS, INDUITS, OU DE TOUT AUTRE DOMMAGE QUEL QU'IL SOIT (Y COMPRIS, SANS LIMITATION, LES DOMMAGES RÉSULTANT D'UNE PERTE DE PROFIT, D'UNE INTERRUPTION D'ACTIVITÉS, D'UNE PERTE DE DONNÉES COMMERCIALES, OU DE TOUT AUTRE MANQUE À GAGNER) RÉSULTANT DE L'UTILISATION OU DE L'INCAPACÉ D'UTILISER LE PRODUIT OU AYANT UN RAPPORT QUELCONQUE AVEC LE PRODUIT, QUE CE SOIT SUR LA BASE D'UN CONTRAT, D'UN TORT, D'UNE NÉLGENCE, D'UNE RESPONSABILITÉ STRICTE OU AUTRE, MÈME SI EIZO OU SES DISTRIBUTEURS ONT ÉTÉ AVERTIS DE LA POSSIBILITÉ DE TELS DOMMAGES. CETTE LIMITATION INCLUT AUSSI Toute RESPONSABILITÉ QUI POURRAIT ÉTRE SOULEVEE LORS DES RECLAMATIONS D'UN TIERS CONTRE L'ACHETEUR INITIAL. L'ESSENCE DE CETTE CLAUSE EST DE LIMITER LA RESPONSABILITÉ POTENTIELLE DE EIZO ET DE SES DISTRIBUTEURS RÉSULTANT DE CETTE GARANTIE LIMITÉE ET/OU DES VENTES.
Notice Facile