42PQV - Climatiseur CARRIER - Notice d'utilisation et mode d'emploi gratuit
Retrouvez gratuitement la notice de l'appareil 42PQV CARRIER au format PDF.
| Intitulé | Description |
|---|---|
| Type de produit | Climatiseur réversible |
| Capacité de refroidissement | De 3,5 kW à 5,0 kW |
| Capacité de chauffage | De 4,0 kW à 5,5 kW |
| Alimentation électrique | Monophasé 230V |
| Dimensions de l'unité intérieure | Largeur : 800 mm, Hauteur : 290 mm, Profondeur : 210 mm |
| Dimensions de l'unité extérieure | Largeur : 800 mm, Hauteur : 600 mm, Profondeur : 300 mm |
| Poids de l'unité intérieure | 8 kg |
| Poids de l'unité extérieure | 40 kg |
| Type de fluide frigorigène | R-32 |
| Fonctions principales | Refroidissement, chauffage, déshumidification, ventilation |
| Niveau sonore (unité intérieure) | De 19 dB(A) à 43 dB(A) |
| Niveau sonore (unité extérieure) | De 50 dB(A) à 60 dB(A) |
| Entretien et nettoyage | Filtres lavables, nettoyage régulier recommandé |
| Pièces détachées et réparabilité | Disponibilité des pièces détachées selon le modèle |
| Garantie | 2 ans sur l'unité, 5 ans sur le compresseur |
| Informations générales | Produit conçu pour un usage résidentiel et commercial léger |
FOIRE AUX QUESTIONS - 42PQV CARRIER
Questions des utilisateurs sur 42PQV CARRIER
0 question sur cet appareil. Repondez a celles que vous connaissez ou posez la votre.
Poser une nouvelle question sur cet appareil
Téléchargez la notice de votre Climatiseur au format PDF gratuitement ! Retrouvez votre notice 42PQV - CARRIER et reprennez votre appareil électronique en main. Sur cette page sont publiés tous les documents nécessaires à l'utilisation de votre appareil 42PQV de la marque CARRIER.
MODE D'EMPLOI 42PQV CARRIER
Pour ce qui concerne les instructions de fonctionnement, entretien et installation de cette unité, se référer au manuel de l'usage.
Sommaire
| Page | |
| Généraliers | 2 |
| Côtes et masse | 3 |
| Raccordements | 3 |
| Dégagements minima et limites de fonctionnement | 4 |
| Matériel fournit et charge du système | 5 |
| Le besoin de l'emplacement | 6 |
| Attention: éviter | 7/8 |
| Installation pour unité interieure | 9/10 |
| Les raccordements frigorifiques | 11/13 |
| Contrôles | 14 |
| Branchements électriques pour l'unité interieure | 15 |
| Branchements électriques pour l'unité extérieure | 16 |
| Les branchements électriques | 17 |
| Caracteristiques électriques | 17 |
| Le tirage au vide et cycle du liquide de refroidissement | 18 |
| Essai de fonctionnement, interrupteur d'attribution d'adresse, code de défaut | 19 |
| Configuration de l'unité, configuration de la télécommande et guide de l'usager et accessoires | 20 |
| Entretien de l'unité et dépannage | 21 |
A L'ATTENTION DES INSTALLATEURS ET TECHNICIENS DE MAINTENANCE CLIMATISEUR AU R-410A
- Le réfrigérant R-410A fonctionne avec des pressions de 50 - 70% supérieures par rapport à celles du R-22. Vérifier que l'équipment d'entretien et les composants de remplacement sont aptes pour fonctionner avec le R-410A.
- Les bouteilles du fluide réfrigérant R-410A sont roses.
- Les bouteilles de réfrigérant R-410A sont équipées d'un tube immergé qui permet au liquide de s'écouler avec la bouteille en position verticale et la vanne en position haute.
- Les systèmes R-410A doivent être replis de liquide réfrigérant. Appliquer un apparéil de dosage disponible dans le commerce sur le tube à manchon pour vaporiser le réfrigérant liquide avant l'entrée dans l'unité.
- Le R-410A comme pour d'autres HFCs n'est compatible qu'vec les huiles selectionnées par le fabricant des compresseurs indiqués ci-dessous.
- La pompe à vide n'est pas suffisante pour libérer l'huile de l'humidité
- Les huiles absorbent rapidement l'humidité. Ne pas exposer l'huile à l'air.
- Ne jamais ouvrir le système à l'air lorsqu'il se trouve sous vide.
Lorsqu'il faut ouvoir le systeme pour effectuer I'entretien, interrompree le vide au moyen d'azote sec. - Ne pas jeter le R-410A dans l'environnement.
- Employer exclusivement des unités interieures CARRIER conformément aux combinaisons admises (Tableau I).
Tableau I
| Unité intérieure | Unité extérieur | Tension d'alimentation | Type d'huile | Quantité cc |
| 42PQV009 | 38VBH009 | 220-240V, 50/60Hz | PVE | 440 |
| 42PQV012 | 38VBH012 | PVE | 550 |
Installation de l'unité
Lire attentivement leprésent manuel d'installation avant de commencer l'installation.
- Cet apparéil contient le fluide frigorigène R-410A, une substance qui ne cause pas l'épuisement de la couche d' ozone mais qui, cependant, doit être éliminée de façon appropriée. Enlever le fluide frigorigène avant l'élimination finale de l' apparéil à la fin de sa durée de vie. Livrer l' apparéil à un centre spécialisé ou au revendeur.
- Avant l'élimination finale ou la réalisation d'opérations d'entretien, récapérer soigneusement le fluide réfrigérant contenu dans cette unité.
Ne jamais jeter le fluide réfrigérant dans l'environnement. - Les systèmes R-410A fonctionnement à des pressions supérieures par rapport à celles des systèmes R-22 standard. Ne pas employer l'équipement d'entretien ou les composants du système R-22 sur l'équipement avec R-410A.
- L'unité est conforme aux Directives Basse Tension (CEE/73/23) et Compatibility Electro-Magnétique (CEE/89/336).
- Vérifier que l'impédance du réseau électrique soit en conformité avec la puissance absorbée de l'unité, comme indiquedans le tableau IV, page 17 (EN 61000-3-11).
- L'installation doit être confiée à un installateur qualifié.
- Respecter toutes les règlementations de sécurité nationales en vigueur. S'assurer en particulier qu'on dispose d'un raccordement à la terre d'un calibre ajustat.
- Vérifier que la tension et la fréquence de l'alimentation secteur correspondant à celles nécessaires; tener compte eventuellement des autres appareils branchés au même circuit électrique. S'assurer aussi que les exigences des normes nationales de sécurité ont été respectées sur le circuit d'alimentation secteur.
- Amener l'alimentation secteur à l'unité interieure.
- Relier les unités interieure et extérieure à l'aide de tuyaux en cuivre au moyen de raccords évasés. Toujours utiliser des tuyaux en cuivre (type Cu DHP conformément à la norme ISO 1337), dégraissés et déoxydés, de qualité pour fluide frigorigène, sans soudures, qui convennent à une pression en fonctionnement d'au moins 4200kPa et pour une pression d'éclatement de 20700kPa min. Ne jamais utiliser de tuyaux en cuivre ordinaire destinés à l'eau sanitaire.
- Si besoin, utiliser un tuyau en PVC de 16 - 17 mm de diamètre interieur pour prolonger le tuyau d'évacuation des condensats et l'entourer d'un revêtement calorifuge ajustate.
- Àprous l'installation, effectuer un essai complet du système et en expliquer toutes les fonctions à l'usage.
- Remetre leprésent manuel à l'usage pour qu'il puisse s'y reporter par la suite, à l'occasion des opérations de maintenance.
- Utiliser l'unité uniquement pour le but prévu par le fabricant. L'unité ne pourrait pas être utilisée dans des blanchisseries ou dans des usines de moulage à la vapeur. L'unité extérieur est à utiliser uniquement pour l'installation à l'extérieur.
- Le raccordement de deux unités qui ne sont pas faites pour cela et l'incompatibilité de leurs systèmes de commande provoquerait des dégats irréparables et annulerait la garantie Carrier. Carrier decline également toute responsabilité en cas de raccordement non agréé.
IMPORTANT:
Lors de l'installation de l'unité, effectuer d'abord les connexions du réfrigerant puis les connexions électriques. Lors de sa désinstallation, débrancher d'abord les cables électriques puis les connexions du réfrigerant.
ATTENTION:
Déconnecter l'interrupteur de l'alimentation électrique et attendre au moins 2 minutes avant de toucher les parties internes de l'unité et d'effectuer toute opération d'entretien du système ou de manipuler les parties internes de l'unité.
- Le fabricant decline toute responsabilité en cas de dégats qui résultataisent de modifications ou d'erreurs dans les branchements électriques ou dans les raccordements frigorifiques.
- Le non respect des instructions d'installation ou l'utilisation de l'unité dans des conditions autres que celles indiquées dans Tableau III "Limits de fonctionnement", aurait pour effet d'annuler immidiatement la garantie de l'unité.
- Le non respect des réglementations de sécurité électriques peut provoquer un risque d'incendie en cas de court-circuit.
- Inspector l'équipment dés sa réception; en cas d'avarie due au transport ou à la manutention, déposer immédiatement une réclamation auprès du transporter. Ne pas installer d'unités endommagées.
- En cas de mauvais fonctionnement, arrêté la machine, débrancher l'alimentation électrique principale et appeler un spécialiste de l'entretien qualifié.
- Seul le personnel qualifié peut effectuer l'entretien du circuit de refroidissement.
- Pour éviter de l'endommager, ne pas ouvrir la télécommande. En cas de dysfonctionnement, faire appel à un technicien spécialisé.
- Les piles de la télécommande contiennent des agents polluants. Une fois usées, les jeter en respectant la réglementation locale concernant les déchets.
- Tous les matériaux usés pour la construction et l'emballage sont recyclables.
- Jeter les emballages conformément à la règlementation locale sur les déchets.


| Mod. | 42PQV |
| A mm | 790 |
| B mm | 260 |
| C mm | 186 |
| O kg | 8,6 |

| Mod. | 38VBH |
| 009 / 012 | |
| A mm | 750 |
| B mm | 590 |
| C mm | 280 |
| D mm | 470 |
| E mm | 140 |
| F mm | 310 |
| kg | 33 - 37 |
Tableau II: Raccordements

| Modèle | 009 | 012 |
| Dénivellation max. | 8 | 10 |
| Longeur max. des conduites | 10 | 15 |
| Modèle | Diamètre des conduites | Diamètre des conduites | ||
| Phase gazeuse (Aspiration) mm | Phase liquide (Refoulem.) mm | Phase gazeuse (Aspiration) mm | Phase liquide (Refoulem.) pouces | |
| 009 | 9,52 | 6,35 | 3/8" | 1/4" |
| 012 | 12,7 | 6,35 | 1/2" | 1/4" |
| Les épaisseurs nominales minimum sont les suivantes: | |
| Diamètre du tuyau pouces - mm | Epaisleur minimum nominale (mm) |
| 1/4"-6,35 | 0,80 |
| 3/8"-9,52 | 0,80 |
| 1/2"-12,70 | 0,80 |
Tous les raccords sont du type évasé (flare).
Toujours utiliser des tuyaux en cuivre (type Cu DHP conformément à la norme ISO 1337), dégraissés et déoxydés, de qualité pour fluide frigorigène, sans soudures, qui convennent à une pression en fonctionnement d'au moins 4200kPa et pour une pression d'éclatement de 20700kPa min. Ne jamais utiliser de tuyaux en cuivre ordinaire destinés à l'eau sanitaire.





| Modèle | 009-012 |
| A mm | 50 |
| B mm | 100 |
| C mm | 400 |
| D mm | 50 |
| E mm | 300 |
| F mm | 400 |

Tableau III: Limites de fonctionnement (1)
| Refroidissement | Conditions maximum | Température extérieure 46°C |
| Température intérieure 32°C b.s.; 23°C b.h. | ||
| Conditions minimum | Température extérieure 15°C | |
| Température intérieure 21°C b.s.; 15°C b.h. | ||
| Chauffage | Conditions maximum | Température extérieure 24°C b.s.; 18°C b.h. |
| Température intérieure 27°C b.s. | ||
| Conditions minimum | Température extérieure -10°C b.s. | |
| Alimentation secteur | Tension nominale monophasée Limites de la tension de fonctionnement | 220V-240V, 50/60Hz min. 198V – max. 264V |
Remarques: 1. Ces données concernent seulement l'unité extérieur.
b.s. = bulbe sec
b.h. = bulbe humide
ATTENTION:
Lors du fonctionnement en mode pompé à chaleur, l'unité subira plusieurs cycles de dégivrage pour supprimer la glace qui pourrait s'accumuler sur l'unité extérieur lorsque la température est très BASSE. Pendant ces cycles, le ventilateur s'éteint automatiquement et les ailettes s'arrêtent en position horizontale jusqu'à ce que le cycle de dégivrage n'ait été complété.
Tableau III: Matériel fourni
Les accessoires d'installation suivants sont fournis avec l'unité. Les utiliser en fonction des exigences.
| Dénomination et forme | Qté | Usage |
| Plaque de fixation au mur | 1 | Pose de l'unité intérieure. |
| Vis 4xL10 | 2 | Pour la fixation de l'unité et la plaque de fixation |
| Vis d'ancrage et vis 6xL25 Rondelles Ø 12 | 4 + 4 + 4 | Pour l'instruction de la plaque de fixation |
| Support de montage | 1 | Pour drainage unité extérieure |
| Raccord de drainage en caoutchou | 4 | Pose de l'unité extérieure. |
Les articles suivants fournis à pied d'oeuvre sont nécessaires pour achever l'installation.
| Dénomination | Spécification |
| Liaison frigorifique | 009: Ø (3/8") 9,52 mm (Gaz) / Ø (1/4") 6,35 mm (Liquid) 012: Ø (1/2") 12,7 mm (Gaz) / Ø (1/4") 6,35 mm (Liquid) |
| Manchon au mur | |
| Douille au mur | |
| Ruban de finition | Film en PVC |
| Ruban de fixation | |
| Isolation du tube | |
| Tube flexible d'évacuation des condendats | Diamètre intéérieur 16-17 mm |
| Mastic | |
| - Câble d'alimentation en énergie externe | H07RN-F ou supérieur |
| - Câble de connexion électrique entre l'unité intéérieure et l'unité extérieure | Type du câble: H07RN-F, isolation synthétique en caoutchouc avec revêtement en néoprène conformément au norme EN 60335-2-40. |
Charge du système
| Taille | Charge de fluide frigorigène (g) | Indiqué jusqu'à (m) | Longeur max. des conduites (m) | Hauteur du tuyau maximum (m) |
| 009 | 720 | 10 | 10 | 8 |
| 012 | 1100 | 15 | 15 | 10 |
- L'unité a été consque pour l'emploi sans charges additionnelles de fluide frigorigène jusqu'à 10 m pour le modele 42PQV009 et 15 m pour le modele 42PQV012. Il ne faudra donc pas charger ou enlever une quantité additionnelle de fluide frigorigène pour se conformer à la longueur du tuyau de branchement.
- Au cas où une rajoute de fluide frigorigène serait nécessaire à cause de fuites ou d'opérations d'entretien, rajouter l'exacte quantité de fluide dfrigorigène en se servant de l'échelle graduée après avoir vidangé l'unité avec la pompé à vide.
- Pour information, la pression de vidange /aspiration à températures différentes et la vitesse nominale du compresseur sont indiquées dans le manuel d'entretien.
Ne jamais ravitailler ni vidanger le fluide frigorigène pour se conformer à la pression de vidange/aspiration puisqu'il s'agit d'une unité munie de système Inverter avec compréseur à vitesse variable.
Unité intérieure
Aéviter:
- l'exposition aux rayons du soleil;
- la proximité de sources qui irradian de la chaleur;
- les murs humides et les locaux où l'eau représenté un danger, tels que les bunderies;
- les endroits dans lesquels les rideaux ou le mobilier risquent de générer la bonne circulation de l'air.
Emplacements conseillés:
- un endroit sans obstacles qui risqueraient de provoquer une répartition et/ou une reprise de l'air inégale;
- un mur bien plat pour permettre une installation simple et sans danger.
La structure portante doit pouvoir supporter le poids de l'unité et empêcher les déformations, les ruptures ou les vibrations pendant le fonctionnement;
- envisager un emplacement où l'installation sera facile;
- prévoir les dégagements nécessaires (voir plans);
- recher dans une piece l'emplacement qui assure la(Meilleure) répartition de l'air possible;
- il faut pouvoir raccorder facilement le tuyau d'évacuation des condensats vers une cuvette appropriée.
Unité extérieur
Aéviter:
- La proximité de sources qui irradian de la chaleur.
- Les endroits particulièrement poussièreux.
Emplacements conseillés:
- Choisir un endroit abrité des vents contraires.
- Eviter de placer l'unité en plein soleil.
- Choisir un endroit où le bruit de l'unité et l'air souffle ne dérangeront pas les voisins.
- Choiser un endroit qui permette de dispose des dégagements nécessaires.
- La surface portante doit être assez solide pour supporter le poids de l'unité et minimiser la transmission des vibrations.
- Envisager un endroit qui ne bloque pas le passage dans les couloirs ni l'ouverture de portes.

- Fixer l'unité à l'aide de boulons achétés sur place et noyés dans la base afin d'éviter qu'elle puisse se renverser en cas de forts coups de vent.

- Lorsqu'il s'agit de pompes à chaleur, surélever l'unité extérieure par rapport au sol.

- Pour vidanger l'eau de condensation en mode chauffage, placer le raccord du tuyau de vidange sur le trou situé en dessous, au centre de la base, et utiliser un tuyau en vinyle de 16 mm de diamètre interieur.
Ne pas l'utiliser à des températures inférieures à 0^ (non disponible pour les versions basses températures). - Si l'unité se trouve dans une région sujette à d'importantes chutes de neige, la surélever d'au moins 200 mm par rapport au niveau habituel de la neige, ou utiliser les supports de montage mural pour l'unité extérieure.


Tout obstacle devant la diffusion d'air ainsi que devant celle de reprise d'air.

La présence de vapeurs d'huile.

L'installation dans des endroits où se trouvent des ondes à haute fréquence.

Toute pente ascendante pour le tuyau des condensats.
Tout tronçon horizontal du tuyau des condensats représentant une déclivité inférieure à 2% .

Les branchements électriques mal serrés. De débrancher les conduites de fluide frigorigène une fois l'installation terminée: ceci provoquerait des fuites de fluide frigorigène.

De placer l'unité directement en plein soleil; lorsqu'elle est en mode de refroidissement, toujours fermer les volets ou tirer les stores. De placer l'unité trop pres de sources de chaleur, susceptibles d'endommager l'unité.

De raccorder le tuyau des condensats au tout-à-l'égout sans siphon ajustat. La hauteur du siphon doit être calculée en fonction de la pression de refoulement de l'unité pour permettre une évacuation de l'eau suffisante et continue.

D'isoler les tuyaux que partiellement. Si l'unité n'est pas parfaitement de niveau, l'eau des condensats gouttera par terre.

D'écraser ou de plier les conduites de fluide frigorigène ou les tuyaux des condensats. Une dénivellation excessive entre les unités intérieure et extérieure (voir le manuel d'installation de l'unité extérieure).

Les coudes superflus sur les conduites qui relient les unités l'une à l'autre. Les longueurs excessives des conduites qui relient les unités l'une à l'autre (voir le manuel d'installation de l'unité extérieure).

De débrancher les conduites de fluide frigorigène une fois l'installation terminée: ceci provoquerait des fuites de fluide frigorigène.
D'évacuer les condensats de l'unité interieure en raccordant l'unité au tuyau d'évacuation des condensats.

Les vents contraires.

L'installation de plusieurs unités face à face.

D'isoler les tuyaux que partiellement, ce qui provoquerait des suintements. Que l'unité fasse goutter de l'eau dans les couloirs.

Tout obstacle dans les ouvertures de soufflage ou d'entree d'air de l'unité ou a proximite de celles-ci (voir les dégagements minima requis). L'installation directement sur des surfaces molles ou herbeuses (prévoir un socle dur).

Une dénivellation excessive entre les unités intérieure et extérieure (voir Tableau II "Les raccords").
Une distance excessive entre les unités intérieure et extérieure (voir Tableau II "Les raccords").

Les coudes superflus sur les conduites qui relient les unités l'une à l'autre.

Les branchements électriques mal serrés.

D'écraser ou de plier les conduites de fluide frigorigène ou les tuyaux des condensats.

De souiller les extrémites des conduites.
De mouiller les conduites avant leur raccordement.
- Les liaisons peuvent être branchées dans les quatre directions indiquées ①, ②, ③ et ④. Lorsqu'on branche les liaisons dans les directions ①, ② ou ④ casser la partie prédicteouée sur le cote ou sur le fond de l'unité


NOTE IMPORTANT:
Cette unité ne possède pas de dispositif de détente.
Installation de la plaque de fixation
- Installer la plaque de fixation au mur de façon à ce qu'elle soit nivelée. En cas de besoin, utiliser un fil à plomb.
- Veiller à laisser les espaces de jeu nécessaires (voir page 4).
- Si la plaque de fixation au mur n'est pas nivelée, on pourrait voir couler de l'eau au sol.
- Installer la plaque de fixation au mur avec une fixation suffisamment robuste pour supporter le poids de l'unité.


- Fixer la plaque de fixation sur le mur à l'aide de 4 vis d'ancrage ou plus que l'on fait passer à travers les troussitués près de l'extrémité extérieur de la bride.
- Positionner la plaque de fixation au mur de façon à ce qu'il n'y ait pas d'espace entre la bride et le mur.
- Veiller à ce que la plaque de fixation au mur ne rouge pas car cela pourrait provoquer des vibrations pendant le fonctionnement.
- Si on demonte l'unité de la bride de suspension au mur après que cette dernière a été fixée au mur, procédé en poussant vers le haut au niveau des POINTS (▲) indiqués sur le fond du corps (voir page 10).
Marquage des trous sur le mur pour les Liaisons frigorifiques
Raccords postérieurs
- Nous recommendons de faire passer les liaisons dans le mur derrière l'unité de façon à ce qu'elles soient cachés par cette dernière.
- Pour ce type d'installation, percer un trou de 65 mm de diamètre sur le point A.

- Percer un trou incliné de 65 mm de diamètre de telle sorte que l'extrémité extérieur se trouve dans une position plus BASSE (5-10 mm) que l'extrémité interieure.
Cette configuration permettra d'assurer une bonne évacuation. - Couper le manchon au mur de façon à l'adapter à l'épaissur du mur et à ce que la liaison puisse passer à travers le trou.

Raccords latéraux ou en position inférieure
- Supprimer la partie prédécouée sur l'unité et faire passer les liaisons à travers le mur.
- Pour assurer une bonne évacuation, la liaison doit être inclinée vers le bas.
Pliage du tube d'évacuation des condensats et de liaisons frigorifiques
- Fixer ensemble les liaisons frigorifiques, le tube d'évacuation des condensats et le cable d'alimentation électrique.
- Plier les liaisons frigorifiques dans la direction souhaitation et attacher ensemble le tube d'évacuation des condensats et le cable d'alimentation électrique au moyen du ruban prévu à cet effet.
Le tube d'évacuation des condensats doit se couver dessous.

- Pour l'installation des liaisons sur le côte gauche, introduire les tubes et les cables dans la rainure située sur l'arrière de l'unité.

① Tubes de l'unité interieure
(4) Tuyau d'évacuation des condensats
⑤ Cable de connexion

Installation de l'unité interieure sur la plaque de fixation au mur
- Faire passer les tubes à travers le manchon, puis accrocher le corps de l'unité interieure sur la partie supérieure de la plaque de fixation.
- Pour l'installation des tubes sur la partie gauche, accrocher l'unité sur la partie supérieure de la plaque de fixation et incliner l'unité en s'aidant d'un outil, par exemple un tournevis introduit entre la zone centrale du corps et la partie inférieure droite de la plaque de fixation au mur. Il est plus facile de brancher le tube si l'unité est inclinée.
- Fixer la plaque inférieure de l'unité à la plaque de fixation au mur en appuyant avec précaution jusqu'à ce que les deux crochets de la plaque s'emboitent dans les fentes prévues à cet effet dans la base de l'unité (on entendra un déclic).

⑥ Support de suspension au mur
⑦ Crochet ⑧ Trou

NOTE:
- Ne pas écraser ni plier les conduites internes.
- Eviter des piages trop serrés avec un rayon inférieur à 100 mm.
- Ne pas plier un tube trop souvent en un même point.
- Ne pas enlever l'écrou Flare de la liaison de l'unité interieure avant d'avoir racordé les tubes.
- Nous indiquons ci-après le piage du tuyau flexible recommandé.




Evaser les extrémités des conduites

Retirer les capuchons protecteurs de la conduite, et tout en maintainant les extrémités vers le bas, les ébarber à l'aide d'un aléseur.
Ne jamais laisser le système ouvert à l'air après le temps nécessaire à la mise en place.
L'huile contenu dans le compresseur est extrément hygroscopicique.
Maintenir les extrémites des tuyaux toujours fermées pendant la mise en place.
Retirer les écrous évasés du raccord situé sur l'unité interieure et les visser sur les conduites.
Evaser les extrémités de la conduite à l'aide de l'outil spécial prévu à cet effet.

Un bon évasement doit être exempt d'ébarbures et d'imperfections. Les parois évasées doivent être d'une longueur uniforme.

Lubrifier les extrémités des conduites et les filetages avec de l'huile antigel.
Serrer d'abord les raccords à la main, puis les serrer à fond à l'aide de deux clés afin d'obtenir le couple indiqué dans le tableau.

L'unité peut être installée:
① au sol ou
② sur un mur au moyen du support prevu a cet effet.
Raccorder les conduites en accord avec les limites indiquées au Tableau II (Les raccords).
Serrer d'abord les raccords à la main, puis les serrer à fond à l'aide de une clé afin d'obtenir le couple indiqué dans le tableau.

IMPORTANT :
N'ouvrir la vanne 3 voies que lorsque tous les raccordements hydrauliques sont réalisés et le vidange a été fait.
Raccordement à l'unité
Si le couple de serrage est insuffisant, il peut se produit une fuite de fluide en phase gazeuse au raccord.
Si au contraire le couple de serrage est trop important, le raccord évasé risque d'être écrasé.

| Couple de serrage | ||||||||||
| Robinet | Écrou flare | Chapuchon de robinet | Chapuchon de aiguille | Aiguille du robinet | Robinet à aiguille | |||||
| Clé mm | Nm | Clé mm | Nm | Clé mm | Nm | Clé mm | Nm | Clé mm | Nm | |
| 1/4" | 17 | 18 | 22 | 20 | - | - | Allen (hex.) 4 | 9 | - | 0,34 |
| 3/8" | 22 | 42 | 22 | 20 | 17 | 16-18 | Allen (hex.) 4 | 9 | - | 0,34 |
| 1/2" | 27 | 55 | 25 | 40 | 17 | 16-18 | Allen (hex.) 4 | 13 | - | 0,34 |
La purge d'air

① Vanne a trois voies (phase liquide)
② Prise de pression
③ Bouchon de protection
④ Vis d'ouverture
⑤ Clé Allen (hexagon.)
(6) Vanne à trois voies (phase liquide)

⑦ Écrou flare
Conduite de phase liquide (petit diam.)
Conduite de phase gazeuse (gros diam.)
10 Unité intérieure
11 Unité extérieure
⑫ Pompeàvide
Utiliser uniquement une pompé à vide pour purger l'air liéven dans les conduites.
Ne JAMAIS employer le comprisseur du système comme s'il était une pompe à vide.
Ne JAMAIS utiliser de fluide frigorigène pour purger l'air des conduites.
L'unité ne contient pas de fluide frigorigène en surplus pour cette opération.
Retirer les capuchons des vannes trois voies.
Créer un vide à l'aide d'une pompe à vide raccordée au raccord d'entretien de la vanne d'arrêt côté aspiration comme illustré, en maintainant les vannes d'arrêt fermées à fond jusqu'à ce que l'on attaigne un vide de 50 Pa (0,5 mbar).
Ouvrir la vanne de la tuyauterie de liquide pendant 3 secondes, puis la referrer rapidement afin de vérifier la présence de fuites éventuelles.
Après avoir effectué cette vérification, ouvrir complètement les vannes trois voies.
Remetre les capuchons et vérifier l'absence de fuites.
Une fois tous les branchements effectués, vérifier s'il y a des pertes en utilisant un détecteur de fuites spécifique pour les réfrigerants HFC.

(4) Conduite
⑤ Revêtement calorifuge
⑥ Ruban adhesif
Une fois tous les raccords effectués, vérifier l'absence de fuites à l'aide d'une solution d'eau savonneuse. S'il n'y a pas de fuites, recouvrir les raccords de matériel calorifuge anti-condensation, et entourer de ruban adhésisif, sans trop serrer. Réparer et recouvrir toute fissure évientuelle du calorifuge.
Les conduites de raccordement et les cables electriques qui relient les unités interieure et extérieure doivent être fixés au mur dans des goulottes appropriées.

Conduite
⑭ Revêtement calorifuge
(15) Ruban adhésif


Tenir à l'abri de l'humidité.
Tenir à l'abri de la poussière.
Pas de fuite. Pas d'huile minérale.

Propre.

Brasage par azote sec.

Vide.

Charger le fluide. Pas de gaz.

Stockage des tuyaux en cuivre.

Utiliser des outils aptes pour une pression R-410A supérieure.
Tenir l'intérieur propre.

Pompe à vide à 2 étages. Remplacer l'huile régulièrement.

- Verser un peu d'eau dans le bac des condensats et vérifier son bon écoulement.
Utilisation des vis jointes
Après l'installation, s'il y a une distance excessive entre l'unité et le mur, elle peut être éliminée en utilisant les 2 vis en dotation fixées sur la plaque de suspension.
Pour y acceder il est nécessaire d'enlever la grille et le panneau frontal.



Grille
2 Panneau frontal
IMPORTANT:
- Brancher les liaisons frigorifiques avant d'effectuer les branchements électriques. En cas de déconnexion du système, débrancher d'abord les connexions électriques puis les liaisons frigorifiques.
- Effectuer la mise à la terre avant tout autre branchement électrique.
- Amener l'alimentation secteur à l'unité interieure.
- Effectuer les branchements électriques entre l'unité extérieur et l'unité interieure avant le branchement à l'alimentation secteur.
- Brancher les fils électriques aux contacteurs appropriés dans les borniers, conformément au schéma de câblage, et bien les serrer.
- Avant d'effectuer le branchement entre le courant secteur et l'unité, repérer le fil sous tension L et le fil du neutre N, puis effectuer les branchements conformément au schéma de câblage.
- Vérifier que l'impédance du réseau électrique soit en conformité avec la puissance absorbée de l'unité, comme indiqué dans le tableau IV.
- Vérifier que l'alimentation secteur passée par un disjoncteur qui puisse couper le courant à tous les pôles, en respectant un écart d'au moins 3 mm entre les contacts.
- Les cables d'interconnexion des unités interieures et extérieures doivent être du type H07 RN-F (ou supérieur). Ils doivent être recouverts d'un isolant en caoutchouc synthétique enduit de Neoprene, conformément au norme EN 60335-2-40.
- Le cable de branchement de l'alimentation secteur des unités doit être du type H07 RN-F (ou supérieur). Il doit être recouvert d'un isolant en caoutchouc synthétique enduit de Neoprene, conformément au norme EN 60335-2-40.
Note: Tous les branchements électriques à réaliser sur le lieu d'implantation incombent à l'inclasseur.

- Soulever le panneau frontal jusqu'à la partie supérieure de l'unité en le séparant ainsi de l'unité.

- Detacher le couvercle du bornier en enlevant les deux vis.
- Brancher le cable de liaison électrique au bornier de l'unité interieure et le fixer à l'aide des vis.
- Àprous le câblage, remetre en place le couvercle du bornier et le fixer à l'aide des vis prévues à cet effet.
- Fixer le panneau antérieur au dispositif de blocage de la grille.
Câblage de l'unité interieure


Calibre minimum des câbles de branchement (mm²)
| Modèles | L | N | R | C | 1 | ½ |
| 009, 012 | 1,5 | 1,5 | 1,5 | 1,5 | 1,5 | 1,5 |
Légende du bornier
L Courant secteur
N Neutre alimentation secteur
R Fil de connexion entre l'unité interieure et l'unité extérieure
C Neutre, connexion entre l'unité interieure et l'unité extérieur
1 Communication unité interieure-extérieure
Terre
① Câble de l'alimentation secteur
② Cable de connexion entre I'unité interieure et I'unité exterieure
1 Unité interieure
2 Unité extérieure
3 Disjoncteur principal
4 Fusible temporisateur ou disjoncteur magneto- thermique
38VBH- 009 - 012


Légende du bornier
Te
L Courant secteur
N Neutre alimentation secteur
R Courant secteur, connexion entre l'unité intérieure et l'unité extérieure
C Neutre, connexion entre l'unité interieure et l'unité extérieure
I Communication unité interieure-extérieure
① Câble de connexion entre l'unité interieure et l'unité extérieure (à fournir par l'installateur)
② Câble de l'alimentation secteur (à fournir par l'installateur)
1 Unité interieure
2 Unité extérieure
3 Disjoncteur principal
4 Fusible temporisateur ou disjoncteur magnétique thermique (voir tableau IV "Caracteristiques électriques")

IMPORTANT:
Effectuer la mise à la terre avant tout autre branchement électrique.
En cas de déconnexion du système, débrancher d'abord les connexions électriques puis les liaisons frigorifiques.
Amener l'alimentation secteur à l'unité interieure.
- Ouvrir le panneau du boitier de commande (panneau du couvercle des vannes).
- Effectuer les branchements électriques entre l'unité extérieure et l'unité interieure avant le branchement à l'alimentation secteur.
- Brancher les fils électriques aux contacteurs appropriés dans les borniers, conformément au schéma de câblage, et bien les serrer.
- Avant d'effectuer le branchement entre le courant secteur et l'unité, repérer le fil sous tension L et le fil du neutre N, puis effectuer les branchements conformément au schéma de câblage.
- Vérifier que l'impédance du réseau électrique soit en conformité avec la puissance absorbée de l'unité, comme indiqué dans le tableau IV.
- Vérifier que l'alimentation secteur passée par un disjoncteur qui puisse couper le courant à tous les pôles, en respectant un écart d'au moins 3 mm entre les contacts.
- Les cables d'interconnexion des unités interieures et extérieures doivent être du type H07 RN-F (245 IEC 57) ou supérieur. Ils doivent être recouverts d'un isolant en caoutchouc synthétique enduit de Neoprene, conformément aux normes EN 60335-2-40.
- Le cable de branchement de l'alimentation secteur doit être du type H07 RN-F (245 IEC 57) ou supérieur. Il doit être recouvert d'un isolant en caoutchouc synthétique enduit de Neoprene, conformément aux normes EN 60335-2-40. ^TM
Note:
Tous les branchements électriques à réaliser sur le lieu d'implantation incombent à l'inclasseur.



Afin d'éviter d'endommager les connexions électriques, s'assurer qu'elles ne sont pas en contact avec le tuyau du liquide de refroidissement chaud et avec la soupape de service.
Tableau IV: Caracteristiques électriques
| Puisance absorbée | Branchement à l'alimentation secteur(4) | Unité intéérieure - Unité extérieure | ||||||
| Refroidissement | Chauffage | |||||||
| Conditions nominales 230V ~ 50Hz ISO 5151.2/1T1 intérieure 27°C b.s. 19°C b.h. extérieure 35°C b.s. 24°C b.h. | Conditions maximum 198V ~ 50Hz ISO 5151.2/1T1 intérieure 32°C b.s. 23°C b.h. extérieure 43°C b.s. 32°C b.h. | Conditions nominales 230V ~ 50Hz ISO 5151.2/High+ intérieure 20°C b.s. 15°C b.h. extérieure 7°C b.s. 6°C b.h. | Conditions maximum 198V ~ 50Hz ISO 5151.2/High+ intérieure 27°C extérieure 24°C b.s. 18°C b.h. | Fusible de temp. type gL | Calibre du fi (2) | Calibre du fi (2-3) | ||
| Pompe à chaleur | A | W | A | W | A | W | A | mm2 |
| 38VBH-009 | 3.9 | 852 | 5.4 | 1010 | 4.2 | 950 | 5.3 | 1020 |
| 38VBH-012 | 5.2 | 1140 | 7.1 | 1370 | 5.8 | 1310 | 9.1 | 1745 |
Remarques: 1. Cette unité convient à une installation en extérieur.
2.Le calibre des fils d'alimentation indiqué ci-dessus sont pour longueurs de cable de 15m maximum.
3.Les cables dinterconnexion des unites interieures et exterieures doivent etre du type H07 RN-F (245 IEC 57) ou supérieur.
Ils doivent être recouverts d'un isolant en caoutchouc synthétique enduit de Neoprene, conformément aux normes EN 60335-2-40.
4. Le cable de branchement de l'alimentation secteur doit etre du type H07 RN-F (245 IEC 57) ou supérieur. Il doit etre recouvert d'un isolant en caoutchouc synthetique enduit de Neoprene, conformement aux normes EN 60335-2-40.
Le tirage au vide
Le tirage au vide est une opération destinée à recueillir dans l'unité extérieur la totalité de la charge de fluide frigorigène du circuit. Cette opération doit être effectuee avant de débrancher les conduites de fluide frigorigène, pour empêcher les déperditions de fluide dans l'atmosphère lorsqu'il s'avere nécessaire de débrancher les raccords de fluide frigorigène pour réparer l'unité, pour la déplacer ou s'en débarrasser. Dans ce dernier cas, après le demontage, acheminer le climatiseur soit au centre de déchets concerné, soit au centre de distribution qui I'avait vendu.
Fermer la vanne de la conduite de phase liquide à l'aide d'une clé Allen.
Mettre le climatiseur en marche en mode de refroidissement avec le ventilateur à la vitesse rapide (le compresseur doit semettre en route immédiatement, à condition que le dernier arrêt remonte à plus de 3 minutes). Au bout de 2 minutes de fonctionnement, fermer la vanne de la conduite d'aspiration à l'aide de la même clé. Arrêter le climatiseur et couper le courant.
Débrancher les conduites. Protégier les extrémités des conduites débranchées et les vannes de la poussière.
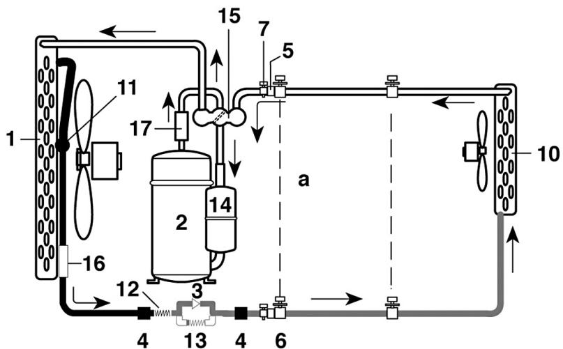
Cycle du liquide de refroidissement Modèles pompé à chaleur

Mode refroidissement

Mode chauffage
Legende:
① Batterie de l'unité extérieur
② Compresseur
③ Dispositif d'expansion
④ Crépine intégrée
⑤ Vanne sur gaz
(6) Vanne sur liquide
⑦ Prise de pression
10 Batterie de l'unité interieure
⑪ Distributeur de liquide
Doseur intégré (froid + chaud)
Doseur intégré (chaud)
14 Accumulateur de liquide supplémentaire plac dans la tuyauterie d'aspiration
15 Vanne d'inversion
16 Secheur a filtré
⑦ Silencieux sur l'impulsion

Phase gazeuse

Phase liquide + gazeuse

Phase liquide
Test de fonctionnement
- Effectuer le test de fonctionnement après avoir installé les unités et vérifié l'absence de fuites de gaz.
- Vérifier tous les branchements électriques (instructions et schéma de câblage).
- Insérer les piles dans la télécommande et la laisser éteinte.
- Mettre le système sous tension en appuyant sur la touche MARCHE.
- Appuyer sur les touches ∧ et de la télécommande à infrarouge et les maintainir enfoncées pendant plus de 5 secondes. L'affichage est remis à zéro et les segments de temps affichent l'icone (Src = test de fonctionnement).
- Appuyer sur le bouton pour transmettre le signal d'essay à l'unité. Une fois le test achemé, appuyer sur la touche ① pour quitter le menu de test.
Note :
Au bout de 30 secondes, si aucune touche n'a ete activee, la telecommande quitte automatiquement le menu de test et reprend son fonctionnement normal.
Sélecteur d'adresse
Pour que deux unités interieures installées dans la même piece fonctionnent indépendamment l'une de l'autre, il est nécessaire d'attribuer à chacune d'elles sa propre adresse de manière qu'elles puisent fonctionner par le biais de leur propre télécommande.
Pour la configuration de l'unité et de la télécommande, procédé de la manière suivante :
Configuration (de l'unité)
- Appuyer sur les touches M et de la télécommande à infrarouge et les maintainir enforcées pendant plus de 5 secondes.
- L'affichage est remis à zéro, les segments de temps affichent le premier élément de configuration (rAdr = adresse à distance) et les segments de température affichent la valeur par défaut de cet élément (Ab = commande des deux unités interieures).
- Appuyer sur la touche ou pour replacer la valeur par défaut (Ab) par la nouvelle valeur (A) ou (b).
- Appuyer sur la touche pour transmettre la nouvelle configuration à l'unité.
- Appuyer sur la touche ① our quitter le menu de configuration.
Configuration (de la télécommande)
- Appuyer sur les touches V et de la télécommande à infrarouge et les maintainir enforcés pendant plus de 5 secondes.
- L'affichage est remis à zéro, les segments de température affichent le premier élément de configuration (CH = adresse à distance) et les segments de temps affichent la valeur par défaut de cet élément (Ab = commande des deux unités interieures).
- Appuyer sur la touche ou pour remplacer la valeur par défaut (Ab) par la nouvelle valeur (A) ou (b).
- Appuyer sur la touche pour transmettre la nouvelle configuration à l'unité.
- Appuyer sur la touche (1) pour quitter le menu de configuration.
Note :
Au bout de 30 secondes, si aucune touche n'a ete activee, la telecommande quitte automatiquement le menu de configuration et la procedure doit etre recommencée.
Code de défaut
En cas d'erreur lorsqu'el'unité intérieure est en marche, le LED vert ou orange clignote à intervalles de 0,5 secondes.
Le code d'erreur est identifiable par le nombre de fois que le LED vert ou orange clignote. Arrête l'unité.
3 secondes s'ecoulent entre deux cycles de clignotement.
Tableau V : Code de defaulted
LED vert (panne unité interieure)
| Code | Description |
| 2 | Panne sonde air ambiant |
| 3 | Capteur de la batterie de l'unité intérieure défectueux |
| 7 | Panne communication unité intérieure-extérieure |
| 8 | Panne moteur ventilateur unité intérieure |
| Clignotement continu | Câblage sonde unité intérieure inversé |
LED orange (panne unité extérieure)
| Code | Description |
| 1 | Panne sonde unité extérieure |
| 2 | Accouplement défectueux des unités intérieure-extérieure |
| 3 | Panne soupape à 4 voies |
| 4 | Panne moteur ventilateur unité extérieure |
| 5 | Panne commande inverter |
| 6 | Panne module alimentation (IGBT) |
| 7 | Panne communication unité intérieure-extérieure |
Tableau VI: Configuration de I'unité
| Élement | Apparait sur l'affichage | Explication | Description |
| 1 | “rAdr” | “A” unité à distance A “b”: unité à distance B “Ab”: unités à distance A et B | Adresse à distance unité interieure A. Adresse à distance unité interieure B. Adresse par défaut : unités interieures A et B |
| 2 | “UCFG” | “HP”: pompé à chaleur “AC”: froid seul | Adresse par défaut : pompé à chaleur. Modifier l'adresse pour le mode froid seul. |
| 3 | “UAdr” | 1-240 avec augmentation de 1 | Adresse unité CCN. Par défaut = 1. |
| 4 | “ZONE” | 1-240 avec augmentation de 1 | Nombre de zone. Par défaut = 0. |
| 5 | “GFdn” | 1-240 avec augmentation de 1 | Nombre de GFD. Par défaut = 1. |
| 6 | “A St” | “OF”: unité éteinte "On": rallumage automatique | Choisir le mode de fonctionnement après une coupure de courant. |
Note:
La selection des articles 2,3,4 et 5 n'est pas variable dans l'unité bien que pour ces articles soit possible la selection par télécommande.
Tableau VII: Configuration de la télécommande
| Apparait sur l'affichage | Explication | Description |
| “CH” | “A”: unité A “b”: unité B “Ab”: unités A et B | Adresse unité intérieure A. Adresse unité intérieure B. Adresse par défaut: unités intérieures A et B. |
| “tU” | “C”: degrès Celsius “F”: degrès Fahrenheit | Température par défaut en °C. |
| “rc” | “HP”: pompé à chaleur “AC”: froid seul | Adresse par défaut: pompé à chaleur. Modifier l'adresse pour le mode froid seul. |
| “HR” | 17-32:17°C~32°C 63-90:63°F~90°F | Plage de températures de chauffage max. en °C. Plage de températures de chauffage max. en °F. |
| “CR” | 17-32:17°C~32°C 63-90:63°F~90°F | Plage de températures de refroidissement max. en °C. Plage de températures de refroidissement min. en °F. |
| “CL” | 12:12 horloge de 12 heures (AM/PM) 24:24 horloge de 24 heures | Base hora (AM = matin ; PM = après-midi). Par défaut : 12:12. |
NOTE :
si le mode « rc » (mode pompé à chaleur) sélectionné est replacé par le mode froid seul et que la télécommande fonctionne en mode auto ou chauffage, l'unité fonctionnera en mode froid.
NOTE:
si HR » est réglé sur une valeur inférieure à « CR » et que la télécommande fonctionne en mode auto, l'unité fonctionnera en mode froid.
Guide de l'utilisateur
Une fois l'installation et les essais terminés, expliquer à l'utilier les principaux points du manuel de fonctionnement et d'entretien, en faisant tout particulièrement attention aux principaux modes de fonctionnement de l'unité.
- Commentmettre l'unité en route et l'arrête.
- Fonctions de la télécommande.
- Comment restirer et nettoyer les filtres à air.
Remetre à l'usage les deux manuels d'installation, celui de l'unité interieure et celui de l'unité extérieure, qui pourrait par la suite lui servir à l'occasion des opérations d'entretien ou autres.
Tableau VIII: Accessoires
| Description | 42PQV/38VBH | |
| 009 | 012 | |
| Kit support de montage mural | ● | ● |
| Filtre au charbon active et filtre électrostatique passif | ● | ● |
Entretien de l'unité
Les opérations d'entretien ci-dessous ne doivent être confiées qu'à un personnel compétent.
Nettoyage des batteries
Si besoin est,proceder comme suit pour nettoyer delicatement la batterie:

Couper le courant.
Retirer le panneau avant de l'unité ainsi que le couvercle du haut en desserrant les vis de fixation et en les soulevant comme indiqué. Nettoyer soigneusement la batterie à l'aspirateur, de l'intérieur vers l'extérieur. Toujours à l'aspirateur, nettoyer l'intérieur du compartment du ventilateur et ses pales. Eviter d'abimer les pales, ce qui risquerait de provoquer des vibrations et du bruit. Remetre en place le panneau avant ainsi que le couvercle et desserrer les vis.
Dépannage
Le compresseur et le ventilateur de l'unité extérieure ne marchent pas:
- Le climatiseur n'est pas sous tension; vérifier les branchements au courant secteur.
- L'interrupteur principal est sur arrêt (OFF); vérifier et leMETtre sur marche (ON).
- Fusibles grilles; les changier.
- Attendre 3 minutes; la temporisation de protection contre les courts-cycles est enclenchée.
- La tension secteur est trop faible.
- Les branchements électriques sont desserrés; vérifier et réparer.
Le compresseur ne démarre pas, mais le ventilateur de l'unité extérieure fonctionne:
- Erreur de câblage du compresseur ou fils desserrés; vérifier le câblage et remédier au problème.
- Moteur du compresseur grillé, grippé ou dispositif de protection interne déclenché; trouver la cause du problème, puis changer le compresseur si besoin est.
Le compresseur fonctionne, mais en court cycles à cause de sa protection interne contre les températures excessives (hormis les arrêts normaux dus au thermostat):
-
Charge de fluide frigorigène trop faible ou trop importante ou presence d'air ou d'autres corps non condensables dans le circuit; evacuer le fluide (voir note 1), purger le système et recharger.
Tension secteur tropasse ou trop elevée. -
Batterie du condenseur défectueuse (unité extérieur, ou intérieure pour les modèles pompes à chaleur) bloquée; retirer les blocages.
- Ventilateur extérieur hors service; trouver la cause, puis le réparer.
- Thermostat de l'unité interieure défectueux; le changer.
- Circuit de fluide frigorigène bouché; retirer ce qui bouche le circuit.
- Vanne d'inversion endommagée (modèles pompes à chaleur); la changer.
- Dispositif de détente bouché ou givré; évacuer le fluide (voir note 1), purger le système et recharger.
Le compresseur fonctionne sans s'arrête:
- L'unité est trop petite pour les besoin de climatisation réels.
- Thermostat réglé trop bas (mode refroidissement) ou trop haut (mode chauffage); vérifier la température可以选择.
- Ventilateur du condenseur défectueux; changer le ventilateur.
- Présence d'air ou de corps non condensables dans le circuit; évacuer le fluide (voir note 1), purger le système et recharger.
- Entrée d'air bloquée ou filtré de l'unité interieure sale; nettoyer le filtré ou retarder le blocage.
Accumulation de givre fréquence sur la batterie extérieure (en mode chauffage pour les modèles pompes à chaleur):
- Ventilateur extérieur arrêté; trouver la cause et y remédier.
- Batterie de l'unité extérieure sale ou bloquée; nettoyer etsterol les blocages.
- Ventilateur du condenseur défectieux (unité extérieur, ou intérieure pour les pompes à chaleur); changer le ventilateur.
- Sélection de la température interieure trop BASSE en mode refroidissement ou trop elevée en mode chauffage. Vérifier la sélection de la température.
- Présence d'air ou d'autres corps non condensables dans le circuit; évacuer le fluide (voir note 1), purger le système et recharger.
Pression de refoulement insuffisante:
- Sélection de la température interieure trop évée en mode refroidissement ou trop BASSE en mode chauffage. Vérifier la sélection de la température.
- Batterie de l'unité extérieure bloquée ou sale; nettoyer ou enlever les blocages.
- Filtrà à air de l'unité interieure encrassé; le nettoyer.
- Sélection de la température interieure trop BASSE en mode refroidissement ou trop elevée en mode chauffage. Vérifier la sélection de la température.
- Vanne d'inversion défectueuse ou fuite interne (pompe à chaleur); la changer.
Pression d'aspiration insuffisante:
- Sélection de la température interieure trop évée en mode refroidissement ou trop BASSE en mode chauffage. Vérifier la sélection de la température.
- Batterie de l'évaporateur (unité intérieure, ou extérieure pour les modèles pompes à chaleur) givree; voir problèmes suivants.
- Débit d'air insuffisant dans l'évaporateur (unité intérieure, ou extérieure pour les modèles pompes à chaleur) trouver la cause et y remedier.
- Dispositif de détente ou conduite d'aspiration bouchée; retarder le blocage.
- Le ventilateur de l'unité extérieure ne s'arrête pas lors du dégivrage en mode chauffage (pompes à chaleur); vérifier les branchements électriques.
- Fils desserrés au moteur de ventilateur; vérifier et les resserrer.
- Moteur du ventilateur claqué. Le remplaier.
- Paliers du moteur du ventilateur grippés; trouver la cause et y remédier.
- Dispositif de détente bloqué ou givré; enlever le fluide frigorigène (voir note 1), purger le circuit, puis recharger.
Note 1:
Ne pas laisser le fluide frigorigène s'échapper à l'atmosphère; utiliser du matériel de récapuration spécial à cet effet.
Carrier
Via R. Sanzio, 9 - 20058 Villasanta (MI) Italy - Tel. 039/3636.1
La recherche permanente de perfectionnement du produit peut nécessiter des modifications ou changements, sans préavis.
Notice Facile