BRC1D527 - Télécommande pour systèmes de climatisation DAIKIN - Notice d'utilisation et mode d'emploi gratuit
Retrouvez gratuitement la notice de l'appareil BRC1D527 DAIKIN au format PDF.
| Type d'appareil | Climatiseur |
| Mode de commande | Commande à distance |
| Alimentation | Non précisé |
| Portée de la télécommande | Non précisé |
| Type d'écran | Non précisé |
| Fonctions principales | Refroidissement, chauffage, ventilation |
| Langue du manuel | Français |
| Compatibilité | Non précisé |
| Type de piles | Non précisé |
| Dimensions | Non précisé |
| Poids | Non précisé |
| Marque | Non précisé |
| Modèle | Non précisé |
| Fonction minuterie | Non précisé |
| Fonction économie d'énergie | Non précisé |
| Type de communication | Infrarouge |
FOIRE AUX QUESTIONS - BRC1D527 DAIKIN
Questions des utilisateurs sur BRC1D527 DAIKIN
Pour programmer l'arrêt automatique de votre pompe à chaleur entre 0h et 6h avec la télécommande DAIKIN BRC1D527, suivez ces étapes simples :
Étapes de programmation de l'arrêt automatique
- Allumez la télécommande et assurez-vous que l'unité est en fonctionnement.
- Accédez au menu de programmation en appuyant sur le bouton Timer ou Program selon votre modèle.
- Sélectionnez l'option d'arrêt programmé (souvent indiquée par un symbole d'horloge ou "Off").
- Définissez l'heure de début de l'arrêt à 0h (minuit).
- Définissez l'heure de fin de l'arrêt à 6h du matin.
- Validez la programmation en appuyant sur OK ou Enter.
- Vérifiez que la programmation est correctement enregistrée sur l'écran de la télécommande.
- Quittez le menu en appuyant sur Exit ou Back.
Cette programmation permet à votre pompe à chaleur de s'arrêter automatiquement pendant la plage horaire choisie, ce qui peut contribuer à économiser de l'énergie pendant la nuit.
Téléchargez la notice de votre Télécommande pour systèmes de climatisation au format PDF gratuitement ! Retrouvez votre notice BRC1D527 - DAIKIN et reprennez votre appareil électronique en main. Sur cette page sont publiés tous les documents nécessaires à l'utilisation de votre appareil BRC1D527 de la marque DAIKIN.
MODE D'EMPLOI BRC1D527 DAIKIN
Dispositif de commande à distance




MERCI D'AVOIR ACHETÉ CE DISPOSITIF DE RÉGULATION. LISEZ ATTENTIVEMENT LE MANUEL AVANT D'UTILISER L'INSTALLATION. APRÈS AVOIR LU LE MANUEL, CONSERVEZ-LE DANS UN ENDROIT SÛR POUR UNE UTILISATION FUTURE.

Avant la première mise en service, contactez votre concessionnaire pour obtenir tous les détails concernant votre unité de traitement de l'air.
Avertissement
- Ne jamais laisser l être humide, car cela pourrait provoquer un choc électrique ou un incendie.
- Ne jamais appuyer sur le bouton du avec un objet dur et pointu. L pourrait être endommagé.
- Ne jamais inspecter ou entretenir l vous-même ; demandez à une personne qualifiée de le faire.
Table des matières page
- Caractéristiques et fonctions 1
- Nom et fonction des interrupteurs et icônes 2
- Régler le dispositif de régulation 5 4. Description des modes de fonctionnement 5
- Fonctionnement
- Définition de la programmation des temporisations.
1. Caractéristiques et fonctions
Le BRC1D527 est un dispositif de régulation à distance à la pointe du progrès qui vous offre un contrôle complet de votre installation.
Dispositif de régulation à distance de base
Les fonctions de base du dispositif de régulation à distance sont :
Marche/Arrêt, commutation du mode de fonctionnement, réglage de la température, réglage du volume d'air, réglage de la direction d'écoulement de l'air.
2 Fonction horloge
Les fonctions horloge sont :
Horloge en temps réel de 24 heures, indicateur du jour de la semaine.
3 Fonction programmation des temporisations
Les fonctions de programmation des temporisations sont :
- Un maximum de 5 actions peuvent être programmées pour chaque jour de la période (au total 35 actions),
- La fonction de programmation des temporisations peut être activée ou désactivée à tout moment. Chaque action désigne soit un fonctionnement MARCHE lié à une température déterminée, soit un fonctionnement LIMITE, soit un fonctionnement ARRÊT.
- La fonction "dernière commande" annule la commande précédente jusqu'à la commande programmée suivante.
4. Fonctionnement limite
Le fonctionnement limité fournit un contrôle thermostatique dans l'éventail des températures minimale et maximale déterminées. Le réglage de la température minimale déclenchera le chauffage, le réglage de la température maximale déclenchera le refroidissement.
Quitter le domicile
La fonction Quitter le domicile empêche que la température ambiante ne tombe quand les occupants sont sortis pour une longue période. Si la température ambiante tombe en dessous de 10°C, le chauffage démarre automatiquement. Dès que l'on atteint 15°C, le dispositif de régulation retourne à son statut d'origine.
Bouton niveau d'autorisation
Trois niveaux d'autorisation hiérarchiques peuvent être réglés pour limiter l'action de l'utilisateur.
2. Nom et fonction des interrupteurs et icônes (voir la figure 1)
1. BOUTON MARCHE/ARRÊT
Appuyer sur le bouton MARCHE/ARRÊT pour démarrer ou arrêter le système.
Témoin de fonctionnement
La lampe témoin de fonctionnement s'allume pendant le fonctionnement et clignote si un dysfonctionnement se produit.
3. Icône mode fonctionnement

Ces icônes indiquent le mode de fonctionnement en cours (VENTILATION, DÉSHUMIDIFICATION, AUTOMATIQUE, REFROIDISSEMENT, CHAUFFAGE).
4 ICÔNES MODE VENTILATION
Ces icônes indiquent le mode de ventilation en cours (uniquement HRV) (AUTOMATIQUE, ÉCHANGE DE CHALEUR, BY-PASS).
5. Icône ventilation
L'icône de ventilation apparaît quand la ventilation est réglée avec le bouton quantité de ventilation (uniquement HRV). La quantité d'air ventilé est indiquée simultanément par l'icône de vitesse du ventilateur (voir 22).
Iconet nettoyage de l'air
Cette icône indique que l'unité de nettoyage de l'air (option) est opérationnelle.
7. Icone quitter domicile
L'icône Quitter Domicile montre l'état de la fonction Quitter domicile.
| MARCHE | Quitter Domicile est activé |
| CLIGNOTEMENT | Quitter Domicile est activé |
| ARRÊT | Quitter Domicile est désactivé |
Icône contrôle extérieur
Cette icône indique qu'un autre dispositif de régulation à priorité plus élevée est en train de contrôler ou de désactiver votre installation.
Contrôle centralisé

Cette icône indique que la commutation de l'installation est sous contrôle centralisé attribué à une autre unité intérieure ou à un sélecteur refroidir/chauffer connecté à l'unité extérieure (= dispositif principal de régulation à distance).
Indicateur jour de la semaine
L'indicateur du jour de la semaine montre le jour de la semaine ou le jour réglé quand on lit ou programme les temporisations.
Affichage horloge 88:88
L'affichage horloge indique l'heure du moment (ou l'heure de l'action quand on lit ou programme le temporisateur).
La température réglée maximale indique la température maximale en mode fonctionnement limite.
13 Température réglée minimale 88 min
La température réglée minimale indique la température minimale en mode fonctionnement limite.
Icone programmation de temporisation
Cette icône indique que le programme de temporisation est actif.
Supprimer
Ces icônes indiquent les actions pour chaque jour du programme de temporisation.
Icône arrêt off
Cette icône indique que l'action ARRET est sélectionnée lors de la programmation des temporisations.
Inspection nécessaire
Ces icônes indiquent qu'une inspection est nécessaire. Consultez votre installateur.
Affichage réglage température 80
Cet affichage indique la température réglée en cours de l'installation (non affichée en fonctionnement LIMITE ou en mode VENTILATION ou SÉCHAGE).
Non utilisé, uniquement pour entretien.
Icône de direction du débit d'air
Cette icône indique la direction de l'écoulement d'air (uniquement pour les installations avec volets d'écoulement à moteur).
NOT AVAILABLE s'affiche chaque fois que l'on fait appel à une fonction non installée ou qu'une fonction n'est pas disponible.
Icone vitesse de ventilation
Cette icône indique la vitesse réglée de ventilation.
Icône mode dégivrage/démarrage à chaud
Cette icône indique que le mode dégivrage/démarrage à chaud est actif.
ICONE DE NETTOYAGE DU FILTRE À AIR

Cette icône indique que le filtre à air doit être nettoyé. Se reporter au manuel d'utilisation de l'unité intérieure.
ICÔNE DE NETTOYAGE DE L'ÉLÉMENT

Cette icône indique que l'élément doit être nettoyé (uniquement pour les modèles HRV).
BOUTON MODE VENTILATION

Le bouton mode ventilation fait fonctionner le HRV ; voir le manuel d'utilisation du HRV pour plus de détails.
27. BOUTON QUANTITÉ D'AIR VENTILÉ

Ce bouton détermine la quantité d'air ventilé ; voir le manuel d'utilisation du HRV pour plus de détails.
28 BOUTON DE CONTRÔLE/TEST DE FONCTIONNEMENT
Non utilisé, uniquement pour l'entretien.
29. BOUTON DE PROGRAMMATION
Ce bouton a une utilité multiple.
Suivant les manipulations précédentes de l'utilisateur, le bouton de programmation peut avoir des fonctions variées.
BOUTON PROGRAMMATION DE TEMPORISATION
Ce bouton active ou désactive la programmation des temporisations.
31 BOUTON RÉGLAGE HEURE
Ces boutons sont utilisés pour régler l'horloge, ou en mode programmation, pour régler le moment d'action du programme. Les deux boutons ont une fonction d'auto-répétition.
BOUTONS DE RÉGLAGE DE TEMPÉRATURE
Ces boutons sont utilisés pour régler le point de consigne en cours, et en mode programmation pour régler la température de consigne programmée (étape = 1°C). Les deux boutons sont également utilisés pour régler le jour de la semaine.
BOUTON DE CHANGEMENT/MIN-MAX DE FONCTIONNEMENT
Ce bouton a une utilité multiple. Suivant les manipulations précédentes de l'utilisateur, il peut avoir les fonctions suivantes :
1. Sélectionner le mode de fonctionnement de l'installation (VENTILATION, DÉSHUMIDIFICATION, AUTOMATIQUE, REFROIDISSEMENT, CHAUFFAGE). 2. Basculer entre la température minimale et la température maximale en fonctionnement limite.
BOUTON VALEUR DE CONSIGNE/LIMITE
Ce bouton bascule entre la valeur de consigne, le fonctionnement limite ou OFF (uniquement en mode programmation).
35. BOUTON VITESSE DE VENTILATION
Ce bouton bascule en L (Faible), H (Haut), HH (Très Haut) ou Automatique.
BOUTON DE RÉGLAGE DE LA DIRECTION DE L'ÉCOULEMENT D'AIR
Ce bouton permet de régler la direction de l'écoulement d'air.
BOUTON DE RÉINITIALISATION DE L'ICÔNE NETTOYAGE FILTRE À AIR
Ce bouton est utilisé pour réinitialiser l'icône de nettoyage du filtre à air.
3. Régler le dispositif de régulation
Après l'installation initiale, l'utilisateur peut ré semaine.
Le dispositif de régulation est équipé d'un programme de temporisation qui permet à l'utilisateur de faire fonctionner l'installation automatiquement ; il est nécessaire de ré pour pouvoir utiliser le programme de temporisation.
1 Fonction réglage horloge
Poussez sur le bouton ① pendant 5 secondes. L'affichage horloge et l'indicateur du jour de la semaine vont clignoter, les deux peuvent maintenant être réglés.
Utiliser les boutons 4 & 4 pour régler l'horlog bouton de réglage de l'heure fait diminuer l'heure d'une minute. En gardant le bouton 4 ou 4 enfoncé, on diminue de 10 minutes.
égler le jour de la semaine. Chaque pression sur les boutons 4 ou 4 affichera le jour suivant ou précédent.
Appuyer sur le bouton ⇔ pour confirmer le réglage de l'heure et du jour en cours.
Si le dispositif de régulation, avec horloge et indicateur du jour de la semaine clignotant, est laissé tel quel pendant 5 minutes, l'horloge et le jour de la semaine retourneront à leur réglage précédent ; la fonction de réglage d'horloge n'est plus active.
2. Régler le programme de temporisation
Pour régler le programme de temporisation, voir le chapitre 6 "Définition de la programmation des temporisations" à la page 11.
4. Description des modes de fonctionnement
FONCTIONNEMENT VENTILATION UNIQUEMENT
Dans ce mode, l'air circule seul sans chauffage ni refroidissement.
2. FONCTIONNEMENT DE DÉSHUMIDIFICATION
Dans ce mode, l'humidité de l'air sera diminuée avec une chute minimale de la température.
La température et la vitesse du ventilateur sont contrôlées automatiquement et ne peuvent pas être réglées par la télécommande.
L'opération de déshumidification ne fonctionnera pas si la température ambiante est trop basse.
3 FONCTIONNEMENT AUTOMATIQUE [A]
Dans ce mode, le dispositif de régulation passera automatiquement du chauffage au refroidissement comme demandé par la température limite de la valeur de consigne.
4. FONCTIONNEMENT EN REFROIDISSEMENT
Dans ce mode, le refroidissement sera activé comme demandé par la température limite ou la valeur de consigne.
5 FONCTIONNEMENT DE CHAUFFAGE
Dans ce mode, le chauffage sera activé comme demandé par la température limite ou la valeur de consigne.
Démarrage à chaud (type thermopompe uniquement)
Au commencement d'une opération de chauffage, le ventilateur intérieur est arrêté jusqu'à ce qu'une certaine température d'échange de chaleur soit atteinte. Cela empêche l'air froid de quitter l'unité intérieure.
Dégivrage (type à thermopompe uniquement)

Dans l'opération de chauffage, le gel de l'échangeur de chaleur extérieur peut se produire. Si c'est le cas, la capacité de chauffage du système diminue et le chauffage commence son opération de dégivrage. Le ventilateur de l'unité intérieure s'arrête. Après au plus 10 minutes en mode dégivrage, le système revient en mode chauffage.
6 Fonctionnement limite
Le fonctionnement limite est un mode supplémentaire qui permet de conserver la température ambiante dans certaines limites. Les icônes MAX et MIN sont affichées pour confirmer l'activation du fonctionnement limite.
Quitter le domicile
QUITTER LE DOMICILE est une caractéristique qui permet de conserver la température ambiante au-dessus de 10°C quand les occupants sont sortis. Cette fonction se commute sur chauffage si l'installation est coupée.
Fonctionnement manuel
En fonctionnement manuel, l'utilisateur décide des réglages de l'installation. Le dernier réglage reste actif jusqu'à ce que l'utilisateur le modifie.
Comme le dispositif de régulation peut être mis en œuvre pour une large variété d'installations et de caractéristiques, il peut arriver que vous sélectionniez une fonction qui n'est pas disponible sur votre installation. Si c'est le cas, le message "NOT apparatus" s'affiche.
Utiliser le bouton pour sélectionner le mode de fonctionnement souhaité.
| Mode ventilateur uniquement | |
| Fonctionnement de déshumidification | |
| Fonctionnement automatique | |
| Mode refroidissement | |
| Mode chauffage |
Pousser sur le bouton pour basculer entre le fonctionnement limite et les opérations énumérées ci-dessus.
En fonctionnement limite, utiliser le bouton MAX pour sélectionner les réglages de température minimale et maximale. Utiliser les boutons + ou - pour ajuster les réglages de température minimale et maximale.
Fonctionnement ventilation uniquement
Paramètres utilisateurs réglables :
Vitesse de ventilation : utiliser le bouton. Direction de l'écoulement d'air : régler le bouton. Mode ventilation : utiliser le bouton. Quantité de ventilation : utiliser le bouton.
Fonctionnement de déshumidification
Paramètres utilisateurs réglables :
- Direction de l'écoulement d'air : régler le bouton. Mode ventilation : utiliser le bouton. Quantité de ventilation : utiliser le bouton.
3 Fonctionnement automatique
Paramètres utilisateurs réglables :
- Température de la valeur de consigne, utiliser les boutons & . Vitesse de
- Direction de l'écoulement d'air, régler le bouton. - Mode ventilation, utiliser le bouton. - Quantité .
Refroidissement
Paramètres utilisateurs réglables :
- Température de la valeur de consigne, utiliser les boutons. Vitesse
- Direction de l'écoulement d'air, régler le bouton. Mo . Quantité ventilation, utiliser le bouton.
5 Chauffage
Paramètres utilisateurs réglables :
- Température de la valeur de consigne, utiliser les boutons ⑥ & ⑧. Vitesse de
- Direction de l'écoulement d'air, régler le bouton ^(1). Mode ventilation, utiliser le bouton. Quantité .
Fonctionnement limite
Paramètres utilisateurs réglables :
Vitesse de ventilation : utiliser le bouton. Direction de l'écoulement d'air : régler le bouton. Mode ventilation : utiliser le bouton. Quantité de ventilation : utiliser le bouton.
Quitter le domicile
Pousser sur les boutons et en même temps pour activer la fonction QUITTER DOMICILE.

RAPPELEZ-VOUS QUE LE BOUTON DOIT ÊTRE SUR ARRÊT POUR GARANTIR LE DÉCLENCHEMENT DE LA FONCTION QUITTER DOMICILE.
2. Réglage de la direction d'écoulement de l'air Utilisez ce bouton pour régler la direction de l'écoulement d'air. Poussez sur le bouton pour passer d'une direction d'écoulement d'air variable à une direction fixe. Utilisez l'icône pour déterminer la direction d'écoulement d'air fixe en poussant sur le bouton quand l'icône indique la direction souhaitée.
REMARQUE : Même si la direction fixe d'écoulement de l'air est sélectionnée, la direction variable d'écoulement de l'air peut être activée automatiquement pour préserver un fonctionnement correct de votre installation.
3. Programme de temporisation
Toutes les caractéristiques, la programmation et le fonctionnement du temporisateur sont décrits ci-dessous.
Fonctionnement du programmeur de temporisation
En mode temporisation, l'installation est également contrôlée par le . Les actions programmées dans le seront automatiquement effectuées.
L effectue la commande, ce qui signifie que l'utilisateur peut temporairement ignorer la dernière action programmée effectuée. Se référer à "Fonctionnement manuel" à la page 6. L'action suivante programmée ( ) renverra le contrôle au programmeur de temporisation.
Utiliser le bouton pour activer ou désactiver .
Remarque

Le programmeur de temporisation ignore le bouton de marche/arrêt ; utiliser uniquement le bouton de programmation pour activer ou désactiver le programmeur de temporisation. Le programmeur de temporisation est activé quand l'icône correspondante est visible. Le bouton de marche/arrêt ignore uniquement le programmeur de temporisation jusqu'à l'action programmée suivante.

La temporisation programmée dépend du temps. L'horloge et la date du jour doivent de ce fait être réglées correctement. Se référer à "FONCTION RÉ

Régler manuellement l'horloge pour l'heure d'été et l'heure d'hiver. Se réfé

Une panne de courant de plus d'une heure réinitialisera l'horloge et le jour de la semaine. Voir pour régler l'horloge et le jour de la semaine.
Les actions programmées dans le programmeur de temporisation ne seront pas perdues après une coupure de courant ; reprogramm n'est pas nécessaire.
Pour régl , voir le chapitre 6 "Définition de la programmation des temporisations" à la page 11.
Que peut faire le programme de temporisation ?
Le concept du est simple, direct mais puissant.
Le programme de temporisation peut ordonner trois actions :
1. Mettre en fonction l'installation à un moment programmé, combiné à une valeur de consigne (contrôle exact de la température). 2. Fermer l'installation (fin de contrôle). 3. Mettre en marche l'installation à un moment programmé, en fonctionnement limité.
Le programme de temporisation peut accepter un maximum de 5 actions par jour.
Pour chaque jour de la semaine, eut être programmé, totalisant un maximum de 35 actions programmées. L'action qui a été programmée la première pour un certain jour est l'action 1, la dernière action programmée pour la journée pourrait être l'action 1 (si une seule action est programmée pour ce jour) ou l'action 5.

Il est de la plus grande importance de comprendre que le numéro attribué à l'action programmée NE DÉTERMINE PAS QUAND l'action programmée sera exécutée. Seul le MOMENT, en tant qu'élément de données introduit lors de la programmation de l'action, déterminera quand l'action programmée sera exécutée.
Que fera le programme de temporisation ?
S'il est actif, exécutera les actions programmées.
Il ordonnera à l'installation de :
refroidir ou chauffer, suivant le fonctionnement en cours. Si d'application, la valeur de consigne sera affichée.
couper l'installation (le programmeur de temporisation restera activé et réactivera l'installation comme programmé) ; la lampe témoin de fonctionnement s'éteindra.
Il refroidit ou chauffe, peu importe, pour conserver la température ambiante dans une plage spécifiée (fonctionnement limité). Les valeurs min et max sont affichées.

Le programmateur de temporisation changera le mode de fonctionnement en mode de fonctionnement limité uniquement.
Pour pouvoir vérifier les actions programmées, vous pouvez passer en revue les actions programmées, voir ci-dessous.
Qu'est-ce que le programme de temporisation ne fera pas ?
- contrôler la vitesse du ventilateur,
- contrôler la direction de l'écoulement d'air,
- contrôler le mode de ventilation,
- contrôler la quantité de ventilation,
- modifier le mode de fonctionnement pour une valeur de consigne convenue.
Les paramètres énumérés plus haut peuvent être réglés manuellement, sans interférer avec le programmateur de temporisation.
Des dispositifs de régulation à distance plus sophistiqués sont disponibles. Consultez votre concessionnaire pour plus d'informations.
Passer en revue les actions programmées dans le programmeur de temporisation (affichage uniquement)
Se référer à la figure 2.
Passer en revue les actions programmées du programmateur de temporisation est une procédure séquentielle. Seuls deux boutons sont utilisés pour parcourir l'intégralité du programme de temporisation.
Le bouton est utilisé pour commencer le balayage, pour afficher l'action programmée suivante ou pour sortir du balayage quand la première action programmée a été affichée.
Le bouton est utilisé pour sortir de la consultation d'un coup (sans devoir faire défiler toutes les actions programmées).
Pousser sur le bouton ↔ pour introduire le mode consultation, l'icône ⊕ apparaît, MON se met à clignoter.
REMARQUE : Le balayage commence toujours le lundi pour se terminer le dimanche.

Contrôler l'icône 12345. Si au moins une action est programmée pour le lundi, le chiffre 1 apparaîtra.
L'horloge indique que le moment auquel l'action programmée est prévue, soit 24 h / 15 min OFF ou 8 min et 30 min max, est en cours d'affichage.
REMARQUE : Les températures mentionnées ci-dessus ont uniquement un objectif de clarification, les valeurs de température sur votre dispositif de régulation peuvent varier.
Si 1 n'apparaît pas, aucune action n'est programmée pour lundi.
Pousser de nouveau sur le bouton ⇔ pour passer au jour suivant de la période. TE va clignoter, ce qui indique que les actions programmées pour mardi sont en train d'être passées en revue.
La procédure décrite ci-dessus est répétée.
Si au moins une action , 1 apparaîtra. L'horloge indique le moment auquel l'action programmée est prévue, soit 15 min OFF ou 30 min ON, qui est en cours d'affichage.
Si "1" n'apparaît pas, aucune action n' .
Pousser sur le bouton ⇔ pour afficher l'action suivante programmée. Si une seconde action est programmée pour mardi, TE 12 apparaîtra en clignotant.
En supposant que 5 actions soient programmées pour le mardi, un total de 5 pressions sera requis pour afficher toutes les actions programmées.
Continuez à appuyer sur le bouton jusqu'à ce que l'indicateur du jour de la semaine affiche le jour en cours (non clignotant), vous avez alors quitté le balayage des actions.
Remarque

Le nombre de fois que le bouton devra être enfoncé pour quitter le balayage dépendra du nombre d'actions programmées dans le programme de temporisation.
Comment doit-il interpréter les actions programmées ?
Pour pouvoir comprendre le comportement de votre installation quand le programmeur de temporisation est actif, il est important de regarder toutes les actions programmées du jour en cours et peut-être la dernière action programmée d'hier.
Si la première action programmée pour aujourd'hui n'est pas encore , mais pas nécessairement, de la dernièr Lire la note importante ci-dessous.
Si la première action programmée pour aujourd'hui est déjà s paramètres programmés dans la première action programmée de ce jour. Lire la note importante ci-dessous.
REMARQUE : Pour que le fonctionnement de votre installation reste simple, le programmeur de temporisation peut aisément être ignoré en altérant le réglage en cours ("la dernière commande" ignore la commande précédente jusqu'à la commande programmée suivante).
Conclusion : Même si le symbole est affiché, quelqu'un peut avoir altéré les réglages. L'action programmée suivante ignorera les réglages altérés et les réglages programmés réapparaîtront.
Les actions programmées peuvent se chevaucher ; en raison de la logique "la dernière commande prévaut", la dernière commande programmée donne la règle.
Comment doit-il interpréter les valeurs sur l'affichage quand le programmeur de temporisation est actif ?
Comme décrit ci-dessus, les réglages du (et par conséquent les valeurs d'affichage) peuvent être temporairement ignorés par une intervention manuelle.
Si vous souhaitez être absolument sûr des programmations de temporisation pour le moment même, vous devez d'abord balayer les actions programmées du temporisateur. Se référer à "Passer en revue les actions programmées dans le " à la page 9.
Que dois-je programmer ?
Comme la programmation des temporisations se base sur un programme hebdomadaire (les mêmes actions se répéteront chaque semaine), vous devez d'abord sélectionner le jour de la semaine.
Ensuite, vous devez désigner une action :
1. Mettre en fonction l'installation à un moment programmé, combiné à une valeur de consigne (contrôle exact de la température). 2. Fermer l'installation (fin de contrôle). 3. Mettre en marche l'installation à un moment programmé, en fonctionnement limité.
Enfin, vous devez introduire le moment du jour où l'action doit être activée.
REMARQUE : Si vous programmez 2 actions ou plus le même jour et au même moment, seule l'action ayant le numéro d'action le plus élevé (2-5) sera exécutée.
Démarrer
La programmation est flexible (vous pouvez ajouter, enlever ou modifier les actions programmées quand nécessaire) et directe (les étapes de programmation sont limitées au minimum).
Ci-dessous quelques trucs et astuces pour une programmation réussie :
Habituez-vous aux icônes et boutons, vous en aurez besoin lors de la programmation. Habituez-vous à la fonction de balayage, vous en aurez besoin pour démarrer la programmation. Référez-vous à "Passer en revue les actions programmées dans le programmateur de temporisation" à la page 9. Complétez le formulaire à la fin du présent manuel, notez le moment et l'action requise pour chaque jour (rappelez-vous que le nombre d'actions est limité à 5 par jour). Prenez votre temps pour introduire avec précision toutes les données. Essayez de programmer les actions de chaque jour dans une série logique (commencer par l'action 1 pour la première action et terminer par le numéro le plus élevé pour la dernière action). Il ne s'agit pas d'une exigence, mais il sera plus aisé d'interpréter le programme par la suite. Rappelez-vous que vous pouvez toujours modifier, ajouter ou enlever les actions programmées plus tard.
Remarque

Lorsque vous changez de jour durant la programmation, vous devrez confirmer la dernière action. Chaque jour peut avoir 5 actions programmées (numéro 1 à 5) mais pour certaines raisons vous pouvez annuler une, plusieurs ou ées.
Pour pouvoir effacer ées, vous devez sélectionner l'action que vous souhaitez conserver ou aucune action (il est affiché "Aucune action").
Toutes les actions programmées avec un numéro supérieur à celle sélectionnée, ou ées si aucune action n'a été sélectionnée, seront effacées.
Remarque

Dans les directives ci-dessous, on suppose que vous commencez à programmer le programmeur de temporisation le lundi et terminez les actions le dimanche.
Si vous préférez NE PAS commencer le lundi, avancez jusqu'au jour désiré et entrez alors le mode PROGRAMME.
Dans ce cas particulier, aucune action n'a été programmée auparavant, toutes les actions du programme de temporisation sont inoccupées.
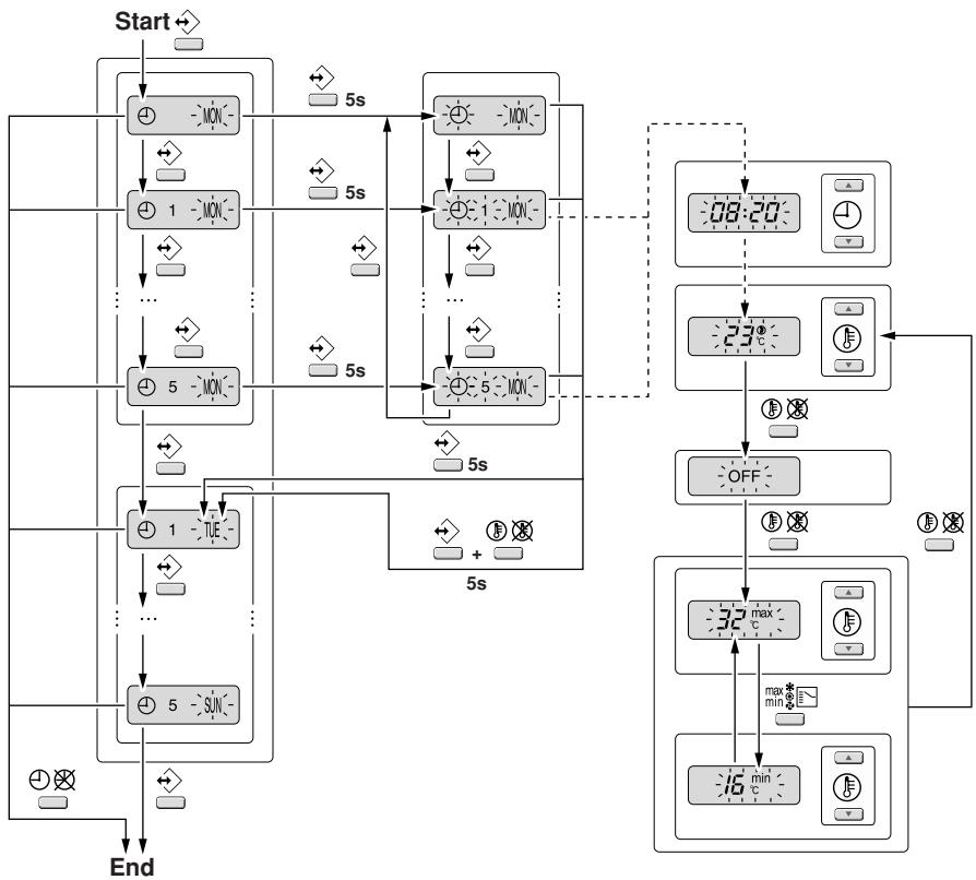
- Parcourez jusqu'à lundi en poussant sur le bouton . L'icône apparaît, MON va clignoter et une des icônes pourrait être affichée, mais tous les autres champs restent vierges, indiquant qu'aucune action n'a été programmée pour le lundi.
- Entrez en mode programme en tenant le bouton enfoncé durant 5 secondes, l'icône va également clignoter. Poussez sur le bouton pour activer la première action programmée. Un 1 clignotant est affiché indiquant que la première action programmée pour lundi est en cours de programmation ; l'affichage de la température réglée et de l'horloge clignotent. Poussez sur le bouton pour sélectionner soit le réglage de température, OFF, ou le fonctionnement limite. Introduisez la température souhaitée . Poussez sur le bouton pour basculer entre le réglage de température minimale et température maximale en fonctionnement limite, la température sélectionnée clignotera.
- Introduire le moment de démarrage de l'action ⊕△ et ⊕▽ (étape min. = 10 minutes).
REMARQUE : Si, par accident, vous poussez sur le bouton, vous activez l'action suivante ; "12" s'affiche (le "1" fixe et le "2" clignotant). Poussez sur le bouton de façon répétée jusqu'à ce que "1" soit affiché. Vous pourrez maintenant continuer à ajuster les réglages pour la première action du programmateur de temporisations.
Si l'action et le moment correspondant sont corrects, vous pouvez passer à l'action suivante. Vous le faites en poussant sur le bouton « → », les données sont enregistrées et l'action suivante peut être programmée.
La programmation des actions suivante pour le même jour est identique.
Vous pouvez parcourir les action ↔.
REMARQUE : Ne vous inquiétez pas si vous ajoutez des actions supplémentaires ↔ à plusieurs reprises, elles peuvent être effacées quand vous terminez le jour en cours.
Quand toutes les données pour le s pour lundi sont introduites, vous devez confirmer les actions programmées.
Vérifiez que la dernière action du programmeur de temporisation que vous souhaitez conserver est sélectionnée (les actions avec un numéro supérieur seront effacées).
Maintenant vous devez choisir entre 2 options :
1. CONFIRMER ET COPIER VERS LE JOUR SUIVANT
L'action programmée du programmeur des temporisations pour le jour en cours est également valable pour le jour suivant. Utiliser la fonction "confirmer dernière action et copier actions au jour suivant" en appuyant sur les boutons ↔ et simultanément pendant 5 secondes.
UNIQUEMENT CONFIRMER
L'action programmée du programmateur des temporisations pour le jour en cours est uniquement valable pour le jour sélectionné. Utilise la fonction "confirmer dernière action et aller au jour suivant" en appuyant sur le bouton pendant 5 secondes.
Le mode programme est terminé et, suivant le choix effectué, les actions programmées sont enregistrées pour le lundi (et peut-être le mardi).
PROGRAMMER LES AUTRES JOURS DE LA SEMAINE
La programmation des autres jours de la semaine est identique à la programmation du premier jour de la semaine. TEL clignote pour indiquer le jour sélectionné, et 1 sont stables si des actions ont été copiées de lundi vers mardi. UNIQUELY s'affiche si aucune action n'a été copiée de lundi à mardi.
JE SOUHAITE ÉDITER LES ACTIONS PROGRAMMÉES
Éditer des actions programmées est facile.
Veillez à ne pas être en mode programme (ne clignote pas) ; si nécessaire, appuyez sur le bouton pour quitter le mode programme.
Parcourir les actions programmées en utilisant le bouton . Sélectionner et éditer l'action que vous souhaitez.
Appuyer sur le bouton ↔ pendant 5 secondes ; le mode programme est activé, l'icône et l'action sélectionnée clignotent.
Éditer les réglages en utilisant les mêmes boutons que ci-dessus.
Sélectionner la "dernière action" en utilisant le bouton et décider si vous voulez ou ne voulez pas copier l'action programmée au jour suivant (en appuyant sur les boutons et simultanément ou uniquement sur le bouton pendant 5 secondes).
JE VEUX EFFACER UNE OU PLUSIEURS ACTIONS PROGRAMMÉES
Veillez à ne pas être en mode programme (P ne clignote pas) ; si nécessaire, appuyez sur le bouton P pour quitter le mode programme.
Parcourir les actions programmées en utilisant , sélectionner le jour que vous souhaitez éditer.
Appuyer sur le bouton pendant 5 secondes ; le mode programme est activé, l'icône et l'action sélectionnée clignotent.
Sélectionner la "dernière action" que vous souhaitez conserver en utilisant . Toutes les actions supérieures seront effacées.
Confirmer l'effacement en maintenant le bouton enfoncé durant 5 secondes.
Confirmer l'effacement pour le jour en cours et le jour suivant en appuyant sur les boutons ⇔ et ⇔ simultanément durant 5 secondes.
REMARQUE : Dans le cas ci-dessus, si par exemple la dernière action était n° 3, les actions programmées 4 et 5 seront également effacées (si elles existaient).
Je veux effacer toutes les actions programmées en une fois
Quitter la programmation ou la navigation.
Pousser sur les boutons ↔ et → simultanément pendant 5 secondes ; l'icône ⊕ va s'inverser et disparaître pour confirmer l'effacement.
7. Maintenance
Le dispositif de régulation à distance ne nécessite pas de maintenance.
Retirer la saleté avec un chiffon doux humide.
REMARQUE : Utiliser uniquement de l'eau claire pour humidifier le chiffon.

8. Dépannage
Les directives ci-dessous peuvent vous aider à résoudre votre problème. Si vous ne parvenez pas à résoudre le problème, consultez votre installateur.
Pas de valeurs sur le dispositif de régulation à distance (affichage vierge)
Vérifier si la puissance du réseau est toujours appliquée à votre installation.
Seul est affiché
Indique que l'installation vient juste d'être branchée, veuillez attendre jusqu'à ce que le message disparaisse.
Le programmeur de temporisation ne fonctionne pas mais les actions programmées sont exécutées à un mauvais moment (par ex. 1 heure trop tard ou trop tôt)
Vérifier si l'horloge et le jour de la semaine sont correctement réglés, corriger si nécessaire (voir "FONCTION RÉGLAGE HORLOGE" à la page 5).
Je ne sais pas activer le programmeur de temporisations (l'icône clignote pendant 2 secondes et disparaît ensuite)
L n'a pas encore été programmé. Programmez d'abord (voir "Définition de la programmation des temporisations" à la page 11).
Je ne sais pas activer le programmeur de temporisation (l'icône n'est pas affichée)
Le programmateur de temporisation ne peut pas être réactivé quand un contrôle centralisé est connecté.
Le fonctionnement limite ne peut pas être sélectionné.
'est pas disponible pour le refroidissement uniquement des installations.
Notes
| MON | 1 | 2 | 3 | 4 | 5 |
| ⊕ | |||||
| °C | |||||
| OFF | |||||
| max | |||||
| min | |||||
| TUE | 1 | 2 | 3 | 4 | 5 |
| ⊕ | |||||
| °C | |||||
| OFF | |||||
| max | |||||
| min | |||||
| WED | 1 | 2 | 3 | 4 | 5 |
| ⊕ | |||||
| °C | |||||
| OFF | |||||
| max | |||||
| min | |||||
| THU | 1 | 2 | 3 | 4 | 5 |
| ⊕ | |||||
| °C | |||||
| OFF | |||||
| max | |||||
| min | |||||
| FRI | 1 | 2 | 3 | 4 | 5 |
| ⊕ | |||||
| °C | |||||
| OFF | |||||
| max | |||||
| min | |||||
| SAT | 1 | 2 | 3 | 4 | 5 |
| ⊕ | |||||
| °C | |||||
| OFF | |||||
| max | |||||
| min | |||||
| SUN | 1 | 2 | 3 | 4 | 5 |
| ⊕ | |||||
| °C | |||||
| OFF | |||||
| max | |||||
| min |
Notice Facile