TELEVISEUR LCD 19LCDTNT-953 - Téléviseur LISTO - Notice d'utilisation et mode d'emploi gratuit
Retrouvez gratuitement la notice de l'appareil TELEVISEUR LCD 19LCDTNT-953 LISTO au format PDF.
| Type de produit | Téléviseur LCD |
| Modèle | 19LCDTNT-953 |
| Dimensions de l'écran | 19 pouces |
| Résolution | 1366 x 768 pixels |
| Type de tuner | TNT intégré |
| Alimentation électrique | 220-240V, 50/60Hz |
| Consommation électrique | 30W (en fonctionnement), 0.5W (en veille) |
| Poids | 4.5 kg |
| Connectivité | HDMI, USB, VGA, AV, sortie audio |
| Fonctions principales | Affichage numérique, mode économie d'énergie, réglage automatique de l'image |
| Entretien et nettoyage | Utiliser un chiffon doux et sec, éviter les produits chimiques agressifs |
| Pièces détachées et réparabilité | Disponibilité variable, vérifier auprès du fabricant ou des revendeurs |
| Garantie | 2 ans |
| Informations supplémentaires | Compatible avec les supports VESA 100 x 100 mm |
FOIRE AUX QUESTIONS - TELEVISEUR LCD 19LCDTNT-953 LISTO
Téléchargez la notice de votre Téléviseur au format PDF gratuitement ! Retrouvez votre notice TELEVISEUR LCD 19LCDTNT-953 - LISTO et reprennez votre appareil électronique en main. Sur cette page sont publiés tous les documents nécessaires à l'utilisation de votre appareil TELEVISEUR LCD 19LCDTNT-953 de la marque LISTO.
MODE D'EMPLOI TELEVISEUR LCD 19LCDTNT-953 LISTO
Notice d'utilisation
Téléviseur LCD 19" avec TNT intégrée
19LCDNT-953
Table des matieres
Accessoires 2
Charactéristiques techniques 2
Preparation 2
Précautions de sécurité 2
Source d'alimentation 2
Cordon d'alimentation 2
Humidité et eau 3
Nettoyage 3
Chaleur et flammes 3
Foudre 3
Pièces de rechange 3
Maintenance 3
Mise au rebut. 3
Information à destination des utilisateurs des
pays de l'union européen 3
Débranchement de l'appareil 3
Volume du casque d'ecoute 3
Installation 3
Ecran LCD 3
Avertissement 4
Aperçu général de la télécommandeVeille 5
TV LCD et boutons de commande 6
Affichage des branchements - connecteurs arrêté6
Affichage des branchements - Prises laterales..... 7
Alimentation electrique 7
Branchement de I'antenne. 7
Connexion du téléviseur LCD à un PC............ 8
Connexion à un lecteur de DVD 8
Utilisation des prises AV laterales. 9
Connexion d'un autre équipement via Peritel. 9
Insertion des piles dans la télécommande 9
Allumer/eteindre le téléviseur 9
Pour allumer le téléviseur 9
Pour eteindre le telleviseur 9
Selection d'entree 10
Opérations de Base 10
Fonctionnement avec les boutons sur la TV.... 10
Réglages initiaux 10
Fonctionnement général. 11
Guide de programme électronique EPG 11
Affichage des sous-titres 12
Télétexte numérique (**seulment pour le
Royaume-Uni). 12
Télexte Analogue 12
Grand écran 12
Système de menu IDTV 12
Listedeschaines 12
Minuteurs 14
Acces conditionnel. 15
Réglage TV. 15
Réglage 15
Système de menu TV analogue 19
Menu Image 19
Menu Audio 20
Menu fonctionnel 21
Menu d'installation 22
Français - 1 -
Menu Source 24
Système de menu du mode PC. 24
Menu de position PC 24
Affichage des informations TV. 25
Fonction Muet 25
Selection du mode image 25
Arret sur image 25
Modes Zoom 25
Auto 25
16:9 25
4:3 25
Panoramaque 25
14:9 26
Cinéma 26
Sous-titrage 26
Zoom 26
Télexte 26
Conseils 27
Persistence d'image 27
Pas d'alimentation 27
Mauvaise image 27
Pas d'image 27
Son 27
Télécommande 27
Sources d'entrée 27
Appendice A: Modes d'affichage typiques de
I'entree PC. 28
Appendice B:Compatibilité du signal AV et HDMI
(types de signal d'entrée) 29
Caracteristiques techniques 30

Accessoires

\section*{Caracteristiques techniques}
- Téleviseur couleur LCD avec télécommande.
- TV digitale entiement integree (TNT).
- Prise HDMI pour video et audio numériques. Ce branchement est également conçu pour accepter des signaux haute définition.
200 programmes VHF, UHF (analogiques). - 500 programmes pour le mode numérique (IDTV).
- Menu de paramétrage OSD.
- Prises Péritel pour périphériques externes (teils que video,iaux video,appareil audio,etc.).
- Système de son stéreo.
- Télétexte, Fastext, TOP text.
- Prise casque.
- Système d'auto programmation.
- Réglage manuel vers l'avant ou vers l'arrière.
- Minuteur de mise en veille.
- Verrouillage parental.
- Coupure automatique du son en cas d'absence de transmission.
- Lecture NTSC.
- Ajustement automatique du volume AVL.
- Lorsqu'aucun signal valide n'est détecté, le téléviseur passae automatiquement en mode veille après 5 minutes.
- PLL (Recherche de fréquence).
- Entrée PC.
Plug&Play (branchement et utilisation instantanee) pour Windows 98, ME, 2000, XP, Vista.
Mode jeu (en option).
Introduction
Merci d'avoir besoin ci cet apparéil. Ce manuel vous guidera pour une utilisation appropriée de votre téléviseur. Avant d'utiliser le téléviseur, lisez ce manuel minutieusement.
Veuillez conserver ce manuel dans un endroit sur pour future refERENCE.

Preparation
Pour la ventilation, laissez un espace d'au moins 10 cm au front du poste. Pour éviter toute panne ou situation périereuse, ne placez aucun objet sur le haut du poste.
Utilisez cet apparéil sous des climats modérés.

Précautions de sécurité
Lisez attentivement les consignes de sécurité recommendées suivantes pour votre protection.
Source d'alimentation
Ce téléviseur ne doit fonctionner qu'a partir d'une prise de courant 220-240 V AC, 50Hz . Assurez-vous de selectionner la tension correcte pour votre convenance.
Cordon d'alimentation
Ne placez pas l'appareil, ou une piece de mobilier, etc. sur le cordon d'alimentation (alimentation secteur); évitez tout pincement du cordon. Tenez le cordon d'alimentation par sa fiche. Ne débranchez pas l'appareil en tirant sur le cordon d'alimentation et ne touche jamais au cordon d'alimentation avec des mains mouillées car ceci pourrait causeur un court-circuit ou une décharge électrique. Ne nousz jamais le cordon ni ne l'attachez à d'autres cordons. Les cordons d'alimentation doivent être placés de façon à ne pas risquer d'être piétinés. Un cordon de raccordement endommagé peut causeur un incendie ou vous inflige une décharge électrique. Lorsque endommagé le cordon doit être remplace, ceci doit être effectué par un personnel qualifié.

Humidité et eau
N'utilisez pas cet appeareil dans un endroit humide et moite (evitez la salle de bain, l'évier de la cuisine, et à proximité de la machine à laver). N'exposez pas cet équipement à la pluie ou à l'eau, ceci pouvant s'avérer dangereux, et ne place aucun objet empli de liquide, comme un vase par exemple, au dessus. Ne pas exposer à des suintements ou à des écla

Si un objet solide ou un liquide tombe à l'intérieur du poste, débranchez-le et faites-le vérifier par un personnel qualifié avant de continuer à l'utiliser.
Nettoyage
Avant de nettoyer, débranchez le poste TV de la prise murale. N'utilise pas de nettoyant liquide ou aérosol. Utilisez un chiffon doux et sec.

Ventilation
Les fentes et les orifices du poste TV sont prévus pour la ventilation et pour assurer un fonctionnement friable. Pour éviter la surchauffe, ces orifices ne doivent pas être obstrués ni couverts de chaque façon.
Chaleur et flames
L'appareil ne doit pas etre place a cote de flammes nues ou de sources de chaleur, comme un radiateur. Assurez-vous qu'aucune source de flamme vivoe, telle que des bougies allumées, ne soit placée sur le poste TV. Les piles ne doivent pas etre exposée à une chaleur excessive t rayonnement solaire ou similaire.

Foudre
En cas d'orage et de foudre ou lorsque vous partez en vacances, débranchez le cordon d'alimentation de la prise murale.

Pèces de rechange
Lorsque des pièces de rechange sont requises, assurez-vous que le technicien de maintenance utilise les pièces de rechange qui sont préconisées par le fabricant ou ayant les mêmes caractéristiques techniques que les pièces originales. Des substitutions non autorisées peuvent causeur un incendie, une décharge électrique ou d'autres risques.
Maintenance
Veuillez confier toute la maintenance à du personnel qualifié. Ne retirez pas le couvercle vous-même car ceci peut résultat en une décharge électrique.

Mise au rebut
Instructions pour la mise au rebut :
- L'emballage et les éléments d'emballage sont recyclables et doivent être essentiellement recyclées. Les matériaux d'emballage, tels que le sac en feuille d'aluminium, doit être tenus hors de portée des enfants.
- Les piles, même celles ne contenant pas de métal lourd, ne doivent pas être jetées avec les déchets menagers. Veuillez éliminer les piles usagées de manière écologique. Consultez la réglementation applicable dans votre région.
- La lampe fluorescente à cathode froide de l'ÉCRAN LCD contient une petite quantité de mercury. Veuillez suivre les lois ou réglementations locales pour la mise au rebut.
Information à destination des utilisateurs des pays de l'union européen
Ce symbole sur l'appareil ou sur son emballage indique que votre appareil électrique ou électronique doit être jeté à la fin de sa durée de vie séparément de vos déchets menagers. Il existe des systèmes de collecte séparés pour le recyclage dans l'UE.

Pour plus d'information, veuillez contacter les autorités locales ou le distributeur chez qui vous avez acheté l'article.
Débranchement de l'appareil
La prise d'alimentation est utilisé pour débrancher le poste TV de l'alimentation secteur et doit donc rester facilement opérable.
Volume du casque d'écoute
Une pression sonore excessive provenant des écouteurs et du casque d'écoute peut provoquer une perte auditive.

Installation
Pour prévenir toute blessure, cet apparéil doit être solidement fixé au mur conformément aux instructions d'installation lors d'un montage mural (si l'options est disponible).
Ecran LCD
L'écran LCD est un produit de très haute technologie avec un film fin d'environ un million de transistors, vous offrant des détails d'image raffinés. Occasionnellement, quelques pixels non actifs peuvent apparaître à l'écran comme un point fixe bleu, vert ou rouge. Veuillez notes que ceci n'affecte pas les performances de votre apparéil.
Avertissement
Ne laissez pas votre téléviseur en veille ou en fonctionnement lorsque vous quittez votre domicile.

Français - 4 -
Aperçu général de la télécommandeVeille
- Veille
- Jaune (Menu Fonction) / Langue en cours (en mode DTV) (*)
- Bleu (menu d'installation)
- Programme précédent
- Curseur vers le haut
- Curseur vers la droite
- Curseur vers le bas
- TV / TV numérique (Digital TV)
- Mono/Sté reproduction - Dual I-II
- Programme précédent - Page suivante (en mode DTV) / Programme suivant / Page précédent (en mode DTV)
- Touches numériques
- Quitter (en mode DTV)/ Exit (en DTV mode)
- Gardner (en mode texte - Hold)
- Actualiser (en mode TXT) / Aucune fonction (Update (in TXT mode) / No function)
- Page d'index / Guide (en mode DTV)
- Révélé (en mode texte) / Basculer de TV à PC
- Vert (Menu Image)
- Rouge (Menu Son)
- Menu
- OK / Select
- Touche curseur vers la gauche
- Source / AV
- Info
- Volume haut/bas
- Muet
- Mode de sélection d'image
- Heure / Sous-titrage activé-désactivé (en mode DTV) (^**)
- Mode Téletexte PAT
- Mélanger (en mode TXT) / Aucune fonction (Mix (in TXT mode) / No function)
- Agrandir (en mode texte) / Taille de l'image
(*) Disponible uniquement pour les options des pays de l'UE.
(**) Disponible uniquement pour les options des pays du RU.

Remarque: Les touches non indiquées avec un numéro dans l'illustration de la télécommande ne sont pas fonctionnelles en mode TV.
Prévoir un espace d'environ 14 m.
TV LCD et boutons de commande
| VUE AVANT et ARRÊIRE | VUE LATERALE | Boutons de contrôle |
| 1. Bouton Haut 2. Bouton Bas 3. Bouton Programme/Volume / Sélection AV 4. Bouton de mise en veille Remarque:vous pourrait utiliser les touches "+" pour hausser ou baisser le volume. Pour changer de chaîne, appuyez une fois sur la touche P/V/AV, puis utilisez les touches +/-". Si vous maintainez la touche P/AV enforcée pendant quelques secondes, le menu source restera affchéé à l'écran. Impossible d'afficher le menu principal à l'écran à l'aide des boutons de commande. |
Affichage des branchements – connecteurs arrêté
- Entrées ou sorties de prise PÉRITEL pour périphériques externes. Connecter le cable Péritel entre la prise Péritel de la TV et la prise Péritel de votre apparéil externe ( comme un décodeur, un magnétoscope ou un lecteur DVD).
Remarque: Si un dispositif externe est branché à l'aide d'une prise PERITEL, le téléviser passera automatiquement au mode AV. - L'entrée PC sert à connecter un ordinateur personnel au poste TV. Branchez le cable de PC entre l'ENTRÉE PC sur la TV et la sortie PC sur votre ordinateur. Les entrées video en composantes (YPbPr) sont utilisées pour connecter une réserve en composantes. Vous pouvez utiliser une entrée PC pour connecter YPbPr à un apparéil doté d'une sortie du composant. Connectez le cable YPbPr sur celui du PC entre l'ENTREE PC du téléviseur et les sorties video composite de votre apparéil.
- HDMI: Entrées HDMI
Les entrées HDMI seront à brancher un périphérique doté d'une prise HDMI.
Votre telsviseur LCD peut afficher des images haute definiion a partir de peripheriques tels qu'un recepteur de satellite haute definiion ou un lecteur de DVD. Ces peripheriques doivent etre connectes via les prises HDMI ou les prises en composantes. Ces prises peuvent accepter n'importe quels signaux 480i, 480p, 576p, 576i, 720p, 1080i, ou 1080p. Aucun branchement audio n'est necessaire pour une connexion HDMI à HDMI.
- L'entrée RF se branche à une antennée ou à un cable.
Remarquez que si vous utilisez un décembre ou un enregistreur media, vous devez brancher un cable aérien qui va de l'appareil au téléviseur, avec un cable d'antenne approprié, tel qu'illustré ci-dessous.
Lorsque you utilisez le kit (en option) de montage mural fourni avec le téléviseur LCD, nous you recommenderons formellement de brancher tous vos cables à l'arrête du LCD avant tout montage mural.


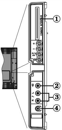
Affichage des branchements - Prises latérales
- La fente Cl sert à insérer une carte Cl. Une carte Cl vous permet de regarder toutes les chaînes auxquelles vous étes abonné(e). Pour plus d'informations, référez-vous à la section « Accès conditionnel »
- L'entrée video est utilisé pour connecter les signaux video des péripériques externes. Branchez le cable video entre l'ENTREE S-VIDEO du téléviseur et la SORTIE S-Video de votre apparéil.
- Les entrées audio servent à brancher les signaux audio de périphériques externes. Branchez le cable audio entre les ENTRÉES AUDIO du téléviseur et les ports de SORTIE AUDIO de votre apparéil. Pour activer également la connexion sonore PC/YPbPr en pareille situation, utilisez un cable audio approprié entre les sorties audio de l' apparéil et les entrées audio du téléviseur Remarque: Si vous branchez un périphérique au téléviseur via l'ENTRÉE VIDÉO ou le cable PC/YPbPr, vous nevez également brancher votre périphérique à l'aide d'un cable audio aux ENTRÉES AUDIO du téléviseur pour activer le son.
- La prise jack du casque s'utilise pour brancher au système un casque externe. Raccordez à la prise jack du CASQUE pour écouter la TV à partir du casque.

Alimentation électrique
IMPORTANT: Le télévisuer a ete concu uniquement pour fonctionner en 220-240V AC, 50 Hz.
- Àprous avoir déballé la TV, laissez la atteindre la température ambiente avant de la brancher à la prise de courant.
- Branchez le cable d'alimentation à la prise secteur.

Branchement de l'antenne
- Branchez l'antenne ou le cable du téléviseur à la prise d'ENTRÉE DE L'ANTENNE située à l'arrière du téléviseur.

Français - 7 -
Connexion du téléviseur LCD à un PC
Afin d'afficher l' image de l'écran de votre ordinateur sur votre télévisuer LCD, vous pouvez connecter votre ordinateur au poste de télévision.
- Débranche l'ordinateur et le téléviseur avant de faire les branchements.
- Utilisez un cable D-sub 15 broches pour connecter un PC à un téléviseur LCD. Pour ce faire, utilisez un cable audio branché entre les entrées audio du téléviseur (sur le côte) et la sortie audio de votre PC pour activer la connexion audio.
- Une fois le branchement effectué, passsez à la source du PC. Voir la section « Sélection d'entrée »
- Reglez la résolution qui correspond à vos besoin d'affichage. Pour les informations relatives à la résolution, se reporter à l'annexe.


Connexion à un lecteur de DVD
Si vous foulez brancher un lecteur de DVD à votre télévisuer LCD, vous pouvez utiliser les branchements qui se trouvent sur le télévisuer. Les lecteurs de DVD peuvent disposier de différentes prises. Veuillez consulter le manuel d'utilisation de votre lecteur de DVD pour plus d'informations. Débranchez le télévisuer et l'appareil avant d'effectuer les branchements.
Remarque: Les câbles presentés dans l'illustration ne sont pas fournis.
- Si vous lecteur de DVD est doté d'une prise HDMI, vous pouvez le brancher via HDMI. Lorsque vous connectez au lecteur DVD ainsi qu'illustré cédssous, passsez en source HDMI. Voir la section « Sélection d'entrée »
- La plupart des lecteurs de DVD sont branchés via des PRISES EN COMPOSANTES. Vous pouze recourir au mode YPbPr uniquement lorsque vous raccordez un apparéil doté d'une sortie YPbPr à travers l'entrée PC avec le cable YPbPr pour PC. Pour activer le signal sonore, utilisez l'entrée AUDIO IN qui se trouve sur le côté du téléviseur.
. Une fois le branchement effectué, passsez en source YPbPr . Voir la section « Sélection d'entrée » - Vous pouvez également brancher à travers le PERITEL. Utilisez un cable PÉRITEL comme représenté dans l'illustration.

Remarque: Ces procédés de branchement réalisant la même fonction mais à des niveaux de qualité différents. Il n'est pas nécessaire d'effectuer la connexion par toutes les trois méthodes.
Utilisation des prises AV latérales
Voussouspoucezbrancherune gamme d'equipement optionnelaovetvLCD.Les racordements possibles sontpresentedesci-dessous:Notez que lescablespresentedsansl'illustrationne sontpas fournis.
- Pour raccorder un caméoscope, branchez à la prise ENTRÉE VIDEO et aux PRISES AUDIO. Pour sélectionner la source correspondante, se reporter à la section « Sélection d'entrée » dans les paragraphs suivants.
- Pour écouter le son du téléviseur en provenance des casques, branchez le port dudit CASQUE au téléviseur

Connexion d'un autre équipement via Péritel
La plupart des péripériques supporte la connexion PÉRITEL. Vous avrez la possibilité de brancher ungraveur de DVD, un magnétoscope ou un décodeur à votre TV LCD par l'utilisation de la prise PÉRITEL. Notez que les câbles presentés dans l'illustration ne sont pas fournis. Eteignez le téléviseur et les péripériques avant d'effectuer tout branchement.
Pour plus d'informations, reportez-vous au manuel d'utilisation de votre périhérique.

Insertion des piles dans la télécommande
- Retirez le couvercle du compartment des piles situé au dos de la télécommande en poussant doucement vers l'arrête à partir de la partie indiquée.
- Insérer à l'intérieur deux piles de type AAA/R3 ou équivalent. Disposez les piles en respectant la bonne polarité et placez de nouveau le couvercle des piles.

Remarque: Retireez les piles de la télécommande lorsqu'elle n'est pas utilisé durant une longue période. Sinon uneuite possible des piles peut endomager la télécommande.
Allumer/teéindre le téléviseur
Pour allumer le téléviseur
- Branchez le cordon d'alimentation à une prise de courant alternatif 220-240V AC 50 Hz.
- Pour allumer le téléviseur à partir du mode veille, vous pouvez soit:
- Appuyez sur la touche "O", P/CH+/P/CH- ou une touche numérique de la télécommande.
- Appuyez sur la touche "O" ou -P/CH / P/CH+ du téléviseur.
La TV s'allumera ensuite.
Remarque: Si vous allumez votre TV via les boutons PROGRAMME HAUT/BAS sur la télécommande ou sur le poste TV, le dernier programme que vous regardiez sera re-sélectionné.
Quelle que soit la méthode, la TV s'allumera.
Pour éteindre le téléviseur
- Appuyez sur la touche "O" de la télécommande ou sur la touche MODE DE VEILLE du téléviseur ; ainsi, le téléviseur basculera en mode de veille.
- Pour êtreindre complètement le téléviseur, débranchez le cordon d'alimentation de la prise murale.
Remarque: Lorsque le téléviseur est en mode de veille, le voyant lumineux du mode veille clignote pour signifier que des options comme Recherche en mode veille, téléchargement automatique ou Minuterie sont actives.
Sélection d'entrée
Une fois les équipements externes connectés à votre TV, vous pouvez commuter entre différentes sources d'entrée.
- Appuyez sur la touche “ ” de la télécommande pour changer les sources en direct.
ou
- Sélectionnez l'option "Source" à partir du menu principal en utilisant le bouton "▲" ou "▶". Puis, utilisez les touches "▼" ou "▲" pourmettre une entree en surbrillance et appuyez sur la touche "▶" pour la sélectionner.
Remarque: Vous pouvez marquer les options de source désirées en pressant le bouton OK. Quand le bouton "AV" est pressé, seules les options de la source sélectionnées seront disponibles (en dehors de la source TV).

Remarque: Vous pouvez recourir au mode YPbPr uniquement lorsque vous raccordez un apparéil doté d'une sortie YPbPr à travers l'entrée PC avec le cable YPbPr pour PC.
Opérations de Base
Vous pouvez commander votre TV en utilisant indifféremment les boutons de la télécommande ou du téléviseur.
Fonctionnement avec les boutons sur la TV
Impossible d'afficher le menu principal à l'écran à l'aide des boutons de commande. Les touches "+" serviront par défaut à augmenter / diminuer le volume. même si vous attribuEZ d'autres fonctions à ces boutons, les touches "+" fonctionneront par défaut après quelques instants.
Réglage du volume
- Appuyez une fois sur la touche "P/N/AV". Ensuite, servez-vous des touches "+" pour hausser ou baisser le volume. En procédant ainsi, une échelle du niveau de volume (curseur) s'affichera à l'écran.
Sélection de programme
- Pressez le bouton "+" pour selectionner le programme suivant ou precedent.
Mode AV
- Maintenez la touche "P/V/AV" pour faire afficher le menu source.
Fonctionnement avec la télécommande
- La télécommande de votre téléviseur est conçue pour contrôler toutes les fonctions du modele sélectionné. Les fonctions seront décrites conformément au système de menu de votre TV.
- Les fonctions du système de menu sont décrites dans les sections suivantes.
Réglage du volume
- Appuyez sur le bouton "V+ pour augmenter le volume. Appuyez sur la touche "V-" pour diminuer le volume. Une échelle de niveau volumétrique (barre de défilament) s'affichera à l'écran.
Sélection de programme (programme précédent ou suivant)
- Pressez le bouton "P-" pour selectionner le programme précédent.
- Pressez le bouton "P+ pour selectionner le programme suivant.
Sélection de programme (accès direct)
- Presse les boutons numériques sur la télécommande pour sélectionner les programmes compris entre 0 et 9. Le téléviseur passera au programme sélectionné. Pour sélectionner des programmes entre 10 et 500 (pour l'IDTV) ou entre 10 et 199 (pour la télévision analogue), appuyez consécutivement sur les touches numériques.
- Appuyez directement sur le nombre de programme pour sélectionner à nouveau les programmes à un chiffre.
Réglages initiaux
Lorsque le télévisueur est mis en marche pour la première fois, le menu de selection de langue apparaît à l'écran. Le message "Bienvenue, sélectionnez votre langue!" apparaît dans toutes les langues sur le menu de l'écran.
Selectionnez la langue de votreCHOIS avec les touches "V"ou ",puis appuyez sur la touche OK".Ensuite, le menu "Premiere installation"s'affiche a I'ecran.En appuyant sur les boutons ou ,selectionnez le pays que vous foulez et appuyez sur le bouton OK. (* Pour les pays de I'UE).

Remarque: L'OSD Sélection du pays (Country selection) ne sera pas disponible pour le RU.
Pressez le bouton OK sur la télécommande pour continuer et le message suivant s'affichera à l'écran:
Français - 10 -


- Pour sélectionner l'option "Oui" ou "Non", placez l'élement en surbrillation en utilisant les boutons "←" ou "→", puis presssez le bouton "OK".
L'IDTV passera automatiquement des chaînes de transmission UHF ou VHF (* options réservées aux pays de l'Europe continentale) en recherchant les transmissions numériques terrestres et en affichtant les noms des chaînes trouvées. Ce processus prendra quelques minutes.

Une fois la recherche automatique terminée, le message suivant proposant une recherche de chaînes analogiques apparait à l'écran:

Pour rechercher des chaînes analogiques, Sélectionnez "Oui". Le téléviseur bascule en mode TV analogue. Le menu apparaitra pour effectuer la recherche des chaînes analogiques.
Sélectionnez vous Sélectionnez chez Pays, Langue et Langue de texte en utilisant les boutons «« ou «» et «▼» ou «▲». Pressez le bouton OK ou ROUGE pour continuer. Pour annuler, pressez le bouton BLEU.
Pour plus d'informations sur ce processus, consultez la section "Menu d'installation".
Remarque: Pour un bon fonctionnement du télétexte numérique en modeDTV, vous doivent scélectionner UK comme pays en PROGRAMMATION AUTOMATIQUE analogique (pour les diffusions du RU uniquement).
Évitez d'éteindre le téléviseur lors de l'initialisation de la première installation.
Fonctionnement général
Appuyez sur la touche "AV" de la télécommande et seLECTIONnez DTV/USB pour faire basculer le téléviseur en mode de diffusion numérique terrestre.
Bandeau d'information
- Chaque fois que vous changez de chaîne en utilisant le bouton P-/P+ ou les boutons numériques, la TV affiche l'image de l'émission en même temps qu'un bandeau d'information en bas de l'écran (disponible uniquement en mode DTV). Ce message restera quelques secondes sur l'écran.
- Le bandeau d'information peut aussi être affché à tout moment tout en regardant la TV en pressant le bouton "INFO" sur la télécommande:

Si la chaîne sélectionnée est verrouillée, vous doivent saisir le bon mot de passer numérique à 4 chiffres pour voir la chaîne. "Saisissez le code PIN" s'affiché à l'écran dans ce cas:

Guide de programme électronique EPG
- Certaines chaînes, mais pas toutes, adressent des informations sur l'émission en cours et l'émission suivante. Appuyez sur le bouton GUIDE pour acceder au menu EPG. L'EPG apparait à l'écran. Ce guide permet d'obtenir des informations relatives à la châne, notamment des programmes hebdomadaires au moyen de l'EPG HEBDOMADAIRE. Tous les programmes s'affichent. Au bas de l'écran s'affichera une barre d'information indiquant toutes les commandes disponibles.

Bouton ROUGE (rétrécir): Réduit la taille des pavés d'information.
Bouton VERT (Agrandir): Augmente la taille des pavés d'information.
Bouton JAUNE (Jour. Pré.): affiche les programmes du jour précédent.
Bouton BLEU (jour suivant): affiche les programmes du jour suivant.
INFO (Details): affiche les programmes dans les moindres détails.
Français - 11 -
Boutons numériques (Sauter): aller directement à la chaîne préféérée via des boutons numériques.
OK: Affichage de diffusions en cours/rappel de programmes à partir.
ÉCHANGE : saute sur la diffusion en cours.
- Appuyez sur la touche "0" de la télécommande pour afficher le menu Recherche du guide. Vous pouvez, à l'aide de cette fonctionnalité, rechercher la base de données du guide de programme selon le genre sélectionné ou le nom correspondant.
Affichage des sous-titres
Avec la diffusion numérique terrestre (TNT), certains programmes sont en train d'être diffusés avec des sous-titres.
Pressez le bouton "M" pour afficher le menu principal, selectionnez la ligne Configuration puis Langues en utilisant le bouton "▼" ou "▲" et pressez le bouton OK pour afficher le menu des « Paramétres de langue »
Selectionnez « Sous-titre » dans le menu « Paramétres de langue » et utilisez le bouton « ou « pour régler le sous-titrage sur la langue voulue.
Si l'option « Sous-titre » est activée et une option de langueue réglée, le fait d'appuyer sur la touche “©” amène l'écran à afficher le message d'advertissement suivant (* pour le RU uniquement):

Télétexte numérique (\*\*seulument pour le Royaume-Uni)
Appuyez sur le bouton "
- Les informations de télétexte numérique apparaissent.
- Utilisez les touches colorées, les touches du curseur et la touche OK.
La méthode de fonctionnement peut différer selon le contenu télétexte numérique.
Suivez les instructions affichées sur l'écran télétexte numérique.
- Quand la touche "SELECT" (Appuyez sur seLECTIONner) ou un message similaire apparait, appuyez sur le bouton OK.
- Quand le bouton "O" est pressé, la TV revient à la diffusion télévisée.
-
Avec la diffusion numérique terrestre (TNT), en plus de la diffusion télétexte numérique ainsi que de la diffusion normale, il existe également des chaînes avec seulement de la diffusion télétexte numérique.
-
Le format de l'image (la forme de l'image) en regardant une chaîne avec juste une diffusion télétexte numérique est le même que le format de l'image visualisée précédement.
Lorsque you pressez à nouveau le bouton "é", l'écran télétexte numérique s'affichera.
Télétexte Analogue
L'utilisation du télétexte et de ses fonctions est identique au système de télétexte analogique. Veuillez vous reporter aux explications relatives au « TELETEXTE »
Grand écran
Selon le type de l'émission retransmise, les programmes peuvent être regardés dans nombre de formats. Appuyez sans interruption sur la touche "WIDE" pour modifier le format de l'écran.
Lorsque l'option Auto est selectionnée, le format affiché est déterminé par l'image diffusée.
VEUILLE NOTER: Laaille du menu varie selon la taille de l'image可以选择.
Attention!
L'audio de type AC3 n'est pas pris en charge. Dans ce cas, le son en provenance du téléviseur sera coupé. Si la diffusion intègre le flux AC3, le message d'advertissement ci-après s'affichera à l'écran:

Si la diffusion intègre le flux AC3, le message d'advertissement ci-après s'affichera à l'écran.:

Système de menu IDTV
Appuyez sur le bouton "M". Le menu principal s'affichera.

Listedeschains
En utilisant le bouton "▼" ou "▲" de la télécommande, assurez-vous que la première rubrique,liste des chaînes, est en surbrillance, puis pressez le bouton "OK" pour afficher la liste des chaînes.

Naviguer dans la liste entiere des chaînes
Appuyez sur le bouton "▼" ou "▲" pour sélectionner la chaîne précédente ou suivante. Vous pouvez appuyer sur le bouton "ROUGE" ou "VERT" pour vous déplacer vers le haut ou le bas de la page.
Pour regarder une chaîne particulière, Sélectionnez-la à l'aide des touches “▼” ou “▲”, puis appuyez sur la touche “OK” button, et Sélectionnez la rubrique “ Sélectionner” (OK) dans le menu Nombre des chaînes à l'aide des touches “▲” ou “▲”.
Les nom et numéro de la chaine sélectionnée s'afficheront alors respectivement dans les coins supérieurs gauche et droit de l'affichage de la chaine en haut à droite de l'écran.
Déplacer les chaînes dans la liste des chaînes
- Appuyez sur les touches "▼" ou "▲" pour sélectionner la chaîne à déplacer.
- Appuyez sur les touches "« ou «" pour sélectionner la rubrique "Déplacer" dans le menu Tableau des programmes.
L'OSD ci-après s'affichera tout pres de la touche "OK" pour vous demander de saisir un numéro en utilisant les touches numériques de la télécommande et d'appuyer sur "OK" pour confirmer.

Remarque: Si vous saississez le même numéro de chaîne que vous voulez déplacer, "...les services de chaîne seront déplacés." "Voulez vous continuer?" Le menu écran s'affichera. Appuyez sur OK pour confirmer ou sélectionnez « Non » pour annuler.
Supprimer les chaînes dans la liste des chaînes
-
Appuyez sur la touche "▼" ou "▲" pour sélectionner la chaîne à supprimer.
-
Appuyez sur la touche “<” ou “>” pour sélectionner l'élement « Supprimer » dans le menu Tableau des programmes.
- Appuyez sur "OK" pour supprimer la chaîne en surbrillance du tableau des programmes. Le message ci-dessous apparaît à l'écran:

- Appuyez sur les touches “<” ou “>” pour sélectionner l'option désirée. Si le bouton “OK” est pressé tandis que “Oui” est sélectionné, la châne en surbrillance est supprimée. Sélectionner “Non” annule la suppression.
Renommer des chaînes
Pour renomer une chaîne précise, celle-ci doit être mise en surbrillance en appuyant sur les touches “▼” ou “▲”. Ensuite, mettez en surbrillance l'élement Modifier le nom en appuyant sur les touches “▲” ou “▼” tel qu'illustré ci-dessous. Pressez le bouton “OK” pour activer la fonction de changement de nom.

En appuyant sur "«" ou "»" vous passez au caractère précédent ou suivant. En appuyant sur les touches "▼" ou "▲", vous changez le caractère en surbrillance : par exemple, le « b » devient un « a » "▼" ou un « c » "▲". En appuyant sur les touches numériques de 0 à 9, vous remplacez le caractère en surbrillance par les caractères marqués au-dessus du bouton; ils défilent un par un quand vous appuyez sur le bouton.
Pressez le bouton "M" pour annuler l'edition ou le bouton "OK" pour sauvegarder le nouveau nom.
Ajouter des verrous à des chaînes
Le verrouillage de chaîne apporte un accès protégé par mot de passer aux chaînes sélectionnées par des parents. Pour verrouiller une chaîne vous devez connaître le mot de passer de contrôle parental (il est
réglé sur 0000 en configuration d'usine et ne peut être modifié que dans le menu de Configuration).
Selectionnez la chaîne à verrouiller en la mettant en surbrillance et selectionnez l'option de Verrouillage en appuyant sur le bouton “ ou ”. Lorsque le bouton “OK” est appuyé, une boîte de dialogue s'affiche à l'écran, et vous invite à saisir votre mot de passer.

Saisissez le mot de passer à l'aide des touches numériques de la télécommande. L'icone de verrouillage "0" s'affiche maintainant à côté de la chaîne sélectionnée. Repétez la même opération pour annuler le verrouillage.
Réglage des chaînes favorites
Pour définit une châîne favorite, placez en surbrillance la rubrique « Favorites » en bas du menu de la liste des châînes. Ensuite, appuyez sur le bouton “OK”, et le menu Modifier préférentes apparait à l'écran.

Comment ajouter une chaine à une liste favorite
- Appuyez sur les touches "▼" ou "▲" pour sélectionner la chaîne à ajouter dans la liste des préférentes.
- Par pression du bouton "OK", la chaîne en surbrillance est ajoutée à la liste favorite.
- L'icone F indique qu'une chaîne est ajoutée à la liste favorite.
Suppression d'une chaine d'une liste favorite
- Placez en surbrillance la chaîne que vous pouze enlever de la liste favorites et pressez le bouton OK pour supprimer. Vous pouze presser le bouton "OK" à nouveau pour ré-ajouter la chaîne.
- Pour activer les Favoris, allez dans le menu Configuration et selectionné le mode favori Utilisez l'option “ ”/“ ” pour activer le mode Favori. Pour
annuler les favors, réglez le mode Favoris sur Désactivé.
Aide à l'écran
Pour tous les menus, pressez le bouton INFO pour afficher des informations d'aide à propos des fonctions du menu.

Guide des programmes
Cette section est similaire aux instructions données dans la page des Opérations générales. Veuillez consulter la section sur le Guide électronique des programmes (EPG) dans la partie Opérations générales.
Minuteurs

Pour afficher la fenêtre des minuteries, activez l'élement à partir du menu principal. Pour ajouter un minuteur, pressez le bouton JAUNE sur la télécommande. La fenêtre « Ajouter un minuteur » s'affiche alors.
Chaine: Les touches "«" ou "»" permettront à l'utilisateur de naviguer dans le tableau des programmes TV ou radio.
Date: La date de début est saisie via les boutons gauche/droite ou via les boutons numériques.
Demarrage: L'heure de demarrage est saisie via les boutons gauche/droite ou via les boutons numériques.
Fin: L'heure de fin est saisie via les boutons gauche/ droite ou via les boutons numériques.
Modifier / Supprimer: autorise ou interdirit toute modification pour d'autres utilisateurs.
Durée: Durée entre l'heure de début et l'heure de fin.
Répétition: Vous pouvez régler une minuterie suivant les options ci-après : Une fois, Quotidien, ou Hebdomadaire.
Vous pouvez sauevager les reglages en pressant le bouton VERT ou annuler le processus en pressant le
bouton ROUGE. Vous pouvez modifier la liste avec le bouton VERT et supprimer avec le bouton ROUGE.
Accès conditionnel
- Appuyez sur la touche "M" pour afficher le menu principal, puis utilisez la touche "▼" ou "▲" pour selectionner la ligne "Accès conditionnel", et appuyez sur "OK":
Acces Conditionnel
Certaines chaînes terrestres numériques fonctionnent à la carte. Ces chaînes nécessitent un abonnement ainsi qu'un décodeur.
Vous obtiennent le module d'accès conditionnel CAM et la carte de visualisation en vous abonnant à une société de chaîne payante, puis insérez ces derniers dans la TV en utilisant la procédure suivante.
- Eteignez la TV et débranchez la prise de courant.
- Le CAM doit être correctement inséré; il est impossible de l'insérer entièrement s'il est inversé. Vous pouvez endommager le module CAM ou le terminal TV si le module CAM est inséré de force.
- Branchez le téléviseur à la prise de courant, allumez et attendez quelques instants jusqu'à ce que la carte soit activée.
- Certains modules CAM peuvent nécessiter le réglage suivant. Réglez le CAM en entrant dans le menu DTV, Sélectionnez Accès conditionnel et appuyez sur "OK". (Le menu d'installation du module CAM ne s'affiche que lorsqu'il est requis.)
- Pour afficher les informations du contrat d'abonnement : Ouvrez le menu IDTV, appuyez sur la touche "M", sclectionnez Accès conditionnel, puis appuyez sur "OK".
- Lorsque aucun module n'est inséré, le message « Aucun module d'accès conditionnel détecté » apparait à l'écran.
- Consultez le manuel d'instruction du module pour le détail des réglages.
Remarque: Insérez ou effacez le module Cl uniquement lorsque le téléviseur est en mode de voir ou lorsqu'il est eteint.
Réglage TV
Vous pouvez utiliser cette option pour afficher les fonctions TV.
L'écran du menu de réglage TV numérique est accessible à partir du menu principal. Pressez le bouton "M" pour afficher le menu principal et utilisez le bouton "▼" ou "▲" pour placer en surbrillance « Installation TV », pressez ensuite le bouton "OK" pour afficher l'écran du menu « Réglage TV »
Réglage du téléviseur
Voussouspouceztrouverdesinformationsdétailléessuntousles élémentsde menu dans la section «Systèmede menu TV analogue »
Réglage
Les ajustements duprésent menu seprésentent ainsi qu'il suit:

Configuration
Vous pouvez configurer les paramètres de votre TV. Sélectionnez Configuration à partir du menu Configuration et pressez "OK" pour afficher ce menu. Pressez le bouton "QUITTER" sur la télécommande pour sortir.

Faible son (* pour les pays de l'UE uniquement)
Utilisez le bouton “▼” ou “▲” pour sélectionner Malentendant et pressez ensuite le bouton “←” ou “▶” pour activer ou désactiver ce paramètre.
Si le diffuseur active unquelconque signal particulier concernant le son, vous pouvez activer ce parametre afin de recevoir de tels signaux.
Mode favorsi
Utilisez cette fonction pour activer ou désactiver le mode favori. Appuyez sur le bouton " " " pour activer ou désactiver cette fonction.
Listedeschaines
Utilisez les boutons "▼" ou "▲" pour vous rendre à l'options Tableau des programmes (Channel List). Utilisez le bouton "←" ou "▶" pour basculer en mode de liste de chaînes. Si vous Sélectionnez « TV uniquement », à l'aide du bouton "←" ou "▶", vous aurez à désir unquèment parmi les chaînes TV disponibles. Si vous Sélectionnez « Radio uniquement », à l'aide du bouton "←" ou "▶", vous aurez à désir unquèment parmi les chaînes radio disponibles. Si vous Sélectionnez « Texte uniquement», à l'aide du bouton "←" ou "▶", vous aurez à désir unquèment parmi les chaînes texte disponibles.
Balayage des chaînes cryptées
L'option de balayage des chaînes cryptées sera toujours ACTIVÉE après avoir effectué une première
Français - 15 -
installation. Lorsque ce paramètre est activé, le processus de recherche localisera également les chaînes cryptées. Si le réglage est paramétremanuellement sur DÉSACTIVÉ, les chaînes cryptées ne seront pas localisées en recherche automatique ou manuelle.
Utilisez le bouton "▼" ou "▲" pour sélectionner Chaine cryptée et pressez ensuite le bouton "←" ou "▶" pour activer ou désactiver ce paramètre.
Mise à niveau du récepteur
Téléchargement hertzien OAD
Cette option vous aide à conserver la mise à jour de votre téléviseur. Elle fonctionne automatiquement et recherche de nouvelles informations lorsque celles-ci sont disponibles. Veuillez remarquer que ce réglage est inactif pour être modifié. Veuillez vous assurer que le téléviseur est réglé sur Veille. Le téléviseur s'allume automatiquement tous les jours à 3h00 du matin, recherche de nouvelles informations qualconques pouvant être diffusées et les télécharge vers votre récepteur. Cette opération prendra approximativement 30 minutes.
Remarque: Voiture teléviseur peut commencer à fonctionner en mode Première installation après la mise à jour du téléchargement automatique.
Contrôle parental
Utilisez le bouton “▼” ou “▲” pour aller sur l'option de verrouillage parental. Pressez le bouton OK pour acceder au menu. Une boîte de dialogue réclamant le code de verrouillage est affichée. La clé est initialement réglée sur « 0000 ». Saisir le code PIN : Si celle-ci est incorrecte, un message OSD « Code PIN erroné » s'affiche à l'écran. Si cette dernière est correcte, le menu de Contrôle parental s'affiche:

Verrouillage parental (^*)
(*) Si vous reglez l'option de pays sur Royaume-Uni lors de la première installation, l'option de verrouillage parental ne sera pas visible. Cette option est disponible uniquement pour les pays de l'UE.
Après installation, cette option recherche l'information relative aux émissions parentales et si ce niveau parental a été inactivé, l'image et le son ne sont pas actifs.
Verrouillage du menu
Dans le verrouillage du menu vous pouvez paramétre le verrouillage de tous les menus ou du menu d'installation pour restreindre l'accès à ces menus. Si le verrouillage du menu est désactivié, l'accès au système de menu sera libre. Utilisez les boutons
"ou "▲" pour vous rendre à l'option Verrouillage du menu. Utilisez le bouton "«" ou "» pour désirer le mode de verrouillage du menu.
DÉSACTIVÉ: Tous les menus sont déverrouillés.
TOUS LES MENUS : Tous les menus sont accessibles seulement avec la clé correcte de verrouillage. Ainsi, l'utilisateur ne peut ajouter, supprimer, renomer ou régler les minuteries.
MENU INSTALLATION: Le menu d'installation est verrouillé, de sorte que l'utilisateur ne peut pas ajouter des chaînes. Les changements seront mis à jour après sortie du « menu de configuration »
Paramétrage du code PIN
Utilisez le bouton “ ” ou “ ” pour aller sur l'option “Paramétrage du code PIN”. Pressez “OK” pour afficher la fenêtre “Paramétrage du code PIN”. Servez-vous des touches numériques pour saïrir le nouveau code PIN qu'il vous faut ultérieurement pour ressaisir le nouveau code pour vérification. À sa sortie d'usine, l'appareil est configuré par défaut à 0000; assurez-vous de noter votre code et de le conserver à un endroit où vous pourrez facilement le retrouver lorsque vous en aurez besoin.

Réglages de l'heure (en option)
Dans le menu Configuration, Sélectionnez l'option « réglages de l'heure » en appuyant sur la touche “▲ ” ou “▼”.
Pressez "OK" et le sous-menu des Réglages horsaires sera
affiché à l'écran. L'heure, le fuseau horsaire, ainsi que ses paramètres, seront disponibles.
Utilisez le bouton “ ” ou “ ” pour sélectionner les paramètres du fuseau horsaire. Le Réglage du fuseau horsaire s'effectue à l'aide des touches “ ” ou “ ”. Il peut être paramétré sur AUTO ou MANUEL.
Lorsque AUTO est sélectionné, les options Heure et Fuseau horsere ne seront pas disponibles pour être régles. Si l'option MANUEL est sélectionnée comme paramètre de fuseau horsere, le fuseau horsere peut être modifié:
- En appuyant sur les boutons “ ” ou “ ”, Sélectionnez Fuseau horsé.
Utilisez les boutons "«" ou "» pour changer le fuseau horsaire entre GMT-12 ou GMT+12. L'Heure Actuelle située en haut de la liste de menu changera selon la zone d'heure sélectionnée.
Description Audio (En option)
La description audio renvoie à une piste de narration supplémentaire réservée aux déficients visuels
Français - 16 -
et malentendants. Le narrateur de la description accompagne la presentation, dérivant ainsi que qui se passé à l'écran pendant les pauses naturelles (et parfois pendant les dialogues, s'il le juge nécessaire). Vous ne pouvez utiliser cette option que si le diffuseur la prend en charge. Appuyez sur la touche “ ” ou “ ” pour sélectionner un élément. Utilisez ensuite les boutons “ ” ou “ ” pour régler.

Description Audio (En option)
Cette fonction permet d'activer ou de désactiver l'options Description audio en appuyant sur les touches «« ou «»
Langue préféérée (En option)
En appuyant sur les touches "« ou «", vous modifie la langue préféree de la description audio.
Cette option ne peut etre utiliser que si elle est disponible.
Volume relativ (En option)
Vous pouvez utiliser cette option pour hausser ou réduire le niveau de volume de la description audio, selon les possibilités que vous offre l'option du volume.
Recherche en mode de veille (*)
(*) Ce réglage est visible uniquement lorsque l'option de pays est réglée sur Danemark, Suède, Norvège ou Finlande.
Utilisez le bouton "▼" ou "▲" pour selectionner l'option Recherche en mode de veille et pressez ensuite le bouton "▲" ou "▶" pour activer ou désactiver ce paramètre. Si vous faites passer l'option Veille à l'option Désactivé, cette fonction ne sera pas disponible.
Pour utiliser la recherche en mode de veille assurez-vous d'activer la recherche en mode veille.
Langue
Dans ce menu l'utilisateur peut régler la langue préféérée. La langue est changée en pressant le bouton "OK".


Menu: indique la langue du système
Preféré
Ces réglages seront utilisés s'ils sont disponibles.
Sinon, les réglages courants seront utilisés.
- Audio: le fait d'appuyer sur les boutons "«" ou "»" change la langue audio.
- Sous-titrage: Changez la langue du soustitre avec les boutons “ ” ou “ ”. La langue可以选择 sera vue dans les sous-titres.
Sous-titre Film
- Afin d'afficher correctement les sous-titres, utilisez ce paramètre pour selectionner une langue de sous-titrage de film.
- En appuyant sur le bouton "« ou «", Sélectionnez l'option linguistique désirée.
- Guide: Le fait d'appuyer sur les boutons "«" ou "»" change la langue du guide.
En cours
- Audio: si la langue audio est prise en charge, changez la en pressant le bouton “<” ou “>”.
- Sous-titrage: si le sous-titrage est supporté, changez la langue des sous-titres avec le bouton "« ou «". La langue可以选择 sera vue dans les sous-titres.
Remarque: Si l'option Pays est reglee sur l'une des options Danemark, Suede, Norvege ou Finande, le Menu "Parametres linguistiques" fonctionnera comme suit:
Paramètres linguistiques

Dans le « Menu Configuration», mettez en surbrillance la rubrique Paramètres linguistiques en appuyant sur les boutons “ ” ou “ ”. Appuyez sur “OK” et le
sous-menu « Paramètres linguistiques » sera affché à l'écran:
Utilisez les boutons "▼" ou "▲" pour sélectionner l'élément de menu qui sera régle, puis appuyez sur le bouton "←" ou "▶" pour régler.
Remarques:
- La langue du système déterminé la langue du menu à l'écran.
- L'option Langue Audio est utilisé pour sélectionner la piste sonore des chaînes.
- Les réglages initiaux constituent la première priorité lorsque de nombreux可以选择 sont disponibles. Lorsque les premières options sont disponibles, les réglages secondaires sont reliqués au second plan.
Installation
Le menu Installation vous permet essentiellement d'élaborer un tableau des chaînes de la manière la plus efficace possible. Sélectionnez l'installation à partir du menu Configuration en appuyant sur les boutons “▼” ou “▲”.
Ce menu inclut les éléments suivants:
(*) Pour Danemark, Suède, Norvège, ou Finlande.

Balayage de chaîne automatique
Le balayage de chaîne automatique démarre en pressant le bouton "OK" lorsque « Balayage de chaîne automatique » est en surbrillance.
Le message suivant apparait à l'écran:

Mettez « Oui » ou « Non » en surbrillance à l'aide des touches «« ou «», puis appuyez sur “OK” pour confirmer.
Si « oui » a été sélectionné, la recherche automatique démarre.
Selectionner « Non » annule la recherche automatique.
Une fois la recherche des chaînes numériques terminée, un message vous invitant à rechercher des chaînes analogiques s'affiche à l'écran:

Pressez le bouton "OK" pour rechercher des chaînes analogiques. Le menu suivant apparaît à l'écran pour la recherche des chaînes analogiques:

Sélectionnez votre Pays, Langue et Langue de texte en utilisant les boutons “▼” ou “▲” et “←” ou “▶”. Pressez le bouton “OK” ou ROUGE pour continuer. Pour annuler, pressez le bouton BLEU. Le menu suivant sera affché durant le réglage automatique:

Une fois l'opération APS terminée, le tableau des programmes apparait à l'écran. Dans le tableau des programmes, vous verrez les numérios et les noms assignés à ces programmes.
Balayage de chaîne manuel
En balayage de chaîne manuel, le numéro de multiplexage est saisi manuellement et seul ce multiplexage de programmes est utilisé pour la recherche de chaîne. Pour chaque numéro de chaîne valide, le niveau du signal et la qualité du signal sont affichés à l'écran.
Tant en mode manuel qu'automatique, une chaine quelconque existant dans la base de données n'est pas re-stockée une seconde fois afin d'eviter les duplications redondances de cette chaine.
Effacer la liste des chaînes (*)
(*) Ce réglage est visible uniquement lorsque l'option de pays est réglée sur Danemark, Suède, Norvège ou Finlande.
Utilisez cette option pour effacer les chaînes mémorisées. Appuyez sur la touche “▼” ou “▲” pour sélectionner l'options Effacer la liste des chaînes, puis appuyez sur OK. L'OSD suivant s'affichera à l'écran :
Français - 18 -

Appuyez sur la touche OK pour selectionner. Sélectionnéz "Oui" en appuyant sur la touche « ou « » et appuyez sur OK pour supprimer toutes les chaînes.
Première installation
Vou puez utiliser ce menu pour charger les paramètres par défauts installés dans le récepteur en configuration d'usine.
Pour installer les paramètres d'usine, Sélectionnéz la rubrique Première installation, puis appuyez sur la touche "OK" pour poursuivre. Il vous sera alors demandé si vous poulez supprimer les réglages ou non. Le fait de Sélectionner "Oui" en pressant le bouton "OK" tandis que le "Oui" est placé en surbrillation supprimera le tableau des chaînes existantes.
Il vous sera ensuite demandé de confirmer la suppression de toutes les chaînes et de tous les paramètres:

En seLECTIONnant Oui et en appuyant sur le bouton "OK", la liste des chaînes existantes sera supprimée. Une fois les paramètres d'usine charges, le menu « Première installation » s'affichera.
Le menu qui s'affiche pour la seLECTION de la langue apparait en premier. En appuyant sur les touches "▼" ou "▲", faites votrechioixde langue, et appuyez sur la touche OK pour activer la selection.
Ensuite, le menu "Première installation" s'affiche à l'écran. En appuyant sur les boutons "« ou «", Sélectionné le pays que vous pouze et appuyez sur le bouton "OK". (* Pour les pays de l'UE uniquement).

Appuyez sur "OK" pour démarrer l'installation. Une fois la recherche des chaînes numériques terminée, un message vous invitant à rechercher les chaînes analogiques apparait à l'écran. Ce processus est le même que celui qui a été décrit dans la section Recherche automatique..
Système de menu TV analogue
Menu Image

Mode
Pour vos besoin de visualisation, vous pouvez régler l'option de Mode liée.
Appuyez sur le bouton "▼" ou "▲" pour sélectionner le Mode. Appuyez sur la touche "←" ou sur le bouton "▶" pour sélectionner à partir de l'une de ces options: Cinéma, Dynamique et Naturel.
Luminosite/Contraste/Couleur/Définition/ Teinte
Appuyez sur les touches "▼" ou "▲" pour sélectionner l'option désirée. Appuyez sur la touche "←" ou "▶" pour régler le niveau.
Remarque: L'option Teinte ne peut être visible que lorsque le téléviseur recoit un signal NTSC.
Température de couleur
Appuyez sur le bouton "▼" ou "▲" pour sélectionnner Temp. Couleur. Appuyez sur la touche "←" ou sur le bouton "▶" pour sélectionner à partir de l'une de ces options: Froid, normal et chaud.
Remarque:
- Le paramétrage sur l'option Froid donne aux couleurs blanches une accentuation légersement bleue.
- Le réglage sur l'option Chaud donne aux couleurs blanches une accentuation légarement rouge.
- Pour des couleurs normales, Sélectionnez l'option Normal.
Réduction du bruit
Si le signal de diffusion est faible et que l'image est bruyante (perturbée), utilisez le réglage de Réduction de bruit pour réduire le montant de bruit.
Appuyez sur le bouton "▼" ou "▲" pour sélectionner l'options Réduction de bruit. Appuyez sur la touche "←" ou sur le bouton "▶" pour sélectionner à partir de l'une de ces options: Faible, Moyen, Haut ou Désactivé.
Mode Film
Les films sont enregistrés à un nombre d'images par seconde différent des programmes de télévision normaux.
Appuyez sur le bouton "▼" ou "▲" pour sélectionner le Mode Film.
Appuyez sur la touche “< ” ou “ ” pour activer ou désactiver cette fonction.
Activez cette fonction lorsqu'you regardez des films pour voir clairment les scènes accélérées.
Mode Jeux (en option)
Selectionnez Mode Jeu en appuyant sur la touche “▼” ou “▲”. Utilisez le bouton “←” ou “▶” pour Activer ou Déactualer le mode Jeu. Lorsque le mode Jeu est réglé sur Activé, les réglages du mode jeu, qui sont optimisés pour une catégorie qualité video, seront charges.
De même, les paramètres Mode image, Contraste, Luminosité, Nettété, Couleur et Température de couleur seront invisibles et déactivés pendant que le mode Jeu est activé.
Remarque.
Le bouton de selection du mode Image qui se trouve sur la télécommande n'aura aucune fonction tant que le mode Jeu est activé.
Zoom image
Selectionnez Zoom d'image en appuyant sur la touche "▼" ou "▲".
Utilisez les boutons "« ou « pour changer le zoom de l'image pour Auto, 16:9, 4:3, Panoramaque, 14:9, Cinéma, Sous-titrage ou Zoom.
Stocker
Appuyez sur le bouton "▼" ou "▲" pour sélectionner l'options Mémoriser. Appuyez sur la touche "▶" ou sur le bouton OK pour mémoriser les réglages. "Stocké..." apparaitra à l'écran.
Réinitialisation
Appuyez sur le bouton "▼" ou "▲" pour sélectionnner l'options Réinitialiser. Pressez les boutons "▲" ou "▶" ou OK pour réinitialiser les modes d'image à leurs paramètres d'usine par défaut.
Menu Audio

Volume
Appuyez sur le bouton “▼” ou “▲” pour sélectionner le Volume. Appuyez sur la touche “▲” ou “▶” pour changer le niveau de volume.
Egaliseur
Appuyez sur le bouton "▼" ou "▲" pour sélectionner l'égaliseur. Appuyez sur la touche "▶" pour afficher le menu de l'égaliseur.

Appuyez sur «« ou sur les touches «« pour modifier les paramètres. Dans le menu égaliser, le prérglage peut être changé pour Musique, Film, Voix, Plat, Classique et Utilisateur.
Selectionnez la fréquence désirée en pressant le bouton “▼” ou “▲” et augmentez ou réduisez le gain de fréquence en pressant le bouton “←” ou “▶”.
Appuyez sur la touche "M" pour returner au menu precedent.
Remarque: Les réglages du menu Egaliseur ne peuvent être modifiées que lorsque le mode Egaliseur se trouve à Utilisateur.
Balance
Ce paramètre s'utilise pour accentuer la balance des haut-parleurs gauche ou droit.
Français -20-
Pressez le bouton "▼" ou "▲" pour sélectionner Balance. Appuyez sur la touche "←" ou "▶" pour changer le niveau de balance. Le niveau de balance peut être régle entre -32 et +32.
Casque d'ecoute
Appuyez sur le bouton "▼" ou "▲" pour sélectionner le Casque. Pressez le bouton "▶" pour afficher le menu Casque.
Les options du sous-menu Casque sont décrites ci-dessous:
Volume
Appuyez sur le bouton “▼” ou “▲” pour sélectionner le Volume. Appuyez sur la touche “▶” pour augmenter le niveau de volume. Appuyez sur la touche “←” pour diminuer le niveau de volume. Le niveau de volume du casque peut être réglé entre 0 et 63.
Mode de son
Appuyez sur le bouton "▼" ou "▲" pour sélectionner le Mode Son. À l'aide du bouton "▲" ou "▶", vous pouvez sélectionner le mode Mono, StéRéo, Mixte I ou Mixte II, si la chaîne sélectionnée supporte ce mode.
AVL
La fonction de limitation automatique de volume AVL ajuste le son dans le but d'obtenir un niveau de sortie fixe entre les programmes (par exemple, le niveau de volume des publicités tend à être plus élevé que celui des programmes).
Appuyez sur le bouton “▼” ou “▲” pour sélectionner le mode AVL. Appuyez sur la touche “←” ou “▶” pour activer ou désactiver cette fonction.
Stocker
Appuyez sur le bouton "▼" ou "▲" pour sélectionner l'options Mémoriser. Appuyez sur la touche "▶" ou sur le bouton OK pour mémoriser les réglages. "Stocké..." apparaitra à l'écran.
Menu fonctionnel

Minuteur de mise en veille
Appuyez sur le bouton "▼" ou "▲" pour sélectionner le Minuteur de mise en voille. Appuyez sur la touche "«" ou "» pour régler la minuterie sommeil.
Le minuteur peut êtreprogramméentreDésacté et 120 minutes par intervalle de 10 minutes.
Si le minuteur de mise en veille est actif, à la fin du temps sélectionné, la TV passé automatiquement en mode veille.
Verrouillage parental
Appuyez sur le bouton “▼” ou “▲” pour sélectionner l'options Verrouillage parental.
Utilisez le bouton "«" ou "» pour sélectionner l'activation ou la désaction du verrouillage parental. Lorsque Activé est sélectionné, le téléviseur peut uniquement être contrôle à l'aide de la télécommande. Dans ce cas, les boutons du panneau de contrôle ne fonctionneront pas.
Ainsi, si l'un de ces boutons est pressé, Verrouillage parental activé s'affiche à l'écran lorsque la fenêtre de menu n'est pas visible.
Langue
Appuyez sur le bouton "▼" ou "▲" pour sélectionner l'options Langue. En appuyant sur le bouton "▲" ou "▶", sélectionnez l'options Langue.
Zoom par défaut
Lorsque le mode Zoom est reglé sur AUTO, le télévisueur réglera le mode Zoom conformément au signal de la diffusion. S'il n'existe pas de WSS ou d'information de format d'image, le télévisueur utilisera alors ce réglage. Appuyez sur le bouton "▼" ou "▲" pour sélectionner l'option Zoom par défaut. Vous pouvez régler l'option Zoom par défaut à Panoramaique, 16:9, 4:3 ou 14:9 en appuyant sur la touche "«" ou "»".
Fond bleu
Si le signal est faible ou absent, le téléviseur passera automatiquement à un écran bleu. Pour activer ceci, paramétrz Fond bleu sur Activé.
En appuyant sur “▼” ou “▲”, Sélectionnez l'option Fond bleu. Appuyez sur la touche “←” ou “▶” pour activer ou désactiver cette fonction.
Arrière-plan du menu
Pressez le bouton "▼" ou "▲" pour sélectionnner l'options Arrière-plan du menu. Vous pouze régler le niveau du fond du menu en appuyant sur la touche "«" ou "»".
Retroeclairage
Ce paramètre contrôle le niveau de rétroéclairage. Sélectionnéz Lumière de fond en appuyant sur la touche “ ” ou “ ”. Pressez le bouton “ ” ou “ ” pour
regler le Rétroéclairage sur Auto, Moyen, Maximum ou Minimum.
Temporisation du menu
Afin de régler une temporisation spécifique pour les écrons de menu, fixez une valeur pour cette option.
Appuyez sur le bouton “▼” ou “▲” pour sélectionnner l'options Temporisation du menu. Utilisez le bouton «« ou «» pour régler Temporisation du menu sur 15 sec, 30 sec ou 60 sec.
Langue têletexte
Appuyez sur le bouton "▼" ou "▲" pour sélectionner la Langue du télétexte. Appuyez sur la touche "▲" ou "▶" pour régler la Langue du télétexte sur Ouest, Est, Turc/Gre, Cyrillique, Arabe ou Perse.
HDMI PC Full Mode (en option)
Si vous voulez afficher l'écran du PC en mode HDMI grâce à une connexion externe, l'option HDMI PC FULL MODE doit être activée pour ajuster correctement le rapport d'aspect de l'écran. Cet élément peut être inactive dans certaines résolutions.
Remarque: Si vous raccordez un apparéil HDMI et faites bascuer le téléviseur en mode HDMI, cette option sera visible (à l'exception de la résolution 1080l/1080P).
Mode complet (en option)
Si vous raccordez un apparéil en vous servant des prises HDMI ou YPbPr, et définièsez les résolutions 1080i/1080P, la rubrique Mode plein sera visible. En mode Plein écran, vous pouvez désirir l'option 1:1 ou Normal à l'aide de “<” ou “>”. Si vous scélectionnez 1:1, l'aspect de l'écran sera ajusté correctement. Si vous choisissez Normal ; le format de l'écran peut s'agrandir.
Sortie Ext
Appuyez sur le bouton "▼" ou "▲" pour sélectionnner l'options Sortie Ext. Utilisez le bouton "←" ou "▶" pour régler la sortie Ext sur Activé ou Désactivé.
Remarque:
Pour copier depuis un DVD ou un magnétoscope, vous nevez désirée à partir du menu Source et faire passer « Activé » à « Sortie EXT » à partir du menu fonctionnel.
La Sortie Ext doit être activée afin d'utiliser la fonction des minuteurs en mode DTV.
Menu d-installation

Programme
Appuyez sur le bouton "▼" ou "▲" pour sélectionner le Programme. Utilisez le bouton "▲" ou "▶" pour sélectionner le numéro du programme. Vous pouvez également saisir un numéro en utilisant les boutons numériques sur la télécommande. Il existe 200 stockages de programme entre 0 et 199.
Bande
La bande C ou S peut être sélectionnée, en pressant les boutons “<” ou “>” pour régler la bande.
Chaine
Pour changer de chaîne, vous pouvez appuyer sur la touche « ou « ou sur les boutons numériques.
Codage couleur
Appuyez sur le bouton "▼" ou "▲" pour sélectionner Systeme de Couleur. Utilisez le bouton "▲" ou "▶" pour faire passer le système de couleur à PAL, PAL 60, SECAM ou AUTO.
Système sonore
Appuyez sur le bouton "▼" ou "▲" pour sélectionner le système Sonore. Pressez le bouton "←" ou "▶" pour changer le système sonore pour BG,DK, I, L ou L'.
Réglage de précision
Appuyez sur le bouton "▼" ou "▲" pour sélectionner l'options Réglage de précision. Pressez le bouton "←" ou "▶" pour modifier le réglage.
Recherche
Appuyez sur le bouton "▼" ou "▲" pour sélectionnier Recherche. Utilisez le bouton "▲" ou "▶" pour démarrer la recherche de programme. Vous pouvez également saisir la fréquence désirée en utilisant les boutons numériques lorsque Recherche est en surbrillance.
Mémoriser
Appuyez sur le bouton "▼" ou "▲" pour sélectionner l'options Mémoriser. Appuyez sur la touche "▶" ou sur
Français - 22 -
le bouton OK pour mémoriser les réglages. "Stocké..." apparaitra à l'écran.
Menu d'installation dans des modes AV
L'écran suivant apparait dans le menu d'installation lorsque le téléviseur est dans des modes AV. Remarquez que des options limitées sont disponibles. Activez le mode TV pour visualiser la version complète du menu Installation.

Codage couleur
Appuyez sur le bouton "▼" ou "▲" pour sélectionnner Systeme de Couleur. Utilisez le bouton "←" ou "▶" pour faire passer le système de couleur à PAL, SECAM, PAL60, AUTO, NTSC 4,43 ou NTSC 3,58.
Stocker
Appuyez sur le bouton "▼" ou "▲" pour sélectionner l'options Ménoriser Programme. Appuyez sur la touche "▶" ou sur le bouton "OK" pour ménoriser les réglages. "Stocké..." apparaitra à l'écran.
Tableau des programmes
Selectionnez Tableau des Programmes en pressant le bouton "▼" ou "▲". Appuyez sur "▶" pour afficher le Tableau des Programmes:

En déplaçant le curseur dans quatre directions, vous pouvez atteindre 20 programmes sur la même page. Vous pouvez défiler les pages vers le haut ou vers le bas en appuyant sur les touches de navigation pour voir tous les programmes en mode TV (à l'exception
des modes AV). Par l'action du curseur, la selection du programme est faite automatiquement.
Nom
Pour changer le nom d'un programme, Sélectionnez le programme et appuyez sur le bouton ROUGE.
La première lecture du nom sélectionné sera placée en surbrillance. Appuyez sur le bouton "▼" ou "▲" pour changer cette lecture et sur le bouton "▲" ou "▶" pour sélectionner les autres lettres. En pressant le bouton ROUGE, vous pouvez stocker le nom.
Déplacer
Sélectionné le programme que vous pouze déplacer avec les touches directionnelles. Appuyez sur la touche VERTE. À l'aide des touches de navigation, déplacez le programme sélectionné à l'emplacement de votrechioix et appuyez à nouveau sur le bouton VERT.
Supprimer
Pour supprimer un programme, pressez le bouton JAUNE. Presser à nouveau le bouton JAUNE efface le programme sélectionné de la liste de programmes, et les programmes suivants remontent d'une ligne.
Système d'auto-programmation APS
Quand vous pressez la touche BLEUE pour démarrer le réglage automatique, le Menu du Systeme d'autoprogrammation APS apparait à l'écran:

Appuyez sur la touche “▼” ou “▲” pour sélectionner votre pays. Si vous voulez quitter la fonction A.P.S, pressez le bouton BLEU.
Quand vous appuyez sur la touche OK ou ROUGE pour lancer la recherche automatique, tous les programmes mémorisés seront effacés et le téléviseur recherche les chaînes disponibles. Durant la recherche, l'écran OSD suivant sera affché:

À chaque fois que vous Pressez le bouton BLEU, la fonction APS s'arrête et le tableau des programmes apparaît à l'écran.
Si vous patientez jusqu'à la fin de l'APS, la liste des chaînes s'affichera avec les programmes trouvés et reprises.
Menu Source
Selectionnez la sixieme icone en appuyant sur la touche ou . Appuyez sur la touche ou sur OK'. Le menu source apparait a I'ecran:

Dans le menu source, Sélectionnez une source en appuyant sur le bouton “▼” ou “▲” et bascules à ce mode en appuyant sur la touche “▶”. Les options de source sont: TV, DTV, EXT-1, FAV, HDMI YPbPr et PC-VGA.
Remarque: Une fois que vous avez branché des systèmes en option à votre télé, vous neveze selectionner l'entrée requise pour visualiser les images à partir de cette source.
Remarque: Vous pouvez recourir au mode YPbPr uniquement, lorsqu'elles raccorderez un apparéil doté d'une sortie YPbPr à travers l'entrée PC avec le cable YPbPr pour PC.
Système de menu du mode PC
Se reporter à la section "Connexion du téléviseur LCD à un PC" pour brancher un PC au téléviseur.
Pour basculer vers la source PC, appuyez sur la touche "AV" de votre télécommande et selectionnez l'entrée PC. Vous pouvez également utiliser le menu «Source» pour passer en mode PC.
Notez que les paramètres de menu en mode PC sont disponibles seulement quand le TV est en source PC.
Menu de position PC
Selectionnezla première icone en pressantle bouton"ou .Le menu Position PC apparait a I'ecran:

Position automatique
Si vous changez l'image horizontally ou verticalement en une position indesirable, utilisez cet élément pour remettre l'image à la bonne place automatiquement. Ce réglage optimise donc de manière automatique l'affichage.
Selectionnez Position Automatique en utilisant les boutons "▼" ou "▲". Appuyez sur le bouton "OK" ou "←", "→".
Avertissement: Veuillez vous assurer que le réglage automatique s'effectue avec une image plein écran pour assurer de favoriers résultats.
Position H (Horizontale)
Cette rubrique change l'image horizontally vers le côté droit ou gauche de I'écran.
Selectionnez la rubrique Position H en utilisant la touche “▼” ou “▲”. Utilisez le bouton “←” ou “▶” pour régler la valeur.
Position V (Verticale)
Cet élément déplace l'image verticalément vers le haut ou le bas de l'écran.
Selectionnez la rubrique Position V en utilisant la touche “▼” ou “▲”. Utilisez le bouton “←” ou “▶” pour régler la valeur.
Phase
Selon la résolution et la fréquence de balayage que vous saississez pour le téléviseur, vous pouze voir une image voilée ou bruitee à l'écran. Dans un tel cas vous pouze utiliser cet élément pour obtenir une image claire par essais et erreurs.
Selectionnez l'option Phase en utilisant les boutons "▼" ou "▲". Utilisez le bouton "▲" ou "▶" pour régler la valeur.
Fréquence pilote
Les réglages de la fréquence pilote corrigent les interférences qui apparaissent comme des lignes verticales dans l'image pour des presentations telles
Français -24-

que des feuilles de calcul ou des paragraphs ou des textes dans des polices plus petites.
Selectionnez l'option Fréquence pilote en utilisant les boutons “▼” ou “▲”. Utilisez le bouton “←” ou “▶” pour régler la valeur.
Menu image PC
Pour ajuster les éléments de l'image du PC,procédez comme suit:
Appuyez sur “<” ou “>” pour sélectionner la deuxième icône. Le menu image PC apparait à l'écran.
Les réglages du contraste, de la luminosité, de la couleur et de la température de couleur dans ce menu sont les mêmes que les réglages dans le menu image TV du Système de Menu « TV analogue ».
Remarque: Si vous reglez la température de couleur sur Utilisateur, vous pouvez définir les paramètres R, V, B manuellement.
Les options Son,Fonction et Source sont identiques a celles expliquées dans le système de menu du téléviseur analogique.
Affichage des informations TV
Les informations relatives au numéro du programme, nom du programme, indicateur de son et mode zoom sont affichées à l'écran quand un nouveau programme est saisi ou lorsque le bouton "INFO" est pressé.
Fonction Muet
Pressez le bouton "X" pour désactiver le son. L'indicateur muet s'affiche dans la partie supérieure de l'écran.
Pour annuler la coupure du son, il existe deux alternatives; la première est de presser le bouton "X" et la seconde est d'augmenter le niveau de volume.
Selection du mode image
En pressant le bouton PRESETS, vous pouvez modifier les paramètres du Mode Image selon vos besoin. Les options disponibles sont Dynamique, Naturel, et Cinéma.
Remarque: Le mode zoom ne peut pas etre changé en mode PC.
Arrêt sur image
Vous pouvez bloquer une image à l'écran en pressant le bouton "OK" sur la télécommande. Pressez le bouton "OK" pour un arrêt sur l'image. Pressez à nouveau pour quitter le mode d'arrêt sur image.
Remarque: Cette option ne sera pas disponible en mode PC et le film ne pourrait être vu à partir de la source DVI.
Modes Zoom
Vous pouvez modifier le format de l'image (la taille de l'image) du télévisuer pour afficher l'image dans des modes zoom différents.
Appuyez sur la touche "WIDE" pour modifier directement le mode zoom.
Les modes zoom disponibles sont listed ci-dessous.
Remarque:
En mode YPbPr et HDMI, résolutions 720p-1080i, seul le mode 16:9 est disponible.
Le mode zoom ne peut pas etre changé en mode PC.
Auto
Lorsqu'un signal WSS (Signalisation d'écran large) qui indique le format de l'image, est inclus dans le signal de l'émission ou dans le signal d'un péripérisque externe, la TV change automatiquement le mode ZOOM selon le signal WSS.
- Lorsque le mode AUTO ne fonctionne pas correctement à cause de la mauvaise qualité du signal WSS, ou lorsque vous voulez changer le mode ZOOM, changez manuellement pour un autre ZOOM.
16:9
Ceci étend uniformément les côtes gauche et droit d'une image normale (format d'image 4 :3) pour replir l'écran de télévision.

- Pour les images de format 16:9 qui ont été pressées en une image normale (format d'image 4:3), utilisez le mode 16:9 pour restaurer l'image à sa forme originale.
4:3
Utilisé pour visualiser une image normale (format d'image 4:3) puisqu'il s'agit ici de sa taille originale.

Panoramaque
Ceci étend les côtes gauche et droit d'une image normale (format d'image 4 :3) pour replir l'écran, sans que l'image apparaisse dénaturée. Les parties supérieure et inférieure de l'image sont légèrement coupées.

14:9
Ceci agrandit l'image large (format d'image 14:9) vers les limites supérieure et inférieure de I'écran.

Cinéma
Ceci agrandit l'image large (format d'image 16:9) à l'écran entier.

Sous-titrage
Ceci agrandit l'image large (format d'image 16:9)
avec sous-titrage vers l'écran entier.

Zoom
Cette option augmente le zoom de l'image. Remarque : Vous pouvez passer à l'options Ecran Haut ou Bas en appuyant sur les touches “▼” / “▲” tandis que Zoom d'images est sélectionné ainsi qu'il suit: Panoramaique, 14:9, Cinéma ou Sous-titres.

Télétexte
Le télétexte transmet des informations telles que actualités, sports et météo sur votre TV. Notez que si le signal se dégrade, par exemple dans des conditions météorologiques mauvaises ou adverses, certaines erreurs textuelles peuvent se produit ou le mode télétexte peut être interrompu.
Les boutons de la fonction Télétexte sontprésentés ci-dessous:

Télétexte active-Désactivé/Mode PAT
Active le mode Télétexte lorsqu'il est appuyé une fois. Lorsque vous appuyez sur cette touche une nouvelle fois, l'écran est divisé en deux fenêtres, l'une affichtant le télétexte et l'autre la chaîne actuelle. En appuyant à nouveau, vous quittez le mode Télétexte..

Index
Selectionne la page d-index telétexte.

Mélanger
Place l'écran télétexte par-dessus le programme.

Agrandir
Presser une fois pour élargir la moitié supérieure de la page, appuyez à nouveau pour élargir la moitié
inférieure de la page. Pressez à nouveau pour returner à laaille normale.
“[?”Révêler
Révèle les informations cachées (par ex. solutions de eux).
"三”Garder
Garde une page de texte selon convenance. Pressez à nouveau pour reprendre.
"Pages / Heure de signaux d'affichage
Selectionne les pages de signaux d'affichage quand le télétexte est activé. Lorsque le télétexte n'est pas activé, affiche des informations horaires si le programme dispose d'une transmission télétexte.
Presse pour selectionner une page.
Remarque: La plupart des stations TV utilisent le code 100 pour leurs pages d'index.
Boutons colorés
(ROUGE/VERT/JAUNE/BLEU)
Votre TV supporte à la fois les systèmes FASTEXT et TOP text. Lorsque ces systèmes sont disponibles, les pages sont divisées en groupes ou en sujets.
Lorsque le système FASTEXT est disponible, certaines sections d'une page de télétexte prènnant un code de couleur et peuvent être seLECTIONnées en pressant les boutons colorés. Pressez un bouton de couleur qui correspond à vos besoines. Les textes colorés apparaitront, indiquant quels boutons colorés utiliser lorsque la transmission TOP text est présente. Presser les commandes P - ou P + sollicité respectivement la page suivante ou précédente.
Conseils
Persistence d'image
Veuillez noter qu'une incrustation peut se produit en affichtant une image persistante. La persistence d'image d'une TV LCD peut disparaître dans un bref décai. Essayer d'eteindre la TV durant quelque temps. Pour éviter ceci, ne laisser que pas l'écran en image fixe pour des périodes prolongées.
Pas d'alimentation
Si vous téléviseur n'est pas alimenté, veuillez vérifier le cable d'alimentation principal et le branchement du cable d'alimentation à la prise secteur.
Mauvaise image
Avez-vous sélectionné le système de TV approprié? Est-ce que vous télévisérour ou votre antennene sont très proches d'un apparéil audio qui n'est pas branché à la terre ou d'une lumière au néon?
Des montagnes ou de hauts bâtiments peuvent être à l'origine des images doubles et des images fantômes. Parfois, vous pouvez améliorer la qualité de l'image en changeant la direction de l'antenne. Est-ce que l'image ou le télétexte sont méconnaissables? Vérifiez si vous avez introduit la fréquence correcte. Veuillez régler à nouveau les chaînes. La qualité d'image peut se dégrader lorsque deux péripériques sont connectés à la TV en même temps. Dans un tel cas, déconnectez l'un des péripériques.
Pas d'image
Est-ce que l'antenne est correctement branchée? Est-ce que les prises sont correctement branchées à la prise d'antenne? Est-ce que le cable d'antenne est endommagé? Les fiches appropriées sont telles utilisées pour brancher l'antenne? En cas d'incertitudes, veuillez contacter votre fournisseur.
Aucune image signifie que votre télévisuer ne recoit aucune transmission. Avez-vous appuyé sur les boutons appropriés de la télécommande? Essayez une nouvelle fois. Assurez-vous également que la bonne source d'entrée a été sélectionnée.
Son
Vous ne pouze entendre aucun son. Avez-vous coupé le son en appuyant sur le bouton "X"?
Le son sort d'un seul haut-parleur. Est-ce que la balance est à l'extrémité d'une direction ? Consultez le menu Son.
Télécommande
Votre téléviseur ne rapport pas à la télécommande.
Peut-être que les piles sont épuisées. Si tel est le cas, vous pouvez utiliser les boutons qui se trouvent au bas du téléviseur.
Sources d'entrée
Si vous ne pouvez seLECTIONner aucune source d'entrée, il est possible qu'aucun périphérique ne soit connecté.
Vérifiez les câbles AV et les branchements si vous avez essayé de brancher un apparéil.
Appendice A : Modes d'affichage typiques de l'entrée PC
L'écran dispose d'une résolution maximale de 1600 X 1200. Le tableau suivant illustre certains modes d'affichage video typiques.
Votre TV peut ne pas supporter différentes résolutions. Les modes de résolution supportés sont listedes ci-dessous.
Si vous faites passer votre PC à un mode non pris en charge, un message d'advertisement apparait à l'écran.
| Index | Résolution | Fréquence | Norme | Modes Zoom supportés | ||
| Hor | Ver | Ver (Hz) | Hor (KHz) | |||
| 1 | 640 | 480 | 60 | 31.5 | VESA | 16:9, 4:3 |
| 2 | 640 | 480 | 72 | 37.9 | VESA | 16:9, 4:3 |
| 3 | 640 | 480 | 75 | 37.5 | VESA | 16:9, 4:3 |
| 4 | 800 | 600 | 56 | 35.2 | VESA | 16:9, 4:3 |
| 5 | 800 | 600 | 60 | 37.9 | VESA | 16:9, 4:3 |
| 6 | 800 | 600 | 70 | 43.8 | 16:9, 4:3 | |
| 7 | 800 | 600 | 72 | 48.1 | VESA | 16:9, 4:3 |
| 8 | 800 | 600 | 75 | 46.9 | VESA | 16:9, 4:3 |
| 9 | 832 | 624 | 75 | 49.7 | MAC | 16:9, 4:3 |
| 10 | 1024 | 768 | 60 | 48.4 | VESA | 16:9, 4:3 |
| 11 | 1024 | 768 | 70 | 56.5 | VESA | 16:9, 4:3 |
| 12 | 1024 | 768 | 72 | 57.7 | 16:9, 4:3 | |
| 13 | 1024 | 768 | 75 | 60.0 | 16:9, 4:3 | |
| 14 | 1152 | 864 | 70 | 64.2 | VESA | 16:9, 4:3 |
| 15 | 1152 | 864 | 75 | 67.5 | VESA | 16:9, 4:3 |
| 16 | 1152 | 870 | 75 | 68.9 | MAC | 16:9, 4:3 |
| 17 | 1280 | 768 | 60 | 47.7 | VESA | 16:9, 4:3 |
| 18 | 1360 | 768 | 60 | 47.7 | 16:9, 4:3 | |
| 19 | 1280 | 960 | 60 | 60.0 | VESA | 16:9, 4:3 |
| 20 | 1280 | 1024 | 60 | 64.0 | VESA | 16:9 |
| 21 | 1280 | 1024 | 75 | 80.0 | VESA | 16:9 |
| 22 | 1600 | 1200 | 60 | 75.0 | VESA | 16:9 |
Appendice B : Compatabilité du signal AV et HDMI (types de signal d'entrée)
(X: Nonisable, O: Disposable)
| Source | Signaux supportés | Disponible | |
| EXT-1(SCART) | PAL 50/60 | O | |
| NTSC 60 | O | ||
| RGB 50 | O | ||
| RGB 60 | O | ||
| FAV | PAL 50/60 | O | |
| NTSC 60 | O | ||
| YPbPr | 480I | 60Hz | O |
| 480P | 60Hz | O | |
| 576I | 50Hz | O | |
| 576P | 50Hz | O | |
| 720P | 50Hz | O | |
| 720P | 60Hz | O | |
| 1080I | 50Hz | O | |
| 1080I | 60Hz | O | |
| 1080P | 50Hz | O | |
| 1080P | 60Hz | O | |
| HDMI | 480I | 60Hz | O |
| 480P | 60Hz | O | |
| 576I | 50Hz | O | |
| 576P | 50Hz | O | |
| 720P | 50Hz | O | |
| 720P | 60Hz | O | |
| 1080I | 50Hz | O | |
| 60Hz | O | ||
| 1080I | 24Hz | O | |
| 1080P | 25Hz | O | |
| 1080P | 30HZ | O | |
| 1080P | 50HZ | O | |
| 1080P | 60HZ | O | |
Remarque: Dans certains cas, un signal sur l'écran de la TV LCD peut ne pas s'afficher correctement. Le problème peut être une incompatibilité avec les normes de l'équipement source (DVD, décodeur, etc.). Si vous rencontres un tel problème, veuillez contacter votre fournisseur et le fabricant de l'appareil source.
\section*{Caracteristiques techniques}
TELEDIFFUSION
RéCEPTION DE CANAUX
PAL/SECAM B/G D/K K' I/I' L'
VHF (BANDE I/III)
UHF (BANDE U)
HYPERBANDE
| Réception numérique | APPAREIL MHEG-5 conforme à l'ISO / IEC 13522-5 UK engine Profile 1 | Pour le RU |
| Support conforme à l'ISO/IEC 135818-6 et au profil UK DTT | ||
| Gamage de fréquence: 474-850 MHz pour les modèles du RU | ||
| 170-862 MHz pour les modèles de l'UE. | ||
| Normes de transmission: DVB-T. MPEG-2 | ||
| Démodulation: COFDM avec mode 2K/8K FFT | ||
| FEC: tous les modes DVB | ||
| Vidéo: MP@ML, PAL, 4:3/16:9 | ||
| Audio: MPEG Layer I&II 32/44.148kHz. | ||
NOMBRE DE CANAUX PRÉRÉGLÉS
INDICATEUR DE CHAINE
ENTRÉE D'ANTENNE RF (radio)
75 Ohms (Non équilibré)
220-240V secteur, 50 Hz.
Allemand+Nicam Sté reproduction
45 W (max)
<1W(Veille)
Ce logo appose sur le produit signifie qu'il s'agit d'un apparéil dont le traitement en tant que déchet rentre dans le cadre de la directive 2002/96/CE du 27 janvier 2003, relative aux déchets d'équipements électriques et électroniques (DEEE).
La présence de substances dangereuses dans les équipements électriques etlectroniques peut avoir des effets potentiels sur l'environnement et la santé humaine dans le cycle de retraitemment de ce produit.
Ainsi, lors de la fin de vie de cet apparéil, celui-ci ne doit pas être débarrassé avec les déchets municipaux non triés.
En tant que consommateur final, votre role est primordial dans le cycle de réutilisation, de recyclage et les autres formes de valorisation de cet équipement électrique etlectronique. Des systèmes de reprise et de collecte sont mis à votre disposition par les collectivités locales (déchetteries) et les distributeurs.
Vous ave l'obligation d'utiliser les systèmes de collecte selective mise à votre disposition.
Conditions de garantie :
Ce produit est garanti pour une période de 1 an à partir de la date d'achat*, contre toute défaillance résultat d'un vice de fabrication ou de matériel. Cette garantie ne couvre pas les vices ou les dommages resultant d'une mauvaise installation, d'une utilisation incorrecte, ou de l'usure normale du produit.
(^* : sur presentation du ticket de caisse)
Notice Facile