MODE D'EMPLOI BORA HTEBVI 25 KW CHAPPEE
Utiliser ce document lorsque les réglages indiqués dans le "cahier d'installation" ont été effectuels par votre installer
1 Recommendations
2 Description du produit
3 Fonctionnement
3.1 Mise en marche
3.2 Mise en service rapide
3.3 Mise en service personnelisé
4 Ce qu'il ne faut pas faire
1 RECOMMANDATIONS
Avant toute intervention, couper le courant électrique sur l'interrupteur général mural et fermer la vanne d'alimentation en gaz
- Conditions réglementaires d'installation et d'entretien
"BAXI" rejette toute responsabilité pour les dommages resultant de travaux non exécutés conformément à la présente notice et/ou par un professionneliel qualifié".
L'installation et l'entretien général, au moins une fois l'an de l'appareil doit être effectuels par un professionnel qualifié conformément aux textes réglementaires et règes de l'art en vigueur, rappelés dans la notice d'installation.
Attention : un appoint d'eau froide important dans une chaudière chaude peut provoquer la destruction de la chaudière.
- Vérifier que le compteur ne tourne pas, lorsque la chaudière ainsi que les apparèils gaz sont à l'arrêt.
Protection contre le gel
En cas d'arrêt prolongé, vous doivent protégier la chaudière, le préparateur E.C.S. et l'instruction soit, en vidangeant complètement soit en utilisant au remplissage, un produit antigel de qualité sanitaire pour chauffage central. Les antigels pour circuit de chauffage central sont de qualité spéciale. L'instandateur vous donnera toutes précisions utiles à ce sujet. Ne pas oublier de vidanger le gallon d'eau chaude et le circuit d'eau sanitaire. Il faut alors s'assurer qu'il ne peut y avoir communication entre les circuits de chauffage et d'eau sanitaire (cf. circulaire du 26 avril 1982 du Ministère de la Santé).
Vou devez faire appel à votre installerateur ou à un service après-vente (formule d'entretien permanent) pour effectuer les opérations d'entretien.
- Le ramonage doit être effectué avant la saison de chauffe.
- Faire vérifier le circuit gaz de la chaudière en fonctionnement.
- Préparateur d'eau chaude
Votre préparer d'eau chaude est équipé d'une anode anti-corrosion renouvelable.
La consommation de cette anode est fonction de la qualité de l'eau, un contrôle est obligatoire au moins tous les 2 ans.
Nettoyage de I'habillage
N'utiliser aucun produit abrasif, nettoyer avec un chiffon doux imbibé d'eau savonneuse.
S'assurer que les orifices obligatoires d'aération sont suffisants et maintainus en bon état de fonctionnement (version cheminée)
Nepasinstaller cematriel dans un local prsentant une atmophere ambiente contenant des vapeurs corrosives, ni sur un socle inflammable).
2 DESCRIPTION DU PRODUIT
Principe de fonctionnement automatique de votre chaudière :
La chaudière que vous venez d'acquerir est équipée d'une régulation de température intégrée. L'appareil va mesurer la température extérieure (grace à la sonde fournie) et adapter automatiquement la température de chauffage à vosbesoins, selon les prêrglages "Standards". Vous pouvez aussi, si vous le souhaitez, personneliser votre programme afin d'avoir le maximum de comfort et d'économies possible.
Descriptif : Notre chaudière se compose principalement :
- d'un corps de chauffe monobloc en fonte.
- d'un brûleur fioul intégré.
- d'un préparateur d'eau chaude sanitaire intégré (version Bi uniquement).
- d'un tableau de bords commandé par un module d'ambiance.
Module d'ambiance :
C'est l'interlocuteur pour dialoguer avec votre installation de chauffage. Installé sur la chaudière ou de préférence en ambiance, il pilote et optimise en permanence le fonctionnement de la chaudière. Il affiche les informations utiles pour connaître l'état de votre chauffage, il transmet vos consignes de réglage à l'installation. Vous trouvez ci-après les explications nécessaires à l'utilisation du module d'ambiance.

Pour une meilleure qualité de comport, nous recommendons vivement l'installation du module d'ambiance dans le volume chauffé.
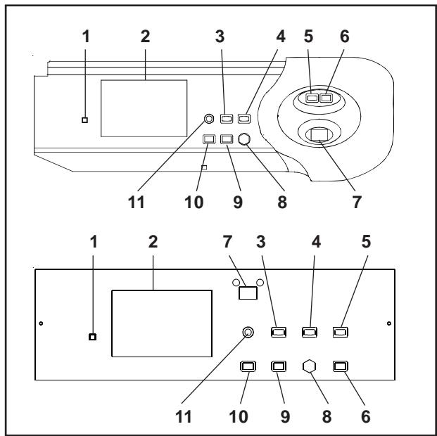
Description du tableau de commande de la chaudière:
Les commandes du tableau de la chaudiere sont réservées à la mise sous tension, à la maintenance et au fonctionnement de secours. Le tableau de commande intègre le système électronique destiné à automatiser la chaudiere, le ballon d'eau chaude sanitaire et les circuits de chauffage. Il offre un emplacement (2) destiné à receivevoir un module d'ambiance.
Descriptif tableau de commande chaudière fioul selon modèle

Descriptif tableau de commande chaudière gaz selon modele

1 Bouton de test des reliais et des sondes et RESET pour chaudière gaz.
2 Emplacement pour module d'ambiance
3 Voyant de sécurité brûleur
4 Voyant de sécurité chaudiere
5 Voyant de mise sous tension
6 Interrupteur Marche/Arrêt
7 Afficheur digital de la température
8 Rémènement du thermostat sécurité
9 Rémagement brûleur
10 Bouton de test brûleur
11 Fusible.
Les autres commandes, destinées au dépannage ou à la maintenance, sont décrites au paragraphe 3.
3 FONCTIONNEMENT
Attention : l'arrêt de la chaudière par l'interrupteur Marche/Arrêt du tableau de commande laisse la chaudière sous tension mais coupe l'alimentation électrique de la régulation ainsi que le chauffage et la production d'eau chaude sanitaire.
3.1 Mise en marche
La mise en marche de la chaudière s'effectue en actionnant l'interrupteur lumineux Marche/Arrêt (2). La lampe verte indique que la chaudière est mise en état de marche.
Pour que vous chaudière soit en état de fonctionnement, vérifier les points suivants :
Voyant de mise sous tension (1) allumé.
- Interrupteur Marche/Arrêt enforcé (2) (lampe verte allumée).
- Afficheur numérique de la température (5) allumé.
- Afficheur du module d'ambiance allumé et symbole de communication affché (14) (voir page 4).
3.2 Mise en service rapide
Votre chaudiere est preréglée pour assurer :
- Une température ambiente de comport de 20^ entre 6h00 et 22 h00 du lundi au vendredi, et entre 7h00 et 23h00 le samedi et le dimanche.
- Une température ambiante d'économie) (ou réduit) de 16^ , la nuit entre 22h00 et 6h00.
- Une température d'eau chaude sanitaire (ouallon) de 55^ entre 6h00 et 22h00 (modèle Bi et BVi uniquement).
Pour une mise en service rapide et un fonctionnement selon ce préroglage, il vous suffit de mettre l'appareil à l'heure et au jour.
Commentmettrevoretregulationa l'heureet au jourde la semaine
Réglage de l'heure :
Réglage du jour :
1 - Ouvrir la porte de votre module d'ambiance pour activer le mode programmation des trois touches

En cas de fausse manoeuvre, l'action de fermer puis rouvrir la portedu module permit de reprendre la procEDURE au début.
2 - Chercher le critère "HEURE " en appuyant sur la touche

3 - Allumer la lampe roug en appuyant sur la touche

4 - Modifier l'heure en appuyant sur les touches

5 - Eteindre la lampe rouge appuyant sur la touche pour valider la modification

Le réglage de l'heure est terminé.
2 - Chercher le critère "JOUR" en appuyant sur les touches

3 - Allumer la lampe rouge en appuyant sur la touche

4 - Modifier le jour en appuyant sur les touches

5 - Eteindre la lampe rouge appuyant sur la touche pour valider la modification

Le réglage du jour est terminé, refermer la porte. La mise en service est terminée, votre comport est assure, toutefois, si vous désirez le personneliser, reportez-vous au paragraph 3-3.
La port du module d'ambiance est fermée. Appuyer sur la touche 山 pour désir un des 5 fonctionnements possibles. Chaque impulsion fait defiler l'affichage d'un fonctionnement à l'autre.

You've le choix entre les fonctionnements suivants :
Veille:
Le chauffage (et la production d'eau chaude) sont à l'arrêt, mais votre habitation reste sous le contrôle des fonctions "hors gel" ( cette fonction ne dispense pas des précautions habituelles contre le gel) et "température d'absence" si cette consigne est programmée. C'est le régime qui convient si vous quitterze leur domicile pour une durée indéterminée et que vous ne souhaitez pas "maintenir le chauffage".
Confort permanent :
La température ambiente suit un niveau de comport et la production d'eau chaude est activée en permanence. Notre chauffage assurera un comport proche de 20^ 24h/ 24h.
Programmé:
Le régime conformerne avec le régime réduit selon un programme horsaire préétabli. C'est le régime de comport d'un logement habité avec abaisissement de température durant les périodes d'absence et de sommeil.
)Réduit permanent :
La température ambiente suit un niveau réduit et la production d'eau chaude est désactivée en permanence. Le chauffage est maintainu proche de 16^24h / 24h sans eau chaude sanitaire.
ECS (Eau Chaude Sanitaire) permanent :
Le chauffage est arrêté et la fonction eau chaude sanitaire est activée en permanence. Vous pouvez sélectionner ce régime si vous ne poulez pas de chauffage mais uniquement de l'eau chaude sanitaire. C'est le régime qui convient en été.
Mode "MANUEL": (disponible qu'à partir de la version 8809)
Le chauffage est contrôle par une consigne de température chaudière régle par le bouton du module d'ambiance.
3.3.2 Fonctions de la touche /) : dérogation manuelle du programme
1 Si vous quitterez votre domicile momentanément (quelques heures par exemple) et que vous pouze que leur chauffage passé en régime réduit économique, vous pouze appuyer sur le bouton d'ambiance.
Le chauffage sera maintainu proche de 16^ jusqu'à une nouvelle impulsion ou jusqu'à la période de chauffage de comport suivante.
2 Si vous vous couchez plus tard que prévu (réception d'amis par exemple) et que votre chauffage est passé en régime réduit, vous pouvez, sans modifier votre programme, passer en régime comport par une impulsion sur la touche
Le chauffage sera maintenu proche de 20^ et l'eau chaude sanitaire proche de 55^ jusqu'à une nouvelle impulsion ou jusqu'au cycle de chauffage réduit suivant.
3 Si vous souhaitez avoir plus d'eau chaude sanitaire en dehors des heures de comport programmesées procédez comme en 2.
Le clignotement du témoin de régime *ou)indique que la dérogation est active.

Ces programmes d'origine pourront etre rappelés ulterieurement (p. 12).

1.CHERCHER
le critère à régler dans le menu dérouulant ci-dessous à l'aide des touches + et
| CRITERES
(en boucle) | DEFINITIONS | STANDARD
(Régl. d'origine) | PLAGE de REGLAGE
(pour l'utilisateur) |
| NB-J-ARRET | Nombre de jours de congés | 00 | 00 / 99 |
| TECHNICIEN | Code d'accès au niveau "Installateur" | 0000 | Code |
| STANDARD | Retour aux réglages d'origine | 00 | 00 / 01 |
| INFOBALLON | Indication de température d'eau chaude sanitaire | Affichage ---°C | |
| PRESS EAU | Indication de la pression eau de l'installation en bar
(la chaudière doit être équipée du pressostat d'eau) | Affichage ---bars | |
| INFO-T-EXT | Indication de la température extérieure | Affichage ---°C | |
| HEURE | Actuelle | 10:00 | 00:00 / 24:00 |
| JOUR | Actuel | LUNDI | LUNDI à DIMANCHE |
| T-AMBIANTE | Température de comfort souhaitée | 20°C | 10 / 40°C |
| T-REDUITE | Température d'économie souhaitée | 16°C | 10 / 40°C |
| T-ABSENCE | Température d'absence souhaitée | ---- (inactive) | 5 / 15 °C ----, 5 / 15 °C |
| T-BALCON | Température d'eau sanitaire souhaitée | 55°C | 10 / 60°C |
| PROG... | Jour(s) d'application de programme | LU-VE (SA-DI) | LU-DI, LU, MA, ME... |
| DEBUT 1 | | 06:00 (07:00) | -- : -- / 00:00 / 24:00 |
| FIN 1 | | 22:00 (23:00) | -- : -- / 00:00 / 24:00 |
| DEBUT 2 | Heures de début et de fin des périodes
de chauffe du (des) jour(s) d'application | -- : -- (---) | -- : -- / 00:00 / 24:00 |
| FIN 2 | Indiqué(s) ci-dessus à la ligne PROG... | -- : -- (---) | -- : -- / 00:00 / 24:00 |
| DEBUT 3 | | -- : -- (---) | -- : -- / 00:00 / 24:00 |
| FIN 3 | | -- : -- (---) | -- : -- / 00:00 / 24:00 |
En cas de fausse manoeuvre, fermer puis rouvrir la porte du module.
2. REGLER > le «critère» sélectionné :
Allumer la lampe rouge de la touche pour acceder au mode «modification».
Modifier le réglage à l'aide des touches à ou dans la plage indiquée ci-dessus.
Eteindre la lampe rouge de la touche ? pour valider le nouveau réglage.
T-AMBIANTE température de "confort" souhaitée
Préregée d'usine à 20^ , c'est le point "0" de la plage de réglage du bouton en façade du module.
(Témpérature pour les heures de "confort"programmées).
T-REDUITE) température "d'économie" souhaitatione
Prérogée d'usine à 16^ , elle assure une température ambiente d'économie durant l'absence ou le sommeil. (En dehors des heures de "confort" programmes).
T-ABSENCE température "d'absence" souhaitatione
Inactive par défaut, elle permet si elle est régée à une valeur entre 5^ et 15^ , que le chauffage de votre habitation soit maintainu à la température régée à ce (2) paramètre. Fonction active uniquement en mode veille
T-BALLON: température "d'eau sanitaire" souhaitiée
Prépréglée d'usine à 55^ , elle assure la préparation d'eau chaude sanitaire,pendant les heures de "confort" programmes). Il est possible de selectionner une production d'eau chaude sanitaire 24h00/24h00.
Après avoir validé ce réglage, vous pouvez reférer la porte ouCHOISIR un autre critère à régler.
On procède de la même manière pour la température réduite et la température du gallon.

Ouvrir la portedu module
Toute modification de programme horsaire commence à la ligne PROG-LU-VE par l'affichage des jours concernés par ce programme soit :
LU-DI: les 7 jours de la semaine sont identiques
LU-VE: les 5 jours de lundi à vendredi sont identiques
SA-DI: les 2 jours samedi et dimanche sont indentiques
LUNDI:seul le jour sélectionné est concerné (LUNDI, MARDI, etc.)
Qu'est ce qu'un programme hora?
C'est l'ensemble des périodes de la journee ou vous souhaitez Brokerir la température ambiente de comfort et la production d'eau chaude sanitaire.
1 Prenons l'exemple du programme horsaire standard du lundi au vendredi soit :
Visualisation à l'écran

Ce programme délivre :
de 6h00 à 22h00 : une température de comport et une production d'eau chaude sanitaire,
le reste du temps: uniquement une température réduite.
1 Affichage des jours concernés

NOTA : les jours d'application proposés sont justement ceux que nous recherchons, inutile donc de modifier, passons au critère suivant.
2 Modifier le début de 1ère période de comport


3 Modifier la fin de la 1ère période de comport

4 Creer le début de la 2ème période de comport


5 Créer la fin de la 2ème période de comport

Pour régler les heures de début et de fin de la 3ème période de comport, respectivement 18 h et 22 heures, procéder exactement comme pour la 2ème période.
A l'inverse de l'exemple ci-dessus, on remplace les heures de début et de fin par "----" situé dans la boucle de défilament des heures entre 24:00 et 00:00
Exemple : pour supprimer la période 2, on replacera


EXAMPLE:
PROGRAMME
SOUHAITE
Jours concernés

rnnnne aannnnnne
1
:

1 Affichage des jours concernés

3 Modifier le début de la 1ère période de comport
Proceder de la même manière pour programmer la fin de la période de comport.

Retour au programme standard
Vous vous sentez perdu dans vos réglages et vous souhaitez recommencer à partir du programme standard d'usine. Le retard aux réglages d'usine annule tous les réglages personnels, les valeurs et les programmes préréglés (6 h/22 h) sont à nouveau actifs.
Ovrir la porte du module
Dès que le retour aux réglages d'usine est effectif "STANDARD 00" revient à l'écran.

Appuyer sur les touches
Pendant une absence longue, le programme congés permet d'interrompree, puis reactiver avant votre retard, le régime de chauffage en cours.
La durée se programme en nombre de jours, durant lesquels, le chauffage et l'eau chaude sanitaire sont à l'arrêt avec programme hors gel*. L'écran affiche le symbole
Le décompte du nombre de jours inclut le jour en cours.
Par exemple, il est vendredi et on programme NB-J-ARRET = 3. Alors la chaudièrerette immédiatement en mode veille ⑦ et revienda au mode ⑤ le lundi suivant à 00:00 heures.
- Cette fonction ne dispense pas des précautions d'usage contre les risques de gel (en cas de dysfonctionnement).
NOTA : Un boîtier de commande téléphonique est livrable en option, il permet de piloter et d'interroger à partir de votre téléphone la température du logement.
3.4 Mise à l'arrêt
. Appuyer sur l'interrupteur Marche/Arrêt (6).
. Debrancher l'alimentation électrique, le voyant (5) s'étéint.
. Fermer le(s) robinet(s) de barage (fioul ou gaz) sur les tuyauteries d'alimentation en combustible.

Tableau de commande chaudière fioul selon modèle

Appuyer sur les touches A I'ecran apparait

Tableau de commande chaudière gaz selon modele
4 CE QU'IL NE FAUT PAS FAIRE
- Ajouter de l'eau en permanence en cas de fuite légère (entertrage dangereux de la chaudière).
- Ne pas réarmer sans avoir rechercher la cause de l'anomalie ayant déclenché un code erreur.
- Ne pas obturer l'arrivée d'air frais à l'arrier de la chaudière pour la version cheminée.
- Ne pas chercher des fuites de gaz à l'aide d'une flamme: employer de l'eau savonneuse.
BAXI France
Télécopie : + 33 (0)1 45 91 59 50
BAXIS.A.
S A au capital de 43 214 640 €
RCS Bobigny B 602 041 675 A.P.E 282 D