E140.3-9 PAD X-TRA - Nettoyeur haute pression NILFISK - Notice d'utilisation et mode d'emploi gratuit
Retrouvez gratuitement la notice de l'appareil E140.3-9 PAD X-TRA NILFISK au format PDF.
| Type de produit | Nettoyeur haute pression |
| Pression maximale | 140 bars |
| Débit d'eau | 500 litres/heure |
| Alimentation électrique | 230 V |
| Puissance | 2100 W |
| Dimensions approximatives | 34 x 39 x 87 cm |
| Poids | 12 kg |
| Longueur du câble électrique | 5 mètres |
| Type de lance | Lance avec buse réglable |
| Accessoires inclus | Brosse rotative, nettoyant pour surfaces, filtre à eau |
| Fonctions principales | Nettoyage de surfaces extérieures, voitures, terrasses |
| Entretien et nettoyage | Rinçage régulier des filtres, vérification des joints |
| Pièces détachées et réparabilité | Disponibilité de pièces détachées via le service après-vente |
| Sécurité | Protection contre la surchauffe, interrupteur de sécurité |
| Garantie | 2 ans |
FOIRE AUX QUESTIONS - E140.3-9 PAD X-TRA NILFISK
Questions des utilisateurs sur E140.3-9 PAD X-TRA NILFISK
Si votre nettoyeur haute pression NILFISK E140.3-9 PAD X-TRA ne redémarre pas instantanément après avoir relâché la poignée et que la pression n'atteint pas son maximum, plusieurs causes peuvent expliquer ce comportement :
1. Présence d'air dans le système
Lorsque de l'air est emprisonné dans la pompe ou le tuyau, cela peut empêcher le moteur de redémarrer rapidement et réduire la pression. Pour purger l'air :
- Ouvrez la lance de pulvérisation pour laisser l'eau s'écouler librement.
- Attendez que l'eau coule sans interruption d'air avant de refermer la lance.
2. Vérification du débit d'eau
Un débit d'eau insuffisant peut entraîner une baisse de pression et un redémarrage lent :
- Assurez-vous que la source d'eau fournit un débit suffisant et que le tuyau d'arrivée n'est ni plié ni obstrué.
- Contrôlez que le filtre d'entrée d'eau, s'il y en a un, est propre et dégagé.
3. Température et qualité de l'eau
Utiliser de l'eau trop chaude ou contenant des impuretés peut affecter le fonctionnement :
- Utilisez de l'eau froide ou tiède, jamais chaude.
- Évitez l'eau contenant des particules qui pourraient obstruer la pompe.
4. Pression et fonctionnement de la pompe
Le mécanisme interne de la pompe peut nécessiter un entretien :
- Si la pompe est usée ou endommagée, elle peut ne pas maintenir la pression maximale.
- Un entretien ou une vérification par un professionnel peut être nécessaire si les problèmes persistent.
5. Mode d'utilisation
Le nettoyeur haute pression est conçu pour s'arrêter automatiquement lorsque la poignée est relâchée, ce qui peut expliquer un délai avant le redémarrage :
- Après avoir relâché la poignée, il est normal que le moteur s'arrête pour économiser de l'énergie.
- Le redémarrage peut prendre une seconde ou deux, surtout si la pression a chuté.
En suivant ces conseils, vous devriez pouvoir améliorer le redémarrage et la pression de votre nettoyeur NILFISK E140.3-9 PAD X-TRA. Si le problème persiste, un contrôle technique peut être nécessaire.
Téléchargez la notice de votre Nettoyeur haute pression au format PDF gratuitement ! Retrouvez votre notice E140.3-9 PAD X-TRA - NILFISK et reprennez votre appareil électronique en main. Sur cette page sont publiés tous les documents nécessaires à l'utilisation de votre appareil E140.3-9 PAD X-TRA de la marque NILFISK.
MODE D'EMPLOI E140.3-9 PAD X-TRA NILFISK
1.1 Symboles utilisés pour le signalement des instructions 102
2 Mesures de sécurité et techniques de travail 102
3 Avant d'utiliser votre nettoyeur haute pression 109
3.1 Montage de la poignée de chariot, le crochet de tuyau et le dévidoir tuyau... 109
3.2 Montage de la fixation rapide 109
3.3 Poignee telescopique 109
4 Utilisation de votre nettoyeur haute pression 110
4.1 Branchement du flexible haute pression 110
4.2 Montage de la lance de pulverisation et des buses « Click&Clean » 110
4.3 Raccordement à l'eau 110
4.4 Demarrage de votre nettoyeur haute pression 111
4.5 Reglage de la pression de la buse TORNADO®PR 111
4.6 Utilisation stationaire 111
5 Applications et méthodes de travail 112
5.1 Généralités 112
5.2 Applications typiques 113
6Après l'utilisation du nettoyeur haute pression 114
6.1 Arrêt de votre nettoyeur haute pression 114
7 Maintenance 114
8 Diagnostic des problèmes et dépannage 115
9 Accessoires et produits de nettoyage 117
10 Conditions de garantie 117
11 Caracteristiques techniques principales 118
12 Declaratio CE de conformite 119
1 Introduction
1.1 Symboles utilisés pour le signalement des instructions
Tous les pictogrammes présents sur le nettoyeur haute pression et ses composants sontprésentés et expliqués dans le present manuel.

Il y a lieu de respecter les consignes de sécurité indiquées par ce symbole afin de prévenir toute blessure aux personnes ou dégats matériels graves.

Soyez particulièrement prudent lorsqu'il existe un risque d'endommagement de la machine ou de ses composants.

Ce symbole signale les conseils et instructions qui simplifient le travail et garantissant une utilisation sère du nettoyeur haute pression.
2 Mesures de sécurité et techniques de travail

Veuillez lire attentivement ce manuel d'utilisation avant la première utilisation de votre machine. Conservez les instructions pour consultation ultérieure.

Attention!
- L'inhalation d'áerosols peut être dangereuse pour la santé. Lorsque cela s'applique, utilisez un dispositif adapté (par exemple un écran couvrant la buse) pour prévenir ou réduire la formation d'áerosols. Portez un masque respiratoire de classe FFP 2 ou plus élevé pour vous protégger des aérosols.
- La pression d'eau elevée généree par la machine ainsi que l'alimentation electrique représentent des sources particulieres de danger.
- Les enfants devront être surveillés pour faire en sorte qu'ils ne jouent pas avec la machine.
- Avant de démarrer votre machine, contrôlez systématique et soigneusement l'absence de défaut. Si vous constatEZ un défaut, ne démarrez pas la machine et contactez votre distributeur Nilfisk. L'isolation du cable électrique ne doitprésenter ni dommage ni fissure. Si le cable électrique est endommagé, faites-le réparer par un distributeur/agréé Nilfisk.
- L'opérateur ainsi que toute personne se trouvant à proximé immediate doivent prendre des mesures afin d'éviter d'être heures par des débris détachés sous l'effet du nettoyage.
- Débranchetzousjours le cable d'alimentation de la
prise de courant pendant le nettoyage ou la maintenance, quand vous remplacez des pieces ou si vous affectez la machine à une autre fonction.
- Respectez les règles de sécurité nationales imposées par exemple par le groupement des assurances de responsabilité des employeurs, les institutions de sécurité sociale, les autorités de sécurité et de santé au travail et les autres organisations.

Accessoires et pieces de rechange
- Pour assurer la sécurité de la machine, utilisez uniquement des pieces de rechange Nilfisk originales ou approvées par Nilfisk.
- Les flexibles, raccords et accouplements haute pression sont importants pour la sécurité de la machine. Utilisez exclusivement les flexibles, raccords et accouplements recommendés par Nilfisk.

État physique, sensoriel ou mental
- Cette machine n'est pas destiné à être utilisé par des personnes (enfants inclus) aux capacités physiques, sensorielles ou mentales réduites, ou manquant d'expérience ou de connaissances.
- Les personnes qui ont consommé de l'alcool, des médicaments ou des drogues qui pouraient influencer leur capacité de réaction ne doivent pas utiliser la machine.

Applications
La machine a eté concue pour une utilisation domestique.
- Elle permet de nettoyer les voitures, motos, bateaux, caravanes, remorques, patios/allées/dalles, boiseries, maçonneries, barbecues, meubles de jardin, tondeuses.
Toute autre utilisation est considérée comme non-conformé. Nilfisk ne pourrait pas être tenu pour responsable des dommages liés à une utilisation incorrecte. Ce risque est uniquement supporté par l'utilisateur. L'utilisation correcte inclut le bon fonctionnement, la
maintenance et les réparations spécifiés dans ce mode d'emploi.
Vêtements et équipement
Prenez toujours les mesures nécessaires pour vous protégérer lorsque vous utilisez la machine.
- Portez des chaussures avec des semelles antidérapantes.
- Portez des lunettes, une protection auditive et des vêtements de protection lorsque vous faites fonctionner la machine.

Transport du nettoyeur haute pression
- Lorsque vous transportez la machine dans un vehicule, sécurisez-la à l'aide par exemple de sangle, afin d'eviter qu'elle ne glisse ou bascule.
- Nilfisk vous recommende de placer la machine à l'horizontal et sur la face arrêté lorsque vous la transportez dans un vehicule.

Detergents
- Cette machine a eté conçue pour une utilisation avec les décapants fournis ou recommends par Nilfisk. L'utilisation d'autres décapants ou produits chimiques peut avoir un effet négatif sur le fonctionnement de la machine.

Avant de commencer le travail Inspection de la machine
- N'utilisez pas la machine si le cable d'alimentation ou autres éléments importants de la machine sont endommages, par exemple le dispositif de sécurité, le flexible haute pression, la poignée gachette et les accessoires de pulvérisation.
- La gâchette de la poignée gâchette doit pouvoir être actionnée facilement et returner dans sa position d'origine une fois relâchéée.
- Le flexible haute pression et les accessoires de pulverisation doivent toujours être en bon état (propres, mouvement aisé) et assemblés correctement.

Raccordement électrique
Attention
Minimisez le risque de chocolélectrique.
- La tension et la fréquence de la machine (voir plaque signalétique) doit correspond à la tension et à la fréquence de l'alimentation principale.
- Connectez la machine uniquement à une installation électrique réalisée par unElectricien certifié et conforme à la norme CEI 60364-1.
- L'alimentation électrique de la machine devrait inclure un dispositif de courant résiduel qui interrompra l'alimentation si une fuite à la terre de plus de 30mA pour 30ms est détectée.
- Des cables de rallonge inadaptés peuvent partager une source de danger. Si un cable de rallonge est utilisé, il devra convenir pour une utilisation en plein air, et le raccordement doit être gardé au sec et ne doit pas reposer à terre.
- Nilfisk recommende l'utilisation d'un cable de rallonge sur enrouleur afin que la prise se trouve toujours au moins à 60 mm au-dessus du niveau du sol.
- Si le cable est sur un enrouleur, déroulez-le toujours complètement pour éviter qu'il ne surchauffe. Les cables de rallonge doivent répondre aux exigences cédessous en termes de longueur et de section :
1,0 ~mm^2 Max. 12,5 ~m
1,5 mm² Max. 20,0 m
2,5 ~mm^2 Max. 30,0 ~m
Si le cable électrique est endommagé, il doit être remplace par un distributeur Nilfisk agrée ou une personne qualifiée similaire afin de prévenir tout risque.

Raccordement à l'eau
- Il vous est uniquement permis de raccorder ce netto-yeur haute pression aux prises principales d'eau potable si un dispositif anti-refoulement approprié a été installé (type BA selon EN 60335-2-79).
-
Le dispositif anti-refoulement peut être commandé sous les références 106411177.
-
Dès que l'eau a franchi le dispositif anti-refoulement, elle sera considérée comme de l'eau non potable.
- Le fonctionnement par aspiration (par exemple depuis un réservoir d'eau de pluie) est effectué sans dispos-tif anti-refoulement - voir « Raccordement à une alimentation en eau sous-pressurisée ».

IMPORTANT!
Utilisez exclusivement de l'eau ne contenant pas d'im-puretés.
S'il y a un risque d'écoulement de sable dans l'eau d'alimentation (par exemple de votre propre puits), il convient de monter un filtré supplémentaire.
Pendant l'utilisation

Attention!
- N'utilisez jamais la machine dans un environnement comportant un risque d'explosion. Dans le doute, renseignez-vous auprès des autorités locales.
- Il est interdit de nettoyer sous haute pression la surface d' éléments renfermant de l'amiente.
- N'aspirez jamais des liquides contenant des solvants (par exemple de l'essence, du fioul, du diluant pour peinture ou de l'acétone). Ces substances endommagent le matériel au utilisé à l'intérieur de la machine. Les vapeurs sont fortement inflammables, explosives et toxiques.
- Ne dirigez jamais le jet d'eau vers vous-même, vers d'autres personnes et n'essayez jamais de nettoyer des vêtements ou chaussures - risque de blessure.
- Ne dirigez jamais le jet d'eau vers des animaux de =ompagnie ou d'autres espèces.
- Ne dirigez jamais le jet vers l'équipement sous tension de la machine - risque de court-circuit.
- Tenez la lance de pulverisation fermement des deux mains. La lance de pulverisation subit une poussée de 16,4 N lorsque la machine est en fonctionnement.
- Le nettoyeur haute pression ne doit pas etre utiliser lorsquela température est inférieure a 0^

- Ne démarrez jamais une machine gelée. Les dommages causés par le gel ne sont pas couverts par la garantie!
- Veillez toujours à porter des chaussures stables et sûres.
- Placez la machine aussi loin que possible de l'objet à nettoyer.
- Réglez toujours la distance et la pression de la buse en fonction de la surface à nettoyer afin d'eviter de l'endommager.
- La machine doit être utilisée en position verticale.
- Ne couvrez pas la machine et ne l'utilisez pas dans une piece où la ventilation est insuffisante.
- si la machine n'est pas utilisé pendant plusieurs minutes, vous doivent l'arrêter à l'aide du contrôleur marche/arrêt "O" (1).

Après l'utilisation
Attention!
- Coupez toujours la machine et débranchez-la une fois le travail terminé ou lorsque vous laissez la machine sans surveillance.
- Débranchez le flexible de l'alimentation d'eau entre la machine et l'alimentation d'eau.
- Enroulez le cable électrique et le flexible haute pression afin d'éviter d'endommager le cable, la prise, le flexible haute pression et les fixations.
- Vidangez toujours l'eau qui se trouve dans la pompe, le flexible et les accessoires de la machine avant de l'entreposer.
Maintenance et réparations

Attention!
- Débranche toujours la prise avant de procéder à des travaux de maintenance, de nettoyage et de réparation.
- Toute réparation doit être effectuée par un atelier agreé Nilfisk à l'aide de pieces de rechange originales
Nilfisk.
- N'essayez jamais d'effectuer des travaux de maintenance qui ne sont pas décrits dans ce mode d'emploi.
- Si la machine ne démarre pas, s'arrête ou vitre, si la pression fluctue, si le moteur saccade, si le fusible grille ou si aucune eau ne coule, consultez le schéma Diagnostic des problèmes de ce mode d'emploi. En cas d'autres problèmes, contactez votre distributeur Nilfisk local.

Recyclage du nettoyeur haute pression
Mettez immédiatement l'ancienne machine hors d'usage.
- Débranche la machine.
- Coupe le cable électrique.
Ne jetez pas les apparciels électriques avec les déchets domestiques. Comme précisé dans la Directive WEEE 2012/19/CE sur les apparciels électriques et Electroniques usages, les équipements électriques usés doivent être collectés séparément et recyclés de manière écologique. Contactez votre administration locale ou votre distributeur le plus-Proche pour de plus amples informations.
3 Avant d'utiliser votre nettoyeur haute pression

Voir le guide de referencia rapide illustré - Déballage. Les illustrations représentent les éléments de fonctionnement ainsi que la manière de préparer votre machine pour l'utilisation.
Éléments de fonctionnement
- Interrupteur marche/arrêt
- Entrée d'eau avec filtré
- Raccord haute pression (modèles sans dévidoir tuyau seulement)
- Flexible haute pression
- Câble électrique
- Lance de pulverisation « Click&Clean »
- Lance de pulverisation avec verrouillage (7a)
- Buse Tornado PR « Click&Clean »
- Buse Powerspeed « Click&Clean »
- Pulvérisateur à mousse
- Outil de nettoyage de la buse
- Dévidoir tuyau (en option)
- Plaque signalétique
- Poignée de chariot (poignée téléscopique)
- Crochet pour tuyau
- Clé hexagonale pour le montage de la poignée et du support
- Bouton pour poignée téléscopique
- Crochet de cable enroulable
- Raccord rapide
3.1 Montage de la poignée de chariot, le crochet de tuyau et le dévidoir tuyau
Montage de la poignée de chariot et le crochet de tuyau
A1 Appliquez la poignee de chariot (14) sur les deux tubes métalliques. Assurez-vous que la poignée est montée comme sur l'illustration. Montez les vis avec les écrous (assurez-vous que les vis traversent aussi bien la poignée que le tuyau).
A2 Montez le crochet de tuyau (15) sur la machine (avec 2 vis).
Montage de la poignée de dévidoir (modèles pourvus de dévidoir tuyau)
A3 Enoncez la poignee du devidoir tuyau dans la poignee de chariot jusqu'au clic (aucune vis nécessaire).
3.2 Montage de la fixation rapide

A4 Lorsque you montez la fixation rapide pour la premiere fois, vérifie que le filtré (2a) installed en usine se trouve bien dans le tuyau de l'entrée d'eau.
A5 Vissez fermement la fixation rapide sur I'entrée d'eau (2).
IMPORTANT!
Le filtr de l'entrée doit toujours etre fixe sur le tuyau de I'entree d'eau afin de proceder au
filtrage du sable, du calcaire et des autres impuretés, car ces derniers pourraient endom
mager les soupapes de la pompe. Le filtr est installe en usine.
La non installation du filtr re entraine la nullite de la garantie.
3.3 Poignée téléscopique
A6 La machine est munie d'une poignée téléscopique. Pour monter ou baisser la poignée, enforcez le bouton tout en déplaçant la poignée vers le haut ou vers le bas. Un clic signale la bonne position de la poignée.
4 Utilisation de votre nettoyeur haute pression

Voir le guide de referencia rapide illustré - Utilisation de votre nettoyeur haute pression.
4.1 Branchement du flexible haute pression
B1 Fixez le flexible haute pression (4) sur la poignee de pulverisation (7). Retirez le tuyau haute pression en appuyant sur le cliquet (A).
B2 Montez le flexible haute pression sur l'entrée (3).
4.2 Montage de la lance de pulverisation et des buses « Click&Clean »
B3 Poussez la lance de pulverisation (6) sur la poignée de pulverisation (7) et vissez-la.

REMARQUE!
La lance de pulverisation est équipée d'une buseasse pression qui peut servir a rincer la saleté.
B4 Lors de l'installation des buses (8, 9), enforcez-les bien dans la lance de pulverisation.

IMPORTANT!
Lorsque vous avez fixé les buses « Click&Clean», assurez-vous que le cliqueit situé sur le côte de la lance de pulverisation est bien ressorti. La buse ne doit pas bouger lorsque vous tirez dessus.
B5 Fixez le pulverisateur à mousse (10) sur la lance de pulverisation (6).

REMARQUE!
Le pulverisateur à mousse est équipé d'un verrouillage pivotant qui doit être inséré dans le trou de la lance de pulverisation « Click&Clean ». Appuyez sur le cliquet pour-retirer les buses « Click& Clean » et le pulverisateur à mousse.

IMPORTANT!
Avant de commencer les travaux de nettoyage, vérifie que la machine se trouve bien à la verticale et qu'elle est placée sur une surface plane. Ne placez pas la machine dans de l'herbe haute.
4.3 Raccordement à l'eau

IMPORTANT!
Raccordement à une alimentation en eau pressurisée
La pression d'alimentation en eau maximale est de 1 MPA/10 bars. La température de l'eau ne doit pas dépasser 60^ . Voir plaque signalétique. Un tuyau de jardin 1/2 » ordinaire d'une longueur minimale de 10m et maximale de 25m sera parfait.

B6 Vérifiéz que le filtré est inséré dans le tuyau de l'entrée d'eau et qu'il n'est pas bouché.
B7 Branchez le tuyau d'eau à l'alimentation en eau à l'aide de la fixation rapide. Ouvrez l'eau.

Raccordement à une prise d'eau potable conformément aux règlementations nationales et locales.
Laissez l'eau s'écouler à travers le tuyau d'eau avant de brancher la machine afin de prévenir toute PENetration de sable ou de saleté dans la machine.
B8 Coupez l'eau et branchez le tuyau d'eau sur I'entree d'eau a I'aide de la fixation rapide.

Raccordement à une alimentation en eau sous-pressurisée

La machine peut également fonctionner en mode aspiration, ce qui signifie que vous pouvez la connecter par exemple à des réservoirs d'eau de pluie, des rivieres, des lacs, des citernes etc. Le dispositif anti-refoulement n'est pas nécessaire si vous alimentez la machine avec de l'eau non-potable.
Lorsque vous branchez la machine à des alimentations en eau sous-pressurisées, utilisez toujours un système de filtration supplémentaire afin qu'aucune impureté ne soit aspirée. Le tuyau doit posseder une longueur maximal de 3 metres et une section minimale de 12 .
Pour répondre à ces exigences, Nilfisk vous recommende d'utiliser le tuyau d'aspiration Nilfisk d'origine.
La machine est donc pour aspirer à une hauteur maximale de 50 cm au-dessus du niveau d'eau.
- Placez la machine à une hauteur maximale de 50 cm par rapport au niveau d'eau. Retirez le flexible haute pression de l'entrée d'eau.
- Vérifiez que le filtré d'entrée se trouve à sa place et fixez le tuyau d'aspiration. Sécurisez-le fermement sur l'entrée d'eau.
- Allumez la machine, et place l'interrupteur marche/arrêt (1) sur la position « T ».
- Attendez jusqu'à ce qu'un jet continu sorte de la machine.
- Coupez la machine et fixez le flexible haute pression (4), la poignée gachette, la lance et la buse.
Redémarrez la machine et actionnez la poignée gachette.
4.4 Demarrage de votre nettoyeur haute pression

IMPORTANT!
Raccordement à l'alimentation électrique principale
La tension et la fréquence de la machine (voir plaque signalétique (14)) doit correspondre à la tension et à la fréquence de l'alimentation électrique.
L'impédance maximale autorisée pour la connexion du nettoyeur haute pression à l'installation électrique est de 0,29+j0,18Ω (Zmax). Contactez notre distributeur pour vous assurer que l'équipement est connecté à une alimentation de cette impédance ou inférieure.

B9 Branchez la prise.
B10 Ouvrez l'eau.
B11 Retirez le verrouillage de la gâchette (7a). N'oubliez pas de débrancher et couper le nettoyeur haute pression ainsi que de verrouiller la gâchette lorsque vous laissez le nettoyeur haute pression sans surveillance.
B12 Activez la gachette de la poignee gachette et laissez couler I'eau jusqu'à ce que I'integralité de I'air se soit échappée du tuyau d'eau.
B13 Allumez la machine en plaçant l'interrupteur marche/arrêt sur la position « I »

B14 Actionnez la gâchette de la poignée gâchette. La machine s'arrête automatiquement lorsque vous relâchez la gâchette de la poignée gâchette. La machine redémarrera lorsque vous appuierez à nouveau sur la gâchette de la poignée gâchette.
4.5 Réglage de la pression de la buse TORNADO®PR
B15 La buse TORNADO®PR permet de régler la pression.
4.6 Utilisation stationaire
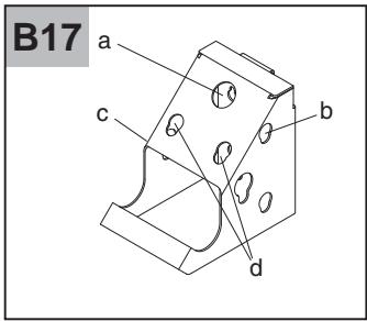
B16 En utilisant un crochet mural spécial (optionnel), le nettoyeur peut etre utiliser sans qu'il soit decroché du mur.
Assurez-vous que le mur est suffisamment solide avant de monter le crochet mural.
Choisissez la longueur des vis et la taille des chevilles en fonction du type de mur.
B17 Le crochet mural permit de ranger une Brosse de jardin/pour jantes (a), un pulverisateur à mousse (b), une Brosse Click & Clean (c) et buses Click & Clean (d).
5 Applications et méthodes de travail
5.1 Généralités
Vous obtiendrez un nettoyage haute pression efficace en combinant les conseils suivants avec votre experience personnelle des différentes tâches de nettoyage. Le bon choix d'accessoires et de produits de nettoyage permet d'optimiser les performances de votre laveuse à pression. Voici quelques informations de base sur le nettoyage.
5.1.1 Produits de nettoyage et mousse
Mousse et produits de nettoyage doivent être appliqués sur des surfaces sèches afin que le produit chimique entre en contact direct avec les saletés à nettoyer. Appliquez les produits de nettoyage d'en bas vers le haut, par exemple sur une carrosserie de voiture, pour éviter des zones "super propres" où le produit s'accumule et coule vers le bas. Laissez le produit de nettoyage agir pendant plusieurs minutes avant de rincer, mais ne le laissez jamais sécher sur la surface à nettoyer. Remarque : il est important de ne pas laisser sécher le produit de nettoyage. Autrement, vous risquez d'abîmer la surface nettoyée.
5.1.2 Effet mecanique
Pour éliminer des couches épaisées de saleté, il peut s'avérer nécessaire d'ajouter un effet mécanique. Certaines brosses de nettoyage offrent cet effet supplémentaire (particulièrement adapté au lavage de voitures), qui pénétre les saletés.
5.2 Applications typiques
Voutrouvrez ci-dessous une description de nombreuses tâches de nettoyage qui peuvent être assu- rées par une laveuse à pression Nilfisk associée à des accessoires et produits de nettoyage.
| Tâche | Accessoires 'Click & Clean' | Méthode de nettoyage |
| Voiture | Buse auto,rosse auto,buse pour train roulant,pulvérisateur à mousse,Car Combi Cleaner | 1. Appliquez Car Combi Cleaner avec le pulvérisateur à mousse.Nettoyez toujours du bas vers le haut. Laissez Car Combi Cleaner agir pendant au moins 5 minutes.2. Lavez la voiture avec la buse auto qui a été conçue pour un nettoyage en douceur et rapide de surfaces émaillées (le jet est plus large et moins concentré). Commencez par le devant de la voiture et avancez vers l'arrière pour éviter que l'eau ne pénétre dans l'intérieur par les moulures des portes.3. Servez-vous de la brosse pour enlever d'éventuelles saletés qui n' ont pas été éliminées par la buse. Si la voiture est très sale, appliquez Car Combi Cleaner une deuxième fois.4. Fixez la buse pour train roulant et nettoyez le train roulant et les passages de roue.5. Enlevez l'eau de la surface de la voiture à l'aide du racloir sur la brosse auto. Assurez-vous de l'absence de sable etc. sur la surface avant d'utiliser le racloir. Utilisez une peau de chamois pour essuyer les endroits inaccessibles par le racloir. |
| Jantes,aluminium | Brosse pour jantes,buse auto,atomiseur,Alu Cleaner | Appliquez Alu Cleaner à l'aide d'un atomiséur. Laissez agir pendant env. 5 min, puis nettoyez avec la brosse pour jantes. Pour des jantes en aluminium, utilisez Car Combi Cleaner. Utilisez le pulvérisateur à mousse et nettoyez avec la brosse pour jantes. Attention! Le jet à haute pression peut endommager les pneus. |
| Dalles,sols debéton etd'autressurfacerdures | BusePowerspeed®,Stone & WoodCleaner,Patio Cleaner | Nettoyez en'avanziant vers les sorties. Pour des surfaces couvertes de mousse ou d'algues, commencerz par appliquer Stone & Wood Cleaner à l'aide du pulvérisateur à mousse. Nettoyez avant que le savon ne seche. Il est encore plus efficace et rapide d'utiliser le produit Patio Cleaner, qui permet d'éviter des éclabous-sures. |
| Meubles dejardin, bois | Wood Cleanerbrosse de jardin | Appliquez Wood Cleaner et nettoyez avant que le savon ne seche.REMARQUE:servez-vous de la brosse de jardin pour enlever les saletés. |
| Briques,boiseries | BusePowerspeed®,Stone & WoodCleaner,Patio Cleaner | Mème méthode que pour dalles, mais attention : la haute pres-sion peut endommager joints en mauvais état et boiseries. Son-gez à utiliser exclusivement la buse Tornado®. Ajustez la distance (pression) en fonction de la qualité des joints et des boiseries.Patio Cleaner s'applique également sur les surfaces verticales. |
| Gouttière | Buse pour train roulant | Nettoyez la gouttière avec la buse. Nettoyez en'avanziant toujours vers les tuyaux de descente. Veillez à ne pas pulveriser le produit sous la toiture. |
| Nettoyagede tuyauxde drainage,evacua-tions,tuyaux desdescene | Nettoie-tube | Introduisez le nettoie-tube environ 0,5 m (jusqu'à la marque) dans un tuyau ou drain et enclenchez la gachette de la poignée de pulverisation. L'ouverture de buse tournée vers l'arrêt tire le net-toie-tube à travers le tuyau. La buse éliminera les obstructions et fera partir les saletés vers l'arrêt. |
| Rouille,peinture | Equiplement dedécapage par eau/sable sous pres-sion | Montez l'équipement de décapage permettant d'enlever efficace-ment et rapidement rouille et peinture. Veillez à ne pas abimer la surface à décapier. |
| Serre | Buse Tornado®PR ,brosse, Stone &Wood Cleaner | Nettoyez à haute pression et complétez eventuellement avec une Brosse. Utilisez le produit Stone & Wood Cleaner pour enlever mousse et alges. |
| Outils dejardinage,tondeuses | Buse Tornado®PR,buse Powerspeed®,adaptateur mul-tiangles, MetalCleaner | Faites un premier nettoyage avec la buse. Appliquez Metal Clea-ner à l'aide du pulvérisateur à mousse et laisserz agir pendant env. 5 min, puis lavaze avec la buse. Utilisez l'adaptateur multiangles pour atteindre des zones peu accessibles tout en évitant les écla-boussures. |
6 ÀpRES l'utilisation du nettoyeur haute pression

Voir le guide de referencia rapide illustré - Entreposage de votre nettoyeur haute pression.

Le nettoyeur haute pression doit être entreprises dans une piece non exposée au gel. Si la machine a gelé, vérifie si elle présente des dommages.
6.1 Arrêt de votre nettoyeur haute pression
C1 Coupez l'alimentation en eau, appuyez sur la gachette de la poignee gachette et laissez tourner la machine jusqu'à ce que l'eau arrête de s'écouler par la buse. Cela permettra de rincer le tuyau d'eau, le flexible haute pression, la lance de pulvérisation et les buses.
C2 Arretez la machine en plaçant l'interrupteur marche/arrêt sur la position « 0 ».
C3 Débranche la machine.

IMPORTANT!
Pour éviter tout accident, le cable électrique et le tuyau haute pression doivent toujours être soigneusement enroulés.
C4 Enroulez le cable électrique sur les crochets prevus à cet effet. Le crochet supérieur peut être tourné pour desserrer le cable. Le crochet supérieur a un pince intégré pour un bon maintainen du cable électrique.
C5 La laveuse à haute pression existe en deux modèles : A) avec crochet de rangement du tuyau haute pression (15) - B) avec dévidoir tuyau (12).
C6 Rincez la lance de pulverisation, les buses et le pulverisateur à mousse après utilisation.
C7 Placez la poignée à gachette (f), la lance (a), les buses (b) et le pulverisateur à mousse (c) dans les supports prévus à cet effet sur le nettoyeur haute pression. L'outil de nettoyage pour buse (d) et une Brosse Click & Clean (e) peuvent également êtrerangés sur la machine même.
7 Maintenance

Voir le guide de reférence rapide illustré - Maintenance.

Afin de garantir un fonctionnement sans faillie et une longue durée de vie de votre nettoyeur haute pression, suivez les conseils ci-après :
- Rincez le tuyau d'eau, le flexible haute pression, la lance de pulverisation et les accessoires avant de procéder au montage.
- Éliminez la poussière et le sable qui se trouvent dans les raccords.
Rincez le bidon de détergent et la buse.
Nettoyez la buse
Veillez a ce que le filtr de l'entrée d'eau soit propre et non obstrue.
Nettoyage du filtr de l'entrée d'eau
D1 Nettoyez régulierement le filtr de l'entrée d'eau (une fois par mois ou plus frequentlyment selon l'utilisation).
Dévissez précautionneusement le filtré à l'aide d'un tournevis et nettoyez-le. Vérifiez qu'il est bien intact avant de le remonter.
Nettoyage de la buse
Une obstruction de la buse provoque une augmentation de pression de la pompe. Un nettoyage immédiat est requis.
L'outil de nettoyage de la buse (11) doit uniquement etre utilisesonsque la buse a ete retirée et que la machine est a l'arrêt!
D2 Arrêtez la machine et retirez la buse. Nettoyez la buse.
D3 Retournez la buse et rincez-la avec de l'eau.
Nettoyage des ouvertures de ventilation de la machine
D4 La machine doit toujours être propre afin que l'air de refroidissement puisse passer librement à travers les ouvertures de ventilation de la machine.
Lubrification des joints toriques
D5 Afin de garantir un raccord aisé et d'éviter le desschément des joints toriques, les raccords doivent être lubrifiés régulièrement.
8 Diagnostic des problèmes et dépannage
Pour éviter des démarches inutiles, vous devriez vérifier les points suivants avant de contacter un service/agréé par Nilfisk.
| Problème | Cause | Action recommandée |
| La machine ne veut pas démarrer | La machine n'est pas branchée La prise est déflectueuse Le fusible a sauté Le cable de rallonge est déflectueux | Branchez la machine. Essayez une autre prise. Remplacez le fusible. Éteignez les autres machines. Essayez de faire fonctionner la machine sans le cable de rallonge. |
| Pression fluctuante | Aspiration de la pompe Soupapes sales, usées ou bouchées Joints de pompe usés | Vérifiéz que les tuyaux et raccords sont étanches à l'air. Procédez au nettoyage et au remplacement ou contactez votre distributeur Nilfisk local. Procédez au nettoyage et au remplacement ou contactez votre distributeur Nilfisk local. |
| La machine s'arrête | Le fusible a sauté Tension principale incorrecte Capteur de température activé Buse partiellement bloquée | Remplacez le fusible. Éteignez les autres machines. Vérifiéz que la tension principale correspond à cette indiquée sur la plaque signalétique. Laissez refroidir la machine pendant 5 minutes. Nettoyez la buse (voir point 7). |
| Le fusible saute | Fusible trop faible | Installez un fusible plus élevé que l'ampérage correspondant à la consommation de la machine. Essayez de faire fonctionner la machine sans le cable de rallonge. |
| La machine vibre | Air dans le tuyau/la pompe d'alimentation Alimentation en eau principale inadaptée Buse partiellement bloquée Filtré à eau bloqué Nœud dans le tuyau | Faites fonctionner la machine en appuyant sur la gâchette jusqu'à atteindre la pression de travail normale. Vérifiéz que l'alimentation en eau correspond aux spécifications requises (voir plaque signalétique). REMARQUE! Évitez d'utiliser de longs tuyaux fins (min. 1/2") Nettoyez la buse (voir point 7). Nettoyez le filtre (voir point 7). Tendez le tuyau. |
| La machine démarre et s'accête souvent par elle-même | Fuite au niveau de la pompe/ de la poignée gâchette | Contactez le centre de service Nilfisk le plus proche. |
| La machine démarre mais l'eau ne coule pas | Pompe/tuyaux ou accessoires gelésAucune alimentation en eau Filtré à eau bloquéBuse bloquée | Attendez que la pompe/les tuyaux ou les accessoires dégèlent.Branchez l'alimentation en eau.Nettoyez le filtré (voir point 6.1).Nettoyez la buse (voir point 6.2). |
En cas d'autres problèmes que ceux cités ci-dessus, contactez votre distributeur Nilfisk local. Vous trouvez une liste des distributeurs Nilfisk locaux au verso de la couverture de ce mode d'emploi.
| Adresse | Tél. | Fax | E mail |
| SERVITECH BORDEAUXZA Pessac Bersol 11, avenue Louis de Broglie33600 PESSAC | 05 56 24 19 66 | 05 56 51 44 71 | agence.bordeaux@servitech.fr |
| SERVITECH LILLE3 Parc des Pyramids430, rue des Bourreliers59320 HALLENNES LEZ HAUBOURDIN | 03 20 57 53 31 | 03 20 40 21 00 | agence.lille@servitech.fr |
| SERVITECH LYON187, avenue Franklin Roosevelt69150 DECINES | 04 78 75 08 08 | 04 78 75 22 11 | agence.lyon@servitech.fr |
| SERVITECH MARSEILLE503, rue Saint Pierre13012 MARSEILLE | 04 96 12 54 54 | 04 91 47 70 20 | agence.marseille@servitech.fr |
| SERVITECH NANCYDynapole95, impasse Henri Becquerel54710 LUDRES | 03 83 53 26 45 | 03 83 56 23 42 | agence.nancy@servitech.fr |
| SERVITECH NANTESNant'Est Entreprises5, rue de la Garde44300 NANTES | 02 40 52 02 02 | 02 40 52 20 18 | agence.nantes@servitech.fr |
| SERVITECH PARISParc d'Activités CAP 18189, rue d'Aubervilliers75018 PARIS | 01 40 05 23 70 | 01 40 05 23 79 | agence.paris@servitech.fr |
| SERVITECH ROUEN24, rue Malouet76100 ROUEN | 02 35 73 10 90 | 02 35 73 62 24 | agence.rouen@servitech.fr |
| SERVITECH STRASBOURGParc Le Phoenix10, rue Shertz67100 STRASBOURG | 03 88 40 37 73 | 03 88 40 37 89 | agence.strasbourg@servitech.fr |
| SERVITECH TOULOUSE11 Parc d'Activités du Chapitre33, avenue de Larrieu31100 TOULOUSE | 05 61 43 66 52 | 05 61 43 66 51 | agence.toulouse@servitech.fr |
9 Accessoires et produits de nettoyage
N'utilisez que des accessoires et produits de nettioyage d'origine. Pour plus d'informations, consultez www.nilfisk.com
10 Conditions de garantie
Nilfisk offre une garantie de deux ans sur ses nettoyeurs haute pression à usage domestique. Si vous retournez votre nettoyeur haute pression ou les accessoires pour réparation, vous doivent une copie de la preuve d'achat.
- La réparation du produit est couverte par la garantie à condition que :
- le défaut soit imputable à un vice ou un défaut de matière ou de fabrication (les dommages résultat de l'usure normale ou d'une utilisation inadéquate ne sont pas couverts par la garantie);
- les consignes données dans le mode d'emploi aient ete scrupuleusement respectees ;
- aucune réparation ou tentative de réparation n'ait été effectué par d'autres personnes que des réparateurs Nilfisk qualifiés ;
seuls les accessoires fournis d'origine aient ete utilisés ; - le produit n'ait pas ete exposé à des coups, des secousses ou au gel ;
- seul de l'eau sans impuretés ait eté utilisé ;
- le nettoyeur haute pression n'ait fait l'objet d'aucun usage locatif ou commercial qu'il soit.
Les réparations couvertes par cette garantie comprend le remplacement de pieces défectueuses, frais d'expédition ou de transport non compris. Outre cela, vous pouvez vous reférer à la législation sur la vente de votre pays de résidence.
La machine doit être expédée à l'un des centres de service de l'organisation Nilfisk accompagnée d'une description/specification de la panne.
Toute réparation qui ne remplit pas les conditions de la garantie sera facturée. (Par exemple si les défaillances sont dues aux causes mentionnées dans la section Diagnostic des problèmes du mode d'emploi).
11 Caractéristiques techniques principales
| Modèle | E 130.3 | E 140.3 | E 145.3 | |
| Spécifications électriques | ||||
| Tension nominale | V | 220-240 | 220-240 | 220-240 |
| Fréquence nominale | Hz | 50/60 | 50/60 | 50/60 |
| Consommation d'énergie nominale | kW | 2,0 | 2,1 | 2,1 |
| Courant | A | 9,0 | 9,5 | 10 |
| Classe de protection | Classe I/Classe II | Classe II | Classe II | Classe II |
| Degré de protection | IP xx | IPX5 | IPX5 | IPX5 |
| Spécifications hydrauliques | ||||
| Pression nominale | MPa/bar | 12,5/125 | 13,5/135 | 14,0/140 |
| Pression maximale | MPa/bar | 13,0/130 | 14,0/140 | 14,5/145 |
| Débit d'eau nominal | l/min/l/h | 7,5/450 | 7,0/420 | 6,6/400 |
| Débit d'eau maximal | l/min/l/h | 8,3/500 | 8,3/500 | 8,3/500 |
| Pression maximale de l'entrée d'eau | Mpa/bar | 1/10 | 1/100 | 1/10 |
| Température max. de l'entrée d'eau | °C | 60 | 60 | 60 |
| Température maximale de l'alimentation en eau en mode aspiration | °C | 20 | 20 | 20 |
| Poids | kg | 17,8 | 18,6 | 19,8 |
| Vibration transmise au système main-bras conformé-ment à la norme ISO 5349-1: Buse standard | m/s2 | < 2,5 ±1 | < 2,5 ±1 | < 2,5 ±1 |
| Machines sans enrouleur:Niveau de pression acoustique LpA selon la normeISO 3744Niveau de puissance acoustique0 LWA selon la directive 2000/14/EC | dB(A) | 66,8 ±282 | 66,8 ±282 | - - |
| Machines avec enrouleur:Niveau de pression acoustique LpA selon la normeISO 3744Niveau de puissance acoustique0 LWA selon la directive 2000/14/EC | dB(A) | 71,8 ±286 | 71,8 ±286 | - 86 |
Sous réserve de modifications.
12 Déclaration CE de conformité
| CE Déclaration | |
| Produit : | Laveuse à haute pression |
| Type : | Nilfisk E 130.3 / E 140.3 / E 145.3varielles d'accessoires des types mentionnés ci-dessus. |
| Description : | 220-240 V 1~, 50/60 Hz - IP X5 |
| La conception de l'unité est conforme auxréglementations pertinentes suivantes : | Directive "Machines" 2006/42/ECDirective "Basse tension" 2006/95/ECDirective "Compatibilité electromagnétique" 2004/108/ECDirective RoHS 2011/65/ECDirective relative aux émissions sonores 2000/14/CE |
| Normes harmonisées appliquées : | EN 60335-2-79:2012EN 62233:2008EN 55014-1:2006 +A1:2009+A2:2011EN 61000-3-2:2006+A1:2009+A2:2009EN 61000-3-11:2000EN55014-2:1997+A1:2001+A2:2009 |
| Normes internationales appliquées et spécificationstechniques : | IEC 60335-1:2012IEC 60335-2-79:2012 |
| Nom et adresse de la personne autorisée à compilerle fichier technique : | Anton SørensenGeneral Manager, Technical Operations EAPCNilfisk-Advance A/SSognevej 25DK-2605 Brøndby |
| Identité et signature de la personne habitée à fairela déclaration au nom du fabricant : | thomannAnton SørensenGeneral Manager, Technical Operations EAPCNilfisk-Advance A/SSognevej 25DK-2605 Brøndby |
| Endroit et date de la déclaration | Hadsund, 01.10.2013 |









































HEAD QUARTER
DENMARK
Nilfisk-Advance Group
Sognevej 25
DK-2605 Brøndby
Tel.: (+45) 4323 8100
E-mail: mail.com@nilfisk-advance.com
SALES COMPANIES
AUSTRALIA
Nilfisk-Advance Pty Ltd
Bâtiment C3/C4 Gebouw
Bruxelles 1070
Website: www.nilfisk.be
CHILE
Nilfisk-Advance de Chile
San Alfonso 1462
Santiago
Website: www.nilfisk.com
CHINA
Nilfisk-Advance (Suzhou)
26 Avenue de la Baltique
Villebon sur Yvette
91978 Courtabouef Cedex
Website: www.nilfisk.fr
GERMANY
Nilfisk-ALTO
Notice Facile