KM0255UHD - Fernseher Krüger&Matz - Kostenlose Bedienungsanleitung
Finden Sie kostenlos die Bedienungsanleitung des Geräts KM0255UHD Krüger&Matz als PDF.
Questions des utilisateurs sur KM0255UHD Krüger&Matz
0 question sur cet appareil. Repondez a celles que vous connaissez ou posez la votre.
Poser une nouvelle question sur cet appareil
Laden Sie die Anleitung für Ihr Fernseher kostenlos im PDF-Format! Finden Sie Ihr Handbuch KM0255UHD - Krüger&Matz und nehmen Sie Ihr elektronisches Gerät wieder in die Hand. Auf dieser Seite sind alle Dokumente veröffentlicht, die für die Verwendung Ihres Geräts notwendig sind. KM0255UHD von der Marke Krüger&Matz.
BEDIENUNGSANLEITUNG KM0255UHD Krüger&Matz
ACHTUNG: UM DAS RISIKO VON BRANDVERLETZUNGEN UND STROMSCHLAGEN ZU VERRINGERN ENTFERNEN SIE NICT DIE ABDECKUNG (ODER RÜCKSEITE) DES GERÄTS. ÜBERLASSEN SIE ALLE WARTUNGSARBEITEN QUALIFIZIERTEM SERVICEPERSONAL.

Das dreieckige Blitzsymbol mit Pfeilkopf weist den Benutzer auf das Vorhandensein von nicht isolierter „gefährlicher Spannung" im Inneren des Gerätes hin, die ausreichen kann, um die Gefahr eines elektrischen Schlags darzustellen.

Das dreieckige Symbol mit dem Ausrufezeichen weist den Benutzer auf wichtige Bedienungs- und Wartungs-(Reparatur-) hinweise hin, die in dieser Bedienungsanleitung enthalten sind.
WICHTIGE SICHERHEITSANWEISUNGEN
1) Lesen Sie diese Bedienungsanleitung.
2) Bewahren Sie die Bedienungsanleitung auf für späteres nachschlagen.
3) Beachten Sie alle Warnungen.
4) Befolgen Sie alle Anweisungen.
5) Verwenden Sie das Gerät nicht in der Nähe von Wasser.
6) Nur mit einem trockenem Tuch reinigen.
7) Lüftungsöffnungen)dürfen nicht blockiert werden,installieren Sie in Übereinstimmung mit den Anweisungen.
8) Nicht in der Höhe von Wärmequellen, wie Heizkörper, Wärmespeicher, Öfen oder anderen Geräten (einschließlich Ver
stärkern), die Wärme erzeugen, installieren.
9) Umgehen Sie nicht die Sicherheitsfunktion des polarisierten Steckers. Wenn der Stecker nicht in ihre Steckdose passt, beauftragen Sie einen Elektriker um die Steckdose auszutauschen.
10) Schützen Sie das Netzkabel, damit niemand darauf tretet, einklemmt, insbesondere an Steckern, Steckdosen, und dem Punkt, wo es aus dem Gerät heraustritt.
11) Verwenden Sie nur vom Hersteller empfohlene Zusatzgeräte / Zubehor.
12) Trennen Sie das Gerät vom Stromnetz bei Gewitter oder wenn es für einen längeren Zeitraum nicht benutzt wird.
13) Lassen Sie alle Wartungsarbeiten qualifiziertem Servicepersonal. Eine Wartung ist erforderlich, wenn das Gerät in irgendeiner Weise beschädigt wurde, beispielsweise Netzkabel oder Stecker beschädigt wurde, Flüssigkeiten oder Gegenstände in das Gerät gefallen sind, das Gerät Regen oder Feuchtigkeit ausgesetzt war, nicht normal Funktioniert, oder fallen gelassen wurde.
14) Da der Netzstecker als Trennvorrichtung verwendet wird, muss die Trennvorrichtung frei zugänglich bleiben.
15) Die Belüfung darf nicht behindert werden, indem die Lüftungsöffnungen mit Gegenständen wie Zeitungen, Tischdecken, Vorhängen usw. bereckt werden.
16), Keine offenen Flammen, wie brennende Kerzen, dürfen auf das Gerät gestellt werden.
17) Es sollte auf die Umweltspekte bei der Batterieentsorgung geachtet werden.
18) Die Verwendung von Geräten in gemäßtem Klima.
19) Das Gerätarf nicht Tropf- oder Spritzwasser ausgesetzt werden und keine mit Flüssigkeiten gefüllten Gegenstände, wie Vasen, dürfen auf das Gerät gestellt werden.

Warning

Hochspannung wird im Betrieb diesen Fernsehgerätes verwendet. Rückwärte Abdeckung nicht vom Gerät entfernen. Überlassen Sie die Wartung qualifiziertem Servicepersonal.

Achtung

Blockieren Sie nicht die Luftungsöffnungen in der Rückwand. Ausreichende Beluftung ist wichtig, um den Ausfall der elektrischen Komponenten zu vermeiden.

Warning

Zum vermeiden von Feuer oder der Gefahr eines Elektroschocks,arf das Gerat nicht Regen oder Feuchtigkeit ausgesetzt werden.

Achtung

Das Stromkabel nicht unter dem Fernsehgerat einklemmen.
D

Warning

Keine Objekte in die Schlitze oder Öffnungen des Fernsehgerätes stecken oder fallen halten. Schätten Sie niemals irgennde Art von Flüssigkeit auf das Fernsehgerät.

Achtung

Nie auf den Fernsehgerät oder den Ständer stehen, anleihen, oder plötzlich drücken. Sie sollen ein besonderes Augenmerk auf Kinder haben. Schwere Verletzungen können die Folge beim herunterfallen sein.

Stellen Sie Ihr Fernsehgerät nicht auf einen instabilen Wagen, Stand, Regal oder Tisch. Schwere Schäden an Personen sowie am Fernsehgerät sind die Folge beim herunterfallen.

Wenn das Fernsehgerät für eine längerere Zeit nicht benutzt wird, ist es Empfehlenswert das Netzkabel von der Steckdose zu trennen.
INSTALLATION
- Stellen Sie das TV Gerät im Zimmer an einem Ort auf, wo das Licht nicht auf den Bildschirm fällt.
- Totale Dunkelheit oder eine Reflexion auf dem Bildschirm kann eine Belastung der Augen verursachen. Weiche und indirekte Beleuchtung ist für angenehmes Fernsehen zu empfehlen.
- Lassen Sie genügend Abstand zwischen TV Gerät und der Wand um ausreichende Belüftung zu gewährleisten.
- Vermeiden Sie übermäßig warme Orte um Schäden am Gehäuse und früherzeitiges Ausfallen der Komponenten zu vermeiden.
- Bedecken Sie nicht die Luftungsöffnungen wenn Sie das TV-Gerät benutzen.
Minimale Abstände

Basisständer Montageanleitung
Zur Montage des Basisständers, die flache Seite der TV-Plattform nach unten legen. Vor der Montage (oder Abnahme) der Ständer,ziehen Sie das Netzkabel aus der Steckdose, vor dem Vorgang, legen Sie ein Kissen an der Stelle wo der Fernseher platziert wird, um Schäden am TV zu vermeiden.

Schritt 1
Die 2 Standfuß an der Unterseite des TV-Gerätes eingefugen und überprüfen ob diese fest sitzen (siehe unter Abbildung a).

Schritt 2
2 Schrauben in die zugehörigen Löcher einfügen und anziehen (siehe unsere Abbildung b).
Warning:
Achten Sie daraufuf, die Anweisungen für die Montage zu befolgen, wenn die Basis nicht richtig montiert ist, kann der TV Umfallen. Um die Standfläche zu entfernen, führen Sie die Schritte in umgekehrter Reihenfolge aus, Der Winkel des Basisständers kann nicht einstellt werden. Wahrend der Montage, achten Sie daraufuf, um Schäden am TV zu vermeiden und die Hand nicht zwischen dem Boden und der Unterseite des Fernsehgeräts einzuklemen.
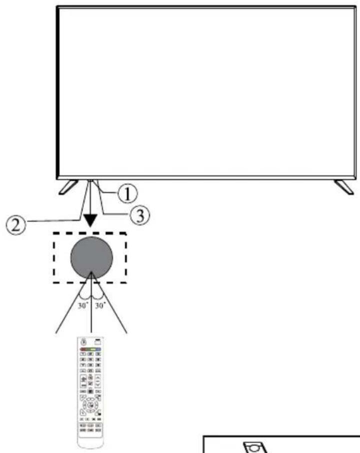
Frontplatte

1: Fernbedienungssensor
2:LED Anzeige
- Rot - standby
3: Tasten
Tastatur

Die Tastatur befindet sich links an der Unterseite des Gerätes, besoin der Signalanzeige.
| TV Status | Nach oben/untenziehen | Nach links/rechstziehen | Drücken |
| Ausgeschaltet | - Drücken zum Einsatz | ||
| Eingeschaltet | Sender +/- Lautstärke | +/- Drücken zum Arzeigen derQuellste | |
| Quellste wird angezeigt | Aufwärts/abwärtsbewegen | Auswählen Drucken und für 3 Sekunden haltenum den Fernseher auszuschalten | |
Rückwärte AV Anschlüsse


Anschlisse von links nach rechts: AC Netzanschluss, HDMI3, HDMI2, HDMI1, PC Audio, VGA, VIDEO Eingang, AUDIO Eingang.
Rückseitige AV Anschlüsse (Seitwärts)

Anschlüsse von links nach rechts: HF, USB, CI, Kopfhörer, Koaxial, USB.
Hinweis: Stecken Sie die Kopfhörerbuchse in den Anschluss KOPFHÖRER am Gerät, die Lautsprecher werden stumm- geschaltet.
Antenne


Adapter (nicht im Lieferumfang enthalten)
PC

EINSTELLUNGSMODUS [PRESET MODE] (HDMI)
| Auflösung V.Freq. (Hz) H.Freq. (kHz) | ||
| 1 800x600 60 37.88 | ||
| 2 1024x768 60 48.36 | ||
| 3 1866x768 60 47.7 | ||
| 4 1280x768 60 47.3 | ||
| 5 1920x1080 60 67.5 | ||
| 6 3840x2160 30 67.5 | ||
| 7 3840x2160 50 112.5 | ||
| 8 3840x2160 60 135 | ||
AV Geräte
Dieser Fernseher bietet eine Gruppe von AV für die bequeme Verbindung zum Videorecorder, DVD oder anderen Videogeräten.itte beachten Sie die Anleitung des Gerätes, für problemloses anschlieben. Sie konnen die Eingangsanschlüsse am TVGerät halten wie folgt verwenden:

Es kann an folgende Geräte angeschlossen werden: VCR, Multi- Disk-Player, DVD, Camcorder, Videospiele oder Stereo-System, usw.
FERNBEDIENUNG

- Onschalten des Fernsehgerats zwischen Ein- und Bereitschafts-Modus.
- P.MODE: Bildmodus auswahlen: Standard / Film / Spiel / Benutzer / Dynamisch / Auto / PC. Nur PC und HDMI haben Automatischen Einstellungsmodus (Auto).
- Farbstaten: Die Farbstaten werden verwendet, um Aufgaben in bestimmten Menus auszuwahlen.
- Zifferntasten: Verwenden Sie diese Tasten zur Eingabe von Informationen in Menüs oder TV-Funktionen.
- AUFNAHME [REC]: Drucken, für Aufnahme von TV, wenn DTV betrachten (zum aufzeichen eines Programms, muss ein geeignetes USB-Gerät an den Fernseher angeschlossen werden).
- RÜCKRUF [RECALL]: Im DTV-Modus drücken um zu den zuletzt betrachteten Kanal zu springen.
- TON AUS [MUTE]: Drücken um den Ton ein- und auszuschalten.
- VOL + :- Drucken um die Lautstärke des Fernsehors einzustellen.
- CH + --: Drucken um den nachsten oder vorherigen Kanal auszuwahlen.
- QUELLE [SOURCE]: Drücken zum anzuzeigen und auswahlen der verfügbaren Videoquellen.
- AUDIO: Drücken zum auszuwahlen der verfügbaren Audiosprache für DTV-Programme.
- MENU: Drücken zum aufrufen der TV Bildschirmmenus.
- FAV: Drücken zum auszuwahlen ihrer Favoritenliste im TV- oder DTV-Modus.
- INFO: DruckenumFernseh-Programminformationen anzuzeigen.
- (INDEX): Drücken im TELEXT Modus um den Index anzuzeigen.
- Druchen um durch die Menus auf dem Fernseher zu bewegen.
- OK: Drücken um die Bildschirm-Ausbahl zu bestätigen.
- EPG: Drücken um den elektronischen Programmfrührer aufzurufen, beim betrachten von digitalem Fernsehen.
- EXIT: Drucken um zur vorherigen Seite in einem Menü zurückzukehren oder die Menü zu verlassen.
- Drücken im USB Modus, um die Wiedergabe zu beginnen oder fortzusetzen.
- II Drucken im USB Modus, zum Anhalten der Wiedergabe.
- Drucken um die Wiedergabe zu stoppen.
- EINFRIEREN [FREEZE]: Drücken um das aktuelle Bild einzufrieren.
- Im USB Modus verwendet als Rückspultaste. Im TELEXT Modus verwendet als Unterseiten-Taste.
- / 回 : Im USB Modus verwendet als Vorspultaste. Im TELEXT Modus verwendet als Offenbarungs-Taste.
- TEXT: Drucken um den TELETEXT anzuzeigen.
- 14/3: Im USB Modus verwendet als vorherige Taste. Im TELETEXT Modus verwendet als Taste Halten.
- Im USB Modus verwenden als nachste Taste. Im TELETEXT Modus verwendet als Listen-Taste.
- UNTERTITEL [SUBTITLE]: Drücken, zum Anzeigen von Untertiteln für digitale TV-Sender.
TELETEXT
Teletext ist ein Informationssystem Übertragen durch bestimmte Kanäle, das wie eine Zeitung gelesen werden kann. Es bietet auch den Zugang zu Untertiteln für Schwerhörige oder Personen die nicht mit der Übertragungs-Sprache (Kabel, Satellit, usw.) vertraut sind.
| Drücken Funktion | |
| TEXT | These wird verwendet, den Teletext-Modus aufrufen oder zu verlassen. Die Zusammenfassung erscheint als eine Liste der Artikel, auf die zugegriffen werden kann. jeder Artikel hat eine entsprchende 3-stellige Seitennummer. Wenn der gewähnte Sender keinen Teletext bietet, wird die Anzeige 100 angezeigt, und der Bildschirm bleibt leer (in thisem Fall, Teletext beenden und einen anderen Sender auswahlen). |
| AUSWAHL EINER SEITE | Geben Sie die Nummer der gewünschte Seite ein mit den Zahlentasten 0-9 sowie den Tasten aufwärts / abwärts. Beisiel: Seite 120, geben Sie 120 ein. Die Nummer wird oben links angezeigt, Der Zähler sicht die gewünschte Seite und diese wird dann angezeigt. Wiederholen Sie diesen Vorgang, um eine andere Seite zu betrachten. Wenn der Zähler weiterucht, bedeutet dies, dass die Seite nicht übertragen wird. Wahlen Sie eine andere Nummer. |
| DIREKTER ZUG-RIFF Auf EINE SEITE | Farbige Schaltflächen sind als an der Unterseite des Bild-schirms angezeigt. Die 4 farbigen Tasten werden verwendet, um auf die Elemente oder entsprchenden Seiten zuzugreifen. Die farbigen Schaltflächen blinken wenn der Gegenstand oder die Seite noch nicht verfügbar ist. |
| (INDEX) | Rückkehr zur Inhaltssuite (Üblicherweise Seite 100). |
| (UNTERSEITE) | Einige Seiten enthalten Unterseiten, die automatisch nachein-ander angezeigt werden. Diese Taste wird verwendet, um die Akquisition der Unterseite zu stoppen oder fortzusetzen. Die Anzeige erscheint oben links. |
| (HALTEN) | Einfrieren der Seite. |
| (ENTHÜLLEN) | Um die versteckte Informationen anzugeigen oder aus-zublenden (Spiel-Lösungen). |
| (LISTE) | Der Benutzer kann vier Lieblingsskeiten direkt an die vier Farbstaten verknüpfen. Während der Liste Modus aktiviert ist, ist TOP oder FLOF Navigation mit den Farbstaten nicht möglich. Die Favoriten-Seite Nummern sollenn von der Systemsoftware für jedem Kanal aus dem nichtflüchtigen Speicher gespeichert und wiederhergestellt werden. |
INSTALLATIONSHINWEISE

1). Drücken Sie die Tasten durch das Menu zu bewegen und die Einstellungen zuändern. Drücken Sie die Taste OK zum bestätigten Wahlen Sie die gewünschte Menüsprache.
2). Drücken Sie die Tasten auswahl von Heimmodus oder Geschäftsmodus, drücken Sie die Taste OK zum bestätigten.

3). Drücken Sie die Tasten auswahl von DVB-T/DVB-C und drücken die Taste OK zum bestätigten.

a. Wenn Sie DVB-T ausgewählten haben, ist der{nachste Schritt Auswahl von Tunertype und Land, drucken Sie die Taste OK um die Sendersuche zu beginnen.

b. Wenn Sie DVB-C auswahlen, ist der{nachste Schritt die Einstellung des DVB-C System. Drucken Sie die Tasten Wahlen Suchen [Search] und drucken die Taste OK um die Sendersuche zu beginnen.

3). Die Sendersuche beginnnt. Diese Vorgang kann bis zu 6 Minuten dauern. Das Display zeigt den Fortschrift der Sendersuche an sowie die Anzahl der gefundenen Sender. Drücken Sie die Taste MENU wenn Sie die Sendersuche überspringen möchten.
D

SENDERMENU
Automatische Sendersuche (DVB-T)
- Drücken Sie die Taste Quelle [Source], danach die Tasten ur Auswahl von DVB-T und drücken die Taste OK.
| Input Source |
| DVB-T |
| DVB-C |
| ATV |
| PC |
| HDMI 1 |
| HDMI 2 |
| HDMI 3 |
| AV |
| USB |
| OK |
- Drücken Sie die Taste MENU und danach die Tasten zur Auswahl des Sendermenü [CHANNEL].
- Drücken Sie die Tasten zur Auswahl von Automatische Sendersuche [Auto Tuning] und drücken Sie die Taste OK.

4). Im Menu Tunertyp, drücken Sie die Tasten zur Auswahl ATV / DTV / DTV + ATV. Drücken Sie die Taste und danach drücken Sie die Tasten auswahl des Landes in welchem Sie den TV betreiben. Drücken die Taste OK zum bestätigen.

5). Die Sendersuche beginnnt. Diese Vorgang kann bis zu 6 Minuten dauern. Das Display zeigt den Fortschritt der Sendersuche an sowie die Anzahl der gefundenen Sender. Drücken Sie die Taste MENU wenn Sie die Sendersuche überspringen möchten.
Channel Tuning
TV 3Programme(s)
DTV 0Programme(s)
Radio : 0 Programme(s)
Data : 0Programme(s)
6%... UHF CH 24 DTV
Automatische Sendersuche (DVB-C)
- Drücken Sie die Taste Quelle [Source], danach die Taten zur Auswahl von DVB-C und drücken die Taste OK.
- Drücken Sie die Taste MENU und danach die Tasten zur Auswahl des Sender-menü [CHANNEL].
- Drücken Sie die Tasten zur Auswahl von Automatische Sendersuche [Auto Tuning] und drücken Sie die Taste OK.

- Im Menu Tunertype [Tune Type], drücken Sie die Tasten Zur Auswahl von ATV / CADTV/DTV+ATV. Drücken Sie die Tatest und danach die TasteszAuswahl des Landes in dem Sie den TV bedienen werden. Drucken Sie die Taste OK zum bestätigten.


- Drücken Sie die ROTE Taste um die Modulation zu ändern und drücken die GRÜNE Taste um das Symbol zu ändern und drücken die GELBE Taste um den Netzwerkmodus zu ändern.

- Die Sendersuche beginnnt. Dieses kann bis zu 6 Minuten dauern. Das Display zeigt den Fortschrift der Sendersuche und die Anzahl der gefundenen Sender an.
Channel Tuning
TV : 3Programme(s)
DTV 0Programme(s)
Radio: 0Programme(s)
Data : 0Programme(s)
6%... UHF CH 24 DTV

D
Programm bearbeiten
Sie konnen Sender loschen, umbenennen, verschieben, uberspringen, FAV.
Löschen: Drücken Sie die rote Teletexttaste, der Sender unter dem Cursor wird gelöscht.
Bewegen: Benutzen Sie die Pfeiltasten zur Auswahl des Senders den Sie bewegen möchten. Drücken Sie die gelbe Teletexttaste um die Funktion Bewegen aufzurufen. Wenn die Funktion aktiviert ist, benutzen Sie die Pfeiltasten u den Sender zu bewegen und drücken die Taste OK zum bestätigten.
Überspringen: Drücken Sie die Tasten zur Auswahl des Senders. Drücken Sie die blaue Teletexttaste um den Sender zu überspringen, das Symbol entscheidint auf der rechten Seite des Senders.
Wahlen Sie den übersprungenen Sender, drücken Sie erneut die blaue Teletexttaste, der Sender ist wieder aktiv und das Symbol verschwindet.

Favorite: Drucken Sie die Tasten zur Auswahl des Senders, drucken Sie die
Taste FAV, entscheidint auf der rechten Seite des Senders. Wahlen Sie das Favoritprogramm und drücken erneut die Taste FAV, Sie können die Favoritwahllöschen, entschwindet.
Sobald ihre Favoritgruppe erstellt wurde, können Sie die Taste FAV drücken um schnell auf ihre Favoriten zugreifen zu konnen.
BILDEINSTELLUNGSMENU
Der zweite Menu-Punkt ist das BILDEINSTELLUNGSMENU. Sie können hier Bild-Effekt einstehen, wie Kontrast, Helligkeit usw. Drücken Sie um zu bewegen, drücken Sie OK, zum einstellen.


| Picture Mode Standard |
| Contrast 50 |
| Brightness 50 |
| Color 50 |
| Sharpness 50 |
| Tint 50 |
| Backlight 70 |
| MENU |
| Color Temperature Nature |
| Red 48 |
| Green 46 |
| Blue 48 |
| MENU |
KLANGEINSTELLUNGSMENU
Der dritte Menüpunkt ist das KLANGEINSTELLUNGSMENU Sie konnen Klangeeffekte einstellen wie Höhen, Bass, Balance, usw. Drücken Sie um zu bewegen, drücken Sie OK, zum einstellen.

ZEITEINSTELLUNGSMENU
Der vierte Menüpunkt ist das ZEITEINSTELLUNGSMENU. Sie können die Uhrzeit einstellen, Ein-/Ausschaltzeit, Schlaftimer, usw. Drücken Sie im zu bewegen, drücken Sie OK, zum einstellen.


OPTIONSMENÜ
Der fünfte Menüpunkt ist das OPTIONSmenü. Sie können die Menüsprache, Audiosprache, Untertitelsprache usw. einstellen.

Im Menu PVR Dateisystem konnen Sie einen USB Speicher fur PVR einstellen.

HINWEIS:
Zurücksetzen auf die Werkseinstellungen löscht alle Sender und Passwörter.
SPERRMENU
Der sechste Menüpunkt ist das SPERRMENÜ. Sie können das System sperren, Passwörter einstellen, Sender sperren und die Kindersicherung einstellen. Wenn das System gespeit ist, können Sie keine Senderuchen oder verändern.

HINWEIS:
Das werkseitige Password ist 8888.
Sender sperren: Drücken Sie um den Sender auszuwahlen, drücken Sie die grüne Teletexttaste um den Sender zu sperren. Um die Sendersperre aufzuheiten, gehen Sie in das Hauptmenü, geben das Password ein und drücken erneut die grüne Teletexttaste. Kindersicherung: Drücken Sie zur Auswahl der Alters-Freigabestufe..
USB
Drücken Sie die Taste Quelle (INPUT) und wahlen USB aus, um das USB Menu aufzurufen.

Bitte stellen Sie sicher, dass das USB-Gerät im Steckplatz eingesteckt ist. Es gibt vier Medientyp Elemente die ausgewählt werden konnen, wie Foto, Musik, Film und Text. Wahlen Sie den Medienelementtyp durch drücken , drücken Sie OK, um das Diskauswahlmenü aufzurufen.
Drücken Sie zur Auswahl des gewünschten Disks und drücken OK zur Anzeige der Medien-Dateien und Ordnerliste, oder drücken Return um zum Auswahlmenü zurückzukehren.

Wahlen Sie die Medien-Datei durch drücken von oder das Vorschaufenster erscheint. Drücken Sie um die Medien-Datei im Vollbildmodus abzuspielen. Wahrend der Wiedergabe der Medien-Datei, (Foto, Musik, Film, oder Text Type), drücken Sie OK oder Info Tastensymbol zur Anzeige der Kontroll-Leiste.

Drücken Sie zur Auswahl des gewünschten Funktionssymbol und drücken die Taste OK zum bestätigten der Funktion.
Drucken Sie oder die Taste EXIT um die Kontroll-Leiste zu verlassen.

USB Wiedergabe wird für folgende Dateiformate Unterstützung:
Foto: JPEG, BMP, PNG
Musik: MP3
Text: TXT
Film: TS (MPEG2 & H.264)
EPG-MENU (Elektronischer Programmführer)
Das EPG-MENU wird verwendet, um zu sehen, was auf einem DTV- oder Radiokanal gesendet wird. Um das EPG-MENU aufzurufen, drücken Sie die GUIDE-Taste, das folgende Menu wird angezeigt:


Info
Benutzen Sie zur Auswahl des Senders. Drücken Sie die Taste INFO, Die Informationen des markierten Senders wird angezeigt.

Zeitplan
Drücken Sie die gelbe Teletexttaste. Die Zeitplan-Liste wird angezeigt, drücken Sie um die Beste auszuwahlen. Drücken Sie GUIDE um zum EPG Menu zurückzukehren.


Aufnehmen
Drücken Sie die rote Taste. Die Sendung wird zum Aufnehmen programmiert.

Erinnern
Drücken Sie die blaue Taste um eine Sendung auszuwahlen und eine Erinnerungszeit einzustellen. Der TV Bildschirm schaltet zur eingestillten Zeit automatisch auf die programmierte Sendung um.
| Reminder setting |
| 18 The HITS |
| Minute 6 |
| Hour 17 |
| Month Nov. |
| Date 19 |
| Mode Once |
| OK BACK |
Fehlerbehebung
| Bild Ton Fehlerbehebung | |||
| Schnee | Geräusch | - Überprüfen Sie Antennenposition, Richtung oder Verbindungen | |
| Geist | Normal Audio | - Überprüfen Sie Antennenposition, Richtung oder Verbindungen | |
| Interferenz | Geräusch | - Überprüfen Sie elektronische Geräte, Fahrzeug./Motorrad, Fluoreszenzlicht | |
| Normales Bild | Kein Ton | - Überprüfen Sie die Lautstärke (Überprüfen Sie ob der Ton Ausgeschaltet ist/ Stummschaltung aktiv oder die Audioverbindungen nicht richtig sind) | |
| Kein Bild | Kein Ton | - Das Netzkabel ist nicht eingesteckt - Netzschalter ist nicht geöffnet - Überprüfen Sie die Einstellungen für Kontrast und Helligkeit/Lautstärke - Drücken Sie die Taste Standby an der Fernbedienung zum überprüfen | |
| Keine Farbe | Normal Audio | - Farbeinstellung überprüfen | |
| Bildzerbricht breaking up | Normal Audio oder schwach | - Sendersuche wiederholen | |
| Keine Farbe | Geräusch | - TV System Überprüfen | |
TECHNISCHE DATEN
| Bildschirmgroße 55" 65" | ||
| Panel Type LED Hintergrund | ||
| Bildformat 16:9 | ||
| Pixelanzahl 3840x2160 | ||
| TV System DVB-T2/ C | ||
| Standard Video PAL / SECAM | ||
| Eingangsspannung 100-240 V; ~ 50/60 Hz | ||
| Verbrauch 150 W 198 W | ||
| Verbrauch (Standby) ≤0,5 W | ||
| Audio-Ausgangsleistung 2x10 W | ||
| RF Tuner x1 | ||
| VGA x1 | ||
| PC Audio In | x1 | |
| Kopfhörer x1 | ||
| CI | x1 | |
| HDMI | x3 | |
| USB | x2 | |
| AV | x1 | |
| Coaxial | x1 | |

Die Spezifikationen können ohne Ankündigung geändert werden.
ERFAHREN SIE MEHR
Für weitere informationen zu diesen gerät finden sie unter: www.krugermatz.com.
Besuchen sie www.krugermatz.com website fur weitere Produkte und zubehör.
Im falle irdendwelcher zweifel oder fragen wenden sie sich an unsere hauig gestellten fragen.
Der hersteller besteht sich das rechte vor design und technische Daten ohne vorherige ankündigung zuändern.
Bitte beachten sie: untere abbildungen und beschreibungen in bezug auf das betriebssystem sind nur als referenz, und konnen von der tatsächlichen software auf ihrem gerät abweichen!
"Hiermit erklär die Firma Lechpol dass sich das Gerät KM0255UHD / KM0265UHD im Einklang mit den grundlegenden Anforderungen und anderen relevanten. Bestimmungen der Richtlinie 2014/53/UE befindet. Konformitätserklärung zum Download auf www.lechpol.eu"

Deutsch
Korrekte Entsorgung these Produkte (Elektromull)



(Anzuwenden in den Ländern der Europäischen Union und anderen europäischen Ländern mit einem separaten Sammelsystem)
Die Kennzeichnung auf dem Produkt bzw. auf der dazugehörigen Literatur gibt an, dass es nach seiner Lebensdauer nicht zusammen mit dem normalen Haushaltsmull entsorgt werden darf. Entsorgen Sie these Gerätitte getrennt von anderen Abfallen, um der Umwelt bzw. der menschilchen Gesundheit nicht durch unkontrollierte Müllbeseitigung zu schaden. Recyclein Sie das Gerät, um die nachhaltige Wiederverwertung von stofflichen Ressourcen zu fördern. Private Nutzer sollen den Handler, bei dem das Produkt gekauft wurde, oder die zuständigen Behörden kontaktieren, um in Erfahrung zu bringen, wie sie das Gerät auf umweltfreundliche Weise recyceIn können. Gewerbliche Nutzer sollen sich an ihren Lieferanten wenden und die Bedingungen des Verkaufsvertrags konsultieren. Dieses Produkt darf nicht zusammen mit anderen Gewerbebüll entsorgt werden.
Vertrieben durch LECHPOL Electronics BV, Nijverheidsweg 15 4311RT Bruinisse, Niederlande.
HOMI

CAUTION
RISK OF ELECTRIC SHOCK DO NOT OPEN

CAUTION
TO REDUCE THE RISK OF ELECTRIC SHOCK, DO NOT REMOVE COVER (OR BACK). NO USER SERVICEABLE PARTS INSIDE, REFER SERVICING TO QUALIFIED SERVICE PERSONNEL.

EinfachAnleitung