Schütte Tokyo - Wasserhahn

Tokyo - Wasserhahn Schütte - Kostenlose Bedienungsanleitung

Finden Sie kostenlos die Bedienungsanleitung des Geräts Tokyo Schütte als PDF.

📄 36 Seiten Deutsch DE 💬 KI-Frage
Notice Schütte Tokyo - page 2
Handbuch anzeigen : Français FR Deutsch DE

Benutzerfragen zu Tokyo Schütte

0 Frage zu diesem Gerät. Beantworten Sie die, die Sie kennen, oder stellen Sie Ihre eigene.

Eine neue Frage zu diesem Gerät stellen

L'email reste privé : il sert seulement à vous prévenir si quelqu'un répond à votre question.

Noch keine Fragen. Stellen Sie die erste.

Laden Sie die Anleitung für Ihr Wasserhahn kostenlos im PDF-Format! Finden Sie Ihr Handbuch Tokyo - Schütte und nehmen Sie Ihr elektronisches Gerät wieder in die Hand. Auf dieser Seite sind alle Dokumente veröffentlicht, die für die Verwendung Ihres Geräts notwendig sind. Tokyo von der Marke Schütte.

BEDIENUNGSANLEITUNG Tokyo Schütte

Montageanleitung Einhebel Spültischarmaturen

Montageanleitung

DE Montageanleitung 2
Návod pro montáž 4
DK Monteringsanvising. 5
ES Instrucciones de montaje 6
FR Instructions de montage 7
GB Installation instructions 8
HR Uputstvo za montažu. 10
HU Szerelési utmutatas 1
Istruzioni di montaggio 12
NL Montagehandleiding. 13
PL Instrukcja montazu 14
RO Instrueti de montaj 15
RU RykoBoCTBO NO MOHTaKy. 16
Monteringsanvising. 17
Navodila za montažo 1
SK Navod na montaz 19
TR Montaj kilavuzu 20

Garantiekarte

Garantiekarte. 21
Zaručni list. 21
Garantikort 21
Tarjeta de garantía. 21
Bon de garantie 21
Warranty card. 21
Jamstveni list 21
Garancialevé 21
Schedadi garanzia 21
Garantiekaart. 22
Karta gwarancyjna. 22
Certificat de garantie 22
TapaHTnHbI TaIOH. 22
Garantikort 22
Garancijski list 22
Zarucny list 22
Garanti karti. 22

Schütte Tokyo - Garantiekarte - 1

Montageanleitung

Sehr geehrte Kundin, sehr geehrter Kunde,

Sie haben ein qualitativ hochwertiges und langlebiges Produkt aus unserem Sortiment erworben.itte lessen Sie vor der Installation these Anleitung vollständig durch und beachten Sie die Hinweise.

Bewahren Sie die Anleitung deshalb gut auf und geben Sie diese auch an eventuelle Nachbesitzer weiter.

Sicherheitshinweise

VORSICHT WASSERSCHADEN!

-itte lessen Sie die Montage nur durch fachkundige Personen durchfuhren.
Stellen Sieittevor der Montage die allgemeine Wasserzuführung ab.
- Achten Sie darauf, dass alle Dichtungen den korrekten Sitz haben.
- These Armatures sind nicht für die Verwendung an Niederdruckgeräten und offen den (drucklosen) Elektrokleinspeichern geeignet.
- Wir empfehlen den Einbau eines Filters in der Installation oder mindestens die Verwendung von Eckventilen mit Filter, um den Eingang von Fremdkörpern zu vermeiden, die der Kartusche schaden können.
- Armatur zur Verwendung in Privathaushalten! Ausschließlich geeignet zur Verwendung in Räumen mit einer Temperatur über 0^ , bei Frostgefahr Wasserzufuhr unterbrechen und Armatur entleeren.
VORSICHT bei Warmwassereinstellung: Verbruhungsgefahr!
- Fehlerhaft montierte Armaturen können Wasserschaden verursachen!
- Achten Sie daraufuf, dass keine atzenden oder korrosiven Mittel, wie z. B. Putzmittel oder Haushaltsreiniger an die Anschluss-Schläuche gelangen, dies kann zu Wasserschäden führen.
- Auch bei einer sorgfälligen Produktion können scharfe Kanten entstehen.itte Vorsicht.

Entsorgung

Zum Schutz vor Transportschäden wird ihre Armatur in einer soliden Verpackung geleifert. Die Verpackung besteht aus niederverwertbaren Materialien. Entsorgen Sie diese umweltgerecht.

Werfen Sie das Produkt am Ende seiner Lebensdauer nicht in den normalen Hausmull, sondern erkundigen Sie sich bei ihrer Kommunalverwaltung nach Möglichkeit einer umweltgerechten Entsorgung.

Technische Daten

  • Fließdruck: empfohlen 1,5 bis 6 bar; bei mehr als 6 bar Anschlussdruck empfehlen wir die Installation eines Druckminderers
    Wassertemperatur: max. 80^

Schütte Tokyo - Technische Daten - 1

Montage-Hinweise

-itte Anschlusschläuche nur handfest einschrauben, verwenden Sie keine Zange oder Schraubenschlüssel!
- Nach der Montage die Mischdüse abschrauben, die Rohrleitung und die Armatur gut durchspüssen (Warm-/Kaltwasserzuführ), damit Verschmutzungen (Späne und Hanfeste) herausgespllt werden. Schrauben Sie die Mischdüse nach Spülung der Armatur wieder an den Auslauf an.

  • Schläuche nicht verdrehen oder unter Spannung setzen!
  • Prüfen Sie alle Verbindungen nach der ersten Inbetriebnahme sorgfältig auf Dichtigkeit.
  • Bei fehlerhafter Montage ist die Gewährleistung - insbesondere für Folgeschäden ausgeschlossen!

Pflegeanleitung

Sanitärarmaturen bedürfen einer besonderen Pflege. Beachachten Sie dazuitte folgende Hinweise:

  • Verchromte Oberflächen sind empfindlich gegen kalklosende Mittel, säurehaltige Putzmittel und alle Arten von Scheuermitteln.
  • Farbige Oberflächen)dürfen auf keinen Fall mit scheu-ernden, atzenden oder alkoholhaltigen Mitteln gereinigt werden.
  • Reinigen Sie ihre Armaturen nur mit klarem Wasser und einem weichen Tuch oder einem Leder.
    -itte achten Sie darauf, dass kein Reiniger in das Kartuschengehause gelangt, dies kann zu einem schwergängigen Bedienhebel und Geräuschen führen.

Vergessen Sie nicht, die Mischdüse in regelmäßigen Abständen auszuschrauben und evtl. kalkhaltige Rückstände oder Fremdkörper zu entfernen. Es empfeht sich, die Mischdüse bei sehr hoher Verschmutzung gegen eine neue zu wechseln.

① Information

Trinkbarkeit von Leitungswasser

Informieren Sie sich bei ihren ortlichen Behörden über die Trinkbarkeit des Wassers in Ihrer Stadt/Gemeinde.

Generell gilt für die Trinkbarkeit von

Leitungswasser folgende Empfehlung:

  • Lassen Sie Wasser aus Leitungen eine kurze Zeit laufen, wenn es länger als vier Stunden in den Leitungen stagniert hat. Verwenden Sie kein Stagnationswasser zur Zubereitung von Speisen und Geträken, sondern nicht bei der Ernährung von Säuglingen. Andernfalls konnen gesundheitliche Beschwerden auftreten. Frisches Wasser konnen Sie daran erkennen, dass es spürbar kühler die Leitung verlässt, als Stagnationswasser.

Wartung

  • Bitte beachten Sie, dass eine Kartusche ein Verschleibteil ist, und dass Sie die Kartusche bei sehr kalkhaltigem oder verschmutzem Wasser ggf. alle 1-2 Jahre erneuern müssen.
    Eine bebilderte Anleitung zum Austausch der Kartusche finden Sie auf unserer Internetseite unter folgenden Link: web.fjschuette.de/Austausch_Kartusche-Ventiloberteil.pdf
  • Prüfen Sie in regelmäßigen Abständen alle Anschlüsse und Verbindungen auf Dichtheit oder sightbaren Beschädigungen.
  • Bei Undichtigkeiten oder sightbaren Beschädigungen an der Armatur oder den Anschlussschläuchen sollen den diese sofort durch einen Fachmann überprüft bzw. ausgetauscht werden.

Außerbetriebnahme

  • Unterbrechen Sie die Wasserzufuhr vor der Demontage des Produktes
  • Achten Sie auf auslaufendes Restwasser
  • Führn Sie die Demontage in umgekehrter Reihenfolge der Montageanleitung durch

① Die Abbildungen dienen der bildlichen Darstellung, Abweichungen vom Produkt sind möglich. Technische Änderungen bleiben vorbehalten.

Garantiekarte

Die Franz Joseph Schütte GmbH aus Wallenhorst übernimmt für das von Ihnen erworbene Produkt eine Herstellergarantie gemäß den nachstehenden Garantiebedingungen. Ihr gesetzlichen Gewährleistungsansprüche aus dem Kaufvertrag mit dem Verkauf sowie gesetzliche Rechte werden durch diese Garantie nicht eingeschränkt.

Garantiebedingungen:

1. Umfang der Garantie

Die Franz Joseph Schütte GmbH gewährt eine Garantie für einwandfreie, dem Zweck entsprechende Werkstoffbeschaffenheit und Werkstoffverarbeitung, fachgerechten Zusammenbau, Dichtheit und Funktion. Die Garantie gilt nur für das Land, in dem das Produkt gekauft worden ist. Von der Garantie umfasst ist für eine reduzierte Garantiezeit von 1 Jahr die Garantie auf die Haltbarkeit nicht hochglanzverchromter Oberflächen, wie z. B. bronzierter oder Farbiger Oberflächen.

VonderGarantieausgeschlossensind:

  • Korrosion in den Mischdüssen (Luftsprudler)
    -Kartusche
  • Schaden durch unsachgemäße Montage, Inbetriebnahme und Behandlung
  • Schaden durch äußere Einflüsse, wie z. B. Feuer, Wasser, chemische Einwirkungen
  • Mechanische Beschädigung durch Unfall, Fall, oder Stöß
  • Fahrlässige oder mutwillige Zerstörung
  • Normale Abnutzung oder Wartungsmängel
  • Schaden infolge Reparaturen durch nicht qualifizierte Personen
  • Unsachgemäß Behandlung, ungenügende Pflege sowie Verwendung ungeeigneter Putzmittel
    Chemische oder Mechanische Einwirkung während Transport, Lagerung, Anschluss, Reparatur und Benutzung des Produktes

2. Garantieleistung

Die Garantieleistung bezieht sich nach unserer Wahl auf die unentgeltliche Reparatur, die kostenlose Lieferung von Ersatzteilen oder eines gleichwertigen Produktes gegen Rückgabe des fehlerhaften Teils bzw. des fehlerhaften Produktes. Sollte der betreffende Typ nicht mehr hergestellt werden, behalten wir uns vor, nach eigener Wahl ein Ersatzprodukt aus unserem Sortiment zu liefern, welches dem zurückgegeben Typ so nah wie möglich kommt.

Ersetzte Produkte oder Teile gehen in unser Eigentum über. Bei Einsendung des Produktes tragt der Käufer die Transportkosten sowie das Transportrisiko, soweit nicht zugleich ein Gewährleistungsfall nach den gesetzlichen Gewährleistungsregelungen vorliegt. In letzgenommen Fällen erstatten wir die Transportkosten.

Die Erstattung von Aufwendungen für Aus- und Einbau, Überprüfung, Forderungen nach entgangenem Gewinn und Schadenersatz sind von der Garantie ebenso ausgeschlos

sen, wie weitergehende Ansprüche für Schäden und Verluste gleich welcher Art, die durch das Produkt oder dessen Gebrauch verursacht wurden.

3. Geltendmachung des Garantieanspruchs

Der Garantieanspruch muss innerhalb der Garantiezeit gegenüber der Franz Joseph Schütte GmbH, Hullerweg 1, 49134 Wallenhorst unter Vorlage des Original-Kaufbeleges geltend gemacht werden.

4. Garantiezeit

Als Garantiezeit gilt grundsätzlich diejenige Dauer, die auf dem Etikett bzw. auf der Verpackung jeweils Produktbezogen angegeben ist. Sollte hier keine Garantiezeit Produktspezifisch ausgelobt sein, beträgt diese grundsätzlich 2 Jahre ab Kaufdatum, wobei das Datum auf dem Kaufbeleg maßgeblich ist. Ausnahme: Haltbarkeit{jedweder hochglanzverchromten Oberfläche, wie bspw.bronzierte oder farbige Oberflächen, hierfür beträgt die Garantiezeit 1 Jahr, maßgeblich ist auch hier das Datum auf dem Kaufbeleg. Durch Garantieleistungen wird die Garantiezeit für das Produkt weder verlangert noch erneuert. Garantieleistungen hemmen auch die Gewährleistungszeit nicht, wenn nicht zugleich ein Gewährleistungsfall nach Maßgabe der gesetzlichen Bestimmungeniben den weiteren gesetzlichen Voraussetzungen fur eine Hemmung vorliegt.

5.

Für diese Garantie gilt deutsches Recht unter Ausschluss des Übereinkommens der Vereinten Nationen über Verträge über den internationalen Warenkauf (CISG).

6. Salvatorische Klausel

Sollte eine Bestimmung dieser Regelungen ganz oder teilweise rechtsunwirksam oder undurchführbar sein oder werden, oder sollen den Parteien versehentlich eine Regelung in Bezug auf einen Punkt these Vertrages nicht getroffen haben, so wird die Geltung der übrigen Bestimmungen these Vertrages hierdurch nicht berührt. An die Stelle der unwirksamen oder undurchführbarsen Bestimmung oder an die Stelle der Vertragsrücke tritt eine wirksame oder durchfuhrbare Bestimmung, die dem Sinn und Zweck der ungültigen bzw. undurchfuhrbaren Bestimmung am nachsten kommt. Im Falle einer Lücke gilt diejenige Bestimmung als vereinbart, die dem entspricht, was dem Sinn und Zweck these Vertrages vereinbart worden Ware, hatte man die Angelegenheit von vorneherein bedacht. Dies gilt auch dann, wenn die Unwirksamkeit einer Bestimmung auf einem in diesen Vertrag normierten Maß der Leistung oder Zeit beruht. In einem solchen Fall tritt ein dem Gewolten möglichst naheCOMMENDESrechtlichzulässiges Maß der Leistung oder Zeit an die Stelle des Vereinbarten.

These Garantiekarte ist nur gültig mit dem dazugehörigen Original-Kaufbeleg.

Service-Adresse

Franz Joseph Schütte GmbH

Hullerweg 1

D-49134 Wallenhorst

Tel.: +49 (0) 54 07 / 87 07-0

info@fjschuette.de

www.fjschuette.de

Schütte Tokyo - Service-Adresse - 1

Návod pro montáž

Franz Joseph Schütte GmbH

Hullerweg 1

Die Franz Joseph Schütte GmbH aus Wallenhorst übernimmt für das von Ohnen erworbene Produkt eine Hersteller-garantie gemäß den nachstehenden Garantiebedingungen. Ihr gesetzlichen Gewährleistungsansprüche aus dem Kaufvertrag mit dem Verkauf sowie gesetzliche Rechte werden durch diese Garantie nicht eingeschränkt.

These Garantiekarte ist nur gültig mit dem dazugehörigen Original-Kaufbeleg.

Zárucí list

Tel.: +49 (0) 54 07 / 87 07-0 | info@fjschuette.de | www.fjschuette.de

Schütte Tokyo - Zárucí list - 1

web.fjschuette.de/garantie/garantiebedingungen.pdf

NL Garantiekaart

Tel.: +49 (0) 54 07 / 87 07-0 | info@fjschuette.de | www.fjschuette.de

Schütte Tokyo - NL Garantiekaart - 1

web.fjschuette.de/ garantie/garantiebedingungen.pdf

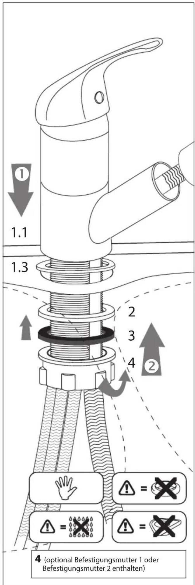
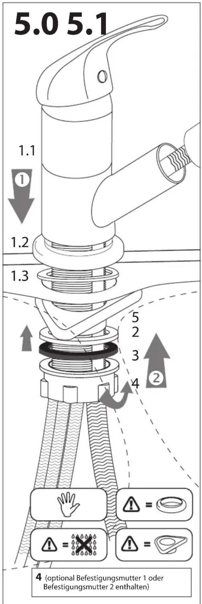
23lm Lieferumfang ist entweder die Befestigungsmutter 1 oder die Befestigungsmutter 2 enthalten.

Die Anbringungsart ist identisch. Technische Abweichungen vom abgebildeten Montagematerial bleiben vorbehalten.

V dodávce je obsažena bud svorníková matice 1 nebo svorníková matice 2.

Im Lieferumfang ist entweder Gewinderohr A oder Gewinderohr B enthalten.

Die Anbringungsart ist identisch. Technische Abweichungen vom abgebildeten Montagematerial bleiben vorbehalten.

Schütte Tokyo - NL Garantiekaart - 2
A
B
5 (optional Gewinderohr A oder Gewinderohr B enthalten)

Schütte Tokyo - NL Garantiekaart - 3

Schütte Tokyo - NL Garantiekaart - 4

Schütte Tokyo - NL Garantiekaart - 5

Schütte Tokyo - NL Garantiekaart - 6

Schütte Tokyo - NL Garantiekaart - 7

Schütte Tokyo - NL Garantiekaart - 8

Schütte Tokyo - NL Garantiekaart - 9

Schütte Tokyo - NL Garantiekaart - 10

Schütte Tokyo - NL Garantiekaart - 11

Schütte Tokyo - NL Garantiekaart - 12

Im Lieferumfang ist entweder die Befestigungsmutter 1 oder die Befestigungsmutter 2 enthalten.

Die Anbringungsart ist identisch. Technische Abweichungen vom abgebildeten Montagematerial bleiben vorbehalten.

Schütte Tokyo - NL Garantiekaart - 13
4 (optional Befestigungsmutter 1 oder Befestigungsmutter 2 enthalten)
2

Schütte Tokyo - NL Garantiekaart - 14

Schütte Tokyo - NL Garantiekaart - 15

Schütte Tokyo - NL Garantiekaart - 16

Schütte Tokyo - NL Garantiekaart - 17
9.1
9.2

Schütte Tokyo - NL Garantiekaart - 18

Schütte Tokyo - NL Garantiekaart - 19

Schütte Tokyo - NL Garantiekaart - 20
1

Schütte Tokyo - NL Garantiekaart - 21
2

Schütte Tokyo - NL Garantiekaart - 22
3

Schütte Tokyo - NL Garantiekaart - 23

Schütte Tokyo - NL Garantiekaart - 24
4

Schütte Tokyo - NL Garantiekaart - 25
i

Schütte Tokyo - NL Garantiekaart - 26

Schütte Tokyo - NL Garantiekaart - 27

Schütte Tokyo - NL Garantiekaart - 28

Schütte Tokyo - NL Garantiekaart - 29

Schütte Tokyo - NL Garantiekaart - 30

Schütte Tokyo - NL Garantiekaart - 31

Schütte Tokyo - NL Garantiekaart - 32

Handbuch-Assistent
Powered by Anthropic
Warten auf Ihre Nachricht
Produktinformationen

Marke : Schütte

Modell : Tokyo

Kategorie : Wasserhahn